|
|
(21), (22) Заявка: 2009109574/06, 16.03.2009
(24) Дата начала отсчета срока действия патента:
16.03.2009
(46) Опубликовано: 10.08.2010
(56) Список документов, цитированных в отчете о поиске:
SU 1219926 A, 23.03.1986. SU 1317179 A2, 15.06.1987. JP 2199334 A, 07.08.1990. JP 4124472 A, 24.04.1992.
Адрес для переписки:
635021, г. Томск, пр. Академический, 10/3, Учреждение Российской академии наук Институт мониторинга климатических и экологических систем Сибирского отделения РАН (ИМКЭС СО РАН)
|
(72) Автор(ы):
Ерофеев Виктор Яковлевич (RU)
(73) Патентообладатель(и):
Учреждение Российской академии наук Институт мониторинга климатических и экологических систем Сибирского отделения РАН (ИМКЭС СО РАН) (RU)
|
(54) УСТРОЙСТВО ДЛЯ ПРЕОБРАЗОВАНИЯ РАЗНОСТИ ТЕМПЕРАТУР В МЕХАНИЧЕСКИЕ КОЛЕБАНИЯ ПОРШНЯ ВОДОПОДЪЕМНОГО НАСОСА
(57) Реферат:
Изобретение относится к области машиностроения, а именно к средствам для подъема жидкостей из скважин и колодцев с помощью тепловых двигателей. Устройство для преобразования разности температур в механические колебания поршня водоподъемного насоса содержит основание, шарнир с рычагом, термодинамическое тело, нагреватель и холодильник. Оно снабжено средством для передачи механических колебаний поршню насоса в виде перпендикулярных рычагу ведомого и ведущего шкивов. Ось ведомого шкива расположена в месте крепления рычага. Этот шкив имеет два обода разных диаметров, меньший из которых охватывают бесконечной гибкой связью с ободом ведущего шкива. Больший обод снабжен двумя тросами. На одном из них закреплен шток поршня с пружиной сжатия, а на другом – один конец возвратной пружины. Второй конец возвратной пружины закреплен на основании. В качестве термодинамического тела использован металл с эффектом памяти формы в виде торсиона. Один его конец закреплен неподвижно на свободном конце рычага перпендикулярно ему посредством П-образного кронштейна. Другой конец соосно входит в паз ведущего шкива. Холодильник и нагреватель обеспечивают нагрев и охлаждение торсиона при совершении им колебательных движений. Торсион изготовлен из металла, имеющего гистерезис фазового превращения 5÷10°С с рабочим диапазоном температур -40÷+40°С. Изобретение позволяет увеличить мощность устройства и обеспечить его работу в автономном режиме. 1 ил.
Изобретение относится к области машиностроения, а именно к средствам для подъема жидкостей из скважин и колодцев с помощью тепловых двигателей.
Известен ряд технических установок, где используют тепловые двигатели, в которых в качестве рабочих тел выступают различные термодинамические системы, в том числе жидкие, газообразные и твердые.
Так, известно устройство для преобразования энергии разности температур в механические колебания со смешанным (жидкость/газ) рабочим телом (а.с. 1219926, МПК G01К 3/08, 1986 г.). Устройство содержит основание, установленный на основании шарнир с закрепленным на нем рычагом в виде герметичной трубки, внутри которой помещено рабочее тело. Шарнир обеспечивает колебательные повороты трубки из одного крайнего положения в другое, в которых противоположные концы трубки соприкасаются с холодильником и нагревателем. При соприкосновении конца трубки с нагревателем рабочее тело в виде жидкости оказывается в тепловом поле и при нагреве превращается в газ, который заполняет все пространство трубки, конденсируясь при этом в противоположном конце трубки, который находится в верхней точке, в зоне холодильника. Сконденсированная жидкая фаза накапливается в верхней части трубки, и под действием ее тяжести трубка совершает поворот в шарнире, что приводит к сливанию конденсата обратно в нижнюю часть трубки, в зону нагревателя. Далее процесс повторяется, в результате чего трубка совершает механические колебания относительно двух крайних положений.
Недостатком данного устройства является невозможность получить практически значимый отбор мощности при приемлемых габаритах данной установки. Кроме того, для работы данного устройства требуется подвод энергии в виде тепла и холода, следовательно, она не автономна.
Задачей, на решение которой направлено данное изобретение, является создание экологически безопасной установки, не потребляющей техногенной энергии, имеющей простую конструкцию и высокую надежность,
Технический результат состоит в том, что предлагаемое устройство работает в автономном режиме и развивает большую мощность.
Технический результат достигается тем, что, как и в известном устройстве, предлагаемое устройство содержит основание, шарнир, закрепленный на шарнире рычаг, термодинамическое тело, нагреватель и холодильник.
В отличие от известного в предлагаемом устройстве в качестве термодинамического тела использован металл с эффектом памяти формы в виде торсиона, который совершает вращательные движения, преобразуя энергию перепада температуры между нагревателем и холодильником в механические колебания. Устройство снабжено средством для передачи механических колебаний поршню насоса. Оно выполнено в виде ведомого и ведущего шкивов, установленных на параллельных осях, расположенных перпендикулярно рычагу. Ведомый шкив имеет два обода разных диаметров. Ось ведомого шкива расположена в месте крепления рычага. Меньший обод ведомого шкива охватывают бесконечной гибкой связью с ободом ведущего шкива, а больший обод ведомого шкива снабжен двумя тросами, на одном из которых закреплен шток поршня, снабженного пружиной сжатия, а на другом – один конец возвратной пружины, второй конец которой закреплен на основании. В качестве термодинамического тела использован металл с эффектом памяти формы в виде торсиона, расположенного так, что один конец его закреплен неподвижно на свободном конце рычага перпендикулярно ему посредством П-образного кронштейна, а другой соосно входит в паз ведущего шкива. Холодильник и нагреватель расположены на основании так, чтобы ось ведущего шкива, рычаг и ведомый шкив, составляя единое целое, при совершении колебательных движений обеспечивали нагрев и охлаждение торсиона, причем торсион изготовлен из металла, имеющего гистерезис фазового превращения 5÷10°С с рабочим диапазоном температур -40÷+40°С.
Реализация поставленной цели основана на принципе автоколебательных движений и эффекта памяти формы металлов. Торсион, изготовленный из такого металла, скачком меняет коэффициент жесткости при перенесении его из холодной зоны в теплую и в совокупности с обычными упругими элементами с постоянным коэффициентом жесткости составляет систему с обратной связью, которая обеспечивает автоколебательный процесс за счет энергии тепла.
Сопоставление с прототипом показывает, что предлагаемое устройство для преобразования разности температур в механические колебания позволяет значительно увеличить производимую мощность, устранить расходы на энергию, необходимую для работы устройства. Оно состоит из экологически безопасных элементов, что повышает уровень надежности и безопасности. Использованные в заявляемом изобретении технические решения приводят к иному техническому результату по сравнению с прототипом, поэтому предлагаемое средство преобразования энергии соответствует критерию «новизна».
Сопоставительный анализ предлагаемого изобретения с известными устройствами (пат. РФ 2076949, МПК6 F03G 7/05, заявл. 19.05.94, опубл. 10.04.97; пат. РФ 2053411, МПК6 F03G 7/06, заявл. 23.12.91, опубл. 27.01.96; пат. РФ 2164311, МПК7 F03G 7/06, заявл. 05.03.97, опубл. 20.03.01), в которых в качестве термодинамического тела также использованы элементы из металла с эффектом памяти формы, показал, что применение торсиона в качестве привода приводит к следующему: а) значительное упрощение конструкции вследствие того, что вращательный момент непосредственно переводится во вращательное движение; б) деформация кручением имеет превосходство перед деформацией изгибом в отношении энергетической отдачи единицы объема вещества, из которого изготовлено рабочее тело; в) работа устройства происходит в автоколебательном режиме.
Далее, сравнение с аналогами (пат. РФ 2174674, МПК7 G01K 5/48, 3/04, заявл. 30.12.98, опубл. 10.10.01; пат. РФ 2186348, МПК7 G01K 5/58, заявл. 19.04.99, опубл. 27.07.02; пат. РФ 2313046, МПК6 F24J 2/38, заявл. 03.02.06, опубл. 20.12.07), в которых в качестве приводов использованы торсионы из металла с эффектом памяти формы, показал, что использование в заявляемом изобретении автоколебательного режима работы и жидкостного реагента для теплообмена приводит к следующему: а) повышению мощности установки; б) увеличению скорости циклического процесса.
Поскольку перечисленного не было установлено ранее, можно сделать вывод о соответствии предлагаемого технического решения критерию «изобретательский уровень».
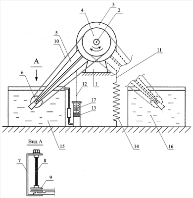
На чертеже представлен эскиз устройства для преобразования разности температур в механические колебания поршня водоподъемного насоса.
Устройство содержит основание 1, на котором размещен шарнир с осью 2, на шарнире в качестве единой неразъемной детали установлен ведомый шкив с большим ободом 3 и меньшим ободом 4, рычаг 5, на свободном противоположном конце которого установлена неподвижно ось 6 и кронштейн 7, на противоположном конце которого закреплен одним концом рабочий элемент в виде торсиона 8, другой конец которого входит в паз ведущего шкива 9, свободно посаженного на ось 6, ведущий шкив 9 соединен с ведомым шкивом 4 с помощью гибкой передачи 10, оси шкивов 3, 4 и 9 параллельны друг другу, на ободе ведомого шкива 3 закреплены с противоположных сторон два троса 11 и 12, на одном из которых закреплен шток поршня 13, а на другом – конец возвратной пружины 14, другой конец которой соединен с основанием, между поршнем 13 и верхней крышкой насоса установлена пружина сжатия 17, емкости 15 и 16 с холодной и теплой водой расположены на основании с возможностью поочередного погружения торсиона в теплую и холодную воду, когда он находится в двух крайних положениях.
Устройство работает следующим образом. Рабочий элемент 8 и контрпружины 14 и 17 кинематически связаны между собой с помощью тросов 11, 12, шкивов 3, 4 на оси 2, гибкой связи 10 и шкива 9 таким образом, что суммарное усилие пружин 14 и 17 создает крутящий момент на свободном конце торсиона 8 и, наоборот, крутящий момент, создаваемый торсионом 8, вызывает растяжение/сжатие пружин 14, 17. Коэффициенты жесткости пружин являются константой, а коэффициент жесткости торсиона меняется с изменением его температуры. Диапазон колебания значения коэффициента жесткости торсиона и величина коэффициентов жесткости пружин подобраны таким образом, чтобы при изменении температуры торсиона в заданном интервале при данной кинематической схеме рычаг 5 совершал повороты на заданный угол из одного крайнего положения в другое. В точках, соответствующих этим положениям, установлены на основании 1 сосуды 15 и 16 с водой. В сосуде 16 находится вода с температурой окружающего воздуха, в том числе подогреваемая, при возможности, солнечными лучами. В сосуд 15 вода подается из подземного источника с помощью насоса, поршень 13 которого приводится в действие за счет крутящего момента, создаваемого торсионом 8, и усилий пружин 14, 17. Металл, из которого изготовлен торсион 8, имеет критические точки фазового превращения (обеспечивающего эффект памяти формы) в районе 15 и 20°С, поэтому в емкости 15 с подземной водой торсион имеет малый коэффициент жесткости, а в емкости 16 с теплой водой, имеющей температуру окружающего воздуха, – большой. Соответственно, в емкости 15 торсион скручивается под действием усилия пружины 14, а в емкости 16 – раскручивается под действием развиваемых внутренних усилий, возникающих при эффекте памяти формы. В результате этого шкив 9 совершает возвратные повороты, которые через гибкую связь 10 передают на шкивы 4 и 3, которые также совершают повороты, приводя в движение поршень 13 с помощью троса 11. В результате описанной работы устройства происходит приведение в действие водоподъемного насоса в условиях летнего сезона.
Торсион может быть изготовлен из сплава на основе никелида титана, имеющего гистерезис фазового превращения в пределах 5÷10°С. Этим требованиям соответствует сплав, легированный палладием, цирконием и медью, способный совершать рабочие циклы свыше 107 раз (патент 2048744). При этом петля гистерезиса может быть сдвинута по температурной шкале в диапазоне от -40°C до +40°С. Поэтому заявленный насос может работать также и в зимний сезон, учитывая перепад температур между температурой воды из скважины, которая больше или равна +4°С и температурой воздуха -5÷-10°С, что дает перепад температур по абсолютной величине примерно 10°С, и этого достаточно для энергетического обеспечения работы насоса. Аналогичная ситуация имеет место в случае подъема из скважины нефти, которая имеет повышенную температуру по отношению к окружающей среде.
Преимущество предлагаемого технического решения состоит в том, что использование сплава с эффектом памяти формы в качестве рабочего тела обеспечивает экологическую безопасность и энергосберегающий режим использования технических средств.
Водоподъемный насос предназначен для перекачки жидкости из скважин и колодцев, следовательно, соответствует условию «промышленная применимость».
Формула изобретения
Устройство для преобразования разности температур в механические колебания поршня водоподъемного насоса, содержащее основание, шарнир, на котором закреплен рычаг, термодинамическое тело, нагреватель и холодильник, отличающееся тем, что оно снабжено средством для передачи механических колебаний поршню насоса, выполненного в виде ведомого и ведущего шкивов, установленных на параллельных осях, расположенных перпендикулярно к рычагу, ось ведомого шкива расположена в месте крепления рычага, ведомый шкив имеет два обода разных диаметров, меньший из которых охватывают бесконечной гибкой связью с ободом ведущего шкива, а больший обод снабжен двумя тросами, на одном из которых закреплен шток поршня, снабженного пружиной сжатия, а на другом – один конец возвратной пружины, второй конец которой закреплен на основании, при этом в качестве термодинамического тела использован металл с эффектом памяти формы в виде торсиона, расположенного так, что один конец его закреплен неподвижно на свободном конце рычага перпендикулярно к нему посредством П-образного кронштейна, а другой соосно входит в паз ведущего шкива, холодильник и нагреватель расположены на основании так, чтобы ось ведущею шкива, рычаг и ведомый шкив, составляя единое целое, при совершении колебательных движений обеспечивали нагрев и охлаждение торсиона, причем торсион изготовлен из металла, имеющего гистерезис фазового превращения 5÷10°С с рабочим диапазоном температур -40÷+40°С.
РИСУНКИ
|
|