|
|
(21), (22) Заявка: 2009104788/06, 13.02.2009
(24) Дата начала отсчета срока действия патента:
13.02.2009
(46) Опубликовано: 10.08.2010
(56) Список документов, цитированных в отчете о поиске:
RU 2338883 C1, 20.11.2008. RU 2032809 C1, 10.04.1995. DE 2433134 A1, 30.01.1975. US 3213714 A, 26.10.1965.
Адрес для переписки:
109559, Москва, ул. Верхние поля, 35, корп.5, кв.164, С.В.Устиновичу
|
(72) Автор(ы):
Устинович Сергей Вячеславович (RU)
(73) Патентообладатель(и):
Устинович Сергей Вячеславович (RU)
|
(54) ДВИГАТЕЛЬ ВНУТРЕННЕГО СГОРАНИЯ
(57) Реферат:
Изобретение относится к машиностроению. Двигатель внутреннего сгорания содержит, по меньшей мере, одну секцию, состоящую из статора, внутри которого с возможностью вращения относительно собственной коренной оси установлен силовой вал. На валу соосно закреплена его силовая шестерня с внешними зубьями, находящаяся внутри и в зацеплении с силовой шестерней ротора с внутренними зубьями. Внутри ротора соосно закреплена его программная шестерня с внутренними зубьями. Внутри программной шестерни ротора в зацеплении находится программная шестерня с внешними зубьями, закрепленная на статоре соосно с коренной осью вала. Ротор соосно и с возможностью вращения установлен на внешней цилиндрической поверхности кольцевого эксцентрика, ось которой эксцентрична коренной оси вала. Своей внутренней цилиндрической поверхностью, соосной с коренной осью, эксцентрик с возможностью вращения установлен на статоре. На валу соосно закреплен диск маховика вала. Двигатель снабжен, по меньшей мере, двумя противовесами, размещенными с возможностью вращения и оппозитно эксцентрику относительно коренной оси вала за пределами объема ротора. Двигатель также снабжен одним дополнительным кольцевым эксцентриком и одной дополнительной парой программных шестерен. Каждый из противовесов закреплен на каждом эксцентрике. Пара силовых шестерен установлена в середине внутреннего объема ротора. Каждая пара программных шестерен и каждый эксцентрик установлены внутри ротора и около каждой плоскости ротора. Техническим результатом является повышение надежности и эффективности работы двигателя. 1 з.п. ф-лы, 2 ил.
Изобретение относится к области машиностроения, а именно к двигателям внутреннего сгорания объемного вытеснения.
Известен четырехтактный двигатель внутреннего сгорания объемного вытеснения Ванкеля (см. книгу Н.С.Ханин, С.В.Чистозвонов «Автомобильные роторно-поршневые двигатели». Государственное научно-техническое издательство машиностроительной литературы, М.: 1964 год, стр.146, 147 (1)), содержащий, по меньшей мере, одну роторно-поршневую секцию. Секция состоит из статора, внутри которого в подшипниковых опорах с возможностью вращения относительно собственной коренной оси установлен цилиндрический стержень силового вала. На валу своей внутренней цилиндрической поверхностью соосно и жестко закреплено цилиндрическое кольцо эксцентрика. Ось внешней цилиндрической поверхности кольца эксцентрика параллельна и эксцентрична оси его внутренней цилиндрической поверхности. На внешней цилиндрической поверхности эксцентрика соосно и с возможностью вращения установлен ротор. Внутри ротора около одной из двух плоскостей его призмы соосно и жестко закреплена программная шестерня ротора с внутренними зубьями. Внутри нее и в зацеплении находится программная шестерня статора с внешними зубьями, жестко закрепленная на статоре соосно с коренной осью вала.
С целью предотвращения разрушения при вращении вала из-за вибрации механизма секции от неуравновешенных эксцентричных масс эксцентрика и ротора механизм снабжен двумя балансировочными противовесами. Противовесы обеспечивают статическую и динамическую балансировку вала. Каждый из противовесов представляет собой половину цилиндрического диска, жестко и соосно закрепленного на силовом валу оппозитно эксцентрику относительно коренной оси вала. Обязательным условием для динамической сбалансированности подвижных элементов механизма является нахождение этих противовесов по одному с каждой стороны вдоль коренной оси вала за пределами эксцентрических масс эксцентрика и ротора.
Также на силовом валу соосно и жестко закреплен массивный цилиндрический диск маховика, который является аккумулятором механической энергии. Маховик получает от ротора через подшипник скольжения эксцентрика и через стержень силового вала механическую энергию в активной фазе рабочего хода ротора. Часть этой энергии маховик запасает в своей подвижной массе в виде кинетической энергии маховика, а другую часть от поглощенной им энергии рабочего хода он передает валу стороннего потребителя механической энергии. В фазе пассивности ротора в тактах впуска, сжатия и выпуска в цикле рабочего тела двигателя, через стержень вала и подшипник эксцентрика, маховик возвращает ротору часть запасенной им энергии для воспроизводства ротором пространственного программного перемещения в рабочей полости секции. Одновременно в этих трех тактах пассивности ротора маховик продолжает отдавать другую часть запасенной им механической энергии валу стороннего потребителя механической энергии.
Таким образом, в подшипнике скольжения эксцентрика происходит потеря энергии на трение при передаче существенных усилий между эксцентриком и ротором, не только в фазе активности, но и в фазе пассивности ротора. Это снижает эффективность работы механизма двигателя.
За один оборот вала в роторно-поршневой секции двигателя Ванкеля происходит один такт рабочего хода. Трехгранный ротор совершает одну треть от своего полного оборота. За один оборот силового вала один заряд рабочего тела совершает одно рабочее расширение. Это эффективнее, чем в поршневой секции четырехтактного двигателя, у которой один такт рабочего хода происходит за два оборота силового вала.
Наиболее близким по технической сущности и достигаемому результату является двигатель внутреннего сгорания объемного вытеснения (см. патент RU 2338883 C1, F01C 1/22, 2008, 7 стр.(2)), содержащий, по меньшей мере, одну роторную секцию. Секция состоит из статора, внутри которого в подшипниковых опорах с возможностью вращения относительно собственной коренной оси установлен силовой цилиндрический вал. На валу соосно и жестко закреплен диск маховика вала и его силовая шестерня с внешними зубьями. Она находится внутри и в зацеплении с силовой шестерней ротора с внутренними зубьями, соосно и жестко закрепленной внутри и около одной из двух плоскостей призмы ротора. Внутри ротора соосно и жестко закреплена его программная шестерня с внутренними зубьями. Внутри нее в зацеплении находится программная шестерня с внешними зубьями, жестко закрепленная на статоре, соосно с коренной осью вала. Ротор соосно и с возможностью вращения установлен на внешней цилиндрической поверхности кольцевого эксцентрика, ось которой эксцентрична коренной оси вала. Своей внутренней цилиндрической поверхностью, сосной с коренной осью, кольцевой эксцентрик с возможностью вращения установлен на статоре.
В этом механизме эксцентрик механически связан с валом через подшипник эксцентрика, ротор и силовую шестеренчатую передачу. При этом эксцентрик по-прежнему выполняет функции программного и демпфирующего элемента устройства. Однако он исключен из цепочки передачи усилий между рабочим телом и валом секции двигателя. Вместо силового подшипника скольжения эти усилия передает через себя более эффективная силовая шестеренчатая передача. Благодаря возможности взаимного изменения отношений величин диаметров пар программных и силовых шестерен в секции механизма данного двигателя ротор и эксцентрик получили возможность совершать неодинаковое количество оборотов не только взаимно между собой, но и по сравнению с количеством оборотов силового вала секции.
Причем за один оборот вала в роторной секции, например, трехгранный ротор может сделать три полных оборота за один оборот силового вала. Пятигранный ротор роторной секции может совершить один оборот за один оборот вала. Семигранный ротор роторной секции, в зависимости от отношения диаметров силовых шестерен, может произвести один или два полных оборота за один оборот своего вала.
Причем если с роторно-поршневой секции Ванкеля направления вращения ротора и вала совпадают, то направление вращения ротора в каждой из этих роторных секций противоположно направлению вращения вала. В обоих типах секций за один оборот ротора воспроизводится количество тактов рабочего хода, равное количеству граней ротора.
В связи с этим на один оборот силового вала в роторной секции с трехгранным ротором происходит 9 тактов рабочего хода, с пятигранным ротором – 5 тактов рабочего хода, с семигранным ротором – 7 или 14 тактов рабочего хода.
Известно, что эффективность работы теплового двигателя тем выше, чем больше рабочего тела, к которому подводится большее количество теплоты, участвует в передаче усилий на один оборот его вала. Таким образом, за один оборот вала секция роторного двигателя способна передавать потребителю количество механической энергии от 5 до 14 раз больше, чем секция роторно-поршневого двигателя Ванкеля с трехгранным ротором, и в 10-28 раз больше, чем поршневая секция, имеющая такой же рабочий объем.
Однако секция роторного двигателя в таком исполнении имеет меньшую степень надежности работы из-за отсутствия динамической сбалансированности своего динамического узла. Вибрация механизма при увеличении количества оборотов вала может послужить причиной его разрушения.
Цилиндрический стержень силового вала секции двигателя, с соосно и жестко закрепленными на нем силовой шестерней вала и маховиком вала, представляет собой хорошо сбалансированный единый подвижный элемент конструкции. Поэтому он не нуждается в дополнительных устройствах балансировки.
Динамический дисбаланс в устройстве секции создает эксцентрик с установленным на нем ротором. Так как силовой вал и эксцентрик с возможностью вращения установлены на статоре независимо друг от друга, то именно к эксцентрику от силового вала переходит функция элемента устройства, на котором необходимо соосно с коренной осью вала закреплять балансировочный противовес. Для динамической сбалансированности этих эксцентрических масс обязательно должно быть два таких противовеса, расположенных вдоль коренной оси симметрично и за пределами данного эксцентрического узла.
Целью изобретения является повышение надежности работы двигателя внутреннего сгорания.
Указанная цель достигается тем, что двигатель внутреннего сгорания, содержащий, по меньшей мере, одну секцию, состоящую из статора, внутри которого в подшипниковых опорах с возможностью вращения относительно собственной коренной оси установлен силовой цилиндрический вал. На валу соосно и жестко закреплены диск маховика вала и его силовая шестерня с внешними зубьями, находящаяся внутри и в зацеплении с силовой шестерней ротора с внутренними зубьями. Силовая шестерня ротора соосно и жестко закреплена внутри и около одной из двух плоскостей призмы ротора. При этом внутри ротора соосно и жестко закреплена его программная шестерня с внутренними зубьями, внутри которой в зацеплении находится программная шестерня с внешними зубьями, жестко закрепленная на статоре, соосно с коренной осью вала. Ротор соосно и с возможностью вращения установлен на внешней цилиндрической поверхности кольцевого эксцентрика, ось которой эксцентрична коренной оси вала. Своей внутренней цилиндрической поверхностью, соосной с коренной осью, эксцентрик с возможностью вращения установлен на статоре. Двигатель снабжен, по меньшей мере, двумя противовесами, размещенными с возможностью вращения и оппозитно эксцентрику относительно коренной оси вала за пределами объема ротора. Согласно изобретению двигатель снабжен одним дополнительным кольцевым эксцентриком и одной дополнительной парой программных шестерен. При этом каждый из противовесов жестко закреплен на каждом эксцентрике. Пара силовых шестерен установлена в середине внутреннего объема ротора, а каждая пара программных шестерен и каждый эксцентрик установлены внутри ротора и около каждой плоскости ротора.
Кроме того, с целью повышения эффективности работы двигатель внутреннего сгорания дополнительно снабжен двумя дисками маховиков эксцентрика, каждый из которых жестко закреплен на каждом эксцентрике, соосно с коренной осью вала.
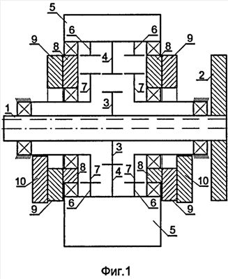
Сущность изобретения поясняется схематичными чертежами на фиг.1 и фиг.2.
Секция двигателя внутреннего сгорания состоит из силового вала 1, с возможностью вращения закрепленного в подшипниковых опорах неподвижного статора. На валу 1 за пределами его подшипниковых опор соосно и жестко закреплен диск маховика 2 вала. В средней части цилиндрического стержня вала 1 соосно и жестко закреплена силовая шестерня 3 вала с внешними зубьями. Она находится внутри и в зацеплении с силовой шестерней 4 ротора с внутренними зубьями. Шестерня 4 соосно и жестко закреплена в середине внутреннего объема призмы ротора 5.
Внутри и около каждой из плоскостей призмы ротора 5 соосно и жестко закреплены программные шестерни 6 ротора с внутренними зубьями. Внутри шестерен 6 и в зацеплении с ними находятся программные шестерни 7 статора с внешними зубьями.
Ротор 5 установлен на двух подшипниковых опорах, каждая из которых эксцентрично коренной оси вала 1 укреплена на внешней цилиндрической поверхности одного из двух кольцевых эксцентриков 8. Внутренняя цилиндрическая поверхность каждого эксцентрика 8 соосно с коренной осью вала 1 установлена в собственной подшипниковой опоре статора.
За пределами призмы ротора на каждом эксцентрике 8 соосно с коренной осью вала 1 жестко закреплен диск собственного маховика 9 эксцентрика, на котором соосно с коренной осью и оппозитно эксцентрику 8 жестко закреплен один противовес 10.
Таким образом, вращающийся относительно коренной оси единый эксцентрический узел, состоящий из двух эксцентриков 8 и ротора 5, статически и динамически уравновешивается принадлежащими ему двумя противовесами 10, размещенными с каждой стороны вдоль коренной оси за пределами этого эксцентрического узла.
Так как каждый из двух эксцентриков 8 устанавливается на статоре в соосных, но независимых друг от друга подшипниковых опорах, то для обеспечения надежности синхронизации их программного перемещения каждый эксцентрик 8 снабжен собственной парой программных шестерен 6 и 7. Эта особенность также отвечает необходимому требованию симметричности формы и массы обоих балансировочных звеньев.
Эксцентрик 8, силовой вал 1 и ротор 5 секции двигателя для беспрерывности своего программного перемещения постоянно нуждаются в поступлении к ним механической энергии. Эту энергию в фазе пассивности ротора 5 данные элементы механизма могут получить только от аккумулятора механической энергии. Ввиду взаимной независимости установки силового вала 1 и эксцентриков 8 на статоре механизма роторной секции, каждый из них напрямую может получать эту энергию от собственного маховика. Поэтому маховик вала 2 традиционно установлен соосно на силовом валу 1, а каждый из дополнительных маховиков 9 закреплен на своем эксцентрике также соосно с коренной осью вала.
Внутри механизма каждый из этих двух типов маховиков 2 и 9 обслуживает конкретно своего потребителя. Масса маховика 9 эксцентрика получает от активного ротора 5 через эксцентрик 8 энергию для своего вращения. Но в фазе пассивности ротора 5 маховик 9 через эксцентрик 8 возвращает ротору 5 значительную часть накопленной в себе энергии. То есть за счет энергии маховика 9 эксцентрика маховик 2 вала полностью освобождается от функции накопления излишней для него энергии, которую он должен был возвращать ротору 5. По сравнению с традиционным эксцентриковым валом силовому валу 1 роторной секции в фазе пассивности ротора 5 не надо вырабатывать и накапливать в своем маховике 2 чрезмерный ресурс механической энергии, превышающий минимально необходимое количество энергии вращения собственного вала 1 и то количество энергии, которое в текущий момент стремится принять на себя вал стороннего потребителя механической энергии. Тем самым по сравнению с традиционным механизмом с эксцентриковым валом применение дополнительных маховиков 9 эксцентрика существенно снижает массу маховика 2 вала роторной секции. Поэтому на раскручивание и торможение маховика 2 вала затрачивается меньшее количество энергии, вырабатываемой секцией. Что повышает эффективность работы двигателя.
При этом оба типа маховиков 2 и 9 через пару силовых шестерен 3 и 4 (вала и ротора) могут взаимно передавать друг другу часть накопленной ими энергии, выполняя друг для друга функцию резервного источника механической энергии. При этом отсутствие маховика 9 эксцентрика приведет к повышению потерь энергии внутри механизма роторной секции в фазе пассивности ротора 5 за счет увеличения транзитных потоков энергии внутри механизма секции на ротор 5 от маховика 2 вала через дополнительный узел трения в паре силовых шестерен 3 и 4. В том числе и поэтому наличие дополнительных маховиков 9 эксцентрика повышает эффективность работы двигателя.
Формула изобретения
1. Двигатель внутреннего сгорания, содержащий, по меньшей мере, одну секцию, состоящую из статора, внутри которого в подшипниковых опорах с возможностью вращения относительно собственной коренной оси установлен силовой цилиндрический вал, на котором соосно и жестко закреплена его силовая шестерня с внешними зубьями, находящаяся внутри и в зацеплении с силовой шестерней ротора с внутренними зубьями, при этом внутри ротора соосно и жестко закреплена его программная шестерня с внутренними зубьями, внутри которой в зацеплении находится программная шестерня с внешними зубьями, жестко закрепленная на статоре соосно с коренной осью вала, при этом ротор соосно и с возможностью вращения установлен на внешней цилиндрической поверхности кольцевого эксцентрика, ось которой эксцентрична коренной оси вала, а своей внутренней цилиндрической поверхностью, соосной с коренной осью, эксцентрик с возможностью вращения установлен на статоре, отличающийся тем, что на валу соосно и жестко закреплен диск маховика вала, причем двигатель снабжен, по меньшей мере, двумя противовесами, размещенными с возможностью вращения и оппозитно эксцентрику относительно коренной оси вала за пределами объема ротора, двигатель также снабжен одним дополнительным кольцевым эксцентриком и одной дополнительной парой программных шестерен, при этом каждый из противовесов жестко закреплен на каждом эксцентрике, пара силовых шестерен установлена в середине внутреннего объема ротора, при этом силовая шестерня ротора соосно и жестко закреплена в середине внутреннего объема призмы ротора, а каждая пара программных шестерен и каждый эксцентрик установлены внутри ротора и около каждой плоскости ротора.
2. Двигатель внутреннего сгорания по п.1, отличающийся тем, что он дополнительно снабжен двумя дисками маховиков эксцентрика, каждый из которых жестко закреплен на каждом эксцентрике соосно с коренной осью вала.
РИСУНКИ
|
|