|
|
(21), (22) Заявка: 2007116857/06, 06.10.2005
(24) Дата начала отсчета срока действия патента:
06.10.2005
(30) Конвенционный приоритет:
07.10.2004 US 60/522505
(43) Дата публикации заявки: 20.11.2008
(46) Опубликовано: 10.08.2010
(56) Список документов, цитированных в отчете о поиске:
US 2469678 А, 10.05.1949. US 4744214 А, 17.05.1988. US 6732502 B2, 11.05.2004. US 5988980 A, 23.11.1999. WO 03020469 A1, 13.03.2003. RU 2176333 C2, 27.11.2001. US 2002/0148216 A1, 17.10.2002. US 5471743 A, 05.12.1995. US 3638428 A, 01.02.1972.
(85) Дата перевода заявки PCT на национальную фазу:
07.05.2007
(86) Заявка PCT:
SE 2005/001487 20051006
(87) Публикация PCT:
WO 2006/038879 20060413
Адрес для переписки:
101000, Москва, М.Златоустинский пер., 10, кв.15, “ЕВРОМАРКПАТ”, пат.пов. И.А.Веселицкой, рег. 11
|
(72) Автор(ы):
СТРЁМ Линда (SE), ЛАРССОН Йонас (SE)
(73) Патентообладатель(и):
ВОЛЬВО АЭРО КОРПОРЕЙШН (SE)
|
(54) ГАЗОТУРБИННЫЙ ДВИГАТЕЛЬ И ЕГО ПРОМЕЖУТОЧНЫЙ УЗЕЛ
(57) Реферат:
Газотурбинный двигатель содержит промежуточный узел (14), предназначенный для размещения в осевом направлении между его первым и вторым узлами. Первым и вторым узлами могут быть соответственно компрессор низкого давления и компрессор высокого давления или турбина высокого давления и турбина низкого давления. Промежуточный узел включает кольцевой газовый канал (5с), проходящий вокруг центральной осевой линии (18) промежуточного узла (14). Промежуточный узел выполнен с возможностью направления газового потока от газового канала в первом узле к газовому каналу во втором узле. Вход (19) кольцевого газового канала (5с) промежуточного узла значительно смещен в радиальном направлении по отношению к его выходу (20). В кольцевом газовом канале (5с) промежуточного узла установлен, по меньшей мере, один направляющий элемент (28, 29) с возможностью направления газового потока. Направляющий элемент имеет форму кольцевого направляющего элемента и проходит в непосредственной близости от изогнутого участка стенки, формирующей кольцевой газовый канал. Изобретение позволяет уменьшить потери в промежуточном кольцевом канале и увеличить радиальное смещение его выхода относительно входа. 3 н. и 9 з.п. ф-лы, 4 ил.
Настоящее изобретение относится к промежуточному узлу газотурбинного двигателя (ГТД), предназначенному для размещения в осевом направлении ГТД между ее первым и вторым узлами и включающему газовый канал, выполненный с возможностью направления газового потока от газового канала в первом узле к газовому каналу во втором узле. Изобретение также относится к газотурбинному двигателю, содержащему такой промежуточный узел.
Наибольшее распространение газотурбинные двигатели получили в качестве реактивных двигателей летательных аппаратов. Подразумевается, что понятие реактивный двигатель включает в себя различные типы двигателей, в которые поступает воздух с относительно небольшой скоростью, нагревается в процессе горения и выбрасывается наружу со значительно большей скоростью. В понятие реактивный двигатель входят, например, турбореактивный и турбовентиляторный двигатели. Изобретение будет описано в приложении к турбовентиляторному двигателю, но, конечно, может быть использовано и для других типов двигателей.
Газотурбинный двигатель содержит компрессорную секцию для сжатия поступившего воздуха, камеру сгорания для сжигания сжатого воздуха и турбинную секцию для расширения газообразных продуктов сгорания. Турбинная секция содержит несколько турбин и предназначена для приведения в действие нескольких компрессоров в компрессорной секции с помощью одного или нескольких валов двигателя. Рассматриваемый промежуточный узел ГТД может быть использован в компрессорной секции между узлом компрессора низкого давления и узлом компрессора высокого давления.
Рассматриваемый промежуточный узел может быть также использован в турбинной секции между узлом турбины низкого давления и узлом турбины высокого давления.
Для некоторых конфигураций двигателей желательно, чтобы газовый канал промежуточного узла мог иметь большое смещение по радиусу и допускать большое расширение площади сечения, то есть одновременно служить диффузором. Это могло бы улучшить эффективность и характеристики двигателя. Конечно, желательно выполнить газовый канал промежуточного узла как можно более коротким в осевом направлении, чтобы уменьшить вес и длину двигателя. Эти три условия создают трудности для разработки газового канала промежуточного узла с хорошими аэродинамическими характеристиками, при которых удерживаются на низком уровне потери в канале, и обеспечиваются удовлетворительные параметры потока, поступающего в расположенные ниже по газовоздушному тракту узлы. Газовый канал промежуточного узла не может быть слишком “агрессивным” в отношении наличия малой осевой протяженности, большого радиального смещения и большого расширения. Использование канала слишком агрессивного профиля может привести к отделению газового потока от стенки и повлечь за собой большие потери и искажения потока, поступающего в следующий по газовоздушному тракту узел.
В основу настоящего изобретения положена задача увеличения способности промежуточного узла ГТД обеспечивать при большом радиальном смещении газового канала, большом расширении газового канала и/или при более коротком газовом канале работу с сохранением или улучшением аэродинамических параметров газового канала. Эта цель достигается за счет значительного смещения входа кольцевого газового канала промежуточного узла в радиальном направлении по отношению к его выходу и установки в газовом канале промежуточного узла по меньшей мере одного направляющего элемента (направляющего устройства) для направления газового потока. При этом газовый канал промежуточного узла выполнен кольцевым вокруг центральной осевой линии промежуточного узла, а указанный установленный в газовом канале промежуточного узла по меньшей мере один направляющий элемент имеет форму кольца, проходящего в непосредственной близости от изогнутого участка стенки, формирующей кольцевой газовый канал.
Тщательный выбор конструкции и местоположения одного или нескольких таких направляющих элементов может также улучшить профиль потока, выходящего из имеющего резко изменяющийся профиль газового канала промежуточного узла, и тем самым обеспечить улучшенный входной поток с уменьшенными искажениями для следующего по газовоздушному тракту узла.
В соответствии с настоящим изобретением направляющий элемент установлен в непосредственной близости от изогнутого участка стенки, формирующей газовый канал. Наличие такого направляющего элемента создает условия для ограничения возможности отделения граничного слоя от прилежащей стенки газового канала.
В предпочтительном варианте направляющий элемент установлен, в основном, параллельно изогнутому участку стенки газового канала.
В соответствии с еще одним предпочтительным вариантом выполнения наружный направляющий элемент установлен на меньшем расстоянии от наружной по радиусу стенки газового канала промежуточного узла, чем от внутренней по радиусу стенки газового канала, а внутренний направляющий элемент установлен на меньшем расстоянии от внутренней по радиусу стенки газового канала, чем от наружной по радиусу стенки газового канала. За счет установки наружного направляющего элемента в непосредственной близости от выгнутого искривления наружной стенки газового канала и внутреннего направляющего элемента в непосредственной близости от выгнутого искривления внутренней стенки газового канала можно создать на входе следующего по газовоздушному тракту узла поток с особо улученными характеристиками и уменьшенными искажениями.
В соответствии с еще одним предпочтительным вариантом выполнения изобретения промежуточный узел содержит радиальные стойки для передачи нагрузки, причем стойки пересекают газовый канал, а направляющий элемент скреплен с по меньшей мере одной из указанных радиальных стоек. Одно из преимуществ использования направляющего или крыловидного элемента в газовом канале промежуточного узла состоит в том, что можно уменьшить вторичные потоки и локализовать вторичные завихрения вблизи граничных стенок, где они создают меньшие препятствия потоку и меньшие потери.
В других предпочтительных вариантах выполнения изобретения длина промежуточного узла в осевом направлении меньше трех расстояний по радиусу между осевыми линиями у входа и у выхода газового канала промежуточного узла.
Газовый канал может быть изогнут по радиусу вовнутрь для размещения его между ступенью компрессора низкого давления и ступенью компрессора высокого давления, или между ступенью турбины высокого давления и ступенью турбины низкого давления.
В изобретении также предлагается газотурбинный двигатель, содержащий описанный выше промежуточный узел, а также реактивный двигатель летательного аппарата, содержащий такой газотурбинный двигатель.
Далее изобретение будет раскрыто на примерах его выполнения, представленных на прилагаемых чертежах, на которых:
на фиг.1 схематически представлен вид сбоку турбовентиляторного двигателя летательного аппарата;
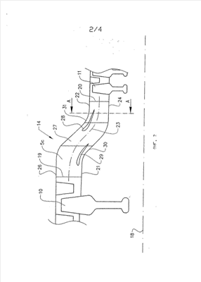
на фиг.2 представлен в увеличенном виде промежуточный узел компрессора с фиг.1;
на фиг.3 схематически представлено поперечное сечение по линии А-А, показанной на промежуточном узле компрессора на фиг.2; и
на фиг.4 представлен в увеличенном виде промежуточный узел турбины с фиг.1.
Далее изобретение будет рассмотрено на примере авиационного двигателя с высокой степенью двухконтурности (смотри фиг.1). Двигатель 1 содержит наружный корпус или гондолу 2, внутреннюю ступицу (втулку) 3 и промежуточный кожух 4, концентрично расположенный относительно наружного кожуха и ступицы и делящий промежуток между ними на внутренний основной газовый канал 5, предназначенный для направления рабочих газовых смесей, и вторичный канал 6, по которому проходит воздух наружного контура. Поэтому каждый из газовых каналов 5, 6 имеет в поперечном сечении форму кольца, расположенного перпендикулярно направлению оси 18 двигателя 1. Вентилятор 7 расположен у входа двигателя выше по газовоздушному тракту внутреннего и наружного газовых каналов 5, 6.
Двигатель 1 содержит первый узел 8 в виде секции компрессора низкого давления и второй узел 9 в виде секции компрессора высокого давления. Как узел 8 компрессора низкого давления, так и узел 9 компрессора высокого давления содержат газовые каналы (тракты) 5а и 5b, соответственно.
Каждая из секций 8, 9 компрессора содержит группу роторов 10, 11 и статоров 12, 13. Статоры 12, 13 и роторы 10, 11 чередуются друг с другом. Каждый из статоров 12, 13 содержит группу аэродинамических направляющих лопаток для поворота завихренного газового потока, проходящего по газовому каналу 5 от находящегося выше по газовоздушному тракту ротора, в основном, к осевому направлению.
Промежуточный узел 14 расположен в осевом направлении между первым и вторым узлами 8, 9 и соединен с каждым из них. Таким образом, промежуточный узел 14 примыкает как к первому, так и ко второму узлу 8, 9. Промежуточный узел 14 имеет кольцевой газовый канал 5с, выполненный с возможностью направления газового потока от газового канала 5а в первом узле к газовому каналу 5b во втором узле, формируя тем самым непрерывный газовый канал через первый, промежуточный и второй узлы 8, 14, 9.
Таким образом газовые каналы 5а, 5с и 5b в первом, промежуточном и втором узлах 8, 14, 9 образуют часть указанного основного газового канала 5. Соответственно, узлы 8, 14, 9 компрессора образуют компрессорное устройство, выполненное с возможностью сжатия газа в основном газовом канале 5. Камера 17 сгорания расположена ниже по газовоздушному тракту секции 9 компрессора высокого давления для сжигания сжатого газа, поступающего по основному газовому каналу.
Газовый канал 5с промежуточного узла имеет “агрессивную” форму (с резким изменением контура), то есть имеет большое радиальное смещение между входом 19 и выходом 20 при небольшой протяженности по оси. Таким образом, как показано на фиг.2, вход 19 газового канала 5с промежуточного узла существенно смещен в радиальном направлении относительно выхода 20 газового канала 5с промежуточного узла. Газовый канал 5с у входа 19 резко изогнут вовнутрь по радиусу от направления, в основном параллельного осевому направлению 18, и затем снова изогнут наружу к направлению, в основном параллельному направлению оси 18.
В представленном на фиг.2 варианте выполнения внутренняя по радиусу стенка 21 у входа газового канала 5с промежуточного узла расположена на примерно таком же расстоянии по радиусу, что и наружная по радиусу стенка 22 у выхода газового канала промежуточного узла. Кроме того, протяженность промежуточного узла 14 в осевом направлении меньше пяти, предпочтительно четырех или трех, и, наиболее предпочтительно, меньше двух расстояний по радиусу между положениями осевой линии 23 газового канала у входа 19 и у выхода 20.
Расстояние по радиусу между стенками, формирующими газовый канал 5с у выхода 20, примерно равно, или больше, расстоянию по радиусу между стенками, формирующими газовый канал 5с у входа 19. Это создает условия для значительного увеличения площади канала 5с (формирование диффузора) между входом 19 и выходом 20 в поперечном сечении, перпендикулярном осевому направлению.
Большая кривизна участка 30 внутренней стенки газового канала в месте его изгиба вовнутрь по радиусу, как показано на фиг.2, может приводить к сильному падению статического давления вдоль внутренней стенки, у которой поток ускоряется при движении вдоль выгнутой части 30. Это падение давления может приводить к значительному и протяженному градиенту давления, что ведет к утолщению граничного слоя и в конечном счете к его отделению, что может давать ухудшение характеристик канала. Эта проблема решается или, по меньшей мере, облегчается за счет размещения в газовом канале промежуточного узла направляющего или крыловидного элемента 29 в непосредственной близости от изогнутого участка 30 внутренней стенки, составляющей часть ступицы 3. Направляющий элемент 29 проходит по окружности авиационного двигателя 1 и имеет форму непрерывного кольца.
Внутренний по радиусу направляющий элемент 29 установлен, как показано на фиг.2, в газовом канале 5с промежуточного узла и может выдерживать аэродинамическую нагрузку в осерадиальной плоскости, направляя и поворачивая газовый поток. Следовательно, направляющий элемент 29 установлен таким образом, чтобы подавлять искажения проходящего вниз по газовоздушному тракту потока. Направляющий элемент 29 выполнен тонким с аэродинамической формой. Предпочтительно элемент 29 имеет в сечении форму крыла (лопатки с аэродинамическим профилем).
Говоря более подробно, внутренний по радиусу направляющий элемент 29 установлен в непосредственной близости к выгнутому вовнутрь изогнутому участку 30 внутренней стенки, формирующей газовый канал 5с, и, в основном, параллельно этому участку. При таком размещении устраняется отделение граничного слоя от внутренней стенки газового канала. Другой, наружный по радиусу кольцевой или крыловидный элемент 28 размещен, как показано на фиг.2 и 3, в газовом канале 5с промежуточного узла и может выдерживать аэродинамическую нагрузку в осерадиальной плоскости, направляя и поворачивая газовый поток. Этот второй кольцевой направляющий элемент 28 выполняет те же функции по отношению к кожуху 4, что и первый направляющий элемент 29 по отношению к ступице 3. Второй направляющий элемент 28 способствует повороту потока вдоль выгнутой кривизны изогнутого участка 31 наружной стенки газового канала, который составляет часть кожуха 4. Соответственно, направляющий элемент 28 установлен таким образом, чтобы подавлять искажения проходящего вниз по газовоздушному тракту потока. Направляющий элемент 28 проходит по окружности авиационного двигателя 1 и также имеет форму непрерывного кольца. Направляющий элемент 28 также выполнен тонким с аэродинамической формой. Предпочтительно элемент 28 также имеет в сечении форму крыла.
Первый кольцевой направляющий элемент 29, служащий для облегчения поворота потока вдоль ступицы 3, в действительности вызывает увеличение абсолютного значения отрицательного градиента на проблемном изогнутом участке 31 кожуха 4. Второй направляющий элемент 28 в рассматриваемом варианте выполнения помещен непосредственно выше по газовоздушному тракту той области у кожуха, где могло бы произойти отделение потока. Это уменьшает отрицательный градиент давления в этой области и в граничном слое, что существенно улучшает характеристики канала.
Таким образом, наружный по радиусу направляющий элемент 28 расположен в непосредственной близости к выгнутому вовнутрь криволинейному участку 31 наружной стенки, формирующей газовый канал 5с, и в основном параллельно этому участку. При таком размещении устраняется отделение граничного слоя от наружной стенки газового канала.
Промежуточный узел 14 связывает ступицу 3 и кожух 4 с помощью группы радиальных кронштейнов 27, обычно называемых стойками, расположенных по окружности промежуточного узла 14 компрессора на некотором расстоянии друг от друга. Конструкция этих стоек 27 должна обеспечивать в двигателе передачу нагрузок. Кроме того, стойки выполняют полыми, чтобы размещать в них вспомогательные компоненты, такие как средства для подачи и отвода масла и/или воздуха, а также для размещения в них сигнальных и экранированных кабелей для передачи информационных сигналов, касающихся измерения давления и/или температуры, приводного вала для запуска двигателя и т.д. Стойки могут также использоваться для передачи охладителя.
Радиальные стойки 27 пересекают газовый канал 5с, и наружный по радиусу кольцевой направляющий элемент 28 скреплен по меньшей мере с одной из указанных радиальных стоек. Точнее наружный по радиусу кольцевой направляющий элемент 28 расположен вблизи выходных кромок стоек. Кроме того, и внутренний кольцевой направляющий элемент 29 в промежуточном узле 14 закреплен вблизи входной кромки по меньшей мере одной из указанных радиальных стоек 27.
Промежуточный узел 14 компрессора, связывающий промежуточный кожух 4 и ступицу 3, обычно называют промежуточным корпусом (IMC) или промежуточным корпусом компрессора (ICC).
Двигатель 1 летательного аппарата содержит также первый узел 108, представляющий собой ступень турбины высокого давления, и второй узел 109, представляющий собой ступень турбины низкого давления. Ступени 108, 109 турбины расположены ниже по газовоздушному тракту камеры 17 сгорания. Как узел 108 турбины низкого давления, так и узел 109 турбины высокого давления содержат газовые каналы 5d и 5е соответственно.
Каждая из секций 108, 109 турбины содержит группу роторов 110, 111 и статоров 112, 113. Статоры 112, 113 и роторы 110, 111 чередуются друг с другом. Каждый из статоров 112, 113 содержит группу аэродинамических лопаток для поворота завихренного газового потока, проходящего по газовому каналу 5 от находящегося выше по газовоздушному тракту ротора, в основном, к осевому направлению.
Промежуточный узел 114 расположен в осевом направлении между первым и вторым узлами 108, 109 турбины и соединен с каждым из них. Промежуточный узел 114 имеет кольцевой газовый канал 5f, выполненный с возможностью направления газового потока от газового канала 5d первого узла турбины к газовому каналу 5е второго узла турбины, формируя тем самым непрерывный газовый канал через первый, промежуточный и второй узлы 108, 114, 109. Таким образом газовые каналы 5d, 5f и 5е в первом, промежуточном и втором узлах 108, 114, 109 образуют часть указанного основного газового канала 5.
Соответственно, узлы 108, 114, 109 образуют устройство, выполненное с возможностью расширения газа в основном газовом канале 5.
Газовый канал 5f промежуточного узла, как показано на фиг.4, также имеет “агрессивную” форму, то есть имеет большое радиальное смещение между входом 119 и выходом 120 при небольшой протяженности по оси. Таким образом, вход 119 газового канала 5f промежуточного узла значительно смещен в радиальном направлении относительно выхода 120 газового канала 5f промежуточного узла. Газовый канал 5f у входа 119 резко изогнут наружу по радиусу от направления, в основном параллельного осевому направлению 18, и затем у выхода 120 снова изогнут вовнутрь к направлению, в основном параллельному осевому направлению 18.
В представленном на фиг.4 варианте выполнения наружная по радиусу стенка 126 у входа 119 газового канала 5f промежуточного узла расположена на примерно таком же расстоянии по радиусу, что и внутренняя по радиусу стенка 124 у выхода 120 газового канала промежуточного узла. Кроме того, протяженность промежуточного узла 14 в осевом направлении меньше, чем пять, предпочтительно четыре или три, и, наиболее предпочтительно, меньше, чем примерно два расстояния по радиусу между положениями осевой линии 123 газового канала у входа 119 и у выхода 120.
Расстояние по радиусу между стенками, формирующими газовый канал 5f у выхода 120 примерно равно или больше расстояния по радиусу между стенками, формирующими газовый канал 5f у входа 119. Следовательно, происходит значительное увеличение площади канала 5f (формирование диффузора) между входом 119 и выходом 20 в поперечном сечении, перпендикулярном осевому направлению.
Значительная кривизна кожуха 4 (см. участок 130 стенки газового канала) при его изгибе в направлении наружу по радиусу может приводить к существенному падению статического давления в месте, где поток ускоряется при движении вдоль выгнутого кожуха 4. Это падение давления привело бы к существенному увеличению абсолютного значения отрицательного градиента давления на большой протяженности, что вызвало бы утолщение граничного слоя и в конечном счете его отделение. Это могло бы привести к ухудшению характеристик канала 5f. Данная проблема решается или по меньшей мере облегчается за счет размещения в газовом канале 5f промежуточного узла кольцевого направляющего или крыловидного элемента 128 в непосредственной близости от изогнутого участка 130 наружной стенки, составляющей часть кожуха 4.
Таким образом, наружный по радиусу элемент 128 размещен, как показано на фиг.4, в газовом канале 5f промежуточного узла и может выдерживать аэродинамическую нагрузку в осерадиальной плоскости, направляя и поворачивая газовый поток. Направляющий элемент 128 установлен таким образом, чтобы подавлять искажения проходящего вниз по газовоздушному тракту потока. Направляющий элемент 128 проходит по окружности авиационного двигателя, он непрерывен и имеет форму кольца. Направляющий элемент 128 выполнен тонким с аэродинамическая формой. Предпочтительно элемент 128 имеет в сечении форму крыла.
Наружный по радиусу направляющий элемент 128 расположен в непосредственной близости к выгнутому наружу изогнутому участку 130 наружной стенки, формирующей газовый канал 5f, и, в основном, параллельно этому участку. При таком размещении устраняется отделение граничного слоя от наружной стенки газового канала.
Другой, внутренний по радиусу кольцевой направляющий или крыловидный элемент 129 размещен, как показано на фиг.4, в газовом канале 5f промежуточного узла и может выдерживать аэродинамическую нагрузку в осерадиальной плоскости, направляя и поворачивая газовый поток. Этот второй кольцевой направляющий элемент 129 выполняет те же функции по отношению к ступице 3, что и первой направляющий элемент 128 по отношению к кожуху 4. Второй направляющий элемент 129 способствует повороту потока вдоль выгнутого криволинейного участка 131 внутренней стенки газового канала, который составляет часть ступицы 3. Следовательно, направляющий элемент 129 установлен таким образом, чтобы подавлять искажения проходящего вниз по газовоздушному тракту потока. Направляющий элемент 129 проходит по окружности авиационного двигателя 1, он непрерывен и имеет форму кольца. Направляющий элемент 129 также выполнен тонким с аэродинамической формой. Предпочтительно элемент 129 имеет форму крыла.
Внутренний по радиусу направляющий элемент 129 расположен в непосредственной близости к выгнутому наружу изогнутому участку 131 внутренней стенки, формирующей газовый канал 5f, и, в основном, параллельно этому участку. При таком размещении устраняется отделение граничного слоя от внутренней стенки газового канала.
Наружный по радиусу кольцевой направляющий элемент 128, служащий для облегчения поворота потока вдоль кожуха 4, в действительности вызывает увеличение абсолютного значения отрицательного градиента на проблемном выгнутом участке ступицы. Внутренний по радиусу кольцевой направляющий элемент 129 в рассматриваемом варианте выполнения помещен непосредственно выше по газовоздушному тракту той области у ступицы 3, где могло бы произойти отделение потока. Это уменьшает отрицательный градиент давления в этой области и в граничном слое, что существенно улучшает характеристики канала.
Промежуточный узел 114 в турбинной секции связывает ступицу 3 и кожух 4 с помощью группы радиальных стоек 127, находящихся на некотором расстоянии друг от друга по окружности промежуточного узла 114 турбины так же, как было описано для компрессорной секции. Радиальные стойки пересекают газовый канал 5f, и по меньшей мере один из наружного по радиусу направляющего элемента 128 и внутреннего направляющего элемента 129 скреплен по меньшей мере с одной из указанных радиальных стоек. Говоря более подробно, внутренний направляющий элемент 129 расположен в непосредственной близости к выходным кромкам стоек 127, а наружный направляющий элемент 128 расположен в непосредственной близости к входным кромкам стоек 127. Словосочетание “выгнутое искривление ” следует понимать как выгнутый вовнутрь по отношению к газовому каналу.
Изобретение ни в коей мере не ограничивается приведенным выше вариантом выполнения, наоборот, возможен целый ряд альтернатив и модификаций без выхода за рамки нижеследующей формулы изобретения.
В качестве альтернативы тому, что газовый канал непосредственно выше по газовоздушному тракту промежуточных узлов 14, 114 направлен, в основном, параллельно оси 18, он может проходить наклонно к осевому направлению. Кроме того, газовый канал непосредственно ниже по газовоздушному тракту промежуточных узлов 14, 114 также может проходить наклонно по отношению к осевому направлению 18.
В качестве альтернативы конфигурации газового канала, показанной и описанной в связи с фиг.2, канал сжатия может быть выполнен так, чтобы не было увеличения площади (формирования диффузора) между входом и выходом. Например, площадь может между входом и выходом оставаться, в основном, постоянной или несколько уменьшаться. В этом случае направляющий элемент также применим для того, чтобы создать условия для работы канала агрессивной формы (резко изогнутого канала) и короткого канала с большим смещением по радиусу. Аналогичным образом в качестве альтернативы конфигурации газового канала, показанной на фиг.4, канал может быть выполнен так, чтобы не было увеличения площади (формирования диффузора) между входом и выходом.
Кроме того, кольцевые направляющие элементы 28, 29, 128, 129 могут быть закреплены и удерживаться в рабочем положении другим путем, а не с помощью стоек. К тому же не все двигатели могут быть снабжены стойками. В качестве альтернативы вышеописанной конфигурации промежуточного газового канала расстояние по радиусу между формирующими газовый канал стенками у выхода может быть меньше, чем расстояние по радиусу между формирующими газовый канал стенками у входа, если газовый канал выполнен так, что имеет большое радиальное смещение между входом и выходом.
В качестве альтернативы тому, что изобретение представлено для части ГТД с кольцевым газовым каналом, газовый канал может иметь не осесимметричную форму, а, например, форму многоугольника, или иметь аэродинамическую конфигурацию для уменьшения вторичных потоков. Кроме того, направляющие элементы также могут иметь не осесимметричную форму. Предпочтительно, чтобы направляющий элемент имел, в основном, такую же форму поперечного сечения, что имеет газовый канал. Кроме того, направляющий элемент может не быть непрерывным по окружности. Он может иметь один или несколько разрывов, что создает прерванную в направлении по окружности конструкцию направляющего элемента.
В качестве альтернативы тому, что в промежуточном узле имеется два направляющих элемента, промежуточный узел ГТД может содержать только один направляющий элемент. Тогда этот элемент располагают у наиболее критического, то есть резче изогнутого, участка газового канала.
Формула изобретения
1. Промежуточный узел (14, 114) газотурбинного двигателя (ГТД), предназначенный для размещения в осевом направлении (18) ГТД (1) между его первым и вторым узлами (8, 108 и 9, 109) и включающий кольцевой газовый канал (5с, 5f), проходящий вокруг центральной осевой линии (18) промежуточного узла (14, 114) и выполненный с возможностью направления газового потока от газового канала (5а, 5d) в первом узле (8, 108) к газовому каналу (5b, 5е) во втором узле (9, 109), отличающийся тем, что вход (19, 119) кольцевого газового канала (5с, 5f) промежуточного узла значительно смещен в радиальном направлении по отношению к его выходу (20, 120), и при этом в кольцевом газовом канале (5с, 5f) промежуточного узла установлен, по меньшей мере, один направляющий элемент (28, 29, 128, 129) с возможностью направления газового потока и имеющий форму кольцевого направляющего элемента, проходящего в непосредственной близости от изогнутого участка стенки, формирующей кольцевой газовый канал.
2. Промежуточный узел по п.1, отличающийся тем, что направляющий элемент (28, 29, 128, 129) установлен, в основном, параллельно изогнутому участку (30, 31, 130, 131) стенки газового канала.
3. Промежуточный узел по п.1, отличающийся тем, что наружный по радиусу направляющий элемент (28, 128) установлен на меньшем расстоянии от наружной по радиусу стенки газового канала (5с, 5f) промежуточного узла, чем от его внутренней по радиусу стенки.
4. Промежуточный узел по п.1, отличающийся тем, что внутренний по радиусу направляющий элемент (29, 129) установлен на меньшем расстоянии от внутренней по радиусу стенки газового канала (5с, 5f) промежуточного узла, чем от его наружной по радиусу стенки.
5. Промежуточный узел по п.1, отличающийся тем, что он включает группу радиальных стоек (27) для передачи нагрузки, проходящих через газовый канал (5с, 5f), причем направляющий элемент (28, 29, 128, 129) скреплен с, по меньшей мере, одной из этих радиальных стоек (27).
6. Промежуточный узел по п.1, отличающийся тем, что его длина в осевом направлении меньше трех расстояний по радиусу между осевыми линиями (23, 123) у входа (19, 119) и у выхода (20, 120) газового канала (5с, 5f) промежуточного узла.
7. Промежуточный узел по п.1, отличающийся тем, что газовый канал (5с) изогнут по радиусу вовнутрь для размещения его между ступенью (8) компрессора низкого давления и ступенью (9) компрессора высокого давления.
8. Промежуточный узел по любому из пп.1-6, отличающийся тем, что газовый канал (5а) изогнут по радиусу наружу для размещения его между ступенью (108) турбины высокого давления и ступенью (109) турбины низкого давления.
9. Газотурбинный двигатель, содержащий промежуточный узел (14, 114) газовой турбины по любому из пп.1-8.
10. Газотурбинный двигатель по п.9, отличающийся тем, что промежуточный узел (14) размещен между ступенью (8) компрессора низкого давления и ступенью (9) компрессора высокого давления.
11. Газотурбинный двигатель по п.9 или 10, отличающийся тем, что промежуточный узел (114) размещен между ступенью (108) турбины высокого давления и ступенью (109) турбины низкого давления.
12. Реактивный двигатель летательного аппарата, содержащий газотурбинный двигатель (1) по любому из пп.9-11.
РИСУНКИ
|
|