|
|
(21), (22) Заявка: 2009124300/03, 26.06.2009
(24) Дата начала отсчета срока действия патента:
26.06.2009
(46) Опубликовано: 10.08.2010
(56) Список документов, цитированных в отчете о поиске:
RU 83288 U1, 27.05.2009. SU 1147560 A1, 15.05.1990. SU 1373560 A1, 15.02.1988. SU 1384370 A1, 30.03.1988. RU 2015321 C1, 30.06.1994. RU 2020053 C1, 30.09.1994. RU 2280554 C1, 27.07.2006. RU 2345881 C2, 10.02.2009. RU 46812 U1, 27.07.2005.
Адрес для переписки:
125009, Москва, а/я 184, ППФ “ЮС”, пат.пов.В.В.Курьянову, рег. 108
|
(72) Автор(ы):
Сибилев Алексей Алексеевич (RU), Грачев Алексей Петрович (RU)
(73) Патентообладатель(и):
Общество с ограниченной ответственностью “Завод строительного оборудования” (RU)
|
(54) ПНЕВМАТИЧЕСКИЙ ОТБОЙНЫЙ МОЛОТОК
(57) Реферат:
Изобретение относится к горному делу и строительству. Молоток содержит рукоятку, ствол, снабженный отверстиями, промежуточное звено, клапан, крышку клапана, ударник, камеру рабочего хода, расположенную вдоль продольной оси ствола, образованную крышкой клапана и внутренней поверхностью ствола, в которой установлен с возможностью перемещения ударник, и камеру холостого хода, расположенную внутри ствола коаксиально камере рабочего хода, кольцевую камеру, кожух с отверстиями. Промежуточное звено выполнено из рубашки и втулки, составляя одно целое, механизм газораспределения выполнен из деталей, выполняющих функции коробки и седла, а также из крышки и из клапана, внутри кожуха выполнена расширительная камера, образованная внутренней поверхностью кожуха, наружной поверхностью ствола и уплотнением кожуха, прилегающим к наружной поверхности ствола. Камера рабочего хода сообщена с камерой холостого хода первым осевым отверстием, выполненным во внутренней части ствола, а камера холостого хода сообщена с расширительной камерой вторым осевым отверстием, выполненным в наружной части ствола, коробка и седло механизма газораспределения функционально объединены и выполнены в виде корпуса клапана, а промежуточное звено выполнено с кольцевой камерой, исполненной в виде кольцевой проточки на торце промежуточного звена, обращенного к рукоятке. Промежуточное звено выполнено с кольцевой камерой, исполненной в виде кольцевой проточки на торце промежуточного звена, обращенного к рукоятке. Кольцевая проточка также выполнена между наружной поверхностью промежуточного звена и внутренней поверхностью ствола и сообщена с наружной внешней поверхностью корпуса клапана. Корпус клапана снабжен втулкой, закрепленной на его наружной поверхности. В корпусе клапана выполнено центральное отверстие и выполнены радиальные отверстия. Между обращенными друг к другу торцами корпуса клапана и крышки клапана выполнены пазы, накрест лежащие и сообщенные с кольцевой камерой кольцевой проточкой. Клапан установлен в области перекрестия пазов с возможностью открывания-перекрывания центрального отверстия. Радиальные отверстия сообщены с камерой рабочего хода посредством совмещенных отверстий, выполненных в корпусе клапана, в крышке, в расточке ствола и расположенных вдоль продольной оси между пазами. Расточка ствола сообщена с камерой рабочего хода посредством отверстия, выполненного внутри ствола между расточкой и частью камеры рабочего хода, наиболее удаленной от крышки клапана. Кожух выполнен из эластичного материала и снабжен наружными выступами. В уплотнении кожуха выполнены отверстия для вывода отработанного воздуха, расположенные продольно между наружной поверхностью ствола и уплотнением кожуха и обращенные от рукоятки. Обеспечивает упрощение конструкции, улучшение шумо- и виброзащиты. 4 з.п. ф-лы, 8 ил.
Область техники
Изобретение относится к строительству и горным работам, в частности к пневматическим молоткам для разрушения твердых пород и материалов, например асфальта, бетонной или цементной стяжки.
Уровень техники
Известна пневматическая машина ударного действия, содержащая кожух-рубашку, соединенную с ним рукоятку, свободно установленный в кожухе-рубашке ствол с рабочей камерой, размещенный в ней и делящий ее на камеры прямого и обратного хода, ударник, пусковое устройство и воздухораспределительное устройство, соединенное с камерами прямого и обратного хода продольными и разделительными каналами (SU, 1384370, опубл. 30.03.1988).
Известен молоток отбойный пневматический, содержащий рукоятку, ствол, промежуточное звено, ударник, камеры рабочего и холостого хода, кольцевую камеру, кожух с отверстиями, при этом промежуточное звено выполнено из рубашки и втулки, которые запрессованы друг в друга, составляя одно целое, механизм газораспределения состоит из коробки, седла, крышки, клапана, штифтов, выполнен без сварки (патент на полезную модель RU, 46812, опубл. 2005.07.27).
В этом устройстве ствол имеет два глубоких отверстия и четырехгранную наружную поверхность, на которую снаружи одевается металлическая гильза, вместе с гранями она образует четыре камеры для выхода отработанного воздуха и глушения шума.
Ограничениями данных устройств пневматических молотков являются:
1. Конструкция газораспределительного механизма, в котором коробка клапана и седло выполнены в виде отдельных деталей, что создает дополнительную плоскость разъема в данном механизме и тем самым снижает надежность и герметичность механизма из-за зазора, в который в процессе работы попадает пыль. Это препятствует плотному смыканию деталей, что, в свою очередь, приводит к утечке воздуха и падению мощности молотка.
2. Кожух-рубашка, изготовленный из стали, обладает следующими недостатками:
– низкая защита от вибрации;
– низкая шумозащита;
– вывод отработавшего воздуха через колпак (изготовленный из стали) производится радиально, в непосредственной близости от рукоятки и при некоторых условиях (например, при работе в горизонтальном положении) направлен непосредственно на работника;
– воздуховыводящие отверстия в колпаке находятся в непосредственной близости от каналов холостого хода, поэтому воздух выбрасывается в атмосферу под давлением, что создает значительный шум и приводит к переохлаждению рабочих частей молотка и находящихся в отработанном воздухе паров воды и масла, что, в свою очередь, приводит к останову молотка;
– высокая трудоемкость изготовления и сборки.
Наиболее близким является молоток отбойный пневматический, содержащий рукоятку, ствол, снабженный отверстиями, промежуточное звено, клапан, крышку клапана, ударник, камеру рабочего хода, образованную торцом ударника, крышкой клапана и внутренней поверхностью ствола, и камеру холостого хода, расположенную внутри ствола коаксиально камере рабочего хода, кольцевую камеру, кожух с отверстиями, причем ударник установлен с возможностью его удержания относительно ствола, при этом промежуточное звено выполнено из рубашки и втулки, составляя одно целое, механизм газораспределения выполнен из деталей, выполняющих функции коробки и седла, а также из крышки и из клапана, внутри кожуха выполнена расширительная камера, образованная внутренней поверхностью кожуха, наружной поверхностью ствола и уплотнением кожуха, прилегающим к наружной поверхности ствола, причем камера рабочего хода сообщена с камерой холостого хода первым осевым отверстием, выполненным во внутренней части ствола, а камера холостого хода сообщена с расширительной камерой вторым осевым отверстием, выполненным в наружной части ствола, коробка и седло механизма газораспределения функционально объединены и выполнены в виде корпуса клапана, а промежуточное звено выполнено с кольцевой камерой, исполненной в виде кольцевой проточки на торце промежуточного звена, обращенного к рукоятке (патент на полезную модель RU, 83288, опубл. 2009.05.27).
В этом техническом решении промежуточное звено выполнено монолитным с кольцевой камерой, исполненной в виде кольцевой проточки на торце промежуточного звена, обращенного к рукоятке, а коробка и седло механизма газораспределения функционально объединены и закреплены между собой посредством сварки или выполнены в виде единой монолитной детали – корпуса клапана.
В известном устройстве удается упростить сборку, повысить мощность и надежности за счет исключения нарушения целостности конструкции и исключения нарушения герметичности соединения деталей.
Однако и в этом техническом решении имеются недостатки:
– достаточно сложно функционально объединить коробку и седло механизма газораспределения, а тем более закрепить их между собой посредством сварки или выполнить в виде единой монолитной детали, это приводит к усложнению конструкции;
– при изготовлении кольцевой камеры, выполненной в виде кольцевой проточки только на торце промежуточного звена, обращенного к рукоятке, довольно сложно подключить эту камеру к механизму газораспределения;
– кожух имеет низкую защиту от вибрации и от шума;
– вывод отработавшего воздуха через кожух производится радиально, в непосредственной близости от рукоятки и при некоторых условиях (например, при работе в горизонтальном положении) направлен непосредственно на работника;
– воздуховыводящие отверстия в кожухе находятся в непосредственной близости от каналов холостого хода, поэтому воздух выбрасывается в атмосферу под давлением, что создает значительный шум и приводит к переохлаждению рабочих частей молотка и находящихся в отработанном воздухе паров воды и масла, что, в свою очередь, может приводить к останову молотка;
– достаточно высокая трудоемкость изготовления и сборки из-за усложнения конструкции газораспределительного механизма или использования сварки.
Раскрытие изобретения
Задача, на реализацию которой направлено предлагаемое изобретение, заключается в повышении технико-эксплуатационных характеристик, ремонтопригодности, сборки и надежности изделия, в повышении долговечности и эффективности работы пневматического отбойного молотка.
Технический результат предлагаемого устройства заключается в упрощении устройства, улучшение шумо- и виброзащиты, в дополнительном повышении мощности и надежности за счет исключения нарушения герметичности соединения деталей.
Для решения поставленной задачи с достижением указанного технического результата в известном молотке отбойном пневматическом, содержащем рукоятку, ствол, снабженный отверстиями, промежуточное звено, клапан, крышку клапана, ударник, камеру рабочего хода, расположенную вдоль продольной оси ствола, образованную крышкой клапана и внутренней поверхностью ствола, в которой установлен с возможностью перемещения ударник, и камеру холостого хода, расположенную внутри ствола коаксиально камере рабочего хода, кольцевую камеру, кожух с отверстиями, при этом промежуточное звено выполнено из рубашки и втулки, составляя одно целое, механизм газораспределения выполнен из деталей, выполняющих функции коробки и седла, а также из крышки и из клапана, внутри кожуха выполнена расширительная камера, образованная внутренней поверхностью кожуха, наружной поверхностью ствола и уплотнением кожуха, прилегающим к наружной поверхности ствола, причем камера рабочего хода сообщена с камерой холостого хода первым осевым отверстием, выполненным во внутренней части ствола, а камера холостого хода сообщена с расширительной камерой вторым осевым отверстием, выполненным в наружной части ствола, коробка и седло механизма газораспределения функционально объединены и выполнены в виде корпуса клапана, а промежуточное звено выполнено с кольцевой камерой, исполненной в виде кольцевой проточки на торце промежуточного звена, обращенного к рукоятке, согласно заявленному изобретению камера холостого хода расположена вокруг части камеры рабочего хода, кольцевая проточка также выполнена между наружной поверхностью промежуточного звена и внутренней поверхностью ствола и сообщена с наружной внешней поверхностью корпуса клапана, корпус клапана снабжен втулкой, закрепленной на его наружной поверхности, в корпусе клапана выполнено центральное отверстие, расположенное на продольной оси, и выполнены радиальные отверстия, расположенные вдоль поперечных осей и сообщенные с центральным отверстием, при этом между обращенными друг к другу торцами корпуса клапана и крышки клапана выполнены пазы, накрест лежащие и сообщенные с кольцевой камерой кольцевой проточкой, клапан установлен в области перекрестия пазов с возможностью открывания-перекрывания центрального отверстия корпуса клапана, а радиальные отверстия сообщены с камерой рабочего хода посредством совмещенных отверстий, выполненных в корпусе клапана и в крышке, расположенных вдоль продольной оси между пазами и совмещенных с расточкой внутри ствола и третьего осевого отверстия, выполненного внутри ствола между расточкой и частью камеры рабочего хода, наиболее удаленной от крышки клапана, кожух выполнен из эластичного материала и снабжен наружными выступами, а в уплотнении кожуха выполнены отверстия для вывода отработанного воздуха, расположенные продольно между наружной поверхностью ствола и уплотнением кожуха и обращенные от рукоятки.
Возможны дополнительные варианты выполнения устройства, в которых целесообразно, чтобы:
– в качестве эластичного материала кожуха была использована резина;
– камера рабочего хода была сообщена с камерой холостого хода первым осевым отверстием, расположенным дальше от газораспределительного механизма, а камера холостого хода была сообщена с расширительной камерой вторым осевым отверстием, расположенным ближе к газораспределительному механизму;
– втулка корпуса клапана была закреплена на его наружной поверхности запрессовкой;
– кожух был выполнен в виде монолитной детали, а его уплотнение – в виде утолщения его стенки.
Указанные преимущества, а также особенности настоящего изобретения поясняются лучшим вариантом его выполнения со ссылками на прилагаемые чертежи.
Краткий перечень чертежей
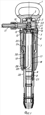
Фиг.1 изображает заявленное устройство, продольное сечение;
Фиг.2 – то же, что фиг.1, повернуто на 90° вокруг продольной оси;
Фиг.3 – часть ствола (увеличен масштаб на фиг.2);
Фиг.4 – используемый газораспределительный механизм, продольное сечение;
Фиг.5 – то же, что фиг.4, продольное сечение в области совмещенных отверстий;
Фиг.6 – кожух, продольное сечение;
Фиг.7 – вид на наружную поверхность кожуха;
Фиг.8 – вид А на фиг.6.
Лучший вариант осуществления
Для упрощения чтения чертежей приведены следующие спецификации. На фиг.1, 2 и 3 показаны:
п/п поз. |
Наименование |
| 1 |
Рукоятка |
| 2 |
Вентиль |
| 3 |
Промежуточное звено |
| 4 |
Корпус клапана |
| 5 |
Клапан |
| 6 |
Крышка клапана |
| 7 |
Кожух |
| 8 |
Ствол |
| 9 |
Ударник |
| 10 |
Футорка |
| 11 |
Ниппель |
| 12 |
Втулка |
| 13 |
Кольцевая камера |
| 15 |
Центральное отверстие корпуса клапана |
| 16 |
Радиальное отверстие корпуса клапана |
| 17 |
Совмещенное отверстие корпуса клапана и крышки |
| 18 |
Камера рабочего хода |
| 19 |
Камера холостого хода |
| 20 |
Первое осевое отверстие |
| 21 |
Центральное отверстие промежуточного звена |
| 22 |
Радиальное отверстие промежуточного звена |
| 23 |
Осевые отверстия промежуточного звена |
| 24 |
Второе осевое отверстие |
| 25 |
Расширительная камера |
| 26 |
Отверстия кожуха для вывода отработанного воздуха |
| 27 |
Третье осевое отверстие |
| 30 |
Уплотнение кожуха |
| 32 |
Движение отработанного воздуха |
На фиг.4, 5 показаны:
п/п поз. |
Наименование |
| 4 |
Корпус клапана |
| 5 |
Клапан |
| 6 |
Крышка клапана |
| 12 |
Втулка |
| 13 |
Кольцевая камера |
| 14 |
Пазы накрест лежащие |
| 15 |
Центральное отверстие (в корпусе клапана) |
| 16 |
Радиальное отверстие (в корпусе клапана) |
| 17 |
Совмещенное отверстие (в корпусе клапана и крышке) |
| 28 |
Расточка в корпусе клапана (для перекрытия центрального отверстия) |
| 29 |
Линия разъема газораспределительного механизма |
На фиг.6, 7, 8 показаны:
п/п поз. |
Наименование |
| 25 |
Расширительная камера |
| 26 |
Отверстия для вывода отработанного воздуха |
| 30 |
Уплотнение кожуха |
| 31 |
Наружные выступы |
| 32 |
Движение отработанного воздуха |
Молоток отбойный пневматический (фиг.1, 2, 3) содержит рукоятку 1, ствол 8, снабженный отверстиями, промежуточное звено 3, клапан 5, крышку 6 клапана 5, ударник 9, камеру 18 рабочего хода, образованную торцом ударника 9, крышкой 6 клапана 5 и внутренней поверхностью ствола 8, в которой установлен с возможностью продольного перемещения ударник 9, и камеру 19 холостого хода, расположенную внутри ствола 8 коаксиально камере 18 рабочего хода, кольцевую камеру 13, кожух 7 с отверстиями. Промежуточное звено 3 выполнено из рубашки и втулки, составляя одно целое. Механизм газораспределения выполнен из деталей, выполняющих функции коробки и седла, а также из крышки 6 и из клапана 5. Внутри кожуха 7 выполнена расширительная камера 25, образованная внутренней поверхностью кожуха 7, наружной поверхностью ствола 8 и уплотнением 30 кожуха 7, прилегающим к наружной поверхности ствола 8. Камера 18 рабочего хода сообщена с камерой 19 холостого хода первым осевым отверстием 20, выполненным во внутренней части ствола 8. Камера 19 холостого хода сообщена с расширительной камерой 25 вторым осевым отверстием 24, выполненным в наружной части ствола 8. Коробка и седло механизма газораспределения функционально объединены (на фиг.1-4 не могут быть выделены в виде отдельных деталей) и выполнены в виде корпуса 4 клапана.
Промежуточное звено 3 (фиг.1-3) выполнено с кольцевой камерой 13, исполненной в виде кольцевой проточки на торце промежуточного звена 3, обращенного к рукоятке 1.
Камера 19 холостого хода расположена вокруг части(ей) камеры 18 рабочего хода. Кольцевая проточка также выполнена между наружной поверхностью промежуточного звена 3 и внутренней поверхностью ствола 8 (в виде канала) и сообщена с наружной внешней поверхностью корпуса 4 клапана 5 (фиг.3, 4). Корпус 4 клапана 5 снабжен втулкой 12 (фиг.3, 4, 5), закрепленной на его наружной поверхности. В корпусе 4 клапана 5 выполнено центральное отверстие 15, расположенное на продольной оси, и выполнены радиальные отверстия 16, расположенные вдоль поперечных осей и сообщенные с центральным отверстием 15. Между обращенными друг к другу торцами корпуса 4 клапана 5 и крышки 6 клапана 5 выполнены пазы 14, накрест лежащие и сообщенные с кольцевой камерой 13 кольцевой проточкой (фиг.4). Клапан 5 установлен в области перекрестия пазов 14 с возможностью открывания-перекрывания центрального отверстия 15 корпуса 4 клапана. Радиальные отверстия 16 (фиг.5) сообщены с камерой 18 рабочего хода посредством совмещенных отверстий 17, выполненных в корпусе 4 клапана 5 и в крышке 6 и расположенных вдоль продольной оси между пазами 14. Совмещенные отверстия 17 (фиг.1,2,3) также совмещены с расточкой внутри ствола 8 и сообщены с третьим осевым отверстием 27, выполненным внутри ствола 8 между расточкой и частью камеры 18 рабочего хода, наиболее удаленной от крышки 6 клапана 5. Кожух 7 (фиг.6-8) выполнен из эластичного материала и снабжен наружными выступами 31, а в уплотнении кожуха 30 выполнены отверстия 26 (фиг.1, 2, 6, 8) для вывода отработанного воздуха (продольные пазы), расположенные продольно между наружной поверхностью ствола 8 и уплотнением кожуха 30 и обращенные от рукоятки 1 (в противоположном от нее направлении к рабочему инструменту).
Целесообразно, чтобы в качестве эластичного материала кожуха 7 использовалась резина.
Кроме того, камера 18 рабочего хода (фиг.1, 2, 3) сообщена с камерой 19 холостого хода первым осевым отверстием 20, расположенным дальше от газораспределительного механизма, чем второе осевое отверстие 24, но ближе, чем третье осевое отверстие 27, а камера 19 холостого хода сообщена с расширительной камерой 20 вторым осевым отверстием 24, расположенным ближе к газораспределительному механизму.
Для исключения процесса сварки втулка 12 корпуса 4 клапана 5 закреплена на его наружной поверхности запрессовкой (фиг.4, 5).
Для упрощения конструкции кожух 7 (фиг.1, 2, 6-8) выполнен в виде монолитной детали, а его уплотнение 30 – в виде утолщения его стенки.
Заявленный технический результат достигается тем, что:
Втулка 12, например, стальная, (фиг.4, 5) напрессовывается на корпус 4 клапана 5 горячим способом, что позволяет отказаться от сварки при изготовлении корпуса 4 клапана, надежно герметизировать радиальное отверстие 16, а также повысить точность получения рабочих радиальных отверстий 16 и совмещенных отверстий 17 (воздухообменных). Предлагаемый газораспределительный механизм имеет только одну плоскость разъема 29. Предлагаемая конструкция повышает надежность механизма и увеличивает эффективность его работы, снижает трудоемкость изготовления.
Кожух 7 (глушитель) выполнен в виде монолитной детали (фиг.6-8) из резины. Обращенная к рабочему инструменту часть кожуха 7 усилена уплотнением 30, что придает кожуху 7 повышенную жесткость и позволяет надежно удерживать молоток рукой при горизонтальном или близком к нему положении инструмента. В уплотнении 30 выполнены сквозные осевые отверстия 26 для вывода отработанного воздуха. На наружной поверхности кожуха 7 (глушителя) имеются выступы 31, позволяющие увеличить жесткость конструкции и надежность удержания молотка в процессе работы.
Усиление прилегающей к стволу 8 части кожуха 7 уплотнением 30 и использование в качестве материала резиновой смеси позволяет резко снизить воспринимаемые работником возникающие в процессе работы молотка вибрацию и шум. Вывод отработанного воздуха осуществляется в сторону рабочего инструмента и не создает неудобств и вреда работнику. Значительный объем расширительной камеры 25 в кожухе 7 позволяет понизить скорость выводимого воздуха, избежать переохлаждений и оседания масляно-пылевой смеси, а также снизить шум от выхлопа. Данная конструкция кожуха 7 позволяет снизить трудоемкость изготовления и сборки молотка.
Пневматический молоток работает следующим образом (фиг.1-3). При нажатии на рукоятку 1 в осевом направлении рукоятка 1 перемещает вентиль 3, открывая доступ сжатого воздуха из магистрали через ниппель 11 и футорку 10 в центральное отверстие 21 промежуточного звена 3, из нее в радиальное отверстие 22, далее через осевые отверстия 23 в кольцевую камеру 13, образованную внутренней расточкой в звене промежуточном 3 и в механизме газораспределения. Из кольцевой камеры 13 сжатый воздух попадает в газораспределительный механизм через накрест лежащие пазы 14 (фиг.4) корпуса 4 клапана 5 в центральное отверстие 15, из него в радиальное отверстие 16 и через совмещенные отверстия 17 в крышке 6 клапана 5 и корпусе 4 клапана (фиг.5), расточки в стволе 8 (фиг.1-3) поступает в камеру 18 рабочего хода через третье осевое отверстие 27 и далее в камеру холостого хода 19 через отверстие 20 в зависимости от положения ударника 9 и клапана 5 (фиг.1-5). При этом ударник 9 совершает возвратно-поступательные движения в камере 18 рабочего хода (фиг.1-3), нанося удары в крайнем нижнем положении по рабочему инструменту. В крайнем верхнем положении ударник 9 создает над собой зону повышенного давления, и клапан 5 (фиг.4 и 5), перемещаясь в расточке 28, прижимается к корпусу 4 клапана и перекрывает центральное отверстие 15. Избыток воздуха из камеры рабочего хода 18 через первое осевое отверстие 20 выбрасывается в камеру 19 холостого хода (фиг.1 -3), давление падает, и ударник 9 движется вниз, а клапан 5 (фиг.4 и 5) прижимается к крышке 6, после чего цикл повторяется. Отработанный воздух из камеры 19 холостого хода через второе осевое отверстие 24 попадает в расширительную камеру 25 между стволом 8 и кожухом 7, в которой давление воздуха падает, после чего воздух через отверстия 26 в кожухе 7 выводится в атмосферу. При этом кожух 7 благодаря использованию резиновой смеси и конструктивным особенностям: усилению прилегающей к стволу 8 части кожуха 7 уплотнением 30 (фиг.1, 2, 6-8), наличию отверстий 26, гасит возникающие вибрации и снижает шум от выброса отработанного воздуха и соударения металлических деталей в процессе работы молотка.
Промышленная применимость
Наиболее успешно заявленный пневматический отбойный молоток промышленно применим в строительстве и при проведении горных работ.
Формула изобретения
1. Молоток отбойный пневматический, содержащий рукоятку, ствол, снабженный отверстиями, промежуточное звено, клапан, крышку клапана, ударник, камеру рабочего хода, расположенную вдоль продольной оси ствола, образованную крышкой клапана и внутренней поверхностью ствола, в которой установлен с возможностью перемещения ударник, и камеру холостого хода, расположенную внутри ствола коаксиально камере рабочего хода, кольцевую камеру, кожух с отверстиями, при этом промежуточное звено выполнено из рубашки и втулки, составляя одно целое, механизм газораспределения выполнен из деталей, выполняющих функции коробки и седла, а также из крышки и из клапана, внутри кожуха выполнена расширительная камера, образованная внутренней поверхностью кожуха, наружной поверхностью ствола и уплотнением кожуха, прилегающим к наружной поверхности ствола, причем камера рабочего хода сообщена с камерой холостого хода первым осевым отверстием, выполненным во внутренней части ствола, а камера холостого хода сообщена с расширительной камерой вторым осевым отверстием, выполненным в наружной части ствола, коробка и седло механизма газораспределения функционально объединены и выполнены в виде корпуса клапана, а промежуточное звено выполнено с кольцевой камерой, исполненной в виде кольцевой проточки на торце промежуточного звена, обращенного к рукоятке, отличающийся тем, что камера холостого хода расположена вокруг части камеры рабочего хода, кольцевая проточка также выполнена между наружной поверхностью промежуточного звена и внутренней поверхностью ствола и сообщена с наружной внешней поверхностью корпуса клапана, корпус клапана снабжен втулкой, закрепленной на его наружной поверхности, в корпусе клапана выполнено центральное отверстие, расположенное на продольной оси, и выполнены радиальные отверстия, расположенные вдоль поперечных осей и сообщенные с центральным отверстием, при этом между обращенными друг к другу торцами корпуса клапана и крышки клапана выполнены пазы, накрест лежащие и сообщенные с кольцевой камерой кольцевой проточкой, клапан установлен в области перекрестия пазов с возможностью открывания-перекрывания центрального отверстия корпуса клапана, а радиальные отверстия сообщены с камерой рабочего хода посредством совмещенных отверстий, выполненных в корпусе клапана и в крышке, расположенных вдоль продольной оси между пазами и совмещенных с расточкой внутри ствола, сообщенной с третьим осевым отверстием, выполненным внутри ствола между расточкой и частью камеры рабочего хода, наиболее удаленной от крышки клапана, кожух выполнен из эластичного материала и снабжен наружными выступами, а в уплотнении кожуха выполнены отверстия для вывода отработанного воздуха, расположенные продольно между наружной поверхностью ствола и уплотнением кожуха и обращенные от рукоятки.
2. Молоток по п.1, отличающийся тем, что в качестве эластичного материала кожуха использована резина.
3. Молоток по п.1, отличающийся тем, что камера рабочего хода сообщена с камерой холостого хода первым осевым отверстием, расположенным дальше от газораспределительного механизма, чем второе осевое отверстие, но ближе, чем третье осевое отверстие, а камера холостого хода сообщена с расширительной камерой вторым осевым отверстием, расположенным ближе к газораспределительному механизму.
4. Молоток по п.1, отличающийся тем, что втулка корпуса клапана закреплена на его наружной поверхности запрессовкой.
5. Молоток по п.1, отличающийся тем, что кожух выполнен в виде монолитной детали, а его уплотнение – в виде утолщения его стенки.
РИСУНКИ
|
|