|
| На основании пункта 1 статьи 1366 части четвертой Гражданского кодекса Российской Федерации патентообладатель обязуется заключить договор об отчуждении патента на условиях, соответствующих установившейся практике, с любым гражданином Российской Федерации или российским юридическим лицом, кто первым изъявил такое желание и уведомил об этом патентообладателя и федеральный орган исполнительной власти по интеллектуальной собственности. |
|
(21), (22) Заявка: 2009129154/03, 28.07.2009
(24) Дата начала отсчета срока действия патента:
28.07.2009
(46) Опубликовано: 10.08.2010
(56) Список документов, цитированных в отчете о поиске:
RU 2126878 C1, 27.02.1999. RU 2188289 C2, 27.08.2002. US 4944321 A, 31.07.1990. DE 202006000472 U1, 06.04.2006. JP 10131547 A, 19.05.1998.
Адрес для переписки:
308023, г.Белгород, ул. Садовая, 116а, Белгородский университет потребительской кооперации, юридический факультет, В.М. Коршунову
|
(72) Автор(ы):
Коршунов Виктор Михайлович (RU)
(73) Патентообладатель(и):
Коршунов Виктор Михайлович (RU)
|
(54) УСТРОЙСТВО ДЛЯ КРЕПЛЕНИЯ ТЕНТА НА АВТОМАШИНЕ
(57) Реферат:
Изобретение относится к средствам защиты автомобилей от факторов внешней среды. Устройство для крепления тента на автомашине содержит элементы крепления к автомобилю, стойки (дуги). Устройство состоит из четырех фиксаторов, каждый из которых содержит Г-образный пустотелый корпус, в который помещен Г-образный элемент с запирающим механизмом для перемещения и фиксации корпуса и элемента относительно друг друга, и гнездо для крепления стоек тента. Технический результат: повышение надежности крепления тента к автомобилю, увеличение расстояния между тентом и поверхностью автомобиля с целью снижения возможности скопления конденсата под тентом, упрощение конструкции, сокращение времени установки тента. 3 ил.
Устройство относится к средствам защиты автомобилей от факторов внешней среды.
Известно устройство для крепления тента на автомашине по патенту РФ на изобретение 2126878 от 27.02.1999 г. «Автомобильный стояночный тент», которое представляет собой две и более узды крепления каркасного тента к автомобилю с помощью тросов, устанавливаемых в домкратных точках или иных точках специально предназначенных для крепления.
Недостатком этого устройства является недостаточная жесткость крепления тента к автомобилю, при его использовании между корпусом, каркасом и тентом остается небольшое пространство, при порывах ветра каркас и тент могут касаться поверхности автомобиля, разрушая поверхностный слой краски, возможность скопления конденсата под тентом.
Наиболее близким к изобретению является устройство крепления тента к автомобилю по патенту РФ на изобретение 2188289 от 20.12.1999 г. «Универсальный тент с каркасом для легкового автомобиля», которое содержит кронштейны, закрепленные болтами на дисках колес, скобы, закрепленные на дугах (стойках), через которые протянуты ремни с крючками на концах. Крючки закрепляются за бамперы автомобиля, поперечные стяжки или колышки.
Недостатками этого устройства являются сложность конструкции, значительные затраты времени при установке тента, возможность скопления конденсата под тентом.
Задачей предлагаемого технического решения явилась разработка такой конструкции для крепления тента, которая позволит:
– повысить надежность крепления тента к автомобилю;
– увеличить расстояние между тентом и поверхностью автомобиля для снижения возможности скопления конденсата под тентом, а также недопущения контакта каркаса и тента с поверхностью автомобиля;
– упростить конструкцию;
– сократить время установки тента.
Предлагаемое устройство позволяет достичь заявленного технического результата: повысить надежность крепления тента к автомобилю, увеличить расстояние между тентом и поверхностью автомобиля для снижения возможности скопления конденсата под тентом, а также недопущения контакта каркаса и тента с поверхностью автомобиля, упростить конструкцию, сократить время установки тента.
Устройство промышленно применимо, т.к. оно может быть использовано для крепления тентов на автомобилях.
Заявителю не известно использование в науке и технике отличительных признаков устройства с достижением указанного технического результата.
Техническое решение заявляемого устройства соответствует критерию «изобретательский уровень», так как не выявлены решения, имеющие признаки, совпадающие с его отличительными признаками, и не обнаружена известность влияния отличительных признаков на получаемый технический результат.
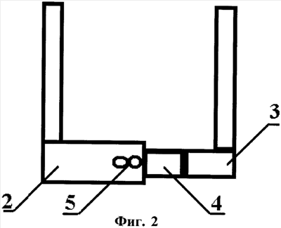
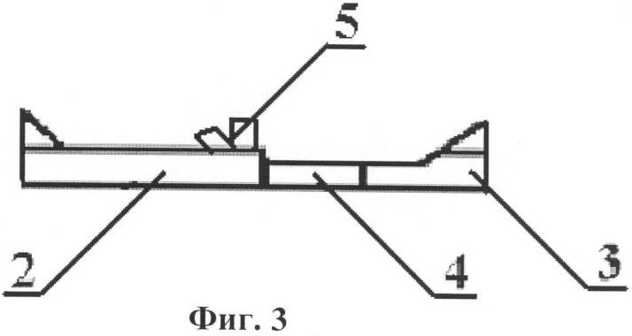
Предлагаемое устройство схематически показано на фиг. 1-3.
Вся конструкция устройства содержит четыре фиксатора 1 для крепления под передними и задними колесами автомобиля. На фиг.1. показан автомобиль с закрепленным тентом с помощью фиксаторов.
Каждый фиксатор содержит Г-образный полый корпус 2, в который помещен Г-образный элемент 3 с запирающим механизмом 4 для перемещения и фиксации корпуса 2 и элемента 3 относительно друг друга, и гнездо 5 для крепления стоек тента, закрепленное на корпусе 2. На фиг.2 фиксатор показан сверху, на фиг.3 фиксатор показан сбоку.
Установка устройства для крепления тента на автомобиль осуществляется следующим образом.
При необходимости защитить автомобиль от солнца, дождя и других негативных влияний внешней среды из багажника автомобиля извлекают четыре фиксатора 1 и помещают их под каждое колесо так, чтобы часть корпуса 2 и часть элемента 3 находились с разных сторон колеса (между грунтом и протектором колеса). Затем, используя запирающий механизм 4, сближают и фиксируют Г-образный полый корпус 2 с Г-образным элементом 3. При этом корпус 2 и элемент 3 плотно фиксируют всю конструкцию между протектором колес и грунтом. Затем в гнезда 5 фиксаторов 1 закрепляют стойки каркаса тента, на которые устанавливается тент.
Это позволяет получить заявленный технический результат: повысить надежность крепления тента к автомобилю, увеличить расстояние между тентом и поверхностью автомобиля для снижения возможности скопления конденсата под тентом, а также недопущения контакта каркаса и тента с поверхностью автомобиля, упростить конструкцию, сократить время установки тента.
Формула изобретения
Устройство для крепления тента на автомашине, содержащее элементы крепления к автомобилю, стойки (дуги), отличающееся тем, что состоит из четырех фиксаторов, каждый из которых содержит Г-образный пустотелый корпус, в который помещен Г-образный элемент с запирающим механизмом для перемещения и фиксации корпуса и элемента относительно друг друга, и гнездо для крепления стоек тента.
РИСУНКИ
|
|