|
|
(21), (22) Заявка: 2008150633/03, 07.08.2006
(24) Дата начала отсчета срока действия патента:
07.08.2006
(30) Конвенционный приоритет:
22.05.2006 US 11/438,178
(46) Опубликовано: 10.08.2010
(56) Список документов, цитированных в отчете о поиске:
US 2003061775 A1, 03.04.2003. US 5246782 A, 21.09.1993. SU 953132 A1, 23.08.1982. SU 968244 A1, 23.10.1982. SU 1434053 A1, 30.10.1988.
(85) Дата перевода заявки PCT на национальную фазу:
22.12.2008
(86) Заявка PCT:
US 2006/030793 20060807
(87) Публикация PCT:
WO 2007/136388 20071129
Адрес для переписки:
119034, Москва, Пречистенский пер., 14, стр.1, 4 эт., “Гоулингз Интернэшнл Инк.”, В.Н.Дементьеву
|
(72) Автор(ы):
ДЖЕСТЕР Пол (US), РИЛЛИ Дэвид В. (US)
(73) Патентообладатель(и):
СОЛАТЬЮБ ИНТЕРНЭШНЛ, ИНК. (US)
|
(54) СИСТЕМА СОЛНЕЧНОГО ОСВЕЩЕНИЯ
(57) Реферат:
Трубчатый световод приобретает внутренние отражающие свойства несколькими способами. Чтобы ограничить формирование точек фокусировки, которые могут привести к образованию участков местного перегрева по мере прохождения света вниз по трубе, трубчатый световод снабжают лунками или продольными гофрами. 3 з.п. ф-лы, 9 ил.
Область техники
Настоящее изобретение относится к системам солнечного освещения и используемым в них световодам.
Уровень техники
В патентах США No.5896713 и No.6035593 раскрыты трубчатые световоды. В обоих указанных патентах на световоды может использоваться светособирающий купол, раскрытый в патенте США No.5896712.
Вкратце трубчатый световод типа упомянутого выше типа состоит из трубчатой системы, установленной между крышей и потолком помещения в здании. Верхний конец трубчатой сборки закрыт установленным на крыше куполом или крышкой, раскрытым в вышеупомянутом патенте 5896712, в то время как нижний конец трубчатой системы закрыт установленной на потолке светорассеивающей плитой. В этой конструкции естественный свет снаружи здания направляется через трубчатую систему внутрь здания для освещения внутренних помещений.
В трубчатых световодах используется почти зеркальная отражательная поверхность, которая передает солнечный свет от крыши вниз по трубе до внутреннего потолка. Термин “зеркальная поверхность” означает, что отраженные прямые лучи солнечного света создают параллельный пучок света по мере его прохождения вниз по трубе, если стороны трубы параллельны, и внутри трубы создана зеркальная отражательная поверхность.
Изобретатели настоящего изобретения понимают, что солнечные лучи падают на светособирающий купол под разными углами падения в зависимости от времени дня/года, широты и расположения входной плоскости трубы. Несмотря на фиксированное положение трубы прямые лучи солнечного света отражаются вниз по периметру трубы под приблизительно одним и тем же углом возвышения, когда солнечный свет поступает в трубу. Это может привести к следующим нежелательным результатам. Во-первых, параллельные лучи солнечного света могут быть сведены в отдельные точки фокусировки в различных местах вниз по трубе, приводя к потенциально опасным участкам местного перегрева, которые могут вызвать пожар, в частности, при наличии горючих материалов. Во-вторых, неравномерное освещение заканчивается в основном рассеиванием света, потому что путь периметра лучей света в сочетании с точками фокусировки может вызвать частичное и неоднородное освещение рассеивателем света. Результатом является недостаточное освещение и отблески от рассеивателя света. Кроме того, прямые лучи света, проходящие через призму в рассеивателе, могут вызвать разделение длин волны и спроецировать радугу во внутреннее помещение.
Соответственно, к настоящему изобретению относятся следующие критические замечания. Прямые лучи солнечного света, отраженные от зеркальной поверхности трубы определенной формы, могут создавать участки местного перегрева, которые небезопасны и снижают эффективность системы из-за неравномерного освещения. Как это понятно специалистам, простое снижение зеркальности трубы приводит к уменьшению потока света. Аналогичным образом монтаж рассеивателя света над трубой, чтобы перенаправить яркие отблески и участки местного перегрева, снижает общий КПД системы из-за потери передачи этого дополнительного рассеивателя света и увеличения отражений от трубы, вызванных рассеиванием света. Кроме того, попытки найти средство для устранения вышеупомянутых недостатков, используя бессистемное расположение отражателя, приводят к тому, что свет распространяется в полусферической форме, которая может направить более чем 50% света в сторону от трубы, следовательно, еще более ухудшая рабочие характеристики системы. Все эти замечания были учтены при создании настоящего изобретения.
СУЩНОСТЬ ИЗОБРЕТЕНИЯ
Внутренняя часть светопроводящей трубы имеет конструкцию, которая изменяет углы лучей солнечного света так, чтобы предотвратить формирование точек фокусировки и/или яркого блеска и равномерно передать свет в основной рассеиватель света с отделением ярких бликов и расщеплением луча на отдельные цвета и/или осуществить управление направлением света, чтобы предотвратить отражение назад и излишние отражения.
Соответственно, первым узлом трубчатого световода является прозрачный купол и трубчатый световод, отходящий от купола и служащий для передачи света от купола через указанный световод. В трубчатом световоде предусмотрены неровности поверхности. Неровности поверхности могут быть лунками или продольными гофрами.
В некоторых вариантах реализации изобретения канал выполнен из металла и отполирован, чтобы обеспечить отражательную поверхность без использования какой-либо отражающей пленки в процессе сборки. В другом выполнении трубчатый световод выполнен из металла и на его внутреннюю поверхность нанесена пленка отражающего металла методом вакуумного напыления, чтобы создать внутреннюю отражательную поверхность, не применяя клей при сборке системы. В еще одном варианте реализации изобретения трубчатый световод может быть отражательной пленкой с металлическим материалом, нанесенным методом вакуумного осаждения на пленку или с отражающим многослойным полимерным покрытием, наклеенным на внутреннюю поверхность канала.
Когда поверхностные неровности представляют собой продольные гофры, каждый гофр определяет среднюю линию и противоположные кромки, и между поперечными касательными к краям первых гофров формируется первый угол. Кроме того, между поперечными касательными к краям вторых гофров формируется второй угол, отличный от первого угла. Первые и вторые гофры чередуются по окружности канала и могут иметь V-образное или U-образное поперечное сечение.
Когда поверхностные неровности представляют собой многочисленные лунки, каждая лунка определяет центр и периферию. Касательная к периферии устанавливает угол по отношению к касательной к центру не более двух градусов.
В другой конструкции устройство световода включает прозрачный купол и трубчатый световод, отходящий от купола и служащий для передачи света, падающего на купол, по соответствующей шахте. В трубчатом световоде формируются неровности поверхности. С этой целью трубчатый световод изготавливается из металла, а отражающий свет металл наносится непосредственно на внутреннюю поверхность световода, чтобы создать внутреннюю отражательную поверхность, не используя клея.
В еще одной системе световода используется прозрачный купол и трубчатый световод, отходящий от купола для передачи света, падающего на купол через трубчатый световод. На внутренней поверхности световода формируются неровности. С этой целью трубчатый световод изготавливается из металла и полируется, чтобы создать отражательную поверхность без использования отражающей свет пленки.
В еще одном варианте реализации изобретения трубчатый световод включает прозрачный купол и трубчатый световод, отходящий от купола и служащий для передачи света, падающего на купол, через шахту или светопроводящий канал. На внутренней поверхности канала формируются неровности. При этом на поверхность канала наносится пленка с металлическим покрытием, осаждаемым из паровой фазы.
В еще одном варианте реализации изобретения трубчатый световод включает прозрачный купол и трубчатый световод, отходящий от купола и служащий для передачи света, падающего на купол, через указанный канал. На внутренней поверхности канала сформированы неровности. При этом на поверхность канала нанесено отражающее многослойное полимерное покрытие.
Подробное описание конструкции и способ использования настоящего изобретения приведены ниже со ссылками на сопроводительные чертежи.
КРАТКОЕ ОПИСАНИЕ ЧЕРТЕЖЕЙ
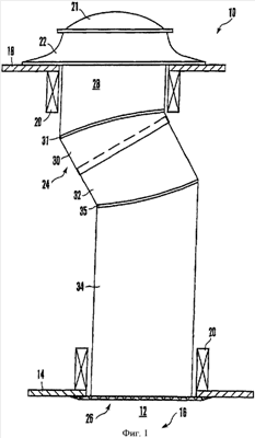
Фигура 1 – вид сбоку в частичном поперечном разрезе на трубчатый световод по настоящему изобретению;
Фигура 2 – перспективный вид трубы с продольными гофрами для устранения точек фокусировки;
Фигура 3 – вид в вертикальном разрезе одной стороны внутренней части трубы, показанной на фигуре 2;
Фигура 4 – вид сверху на трубу, показанной на фигуре 2;
Фигура 5 – деталь части окружности трубы в круге “5” фигуры 4;
Фигура 6 – перспективный вид дополнительной трубы с лунками для устранения точек фокусировки;
Фигура 7 – вид сверху на трубу, показанную на фигуре 6;
Фигура 8 – вид в вертикальном разрезе одной стороны по линии 8-8 на фигуре 7;
Фигура 9 – деталь лунки в круге “9” фигуры 8.
ПОДРОБНОЕ ОПИСАНИЕ ИЗОБРЕТЕНИЯ
Как показано на фигуре 1, трубчатый световод, выполненный в соответствии с настоящим изобретением и обозначенный позицией 10, служит для освещения естественным солнечным светом внутренней комнаты 12, имеющей внутреннюю поверхность потолка 14 в здании, в целом, обозначенным позицией 16. На фигуре 1 показано, что здание 16 имеет крышу 18 и одну или несколько опорных балок 20, которые поддерживают крышу 18 и внутреннюю поверхность потолка 14.
Как показано на фигуре 1, световод 10 имеет светособирающий купол 21 из твердой пластмассы или стекла, установленный на крыше. Купол 21 оптически прозрачен и предпочтительно прозрачен полностью. В одном примере осуществления изобретения купол 21 может быть куполом, раскрытым в вышеупомянутом патенте ‘712. Альтернативно, купол 21 может быть другим подходящим покрытием, такими как купол, продаваемый под торговым знаком “Solatube”, принадлежащим патентовладельцу и изобретателю настоящего изобретения.
Купол 21 может быть установлен на крыше 18 через кольцевой металлический фартук 22, который крепится к крыше 18 средствами, известными специалистам. Металлическое соединение 22 может быть угловым, соответствующим наклону крыши 18, позволяющим установить и закрепить купол 21 в основном в вертикальном положении, как показано на чертеже.
Как показано на фигуре 1, фартук 22 также крепится к внутренне отражательной полой трубчатой конструкции в виде трубчатого световода в основном, обозначенного позицией 24. Поперечное сечение трубчатого световода может быть цилиндрическим, прямоугольным, треугольным и т.д. Поэтому здесь время от времени может использоваться термин «труба», хотя следует понимать, что принципы настоящего изобретения, по существу, не ограничены цилиндром, если иное не оговорено особо.
Трубчатый световод 24 доходит до внутренней поверхности потолка 14 комнаты 12. Согласно настоящему изобретению трубчатый световод 24 направляет свет, который входит в световод 24 сверху, в рассеиватель света в основном, обозначенный позицией 26, который расположен в комнате 12 и прикреплен к потолку 14 или к балке 20, как описано в вышеупомянутом патенте ‘593.
Трубчатый световод 24 может быть изготовлен из металла, такого как сплав алюминия или стали, или трубчатый световод 24 может быть сделан из пластмассы или из другого соответствующего материала. Внутренняя часть трубчатого световода 24 может быть выполнена как отражающая свет поверхность, например, путем гальванизации, анодизации, наклеивания металлизированной полимерной пленки, или используя другие подходящие средства. В одном предпочтительном варианте трубчатый световод 24 выполняется с внутренней отражательной поверхностью путем ламинирования внутренней поверхности световода 24 многослойной полимерной пленкой, поставляемой компанией 3М. Одиночный слой такой пленки прозрачен, но когда сотни слоев наложены друг на друга и затем термически ламинированы на внутренней поверхности трубчатого световода 24, они составляют зеркальную отражательную поверхность.
Таким образом, не ограниченное выполнение трубчатой конструкции может быть осуществлено соединением металлического каркаса, например, из алюминия или стали, с отражательной пленкой, которая приклеивается к каркасу. Трубчатая конструкция может также быть изготовлена из полимера с прикрепленной к нему отражательной пленкой.
Альтернативно, если конструкция выполнена из металла, ее внутренняя поверхность может полироваться, чтобы обеспечить отражательную поверхность или иметь слой хорошо отражающего свет металла, такого как серебро или алюминий, нанесенный вакуумным напылением непосредственно на поверхность без употребления клея.
Во еще одном варианте реализации изобретения сама отражательная пленка может использоваться как трубчатый световод для передачи световых лучей. В этом варианте металл наносится вакуумным напылением на поверхность пленки. В другом случае пленка может включать многослойное отражающее полимерное покрытие.
В одном предпочтительном варианте трубчатый световод 24 представляет собой одну монолитную трубу. Однако, как показано на фигуре 1, если желательно, трубчатый световод 24 может состоять из нескольких сегментов, каждый из которых снабжен внутренним отражающим покрытием в соответствии с принципами настоящего изобретения. Конкретно, трубчатый световод 24 может включать верхнюю трубу 28, которая соединена с фартуком 22, и это соединение накрыто куполом 21. Кроме того, трубчатый световод 24 может включать верхнее промежуточное колено 30, которое примыкает к верхней трубе 28 и, если желательно, это колено может быть соединено под углом с коленом 31. Кроме того, трубчатый световод 24 может включать промежуточное нижнее колено 32, которое, если желательно, может быть соединено скользящей посадкой с верхним промежуточным коленом 30 для снятия термического напряжения с трубчатого световода 24. При этом нижняя труба 34 может примыкать к промежуточному нижнему колену 32 и соединять промежуточное нижнее колено 32 с коленом 35 с основанием нижней трубы 34, которая соединяется с рассеивателем света 26. Колено 35 может быть угловым в соответствии с конструкцией здания 16 с тем, чтобы трубчатый световод 24 соединял бы установленный на крыше купол 21 с установленным на потолке рассеивателем света 26. Следует отметить, что в нужных местах точки соединения между трубами могут быть механически закреплены и охвачены лентой по известной технологии.
В любом случае трубчатый световод 24 по настоящему изобретению имеет неровности на части или на всей внутренней поверхности для отражения проходящего через нее света, чтобы свести к минимуму нагрев местных участков поверхности при максимальной пропускной способности этой конструкции. Неровности поверхности могут быть аналогичны тем, которые описаны в заявке на патент США No.2003/0061775. Как описано здесь, эти неровности могут быть гофрами или лунками на поверхности.
На фигурах 2-5 показан полый цилиндр 40, который может использоваться как любой из трубчатых элементов или сегментов, показанных на фигуре 1, и этот цилиндр имеет продольные линейные гофры 42 по всей его длине и по окружности. Следует отметить, что гофры 42 можно также формировать только на части длины и/или окружности цилиндра 40. Как хорошо видно на фигуре 5, гофры 42 могут иметь V-образное поперечное сечение, хотя альтернативно они могут иметь и U-образное поперечное сечение.
В основном каждый гофр может изменяться по углу раскрытия от менее ста восемьдесяти градусов до более одного градуса и предпочтительно имеет угол раскрытия более чем сто двадцать градусов, чтобы свести изгибы к минимуму. Кроме того, угол может изменяться вокруг цилиндра, чтобы обеспечить наилучшее смешивание лучей света прежде, чем они достигнут основного рассеивателя света, что очевидно при взгляде на фигуру 5.
В дополнение к регулируемому рассеиванию света гофры 42 также облегчают изгиб трубчатого световода, когда цилиндрическая конструкция формируется из металла, и эта геометрия также повышает прочность цилиндра 40 в ответ на действие поперечных сил из-за высокого момента инерции. Эти две особенности облегчают легкую сборку соединения из труб малого диаметра и позволяют использовать металл меньшей толщины благодаря его повышенной прочности.
Рассматривая детали предпочтительной и не ограничивающей конструкции на фигуре 5, видно, что каждый гофр 42 определяет среднюю линию 44 и противоположные кромки 46, 48 со смежными кромками примыкающих гофров, соединенных друг с другом, как показано на чертеже. Хотя для иллюстрации средние линии 44 на фигуре 5 показаны как части гофров, которые вставлены радиально от кромок, создавая, таким образом, вогнутые гофры, квалифицированный специалист в данной области понимает, что преобразование может быть полностью обратным, то есть средние линии могут быть определены как радиальные вне частей гофров, т.е. создавая выпуклые гофры.
В любом случае на фигуре 5 показано, что между поперечными касательными к кромкам 46, 48 из каждого гофра формируется угол . Когда гофр имеет V-образное поперечное сечение, как показано на чертеже, поперечные касательные представляют собой просто линии, проходящие в поперечном направлении от средней линии 44 к каждой кромке 46, 48, как показано на чертеже, угол является углом “V”. Как еще показано на фигуре 5, нечетные гофры могут формировать первый угол , например, сто двадцать градусов, тогда как четные гофры могут формировать второй угол , например, сто двадцать пять градусов, при чередовании нечетных гофров с четными гофрами по окружности цилиндра 40. Как показано на чертеже, эта геометрия приводит к углу два с половиной градуса между перпендикуляром 50 к кромке 48 и перпендикуляром 52 к смежной средней линии 44 и к углу пять градусов между перпендикуляром 52 к средней линии 44 и перпендикуляром 54 к следующей последовательной средней линии 44.
Альтернативно гофрам на фигурах 6-9 показан полый цилиндр 60 с лунками, который может использоваться как труба или как сегмент трубы, показанные на фигуре 1. Конкретно цилиндр 60 по всей своей длине и окружности снабжен лунками 62, причем лунки 62 могут быть сформированы только на части длины и/или окружности цилиндра. Лунка 62 может иметь любую подходящую форму, например, одна из них может иметь вид лунки для мяча при игре в гольф, т.е. сферическую, эллиптическую, параболическую, гиперболическую и т.д. В не ограничивающем примере осуществления изобретения, показанном на фигуре 9, каждая лунка 62 имеет впадину (или выпуклость в зависимости от перспективы, то есть внутри или снаружи) в форме, подобной блюдцу, и, следовательно, можно считать ее частью основания сферической или параболической или другой сферы, которая криволинейна по всей своей поверхности.
Соответственно, в показанном не ограничивающем варианте реализации каждая лунка 62 определяет центр 64 и предпочтительно круглую периферию 66. Касательная 68 к периферии 66 устанавливает угол относительно касательной 70 к центру 64 порядка не более двух градусов (чтобы увеличить разрешение для того, чтобы видеть угол на фигуре 5, касательная 70 к центру 64 была смещена вправо от центра 62). Кроме того, расстояние по радиусу между центром 64 и периферией 66 предпочтительно меньше половины дюйма (<0,5 дюйма или менее чем приблизительно один сантиметр с четвертью). Ограничение угла до менее двух градусов позволяет предотвратить потерю солнечного света при низком положении солнца над горизонтом. Ограничение расстояния в радиальном направлении между центром 64 и периферией 66 менее чем половиной дюйма устраняет излишние отражения, которые в противном случае могли бы в конечном счете привести к отражению солнечного света обратно вверх и из купола 21 (фигура 1) и, следовательно, снизили бы пропускную способность цилиндра 60.
В не ограничивающем воплощении изобретения описанные выше гофры и/или лунки можно формировать любым подходящим способом. В одном не ограничивающем примере трубчатого световода металлическое покрытие или отражательная пленка или клеевое покрытие могут быть сформированы или нанесены с помощью гравировальных вальцов. В другом примере металлическое покрытие, пленка или клей могут быть экструдированы или нанесены с нужным профилем экструзионной головкой или головкой для нанесения покрытий. Опять же металлический цилиндр, пленка или клей могут быть отлиты под давлением в пресс-форме.
Формула изобретения
1. Система солнечного освещения, содержащая: прозрачный купол (21); и по меньшей мере, один трубчатый световод (24, 40, 60), отходящий от купола (21) и служащий для передачи света, падающего на купол (21), через указанный трубчатый световод (24, 40, 60), и имеющий, по меньшей мере, одну неровность поверхности (42, 62), сформированную на трубчатом световоде (24, 40, 60), причем неровность поверхности (42, 62) выбирается из группы, состоящей из лунок (62) и продольных гофров (42), при этом каждый гофр (42) определяет среднюю линию (44) и противоположные кромки (46, 48), причем между касательными к кромкам первых гофров формируется первый угол, и между касательными к кромкам вторых гофров формируется второй угол, отличающийся от первого.
2. Система по п.1, в которой гофры (42) имеют V-образное поперечное сечение.
3. Система по п.1, в которой гофры (42) имеют U-образное поперечное сечение.
4. Система по п.1, содержащая многочисленные неровности поверхности световода в виде множества лунок (62), при этом каждая лунка определяет центр (64) и периферию (66), причем касательная к периферии (66) проходит под углом к касательной к центру (64), который не превышает двух градусов.
РИСУНКИ
|
|