|
|
(21), (22) Заявка: 2009118221/09, 12.05.2009
(24) Дата начала отсчета срока действия патента:
12.05.2009
(46) Опубликовано: 10.08.2010
(56) Список документов, цитированных в отчете о поиске:
RU 2294584 C1, 27.02.2007. RU 21499200 C1, 27.05.2000. US 5026508 A, 25.06.1991.
Адрес для переписки:
423236, Республика Татарстан, г. Бугульма, ул. М. Джалиля, 32, “ТатНИПИнефть”, Сектор создания и развития промышленной собственности
|
(72) Автор(ы):
Фадеев Владимир Гелиевич (RU), Гареев Равиль Мансурович (RU), Долгих Сергей Александрович (RU), Фатхуллин Альберт Атласович (RU), Шакиров Фарид Шафкатович (RU), Ибрагимов Рауф Гарифзянович (RU), Самитов Ильдус Мунирович (RU)
(73) Патентообладатель(и):
Открытое акционерное общество “Татнефть” им. В.Д. Шашина (RU)
|
(54) АНОДНЫЙ ЗАЗЕМЛИТЕЛЬ И СПОСОБ ЕГО УСТАНОВКИ
(57) Реферат:
Изобретение относится к области электрохимической зашиты подземных сооружений от коррозии и может быть использовано при сооружении анодных и рабочих заземлений постоянного тока. Анодный заземлитель отличается тем, что электрод, размещенный в нижней части, снабжен дополнительным тоководом с дополнительным токопроводящим проводом, соединения электродов герметично охвачены эластичной манжетой, выполненной из диэлектрического материала. Верхний и нижний электроды оснащены соответственно сверху и снизу эластичными колпачками из диэлектрического материала с отверстиями под основной и дополнительный токопроводящие провода, нижний электрод оборудован технологическим патрубком, оснащенным направляющей под спускающее устройство подъемного механизма. Изобретение относится также к способу установки анодного заземлителя, включающего сборку снизу вверх друг над другом электродов до электрода с токопроводящим проводом, спуск в вертикальную скважину (шурф) при помощи спускающего устройства (канат, трос, кабель) подъемного механизма с последующим заполнением шурфа с анодным заземлителем в центральной части электропроводным субстратом, а сверху – крупнопористым сыпучим материалом. Изобретение позволяет просто собирать и размещать с поверхности в шурфе при установке анодного заземлителя, сводя к минимуму возможность засорения контактов электродов при этом и обеспечивает контроль за состоянием анодного заземлителя. 2 н. и 2 з.п. ф-лы, 1 ил.
Изобретение относится к области электрохимической зашиты подземных сооружений от коррозии и может быть использовано при сооружении анодных и рабочих заземлений постоянного тока.
Известен «Анодный заземлитель» (патент RU 1226561, H01R 04/66, опубл. Бюл. 12 от 23.04.1986 г.), содержащий последовательно установленные друг на друге электроды, имеющие на нижнем торце цилиндрическую полость с коническим входом, причем верхний конец электрода, выполненный коническим, входит в полость вышерасположенного электрода и образует с поверхностью полости точечный или линейный контакт, и электрод с тоководом, размещенным в сводной части полости электрода.
Способ установки данного заземлителя производят снизу вверх, последовательно спуская в вертикальную скважину (шурф) и устанавливая друг над другом до электрода с тоководом с последующим заполнением шурфа с заземлителем в центральной части электропроводным субстратом, а сверху – крупнопористым сыпучим материалом.
Недостатками данного заземлителя являются недостаточная надежность из-за возможности повреждения при транспортировке и сборке заостренных концов электродов (особенно у электродов из хрупкого малорастворимого металла, как ферросилид), что приводит к ухудшению контакта, и невозможность размещения токовода в водонепроницаемой полости, что приводит к его быстрому анодному растворению. При этом наиболее интенсивно растворяются верхние электроды, места контактов электродов между собой и между верхним электродом и токопроводящим проводом, что приводит к преждевременному выходу из строя всего анодного заземлителя. Невозможно также контролировать состояние анодного заземлителя.
Недостатками способа установки заземлителя является сложность стыковки электродов (особенно нижних), высокая вероятность при спуске контакта со стенками шурфа и попадания грунта в зону контакта электродов и, как следствие, снижение качества защиты подземных сооружений.
Наиболее близким по технической сущности и достигаемому результату является «Анодный заземлитель» (патент RU 2294584, H01R 04/66, опубл. Бюл. 6 от 27.02.2007 г.), включающий установленные друг на друге малорастворимые электроды, имеющие на нижнем торце цилиндрическую полость с коническим входом, причем верхний конец каждого электрода входит в полость вышерасположенного электрода и образует с поверхностью полости линейный или точечный контакт, электрод с тоководом, размещенный в сводной части полости электрода, и токопроводящий провод, соединенный с электродом через токовод, при этом электроды выполнены с утолщением в зоне расположения полости, верхний торец каждого из электродов, кроме электрода расположенного ниже электрода с тоководом, выполнен с острой кромкой, контактирующей с поверхностью конического входа полости вышерасположенного электрода, а верхний торец электрода, расположенного ниже электрода с тоководом, снабжен заостренным наконечником, контактирующим с поверхностью сводной части полости электрода с тоководом.
Способ установки данного заземлителя производят снизу вверх, последовательно спуская в вертикальную скважину (шурф) и устанавливая друг над другом до электрода с тоководом с последующим заполнением шурфа с заземлителем в центральной части электропроводным субстратом, а сверху – крупнопористым сыпучим материалом.
Недостатками предлагаемого способа установки является сложность стыковки электродов (особенно нижних), высокая вероятность при спуске контакта со стенками шурфа и попадания грунта в зону контакта электродов и, как следствие, снижение качества защиты подземных сооружений.
Недостатками данного заземлителя являются недостаточная возможность последовательного монтажа на поверхности с последующим спуском в шурф и низкая надежность из-за незащищенности контактов электродов от засорения, особенно от попадания при спуске грунта, что приводит их к преждевременному выходу из строя всего заземлителя. При этом наиболее интенсивно растворяются во время использования верхние электроды, места контактов электродов между собой и между верхним электродом и токопроводящим проводом, что приводит к преждевременному выходу из строя всего анодного заземлителя. Невозможно также контролировать состояние анодного заземлителя.
Технической задачей изобретения является создание анодного заземлителя, простого при сборке и установке и надежного при применении за счет использования простого способа сборки электродов с поверхности шурфа, сведения к минимуму возможности засорения контактов электродов при спуске их в шурф, с более равномерным растворением электродов за счет защиты диэлектрическим материалом мест соединений электродов и мест соединений верхнего и нижнего электродов с токопроводящим проводом, а также обеспечение контроля за состоянием анодного заземлителя во время применения, за счет присоединения и сверху и снизу к анодному заземлителю токопроводящих проводов.
Техническая задача решается анодным заземлителем, включающим верхний электрод с тоководом и токопроводящий провод, соединенный с электродом через токовод, установленные друг на друге малорастворимые электроды, имеющие на нижнем конце расширение с цилиндрической полостью и конической стыковой поверхностью, причем верхний конец каждого электрода, входящий в полость вышерасположенного электрода, выполнен с возможностью взаимодействия с конусной стыковой поверхностью с образованием линейного или точечного контакта.
Новым является то, что электрод, размещенный в нижней части, снабжен дополнительным тоководом с дополнительным токопроводящим проводом, а соединения электродов герметично охвачены эластичной манжетой, выполненной из диэлектрического материала, при этом верхний и нижний электроды оснащены соответственно сверху и снизу эластичными колпачками из диэлектрического материала с отверстиями под основной и дополнительный токопроводящие провода, причем снизу нижний электрод оборудован технологическим патрубком, оснащенным направляющей под спускающее устройство подъемного механизма.
Новым является так же то, что технологический патрубок выполнен в виде надевающегося снизу на нижний электрод стакана, а его направляющая – в виде сквозного отверстия с желобом под спускающее устройство подъемного механизма.
Новым является также то, что технологический патрубок выполнен в виде надевающегося снизу на нижний электрод стакана, а его направляющая – в виде сквозного отверстия с одним или несколькими роликами под спускающее устройство подъемного механизма.
Техническая задача также решается способом установки анодного заземлителя, включающим сборку снизу вверх друг над другом электродов до электрода с токопроводящим проводом, спуск в вертикальную скважину при помощи спускающего устройства подъемного механизма с последующим заполнением шурфа с анодным заземлителем в центральной части электропроводным субстратом, а сверху – крупнопористым сыпучим материалом.
Новым является то, что перед началом спуска все верхние части электродов кроме верхнего оснащают эластичными манжетами, а в направляющую технологического патрубка вставляют спускающее устройство подъемного механизма с последующим спуском в шурф на глубину, достаточную для установки в него нижнего электрода, оснащенного снизу эластичным колпачком и дополнительным токопроводящим проводом, далее собранный элемент с дополнительным проводом приспускают на установленный электрод, надевают следующий электрод, герметично надевая на него снаружи при этом эластичную манжету, аналогично собирают все электроды анодного заземлителя, после чего на верхний электрод с токопроводящим проводом надевают верхний эластичный колпачок и спускают анодный заземлитель на спускающем устройстве подъемного механизма до упора на забой шурфа, после чего перед заполнением шурфа спускающее устройство отсоединяют с одного конца и извлекают подъемным механизмом на поверхность.
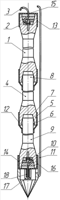
На чертеже изображен анодный заземлитель, установленный в вертикальную скважину (шурф).
Анодный заземлитель включает в себя верхний электрод 1 с тоководом 2 и токопроводящий провод 3, соединенный с электродом 1 через токовод 2, установленные друг на друге малорастворимые электроды 4, имеющие на нижнем конце расширение 5 с цилиндрической полостью 6 и конической стыковой поверхностью 7, причем верхний конец 8 каждого электрода 4, входящий в полость 6 вышерасположенного электрода 4, выполнен с возможностью взаимодействия с конусной стыковой поверхностью 7 с образованием линейного или точечного контакта. Электрод 9, размещенный в нижней части, снабжен дополнительным тоководом 10 с дополнительным токопроводящим проводом 11, соединенным дополнительным тоководом 10 с нижним электродом 9. Соединения электродов 1, 4 и 9 герметично охвачены эластичной манжетой 12, выполненной из диэлектрического материала. Верхний 1 и нижний 9 электроды соответственно сверху и снизу эластичными верхним 13 и нижним 14 колпачками из диэлектрического материала с отверстиями 15 под основной 3 и дополнительный 11 токопроводящие провода. Снизу нижний электрод 9 оборудован технологическим патрубком 16, оснащенным направляющей 17 под спускающее устройство (канат, трос, кабель – не показан) подъемного механизма (лебедка, барабан с приводом – не показан).
Технологический патрубок 16 может быть выполнен в виде надевающегося снизу на нижний электрод 9 патрубка 16, а его направляющая 17 – в виде сквозного отверстия с желобом 18 под спускающее устройство подъемного механизма.
Технологический патрубок 16 может быть выполнен в виде надевающегося снизу на нижний электрод 9 патрубка 16, а его направляющая 17 – в виде сквозного отверстия с одним или несколькими роликами (на чертеже не показаны) под спускающее устройство подъемного механизма для уменьшения трения.
Способ установки анодного заземлителя реализуется следующим образом.
Предварительно подготавливают вертикальные скважины (шурфы – не показаны) необходимой глубины под анодные заземлители. Все верхние концы 8 электродов 4 и 9, кроме верхнего 1, оснащают эластичными манжетами 12. В направляющую 17 технологического патрубка 16 вставляют спускающее устройство (канат, трос, кабель) подъемного механизма с последующим спуском в шурф на глубину, достаточную для установки в него нижнего электрода 9 с дополнительным 11 токопроводящим проводом, предварительно оснащенного снизу эластичным колпачком 14. Далее собранный элемент с дополнительным проводом 11 приспускают, на установленный электрод 9 надевают следующий электрод 4, герметично надевая на него снаружи при этом эластичную манжету 12. Аналогично снизу вверх собирают оставшиеся все электроды 4 и 1 анодного заземлителя. После чего на верхний электрод 1 с токопроводящим проводом 3 надевают верхний эластичный колпачок 13. Спускают анодный заземлитель до упора на забой шурфа на спускающем устройстве, скользящем по желобу 18 или роликам подъемного механизма. Спускающее устройство отсоединяют с одного конца и извлекают подъемным механизмом на поверхность шурфа. Затем анодный заземлитель центрируют относительно шурфа, который заполняют электропроводным субстратом (водой, глинистым, раствором, земляной пульпой, кокосовой мелочью и т.п.- не показан), а сверху – крупнопористым сыпучим материалом (гравием, галькой и т.п. – не показан). Благодаря такой установке электродов 1, 4 и 9 места контактов этих электродов при спуске плотно прижаты между собой под весом самих электродов 1 и 4, а эластичная муфта не позволяет засоряться местам контактов электродов 1, 4 и 9. Все это в совокупности повышает надежность контактного соединения электродов 1, 4 и 9 и, как следствие, прохождение тока.
После установки к основному 3 и дополнительному 11 токопроводящим проводам подают необходимое напряжение с пропусканием тока через электроды 1, 4 и 9 анодного заземлителя. Часть тока с электродов 1, 4 и 9 стекает в грунт через электропроводный субстрат, защищая расположенные рядом подземные сооружения от коррозии. При этом материал электродов 1, 4 и 9, расположенный вне эластичных манжет 12 и верхнего 13 и нижнего 14 колпачков, будет растворяться, а места, защищенные эластичными манжетами 12 и верхним 13 и нижним 14 колпачками, которые выполнены из диэлектрического материала, – нет, что исключает растворение мест контактов электродов 1, 4 и 9 и мест соединения верхнего 1 и нижнего 9 электродов с соответствующими токопроводящими проводами 3 и 11, что значительно увеличивает равномерность растворения электродов 1, 4 и 9 и, как следствие, срок службы всего анодного заземлителя. Конструкция с основным 3 и дополнительным 11 токопроводящими проводами позволяет более равномерно распределять ток по всей длине анодного заземлителя, а также контролировать состояние анодного заземлителя: увеличение напряжения и уменьшение тока в анодном заземлителе показывает, что контакт между электродами 1, 4 или 9 недостаточен или с течением времени анодный заземлитель полностью выработался и необходимо провести ремонтные работы анодного заземлителя или его замену.
Данное изобретение позволяет просто собирать и размещать с поверхности в шурфе при установке анодного заземлителя, сводя к минимуму возможность засорения контактов электродов при этом. Причем анодный заземлитель надежен в применении, так как электроды более равномерно растворяются благодаря защите диэлектрическими материалами манжет мест соединений электродов и колпачков мест соединений верхнего и нижнего электродов с токопроводящим проводом. Анодный заземлитель также обеспечивает контроль за состоянием анодного заземлителя во время применения за счет присоединения и сверху и снизу к нему токопроводящих проводов.
Формула изобретения
1. Анодный заземлитель, включающий верхний электрод с тоководом и токопроводящий провод, соединенный с электродом через токовод, установленные друг на друге малорастворимые электроды, имеющие на нижнем конце расширение с цилиндрической полостью и конической стыковой поверхностью, причем верхний конец каждого электрода, входящий в полость вышерасположенного электрода, выполнен с возможностью взаимодействия с конусной стыковой поверхностью с образованием линейного или точечного контакта, отличающийся тем, что электрод, размещенный в нижней части, снабжен дополнительным тоководом с дополнительным токопроводящим проводом, а соединения электродов герметично охвачены эластичной манжетой, выполненной из диэлектрического материала, при этом верхний и нижний электроды оснащены соответственно сверху и снизу эластичными колпачками из диэлектрического материала с отверстиями под основной и дополнительный токопроводящие провода, причем снизу нижний электрод оборудован технологическим патрубком, оснащенным направляющей под спускающее устройство подъемного механизма.
2. Анодный заземлитель по п.1, отличающийся тем, что технологический патрубок выполнен в виде надевающегося снизу на нижний электрод стакана, а его направляющая – в виде сквозного отверстия с желобом под спускающее устройство подъемного механизма.
3. Анодный заземлитель по п.1, отличающийся тем, что технологический патрубок выполнен в виде надевающегося снизу на нижний электрод стакана, а его направляющая -в виде сквозного отверстия с одним или несколькими роликами под спускающее устройство подъемного механизма.
4. Способ установки анодного заземлителя, включающий сборку снизу вверх друг над другом электродов до электрода с токопроводящим проводом, спуск в вертикальную скважину при помощи спускающего устройства подъемного механизма с последующим заполнением шурфа с анодным заземлителем в центральной части электропроводным субстратом, а сверху – крупнопористым сыпучим материалом, отличающийся тем, что перед началом спуска все верхние части электродов кроме верхнего оснащают эластичными манжетами, а в направляющую технологического патрубка вставляют спускающее устройство подъемного механизма с последующим спуском в шурф на глубину, достаточную для установки в него нижнего электрода, оснащенного снизу эластичным колпачком и дополнительным токопроводящим проводом, далее собранный элемент с дополнительным проводом приспускают, на установленный электрод надевают следующий электрод, герметично надевая на него снаружи при этом эластичную манжету, аналогично собирают все электроды анодного заземлителя, поле чего на верхний электрод с токопроводящим проводом надевают верхний эластичный колпачок и спускают анодный заземлитель на спускающем устройстве подъемного механизма до упора на забой шурфа, после чего перед заполнением шурфа спускающее устройство отсоединяют с одного конца и извлекают подъемным механизмом на поверхность.
РИСУНКИ
|
|