|
|
(21), (22) Заявка: 2009125707/02, 08.07.2009
(24) Дата начала отсчета срока действия патента:
08.07.2009
(46) Опубликовано: 10.08.2010
(56) Список документов, цитированных в отчете о поиске:
RU 2107735 C1, 27.03.1998. RU 2111258 C1, 20.05.1998. SU 950615 A, 15.08.1982. SU 576066 A, 05.10.1977.
Адрес для переписки:
129085, Москва, ул. Бочкова, 3, кв.53, А.А.Иванову
|
(72) Автор(ы):
Иванов Александр Анатольевич (RU)
(73) Патентообладатель(и):
Иванов Александр Анатольевич (RU)
|
(54) ДОЗИРУЮЩИЙ ЗАТВОР ЗАГРУЗОЧНОГО УСТРОЙСТВА ДОМЕННОЙ ПЕЧИ
(57) Реферат:
Изобретение относится к области металлургии, конкретно к оборудованию системы загрузки доменной печи. Затвор содержит герметизированный корпус, в котором размещен патрубок с выпускным отверстием, две поворотные челюсти, расположенные под выпускным отверстием, при этом патрубок снабжен двумя плугообразными вставками, вершины которых направлены друг к другу в вертикальной плоскости, с образованием многоугольника в сечении выпускного отверстия. Для формирования вертикального потока шихты по ширине плугообразные вставки снабжены рассекающими ребрами, проходящими в вертикальной плоскости через стороны многоугольника в сечении выпускного отверстия. Использование изобретения позволяет формировать поток по ширине, уменьшить износ лотка и получить нужную траекторию ссыпания шихты на технологический уровень засыпи доменной печи по заданной программе. 4 ил.
Изобретение относится к металлургии, в частности к грузовым затворам загрузочных устройств доменных печей. Дозирующий затвор загрузочного устройства доменной печи содержит герметизированный корпус с размещенным в нем патрубком, под выпускным отверстием которого расположены две поворотные челюсти. Сечение выпускного отверстия патрубка выполнено в форме многоугольника, образованного в патрубке двумя плугообразными вставками с рассекающими ребрами, вершины вставок направлены друг к другу в вертикальной плоскости, проходящей по оси патрубка, а рассекающие ребра проходят через стороны многоугольника выпускного отверстия в вертикальной плоскости. Изобретение позволяет при любом положении челюстей обеспечить оптимальное прохождение шихты, а следовательно, улучшение условий формирования материала на поверхности вращающегося распределительного лотка с возможностью увеличения контактной поверхности вращающегося лотка с потоком шихты, что приводит к равномерному формированию шихты на поверхности лотка и тем самым уменьшению износа лотка. Равномерное формирование шихты на лотке позволяет улучшить технологию распределения шихты по поверхности доменной печи. Изобретение относится к черной металлургии, а более точно – к грузовым затворам загрузочных устройств доменных печей.
Известно устройство, предназначенное для объемного дозирования сыпучих шахтных и доменных печей, в состав которого входит бункер с заслонкой шлемовидной формы, расположенной в выпускном канале, приводимой в движение гидравлическим приводом через систему рычагов, связанных с осью вращения, кожух, изолирующий дозирующее устройство от окружающей среды, и привод; при этом с целью повышения точности дозирования поперечное сечение выпускного канала имеет овальную форму или форму многоугольника, приближающегося к овалу (SU 576066, кл. G01 F11/00,06.03.73). Недостатком известного устройства является невозможность регулирования расхода вертикального потока без смещения его общей центральной оси. Известен также челюстной затвор к бункерам для сыпучих материалов, в состав которого входят челюсти, связанные между собой зубчатой передачей, находящиеся в герметичном корпусе, имеющем съемную горловину – патрубок – и находящиеся в кожухе с укрепленными в нем подшипниками, одни концы валов зубчатой передачи расположены в корпусе, а другие – в подшипниках кожуха, при этом челюсти смонтированы консольно на концах валов, расположенных в корпусе (авторское свидетельство SU, кл. В65 D90/58, 15.08.82.
Недостатком известного устройства является невозможность регулирования расхода вертикального потока.
Наиболее близким по достигаемому техническому результату и количеству совпадающих признаков является дозирующий затвор загрузочного устройства доменной печи, содержащий герметизированный корпус, в котором размещен патрубок с выпускным отверстием, две поворотные челюсти, расположенные под выпускным отверстием, патрубок снабжен двумя плугообразными вставками, вершины которых направлены друг к другу в вертикальной плоскости, проходящей по оси патрубка, с образованием многоугольника в сечении выпускного отверстия. (RU 2107735, кл. С1 С21В 7/18, 21.01.97.)
Недостатком наиболее близкого аналога является отсутствие формирования ширины вертикального потока шихты через площадь многоугольника в сечении выпускного отверстия.
Техническим результатом заявленного изобретения является обеспечение формирования ширины вертикального потока шихты через площадь многоугольника в сечении выпускного отверстия дозирующего затвора, образованного двумя плугообразными вставками, снабженными рассекающими ребрами, проходящими через стороны многоугольника в сечении выпускного отверстия в вертикальной плоскости и тем самым обеспечивающие равномерное распределение шихты по поверхности вращающегося распределительного лотка.
Для обеспечения указанного технического результата в дозирующем затворе челюстного типа, перекрывающем патрубок бункера для сыпучих материалов и размещенном в герметичном корпусе с закрепленными на нем подшипниковыми узлами, через сальники которых смонтированы консольно челюсти, валы связаны между собой зубчатой передачей для синхронного перемещения челюстей в противоположных направлениях, при этом сечение выпускного отверстия образовано двумя плугообразными вставками, вершины которых направлены друг к другу, в вертикальной плоскости, проходящей по оси патрубка, с образованием многоугольника в сечении выпускного отверстия, при этом плугообразные вставки снабжены рассекающими ребрами, проходящими через стороны многоугольника в сечении выпускного отверстия в вертикальной плоскости. Такая конструкция патрубка позволяет за счет снабжения плугообразных вставок рассекающими ребрами в вертикальной плоскости, проходящими через стороны многоугольника в сечении выпускного отверстия, обеспечить формирование ширины потока шихты по поверхности вращающегося распределительного лотка, что позволит обеспечить равномерное ссыпание шихты с вращающегося распределительного лотка на поверхность засыпи доменной печи.
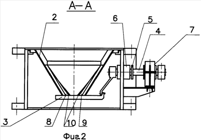
На фиг.1 изображен общий вид дозирующего затвора загрузочного устройства, разрез; на фиг.2 – разрез А-А на фиг.1; на фиг.3 – разрез Б-Б на фиг.1; на фиг.4 – разрез В-В на фиг.3.
Дозирующий затвор загрузочного устройства доменной печи содержит герметизированный корпус 1, патрубок 2, связанный с корпусом 1, две поворотные челюсти 3, закрепленные на концах приводных валов 4, пропущенных через уплотнительные сальники 5, отверстия в боковой стенке корпуса 1 затвора. Валы 4 опираются на подшипники качения 6, на валах 4 установлены две одинаковые шестерни 7, находящиеся в зацеплении между собой. К свободному концу одного из валов присоединен привод затвора, например гидроцилиндр (не показан). Форма выпускного отверстия патрубка 2 выполнена в виде многоугольника, образованного двумя плугообразными вставками 8 и 9, вершины которых направлены друг к другу в вертикальной плоскости, при этом плугообразные вставки имеют рассекающие ребра 10, проходящие в вертикальной плоскости через стороны многоугольника выпускного отверстия.
Устройство работает следующим образом. Для открывания дозирующего затвора включается привод затвора, который, действуя на валы 4 через шестерни 7, синхронно перемещает челюсти 3 в противоположных направлениях, симметрично раскрывая центральную часть выпускного отверстия патрубка 2 до заданного положения, обеспечивая истечение вертикального потока материала через площадь многоугольника с заданным расходом, при этом формирование потока по ширине на вращающийся распределительный лоток (на чертежах не показан) осуществляется рассекающими ребрами 10 плугообразных вставок. При необходимости изменения расхода материала производится перемещение челюстей 3, увеличивающих или уменьшающих площадь раскрытия выпускного отверстия, образованного двумя плугообразными вставками 8 и 9, вершины которых направлены друг к другу в вертикальной плоскости, а формирование потока по ширине рассекаюшими ребрами 10. При этом регулирование расхода и формирование по ширине потока шихты происходит без смещения его общих центральных осей. По окончании процесса выгрузки шихты челюсти 3 перемещаются друг к другу, полностью перекрывая выпускное отверстие патрубка. Преимущество изобретения заключается в том, что оно позволяет создать простую конструкцию дозирующего затвора, обеспечивающую повышенную надежность его работы, сохраняя возможность точного регулирования расхода и формирование по ширине вертикального потока шихты без смещения его общей центральной оси и регулирование формирования ширины осевой части за счет формы сечения выпускного отверстия, образованного двумя плугообразными вставками, вершины которых направлены друг к другу и снабженными рассекающими ребрами, проходящими через стороны многоугольника в сечении выпускного отверстия в вертикальной плоскости.
Формула изобретения
Дозирующий затвор загрузочного устройства доменной печи, содержащий герметизированный корпус, в котором размещен патрубок с выпускным отверстием, две поворотные челюсти, расположенные под выпускным отверстием, при этом патрубок снабжен двумя плугообразными вставками, вершины которых направлены друг к другу в вертикальной плоскости, с образованием многоугольника в сечении выпускного отверстия, отличающийся тем, что для формирования вертикального потока шихты по ширине плугообразные вставки снабжены рассекающими ребрами, проходящими в вертикальной плоскости через стороны многоугольника в сечении выпускного отверстия.
РИСУНКИ
|
|