|
|
(21), (22) Заявка: 2008146560/15, 25.11.2008
(24) Дата начала отсчета срока действия патента:
25.11.2008
(30) Конвенционный приоритет:
02.04.2008 UA u 200804181
(46) Опубликовано: 10.08.2010
(56) Список документов, цитированных в отчете о поиске:
SU 1390238 A1, 23.04.1988. RU 2293845 C2, 20.02.2007. RU 2069744 С1, 27.11.1996. ЕР 0088823 A1, 21.09.1983. GB 2086416 А, 12.05.1982. US 4122897 А, 31.10.1978.
Адрес для переписки:
03179, Украина, г. Киев, а/я 233, А.А. Назаренко
|
(72) Автор(ы):
Стефаник Юрий Васильевич (UA), Шпет Вячеслав Яковлевич (UA)
(73) Патентообладатель(и):
Общество с ограниченной ответственностью “Научно-производственная фирма “Медведь” (UA)
|
(54) СПОСОБ ПОЛУЧЕНИЯ ВОДОРОДА ИЗ УГОЛЬНОГО ПЛАСТА
(57) Реферат:
Изобретение относится к угледобывающей промышленности и может быть использовано при подземной газификации для получения молекулярного водорода. Способ включает бурение нагнетательной и газоотводящей скважин с поверхности земли в угольный пласт, установку колонны труб, соединение скважины по пласту гидроразрывом, розжиг пласта нагнетательной скважины вокруг забоя, через нагнетательную скважину поочередную подачу воздуха для разогрева угольного пласта до температуры 1250°С и подачу подогретой воды в нагретый угольный пласт, поочередный отвод образующихся в угольном пласте продуктов горения и синтез-газа через газоотводящую скважину. На стадии разогрева угольного пласта колонну труб в газоотводящей скважине заполняют с поверхности отработанным сорбентом, из которого заранее извлечен оксид углерода. На стадии получения синтез-газа для сорбции оксида углерода поддерживают температуру 65-70°С и давление 1,3-1,4 МПа с последующим выведением отработанного сорбента на поверхность для извлечения из него оксида углерода газами горения. Изобретение позволяет уменьшить энергоемкость процесса. 1 ил.
Изобретение относится к угледобывающей промышленности и может найти применение при геотехнологической разработке угольных пластов способами подземной газификации для получения молекулярного водорода.
Из науки и техники известны способы бесшахтной подземной газификации угольного пласта «in situ» способом геотехнологическим, посредством скважин, которые бурят с поверхности земли, патент США 4313499, C10J 5/00, 1982 и патент Украины 4483, SU 1481409, Е21С 43/0, C10j 5/00, 1994, опубл. 27.12.94, Б.И. 6-1. Основным недостатком этих способов является невозможность получения технически чистого водорода.
Известны также способы получения синтетических веществ (Шелдон Р.А. Химические продукты на основе синтез-газа: Пер. с англ. / Под. ред. С.М.Локтева. – М.: Химия, 1987, С.23-24. Гойхрах И.М., Пинягин Н.Б. Химия и технология искусственного жидкого топлива. – М.: Гос. науч-техн. изд-во нефт. и горно-топл. л-ры. 1954, С.189-202), например синтез-газа (СО+Н2), с помощью подземной газификации угля, с процессом получения диоксида углерода CO2 – на первой стадии, и далее с последующим максимальным разогревом пласта для получения смеси газов СО+H2
К недостаткам таких способов подземного получения смеси газов СО+Н2 из угля следует отнести повышенную энергозатратность и неприспособленность к переработке угольных пластов на месте их залегания.
Наиболее близким по технической сути к заявленному способу рассмотрен способ подземной газификации угля для получения смеси газов СО+Н2 (Патент SU 1390238, C10j 5/00, 1994, Б.И. 6-1, опубл. 27.12.94). Известный способ имеет следующие существенные признаки, которые являются общими с признаками заявленного технического решения:
– бурение нагнетательной и газоотводящей скважин на угольный пласт;
– соединение скважин по пласту гидроразрывом с последующим бутированием щели гидроразрыва крупнозернистым песком;
– розжиг пласта вокруг забоя нагнетательной скважины;
– поочередную подачу через нагнетательную скважину воздуха для разогрева пласта до температуры 1250°С и подачу подогретой воды в нагретый пласт;
– поддержание заранее заданных термодинамических условий в пласте для получения целевых продуктов.
Используя известный способ, получают требуемые газовые смеси (СH4, СО2, Н2, СО и др.), однако способ по прототипу не позволяет получать технически чистый водород Н2 и поэтому является малоэффективным.
В процессе создания изобретения поставлена задача повышения эффективности процесса получения водорода, в частности более чистого водорода и в большем количестве, снижения энергоемкости геотехнологического процесса посредством улучшения термодинамических условий в угольном пласте и более эффективного регулирования процессом.
Поставленная задача решается тем, что предложен способ получения водорода из угольного пласта, включающий бурение нагнетательной и газоотводящей скважин с поверхности земли в угольный пласт, установку колонны труб, соединение скважины по пласту гидроразрывом, розжиг пласта нагнетательной скважины вокруг забоя, через нагнетательную скважину поочередную подачу воздуха для разогрева угольного пласта до температуры 1250°С и подачу подогретой воды в нагретый угольный пласт, поочередный отвод образующихся в угольном пласте продуктов горения и синтез-газа через газоотводящую скважину, в котором на стадии разогрева угольного пласта колонну труб в газоотводящей скважине заполняют с поверхности отработанным сорбентом, из которого заранее извлечен оксид углерода для его регенерации газами горения, и на стадии получения синтез-газа для сорбции оксида углерода поддерживают температуру 65-70°С и давление 1,3-1,4 МПа с последующим выведением отработанного сорбента на поверхность для извлечения из него оксида углерода газами горения.
Причинно-следственная связь между признаками, которые есть существенными отличительными и характеризуют изобретение, и достигаемым техническим результатом заключается в следующем:
– размещение колонны труб, заполненных сорбентом в газоотводящей скважине, дает возможность получать водород непосредственно в этой скважине, поддерживая и регулируя в ней термодинамические условия сорбции СО, что является необходимым и достаточным для получения технически чистого водорода;
– поддержание температуры 65-70°С и давления 1,3-1,4 МПа для получения из синтез-газа (СО+Н2) водорода обеспечивает максимальную чистоту получения водорода;
– выведение из газоотводящей скважины отработанного сорбента на поверхность дает возможность путем сбрасывания давления выделить из него СО и направить вместе с окислителем в нагнетательную скважину на стадии разогрева, что повысит температуру разогрева пласта за счет экзотермической реакции 2СО+O2 2СО2;
– заполнение колонны труб газоотводящей скважины на стадии разогрева пласта отработанным сорбентом, из которого удален СО, обеспечивает полностью регенерирование сорбента за счет физического тепла газов горения угля.
Технико-экономическими преимуществами предлагаемого способа являются получение технически чистого водорода и повышение эффективности процесса за счет проведения регенерации сорбента в угольном пласте. Следовательно, предлагаемый способ является экономически и экологически целесообразным, поскольку направлен на энерго- ресурсообеспечение, а также позволяет получать водород из преимущественно некондиционных угольных пластов, в том числе маломощных, глубокозалегающих, сильно обводненных, высокозольных и т.д.
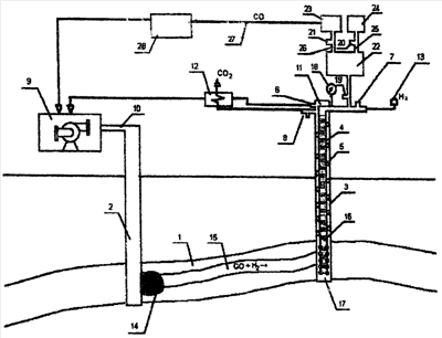
На чертеже изображена технологическая схема способа получения водорода из угольного пласта.
Технологическая схема состоит из угольного пласта 1, на котором пробурены нагнетательная 2 и газоотводящая 3 скважины, колонны труб 4, вокруг которой размещен трубный змеевик 5, соединенный на выходе с патрубком 6, служащим для подачи горячей воды для разогрева отработанного сорбента; заслонок 7, 8 на колонне труб 4 и на газоотводящей 3 скважине; насоса-компрессора 9; патрубка 10, узла отвода CO2 – 11; накопителя 12, трубопровода отвода технического водорода 13; подвижной зоны розжига (газификации) 14 угольного пласта; канала гидроразрыва 15; сорбента 16; термопары 17; манометра 18; заслонок 19, 20, 21 на трубопроводе отвода Н2; накопителя 22 отработанного сорбента; вакуум-насоса 23; компрессора 24; трубопроводов 25, 26, 27; газгольдера 28. Патрубок 6 служит для подвода горячей воды из накопителя 12 до змеевика 5.
Способ реализуется следующим образом.
2(NH3)2 2Н2О]Cl2, из которого на поверхности извлечен СО, с закрытой заслонкой 7, открывают заслонку 8 на газоотводящей 3 скважине, и созданный в результате процесса сжигания угольного пласта 1 газ (С+0,5 O2 СО2) отводят через накопитель 12 воды. При этом в колонне 4 труб происходит регенерация сорбента по приведенной схеме:

При достижении в подвижной зоне розжига 14 угольного пласта 1 температуры 1250°С прекращают подачу воздуха в нагнетательную скважину 2 и через патрубок 10 в нее подают подогретую в накопителе 12 воду для получения в угольном пласте 1 синтез-газа – оксида углерода СО и водорода Н2 по реакции С+Н2О СО+Н2. На этой стадии работ перекрывают заслонку 8, открывают заслонку 7 и синтез-газ направляют через перфорационные отверстия в колонну 4 труб, выполняющую роль сорбента СО. В случае, когда зона горения 14 находится достаточно далеко от газоотводящей скважины 3, и газы горения (СО2) поступают в ее полость с температурой, меньшей чем температура, необходимая для эффективной сорбции СО в колонне 4, в змеевик 5, расположенный вокруг колонны 4, через патрубок 6 закачивают горячую воду, полученную в накопителе 12 и подогретую проходящими через толщу воды в нем газами горения (СО2). При этом тем самым поддерживают температурный режим в колонне 4 труб и обеспечивают достижение температуры в ее полости примерно равной 65-70°С, то есть такой температуры, которая необходима для наиболее эффективного сорбирования СО в колонне 4 труб из смеси газов СО и Н2. При этой температуре и давлении обеспечивают максимальную сорбцию СО в колонне 4 труб. Давление 1,3-1,4 МПа процесса сорбции СО в колонне 4 регулируют заслонкой 7.
Наполнение колонны 4 труб пористым сорбентом 16 позволяет провести получение водорода непосредственно в этой колонне, поддерживая в ней также термодинамические условия процесса сорбции СО, которые являются необходимыми и достаточными для получения технически чистого водорода.
Полученный технический водород с температурой 65-70°С через открытый патрубок 7 подают по трубопроводу 13 в охладитель, а далее через компрессор закачивают в баллоны или другие емкости для хранения и дальнейшего транспортирования потребителям (на чертеже охладитель, компрессор и баллоны не показаны).
Перед окончанием подачи воды в нагнетающую скважину 2 закрывают заслонку 7 и создают в пласте 1 избыточное давление, которое энергией сжатых в пласте 1 газов выдавливает отработанный сорбент 16 через заслонку 19 в накопитель 22 отработанного сорбента. Далее, при закрытых заслонках 19 и 20 открывают заслонку 21 и вакуум-насосом 23 откачивают из накопителя 22 отработанный сорбент, и через трубопровод 27 подают его в газгольдер 28. После прекращения вакууммирования закрывают заслонку 21, открывают заслонку 20 и компрессором 24 через трубный змеевик 5 подают в колонну 4 труб отработанный сорбент 16, из которого извлечен СО, после этого заслонку 20 закрывают.
Рабочий цикл получения технически чистого водорода (подачу воды в угольный пласт 1) прекращают, когда продуктивность получения чистого водорода резко падает. Тогда снова начинают розжиг зоны 14 и разогрев пласта до температуры 1250°С, при этом насосом-компрессором 9 нагнетают в пласт 1 вместе с воздухом накопленный в газгольдере 28 диоксид углерода, после чего процесс продолжают подачей и нагнетанием новых порций воды, как описано выше.
Таким образом, заявленный способ получения технически чистого водорода из угольного пласта обеспечивает выполнение поставленной задачи.
Формула изобретения
Способ получения водорода из угольного пласта, включающий бурение нагнетательной и газоотводящей скважин с поверхности земли в угольный пласт, установку колонны труб, соединение скважины по пласту гидроразрывом, розжиг пласта нагнетательной скважины вокруг забоя, через нагнетательную скважину поочередную подачу воздуха для разогрева угольного пласта до температуры 1250°С и подачу подогретой воды в нагретый угольный пласт, поочередный отвод образующихся в угольном пласте продуктов горения и синтез-газа через газоотводящую скважину, отличающийся тем, что на стадии разогрева угольного пласта колонну труб в газоотводящей скважине заполняют с поверхности отработанным сорбентом, из которого заранее извлечен оксид углерода для его регенерации газами горения, и на стадии получения синтез-газа для сорбции оксида углерода поддерживают температуру 65-70°С и давление 1,3-1,4 МПа с последующим выведением отработанного сорбента на поверхность для извлечения из него оксида углерода газами горения.
РИСУНКИ
|
|