|
|
(21), (22) Заявка: 2008129308/04, 17.07.2008
(24) Дата начала отсчета срока действия патента:
17.07.2008
(43) Дата публикации заявки: 27.01.2010
(46) Опубликовано: 10.08.2010
(56) Список документов, цитированных в отчете о поиске:
RU 2159179 С2, 20.11.2000. US 4483257 А, 20.11.1984. GB 1394851 А, 21.05.1975.
Адрес для переписки:
678960, Республика Саха (Якутия), г. Нерюнгри, пр-кт Ленина, 10, кв.14, В.И. Реве
|
(72) Автор(ы):
Рева Василий Иванович (RU)
(73) Патентообладатель(и):
Рева Василий Иванович (RU)
|
(54) СПОСОБ ИЗГОТОВЛЕНИЯ ЖИДКОГО ТОПЛИВА ИЗ ТВЕРДЫХ ГОРЮЧИХ ИСКОПАЕМЫХ И МЕХАНОТЕРМОХИМИЧЕСКИЙ РЕАКТОР ДЛЯ ЕГО ОСУЩЕСТВЛЕНИЯ
(57) Реферат:
Изобретение относится к способу получения жидкофазных и газообразных продуктов из твердых горючих ископаемых (ТГИ), таких как уголь, сланцы, богхеды, сапропелиты, торф и другие органические вещества, для получения жидкого и газообразного топлива полуфункционального применения в качестве сырья для изготовления моторного и других видов топлива. Изобретение относится также к аппаратам для производства жидкофазных и газообразных продуктов за счет создания процессов гидрогенизации, ударно-сдвиговых процессов и превращения механической энергии в тепловую в корпусе реактора. Способ изготовления жидкофазного и/или газофазного топлива из твердых горючих ископаемых включает подачу измельченного исходного материала в приемное устройство шнека под давлением без доступа воздуха на подпружиненный выталкиватель, обеспечивающий при вращении шнека беспрерывность подачи материала сплошным потоком в полость цилиндра, в котором осуществляют предварительную термическую деструкцию материала при влажности до 40% от его органической массы и допустимой температуре до 260°С, которая возникает при вступлении материала во фрикционное взаимодействие с боковой поверхностью активаторов, установленных на подающей стороне винтовой нарезки шнека, и поверхностью цилиндра, при этом выделяющаяся газопаровая фракция, содержащая водород, под давлением гидрогенизирует разогретый материал, превращая его в экструдируемый пластичный продукт, который через отверстия входной фильеры подается в зону реактора, при этом за счет давления и трения повышается его температура, после выхода из фильеры пластичный продукт насыщается дополнительно подаваемым донорным агентом – водородосодержащим газом и подвергается сложному ударно-сдвиговому воздействию, при котором под действием водородосодержащих газов и температуры происходит дополнительная гидрогенизация и карбонизация пластичного продукта с интенсивным выделением тепла, которое во избежание перегрева регулируется рубашкой и агентом из внутренней полости вала, в результате чего пластичный продукт превращается в жидкофазное вещество, которое через выходную фильеру подается через конденсатор на фракционирование с получением жидкофазного и/или газофазного топлива. Изобретение, кроме того, относится к механотермохимическому реактору для осуществления описанного способа, а также к способам охлаждения экструдируемой смеси в описанном способе. Способ и устройство позволяют получить жидкофазное и газофазное топливо из твердых горючих ископаемых и органического вещества. 4 н.п. ф-лы, 15 ил.
Изобретение относится к способу получения жидкофазных и газообразных продуктов из твердых горючих ископаемых полуфункционального применения в качестве сырья для изготовления моторного и других видов топлива.
Изобретение относится также к аппаратам по производству жидкофазных и газообразных продуктов за счет создания гидрогенолизных процессов, ударно-сдвиговых процессов и превращения механической энергии в тепловую в корпусе реактора.
Известен способ получения деструктированного продукта (патент RU 2120380, МПК 29С 47/52, от 20.10.98 г.), включающий деструкцию высокомолекулярных соединений, находящихся в расплаве, в дисковой насадке путем механического и термического воздействия на высокомолекулярные соединения.
Недостатками способа являются:
– Сложность управления процессом деструкции в условиях сдвиговых деформаций в расширяющемся коническом канале;
– Процесс деструкции осуществляется только в щелевом канале, что создает условия нестабильности процесса деструкции вследствие различия в сопротивлении при движении расплава, особенно на выходе в коническую щель;
– Трудность управления температурой деструктируемого высокомолекулярного соединения.
Известен червячно-дисковый экструдер, патент RU 2120380, МПК 29С 47/52, от 20.10.98, содержащий питательный цилиндр, размещенный в нем и соединенный с приводом червяк с винтовой нарезкой и последовательно расположенный диск с приводом, причем диск выполнен в виде конической насадки, обращенной вершиной конуса к зоне выходного отверстия питающего цилиндра, и расположен в корпусе с рабочим зазором относительно него и имеет соотношение сечения рабочего зазора в вершине и основании конуса конической насадки 1:10 и более.
Недостатком описанной конструкции является:
– Высокая чистота поверхностей подвижной и неподвижной частей конической насадки недостаточно эффективна для создания сдвиговых деформаций и отсюда недостаточная эффективность деструкции ВМС (высокомолекулярное соединение), особенно это заметно при высоких температурах воздействия на расплав.
В качестве прототипа выбран способ получения деструктированного продукта (патент RU 2159179, МПК В29С 47/52, от 20.11.2000 г., Бюл. 32), включающий деструкцию высокомолекулярных соединений, находящихся в расплаве, в дисковой насадке путем механического и термического воздействия на ВМС, предварительную деструкцию их в червячном экструдере, причем деструкцию высокомолекулярных соединений в дисковой насадке выполняют при температуре расплава, равной или ниже, чем на выходе из червячного экструдера.
Недостатками способа являются:
– Процесс деструкции энергоемкий, что создает условия дополнительных затрат на контроль температурного режима по зонам продвижения материала.
– Полная деструкция ВМС выполняется в каналах дисковых насадок без перемешивания материала, что не позволяет производить однородный высококачественный материал.
Наиболее близким по технической сущности к заявленному техническому решению является червячно-дисковый экструдер (патент RU 2159179, МПК В29С 47/52, от 20.11.2000 г. Бюл. 32), содержащий питательный цилиндр, размещенный в нем и соединенный с приводом вращения червяк с винтовой нарезкой и последовательно расположенную дисковую насадку, причем вал насадки выполнен полым, а корпус насадки имеет рубашку охлаждения, причем питательный цилиндр снабжен разрывными болтами, а червяк – торпедой.
Недостатками описанной конструкции являются:
– Питательный цилиндр выполнен с высокой точностью чистоты, что не способствует созданию эффекта сдвиговых деформаций вещества и снижает производительность;
– Винтовая нарезка выполнена гладкой с высокой чистотой поверхности, что снижает скорость продвижения материала в каналах винтовой нарезки;
– Червяк винтовой нарезки выполнен с разрывом для размещения разрывных болтов в питательном цилиндре, есть опасность налипания материала на разрывные болты, что уменьшит сечение прохождения полурасплавленного материала;
– В каналах дисковой насадки может оставаться перерабатываемый материал, который при остывании засоряет междисковые каналы и не позволяет возобновить работу устройства без специальных мероприятий.
Задачей изобретения является разработка способа и устройства, позволяющих получить жидкофазное и газофазное топливо полуфункционального применения из твердых горючих ископаемых и органического вещества.
Предлагаемый способ получения жидкофазного и газового топлива включает деструкцию находящегося в измельченном состоянии ОВ (органическое вещество) ТГИ за счет сложных ударно-сдвиговых, механических воздействий в реакторном корпусе, переход механической энергии в тепловую, при этом собственные и донорные водородосодержащие газы гидрогенализуются в структуру вещества, возникает дополнительное воздействие в виде парционального давления на мультимер вещества, в результате чего осуществляется интенсивный разрыв цепи молекул и начинается процесс термохимического превращения мультимера вещества в структуру нового вещества, при этом процесс допустимого охлаждения продукта осуществляется в конденсаторном устройстве без доступа окислителя.
Отличительными признаками заявляемого способа является то, что на первом этапе измельченное ТГИ (твердое горючее ископаемое) попадает в загрузочный корпус с боковыми загрузочными окнами через подающий трубопровод под давлением, причем на дне корпуса содержится подпружиненный выталкиватель, который обеспечивает объемный захват каналами шнека измельченного материала по кругу без воздушных пустот и подает его в цилиндрический участок райзера, где закрепленные активаторы на подающей стенке винтовой нарезки частично разрыхляют и активно перемешивают измельченное ТГИ с газами, которые возникают в результате трения измельченного ТГИ о поверхность активаторов, причем одновременно с перемешиванием и трением начинается разогрев ТГИ за счет создания активаторами в канале нарезки сложного волнообразного продвижения и винтового завихрения, что способствует созданию завихрений за каждым активатором, в результате этого осуществляется схлопывание и интенсивное выделение температуры и газа, с каждым шагом винтовой нарезки температура и количество газопаровой фракции увеличивается, при этом водородосодержащие газы «растворяются» в структуре органической массы ТГИ.
На втором этапе частично деструктированный в райзере материал поступает в коническую часть каналов вала, где сжимается и продавливается через конические отверстия фильеры в реакторный корпус, при этом материал приобретает пластичное состояние. Через отверстия реакторного корпуса пластичный материл насыщается донорным агентом (водородосодержащим газом катализатором), далее захватывается винтовой нарезкой с активаторами, которые под действием активаторов и центробежных сил выбрасывают органическую массу материала от стенки сердечника вала на стенку упругой гильзы, в образовавшиеся упругие зазоры между винтовой нарезкой и упругой гильзой, где возникают сложные ударно-сдвиговые механические воздействия, при этом происходит переход механической энергии в тепловую, далее водородосодержащие газы гидрогенизируются в разогретую структуру вещества и создают дополнительное воздействие в виде парционального давления на структуру мультимера ОВ (органическое вещество), в результате чего осуществляется интенсивный разрыв цепи молекул и начинается процесс (пиролиза) термохимического превращения цепи молекул ОВ в структуру нового жидкофазного вещества, кроме того, тепловая энергия, выделяемая при разрыве связей цепи молекул, также повышает температуру жидкофазного ОВ, что способствует интенсификации процесса превращения.
На третьем этапе мгновенный отвод тепла от жидкофазного ОВ происходит через элементы конструкции охладителя (конденсатора), где подаваемое вещество из реакторного корпуса охлаждается в условиях наложения сложновинтового турбулентного движения и одновременного смешивания с подаваемым холодным агентом, продвижение вещества между каналами охладителя и охлажденной шейкой вала приобретает требуемую температуру, причем температура может регламентироваться до значения температуры испарения вещества либо температуры, необходимой для обеспечения вязкости вещества на четвертом этапе процесса.
Таким образом, продвижение ТГИ по каналам винтовой нарезки через райзерный корпус, реакторный корпус, охладительный корпус изменяет свою структуру из твердого до жидкофазного состояния и сливается в цилиндрическую емкость фракционирования (фракционатор) органического вещества, где достигается глубина деструкционных процессов переработки жидкофазного вещества до полуфункционального применения с последующей перегонкой в дистилянты жидкого топлива.
Устройство достигает цели тем, что механотермохимический реактор содержит загрузочный корпус, последовательно выполненные напорный цилиндрический корпус (райзер), разборную фильеру, реакторный корпус, съемную фильеру, корпус охлаждения (конденсатор), емкость фракционирования (фракционатор), размещенный в них и соединенный с приводом вращения вал с винтовой нарезкой, причем винтовая нарезка на подающей стороне содержит активаторы, а сердечник вала выполнен в виде двухстороннего конуса с полым цилиндром между ними. Причем конус, обращенный меньшим размером к загрузочному корпусу, в три и более раз длиннее конуса, обращенного своим меньшим размером к шейке полого вала, а длина цилиндрической части может выполняться от двух диаметров шнека и более. В конденсаторе отверстие содержит продольные выборки (пазы), которые совместно с удлиненной шейкой вала образуют каналы (протоки), причем цилиндрический вал шнека выполнен в виде полой удлиненной шейки, содержащей скользящие перегородки с возможностью их продольного перемещения по всей длине полости. Фракционатор снабжен двухсторонним конусным теплообменником, проволочным каплеуловителем, а верхний люк выполнен с газопроводным отверстием и разделительным клапаном, причем со стороны газопроводного отверстия конус теплообменника выполнен с переходом на плоское дно ванночки (сборник конденсата), которая по центру содержит полую гильзу, переливочную трубку и сливной патрубок конденсата. Обратный конус теплообменника выполнен зеркально верхнему конусу. Ниже конусного теплообменника фракционатор содержит колпачковую ванну с колпачковым клапаном и переливочной трубкой, причем колпачковый клапан выполнен с возможностью принудительного перемещения относительно диска, а переливная трубка выполнена выше сливного патрубка. Нижняя полость фракционатора содержит испаритель, а люк сливное отверстие с разделительным клапаном.
Отличительными признаками заявленного устройства является то, что загрузочный корпус выполнен большего диаметра шнека вала, при этом образуя боковые окна, а дно корпуса снабжено воздушным патрубком и подпружиненным выталкивателем. Винтовая нарезка вала в напорной части райзера снабжена активаторами, перпендикулярно направленными от сердечника к стенке цилиндра, причем сердечник вала выполнен в виде двухстороннего конуса с цилиндром между ними, а со стороны фракционатора удлиненная шейка выполнена полой с возможностью содержания не менее двух скользящих перегородок с возможностью их перемещения и сменой объема каждой полости с целью адресного охлаждения сердечника. Последовательно присоединенный к райзерному корпусу реактор содержит разборную входную фильеру с коническими отверстиями большей пропускной способности, чем выпускная фильера, к первой фильере примыкают патрубки из корпуса реактора, а внутренняя полость реактора содержит упругую обойму (гильзу) с возможностью взаимодействия с винтовой нарезкой шнека, причем передняя и задняя фильеры образуют полость (отсек) реактора. Полый конденсатор (корпус охлаждения) содержит центральное отверстие с продольными сквозными выборками, которые совмещены с отверстиями выпускной фильеры, а скользящие вкладыши выполнены в виде гребенки с возможностью охлаждения жидкой фракции и регулирования силы прижима к полой шейке.
Последовательно присоединенный корпус фракционатора со съемными полусферическими крышками в торцах цилиндра содержит спиральный испаритель, круглую колпачковую ванну с подвижным колпачковым клапаном и переливную трубку, двухконусный конденсатор со сквозной гильзой по центру и переливную трубку, проволочный испаритель, кроме того, образованная верхним конусом и гильзой кольцевая ванна содержит боковой сливной патрубок.
Для достижения технического результата в способе изготовления жидкофазного или газофазного топлива полуфункционального применения предварительно измельченное органическое вещество по трубопроводу поступает в загрузочный корпус с подпружиненным выталкивателем, захватывается витками винтовой нарезки и подается в цилиндрическую полость райзера, где при помощи активаторов на подающей стороне винтовой нарезки органическое вещество разрыхляется, образуя при этом вакуумные пустоты, в которые стремится выделяемый при трении газообразный состав. По мере продвижения органическое вещество подвергается сложным механическим воздействиям, при которых происходит выделение тепла, газа и пара, газопаровой состав начинает проникать в разогретую структуру органического вещества.
Активность проникновения парогазового состава, выделения температуры и создание парционального давления в ОВ зависит от скорости вращения вала, количества активаторов на подающей стороне винтовой нарезки, геометрической формы вала и активаторов, состава органического вещества. Под воздействием вращения вала 100 об/мин и выше частично разогретое влажностью 40% от его органической массы и частично насыщенное парогазовым составом ОВ влажностью 40% от его органической массы поступает в коническую часть вала, где при температуре до 260°С приобретает полупластичное состояние и продавливается в отверстие фильеры, за стенкой фильеры через отверстия реакторного корпуса могут нагнетаться водородосодержащий газ, водяной пар, катализаторы, химрастворы, которые способствуют улучшению качества вещества и скорости технологического процесса. Органическое вещество совместно с поданным агентом захватывается от стенки фильеры винтовой нарезкой и активаторами, поддается ими сложному механическому воздействию, которое состоит, одновременно из центростремительного ускорения, центробежной силы, которые значительно увеличивают как скорость движения потока, так и действие силы трения активаторов, где между стенкой упругой гильзы и кромкой винтовой лопасти образуется зазор, в котором органическое вещество поддается перетеканию под давлением и смешанному ударно-сдвиговому воздействию. При этом происходит интенсивное выделение тепла, которое во избежание перегрева регулируется при помощи наружной рубашки и агентом из внутренней полости реактора, что способствует активному проникновению водородосодержащих газов в структуру молекулярного вещества и превращению вещества в жидкофазное состояние, которое винтовыми лопастями подается в напорную часть цилиндра, корпуса охлаждения (конденсатора), где через отверстия фильеры разогретое до 480°С жидкофазное вещество прокачивается в каналы между корпусом конденсатора и охлаждаемой шейкой вала. При этом каналы конденсатора совместно с пазухами создают возможность сложного турболентовинтового перемещения жидкофазного вещества, активно охлаждая его, а подаваемый через отверстия охлаждаемый агент дополнительно усиливает скорость охлаждения. Скользящие вкладыши, функционирующие в закрытых пазах корпуса, взаимодействуют с охлажденной шейкой вала, пропускают в свои каналы жидкофазную фракцию вещества, при этом вкладыши удерживают вал по центру вращения. Охлажденное жидкофазное вещество сливается в полость фракционатора, где может через сливное отверстие подаваться для дальнейшей переработки или при помощи испарителя разогреваться до нужной температуры кипения фракции, которая из жидкого состояния превращается в газообразную фракцию. Газообразная фракция протекает через отверстия регулируемого колпачкового клапана, частично конденсирует на стенку части конуса и через переливную трубку сливается обратно в емкость. Другая часть летучих газовой фракции через гильзу конуса попадает на сетчатый каплеуловитель (конденсатор), конденсирует на поверхность конуса с другой стороны и через переливную трубку из ванны сливается в колпачковую ванну или в виде осветленного продукта через боковой патрубок сливается в емкость готовой продукции прямого действия.
Отверстие в полусферическом люке с разделительным клапаном пропускает через себя избыточную парогазовую фракцию, предотвращает создание высокого давления и деформации фракционатора, коллекторные (бойпасные) трубы верхней и нижней части фракционатора позволяют переадресовать продукцию на кольцевую (повторную) переработку, что дает возможность непрерывно поддерживать устройство в рабочем состоянии.
Устройство для получения продукции предусматривает возможность не проводить охлаждение жидкофазной продукции в конденсаторном корпусе, при этом жидкофазная продукция из реакторного корпуса под давлением протекает через каналы между шейкой вала и корпусом конденсатора с температурой, полученной в реакторе или ниже, сливается в нижнюю емкость фракционатора и через сливные отверстия с разделительным клапаном в нижнем люке направляется для дальнейшей переработки, а газопаровая фракция при открытом колпачке в нижнем диске и через гильзу конусного теплообменника попадает на сетчатый каплеуловитель, где конденсирует в верхней части фракционатора и через боковой патрубок поступает в емкость готовой продукции полуфункционального применения.
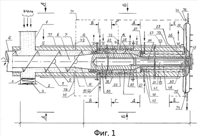
На фиг.1 показан общий вид механотермохимического реактора; на фиг.2 показано сечение А-А фиг.1; на фиг.3 показано сечение Б-Б фиг.1; на фиг.4 показан разрез В-В фиг.1; на фиг.5 показан разрез Г-Г фиг.1; на фиг.6 показан разрез Д-Д фиг.1; на фиг.7 показан разрез Е-Е фиг.1; на фиг.8 показан вид сверху Ж-Ж фиг.2; на фиг.9 показан общий вид позиции И-И фиг.2; на фиг.10 показан разрез 3-3 фиг.9; на фиг.11 показан вариант активатора фиг.9; на фиг.12 показан вариант активатора фиг.9; на фиг.13 показа вариант активатора фиг.9; на фиг.14 показа вариант активатора фиг.9; на фиг.15 показан общий вид шнекового устройства фиг.1
Механотермохимический реактор состоит из блока, который последовательно выполнен из загрузочного корпуса с подпружиненным выталкивателем, напорного цилиндрического корпуса (райзера) с теплообменной рубашкой, к нему присоединен реакторный корпус, который внутри содержит гильзу из упругого материала, разборную фильеру (сетку), причем впритык к ней выполнено не менее 2-х отверстий с патрубками для подачи донорного агента, а в средней части реактора выполнено отверстие с дроссельным клапаном, наружная поверхность реактора содержит теплообменную рубашку.
К реакторному корпусу присоединен конденсатор (корпус охлаждения), который содержит в напорной части цилиндра съемную фильеру, корпус выполнен со сквозными продольными выборками, которые в свою очередь содержат пазухи (углубления) со сквозными отверстиями, между продольными сквозными выборками выполнены продольные закрытые пазы, в которых размещены скользящие вкладыши, причем вкладыши выполнены с возможностью взаимодействия с удлиненной шейкой вала и поджимными болтами, с наружной стороны корпус содержит рубашку теплообмена.
Продольные выборки корпуса охлаждения совместно с удлиненной шейкой вала образуют проточные каналы от реакторного корпуса до фракционатора. Фракционатор последовательно присоединен к корпусу охлаждения и содержит в верхней части теплообменник в виде съемного 2-х стороннего усеченного конуса с переливной трубкой и сливным патрубком, на котором расположен проволочный конденсатор (каплеуловитель), ниже теплообменника расположена колпачковая ванна с переливной трубкой, причем колпачковый клапан выполнен с возможностью регулирования высоты перемещения, верхняя полусферическая крышка фракционатора содержит газопроводное отверстие с разделительным клапаном. С другой стороны фракционатора содержится спиральный испаритель (подогреватель), в полусферическом люке выполнено сливное отверстие с разделительным клапаном, расположенный в цилиндрическом блоке и соединенный с приводом вращения вал с винтовой нарезкой, который выполнен с переходом на усеченный конус меньшим размером к питателю (райзеру). В зоне реакторного корпуса тело вала винтовой нарезки выполнено большего диаметра, чем в райзерном корпусе, на выходе из реакторного корпуса вал шнека выполнен усеченным конусом, обращенным меньшим размером к удлиненной шейке вала, причем вал со стороны, противоположной стенки фракционитера, и до места расположения разборной фильеры выполнен полым и содержит не менее двух цилиндрических перегородок в виде поршня, через которые проходят трубы. Перегородки выполнены с возможностью принудительного перемещения по длине полости без вращения вокруг собственной оси. Наружная геометрия шнека выполнена одного размера по всей длине вала с разрывом в области установки разборной фильеры, причем подающая плоскость винтовой нарезки по всей длине содержит активаторы, не менее двух на одном шаге винта, одной или различной геометрической формы, которые устанавливаются в зависимости от перерабатываемого материала, шаг винта в напорной части вала в два раза больше шага винта, выполненного в реакторной зоне. Удлиненная шейка вала выполнена с возможностью уплотнения на противоположной стенке фракционатора и свободного доступа через трубы охлаждающего (разогревающего) агента.
В патентной и технической литературе не имеется сведений о совокупности отмеченных отличительных признаков с указанной целью как способа получения жидкофазного продукта из твердых горючих ископаемых, так и устройства для его осуществления.
По совокупности отличительных признаков заявляемых технических решений ни способ получения жидкофазных продуктов, ни механотермохимический реактор друг без друга не существуют.
Кроме того, реализация способа получения жидкофазного и газофазного продукта из ТГИ в условиях четырехэтапного деструктурирования при обеспечении поэтапного превращения ТГИ в жидкофазную и газофазную продукцию с контролируемым процессом производства и температурным режимом возможно только в заявленном механотермохимическом реакторе.
Механотермохимический реактор непрерывного действия прост в обслуживании и надежен в эксплуатации, экономичен в использовании электроэнергии, не наносит вреда окружающей среде.
На Фиг.1 изображен продольный разрез механотермохимического реактора. Устройство содержит последовательно выполненный корпус загрузочной трубы 1 с полостью картера 2 и размещенный в нем подпружиненный выталкиватель 3 с пружиной 4, причем верхняя площадка выталкивателя 3 выполнена с выборкой по диаметру винтовой нарезки 5 вала 6.
В полости райзера 7 винтовая нарезка 5 на подающей плоскости 8 содержит активаторы 9, а вал шнека 6 в зоне сжатия выполнен в виде усеченного конуса 10, на сердечнике которого межвинтовая полость выполнена с переменным объемом 3:1 и более от меньшего диаметра к большему. В зоне разрыва винтовой нарезки 5 образована шейка 11, где размещена фильера 12 с коническими отверстиями 13, которая укреплена в последовательно выполненном цилиндрическом корпусе 14. В начале реакторного корпуса 14 выполнены отверстия 15, 16, 17, 18 с укрепленными патрубками 19, 20, 21, 22 и упругой гильзой 23, причем в зоне корпуса 14 вал 6 выполнен двухзаходной винтовой нарезкой 24, на подающей стенке которой содержатся чередующиеся активаторы 25 и 26, а в конце реакторного корпуса 14 вал 6 выполнен обратным конусом 27, при этом сердечник вала 6 выполнен полым и делится подвижными гидроупорными перегородками 28, 29 на две полости 30, 31, причем перегородки 28, 29 снабжены трубами обмена агента 32, 33 в полости 30 и трубами обмена агента 34, 35 в полости 31. Последовательно выполненная конструкция конденсатора 36 содержит закрепленную фильеру 37 с коническими отверстиями 38, причем корпус конденсатора 36 выполнен со сквозным отверстием 39, которое, в свою очередь, выполнено (в виде ромашки) с полукольцевыми выборками 40, а вершины выборок 40 выполнены с пазами 41, где пазы 41 содержат отверстия 42 с закрепленными патрубками 43. Между полукольцевыми выборками выполнены продольные пазы 44, в которых установлены продольные вкладыши 45 с поперечными пазами 46, вкладыши 45 соединены с регулирующими винтами 47. В центре сквозного отверстия 39 конденсатора 36 расположена удлиненная шейка 48 полой части вала 6. Конец полой шейки 48 установлен в герметичном устройстве корпуса 49, расположенного на противоположной стороне фракционатора 50. Фракционатор 50 состоит из нижней полусферической крышки 51 с отверстием 52, что образует емкость 53 с испарителем 54 и верхней полусферической крышки 55 с отверстием 56. Верхняя часть фракционатора расположена выше шейки 48 и содержит колпачковую ванну 57 с подвижным колпачковым клапаном 58, переливную трубку 59 и боковой патрубок 60.
Выше колпачковой ванны 57 выполнен охлаждающий (разогревающий) конденсатор 61, который состоит из нижнего и верхнего усеченного конуса 62, 63, наружного и внутреннего цилиндров 64, 65, причем внутренний дренажный цилиндр 65 выполнен выше установленной переливной трубки 66, переливная трубка 66 выполнена выше бокового патрубка 67. Выше конденсатора 61 расположен проволочный каплеуловитель 68, через который проходит регулятор 69 колпачкового клапана 58. Верхнее отверстие 56 полусферической крышки 55 содержит разделительный клапан 70, который прикреплен к трубопроводу 71 с патрубком 72 корпуса 7, и дроссельный клапан 73 корпуса 14, нижнее отверстие 52 крышки 51 разделительный клапан 74, трубопровод 75 с патрубком 76 корпуса 7. Корпус 7 содержит водяную рубашку 77, корпус 14 содержит водяную рубашку 78, корпус 36 содержит водяную рубашку 79.
Подготовка устройства к работе осуществляется в следующем порядке.
В зависимости от перерабатываемого материала (уголь, сланцы, богхеды, сапропелиты, торф) и требуемого конечного продукта устанавливается глубина деструкции ТГИ и необходимая температура по участкам устройства выполняется с помощью внешних источников тепла до температуры, максимально близкой к температуре деструкции вещества на каждом отдельно взятом участке устройства.
Устанавливаются нормы подачи дополнительных агентов в реакторный блок и конденсаторный блок.
Устанавливается требуемое число оборотов вала винтовой нарезки.
В подготовленное устройство подается перерабатываемый материал и в это время отключают внешний источник тепла, заменяют его на источник охлаждения по отдельно взятым участкам.
Устройство, Фиг.1, работает следующим образом: измельченный материал (например, уголь), под давлением поступает в загрузочную трубу 1, заполняет плоскость картера 2 с подпружиненным выталкивателем 3, который поджимает материал с полости поддона 2 при помощи пружины 4, чем создается полное заполнение противоположной стороны межвиткового объема шнека 5. Винтовая нарезка 5 вала (сердечника) 6 под действием привода вращения (не показано) захватывает без доступа воздуха материал и транспортирует его в полость райзера 7, где на подающей плоскости 8 при помощи расположенных активаторов 9, винтовой нарезки 5, Фиг.2, материал поддается механическому процессу трения, Фиг.9, при этом в полости между витками 5 идет первичное выделение газопарового агента, Фиг.9, который состоит из пара, газа и водорода. Частично разогретый материал вместе с выделенными газами поступает в зону усеченного конуса 10, где газопаровой агент сжимается и под давлением начинает проникать в структуру разогретого материала, который становится частично деструктивным (полупластичным). Полупластичный материал винтовой нарезкой 5 продавливается в конические отверстия 13 фильеры 12, при этом за счет сдвиговых механических процессов (давления и трения) повышается температура и увеличивается способность проникновения водородосодержащих газов в структуру материала, при этом растет пластичность материала. За стенкой фильеры 12 на полупластичный материал через отверстия 15, 16, 17, 18 в корпусе реактора 14, Фиг.3 через патрубки 19, 20, 21, 22 воздействуют внешними агентами, Фиг.5 (водород, присадки, катализаторы), которые способствуют превращению материала в жидкофазное органическое вещество.
Жидкофазное вещество (ЖВ) захватывается винтовой нарезкой 24, активаторами 25, Фиг.11, -26, Фиг.12, и за счет сложного механического воздействия происходит мгновенное выбрасывание материала от центра к упругой гильзе 23, которая под действием вещества сжимается и образует зазор фракционирования. За счет центробежных сил винтовой нарезки 24 жидкофазное вещество попадает в образованный зазор и поддается фрикционно-сдвиговому воздействию, при этом происходит интенсивное выделение тепла, которое регулируется агентом из полости 30 сердечника (вала) 6 и водяной рубашкой 78 корпуса 14. Деструктивное жидкофазное вещество прокачивается винтовой нарезкой 24 в полость обратного конуса 27, конденсатора 36, где через конические отверстия 38, фильеры 37, ЖВ попадает в каналы 40 с пазухами 41 корпуса-конденсатора 36, и шейки вала 48, где через отверстия 43 корпуса конденсатора 36 подается стабилизирующий агент, Фиг.7, который совместно с водяной рубашкой 78 и охлаждающим агентом полости шейки 31 ускоряет процесс охлаждения ЖВ при этом вещество попадает в каналы 46 вкладышей 45, Фиг.7*, которые расположены в пазах 44 корпуса 36, снижают силу трения, причем сила прижима вкладышей 45 к полой шейке 48 регулируется винтами 47. Охлажденная жидкая фракция сливается в полость 53, фракционатора 50, где через отверстие 54 в нижней крышке 53 сливается для дальнейшей переработки.
Вариант 1: при помощи подогревателя 54 жидкофазная фракция вещества поддается температурному воздействию до нижней точки кипения вещества, где легкая фракция испаряется через регулируемый колпачковый клапан 58. Парогазовая фракция вещества частично конденсирует на нижний усеченный конус 62 холодильника 61, образованный конденсат стекает на плоскость колпачковой ванны 57 и через боковой патрубок 60 сливается в емкость (не показано) для применения, или при закрытом патрубке 60 сливается через переливную трубку 59 в емкость 53 фракционатора 50 для повторного испарения при более высокой температуре.
Вариант 2: легкая газовая фракция через гильзу 65 холодильника 61 попадает на сетчатый каплеуловитель 68, где конденсирует и сливается на дно усеченного конуса 63, холодильника 61 и через боковой патрубок 67 получают конденсат прямого применения. При закрытом боковом патрубке 67 конденсат сливается через переливную трубку 66 на плоскость 57 колпачковой ванны, смешивается с конденсатом колпачковой ванны 57 и через боковой патрубок 60 сливается в емкость (не показано) для дальнейшего применения или через переливную трубку 59 на повторное испарение. При этом верхняя полусферическая крышка 55 содержит отверстие 56 с делительным клапаном 70, через которое сбрасываются неиспользованные агенты 19, 20, 21, 22 в коллектор 71 и отверстие 72, зоны сжатия райзера 7. В рабочем режиме в коллектор 71 сбрасывает аварийное давление из полости реактора 14 через патрубок и аварийный клапан 73, который устанавливается в средней части реактора 14.
При необходимости поддержки устройства в рабочем состоянии без доступа исходного материала (угля) из нижней крышки 51 фракционатора 50 через отверстие 52 с разделительным клапаном 74 в коллектор 75 поступает жидкофазный материал, который нагнетается через отверстие 76 зоны сжатия райзера 7 и циркулирует по кругу устройства при температуре, регулируемой водяной рубашкой 77.
В профилактических целях корпус картера 3 загрузочной трубы 2 выполнен со съемной крышкой и штуцером для подачи воздуха, который может использоваться как дополнительный подпружинивающий агент.
Формула изобретения
1. Механотермохимический реактор, содержащий загрузочный корпус, последовательно выполненные напорный цилиндрический корпус с теплообменной рубашкой, входную фильеру, реакторный корпус, выпускную фильеру, корпус охлаждения (конденсатор), емкость фракционирования (фракционатор), размещенный в них и соединенный с приводом вращения вал с винтовой нарезкой в зоне напорного корпуса и реакторного корпуса, при этом винтовая нарезка вала выполнена с разрывом на участке установки входной фильеры, а шаг винта в напорной части цилиндра выполнен в два раза больше шага винта, выполненного в реакторной зоне, причем винтовая нарезка на подающей стороне содержит активаторы, которые закреплены на подающей стенке винтовой нарезки и направлены от стенки сердечника вала к поверхности цилиндра перпендикулярно, сердечник вала выполнен в виде двухстороннего конуса с полым цилиндром между ними, причем конус, направленный вершиной к приводу, заканчивающийся на участке установки входной фильеры, по меньшей мере, в три и более раз длиннее, чем противоположный конус, заканчивающийся на участке установки выходной фильеры, кроме того, в зоне конденсатора и зоне фракционатора цилиндрический вал шнека выполнен в виде удлиненной шейки, причем вал со стороны противоположной стенки фракционатора и до места расположения входной фильеры выполнен полым с возможностью образования не менее двух полостей переменного объема при помощи двух подвижных перегородок, которые снабжены уплотнением и трубками обмена охлаждающим агентом, загрузочный корпус выполнен большего диаметра, чем шнек вала, а дно корпуса снабжено подпружиненным выталкивателем, тело цилиндрического корпуса реактора с наружной рубашкой теплообмена содержит входную фильеру с коническими отверстиями, вершиной направленными к напорному конусу вала, после фильеры выполнено не менее двух отверстий с патрубками для подачи донорного агента, внутренняя поверхность реакторного корпуса содержит упругую гильзу с возможностью взаимодействия с винтовой нарезкой вала, на выходе из ректора установлена выпускная фильера с коническими отверстиями, вершины которых направлены к реактору, где первая и вторая фильеры образуют реакторную полость, причем площадь отверстий входной фильеры больше площади отверстий выпускной фильеры, к реакторному корпусу присоединен корпус охлаждения с наружной рубашкой теплообмена, содержащий центральное отверстие, в котором проходит удлиненная полая шейка вала, с продольными сквозными полукольцевыми выборками, которые совмещены с отверстиями выпускной фильеры, продольные выборки корпуса охлаждения совместно с удлиненной шейкой вала образуют проточные каналы от реакторного корпуса до фракционатора.
2. Способ изготовления жидкофазного и/или газофазного топлива из твердых горючих ископаемых, включающий подачу измельченного исходного материала в приемное устройство шнека под давлением без доступа воздуха на подпружиненный выталкиватель, обеспечивающий при вращении шнека беспрерывность подачи материала сплошным потоком в полость цилиндра, в котором осуществляют предварительную термическую деструкцию материала при влажности до 40% от его органической массы и допустимой температуре до 260°С, которая возникает при вступлении материала во фрикционное взаимодействие с боковой поверхностью активаторов, установленных на подающей стороне винтовой нарезки шнека, и поверхностью цилиндра, при этом выделяющаяся газопаровая фракция, содержащая водород, под давлением гидрогенизирует разогретый материал, превращая его в экструдируемый пластичный продукт, который через отверстия входной фильеры подается в зону реактора, при этом за счет давления и трения повышается его температура, после выхода из фильеры пластичный продукт насыщается дополнительно подаваемым донорным агентом – водородосодержащим газом, и подвергается сложному ударно-сдвиговому воздействию, при котором под действием водородосодержащих газов и температуры происходит дополнительная гидрогенизация и карбонизация пластичного продукта с интенсивным выделением тепла, которое во избежание перегрева регулируется рубашкой и агентом из внутренней полости вала, в результате чего пластичный продукт превращается в жидкофазное вещество, которое через выходную фильеру подается через конденсатор на фракционирование с получением жидкофазного и/или газофазного топлива.
3. Способ охлаждения экструдируемой смеси в реакторе по п.2, отличающийся тем, что в дополнении к наружной рубашке охлаждения действует внутренняя полость сердечника посекционного адресного охлаждения до допустимой температуры реакционной смеси, приближенной к стенке сердечника, которая под действием вращения вала и активаторов перемещается к поверхности упругого цилиндра, дополнительно размешивает смесь собой и отводит тепло от упругой поверхности, обеспечивая однородность охлаждения смеси по всей длине реактора.
4. Способ охлаждения экструдируемой смеси в зоне реактора по п.2, отличающийся тем, что в дополнение к наружной рубашке охлаждения и внутренней полости локального охлаждения экструдируемая смесь, разогретая за счет трения и давления в полости на выходе из реактора до 480°С, а после выхода из отверстия выходной фильеры в полукольцевых проточных каналах конденсатора поддается сложновинтовому турбулентному движению и одновременно смешиванию с подаваемым внешним агентом по всей длине одного или нескольких проточных каналов, причем по ходу вращения шейки вала смесь перемещается в полость вкладышей, где по схеме винтовой спирали поступает в смещенные относительно друг друга щелевые каналы вкладышей, где охлаждается до допустимой и/или требуемой температуры.
РИСУНКИ
|
|