|
|
(21), (22) Заявка: 2009105490/09, 14.06.2007
(24) Дата начала отсчета срока действия патента:
14.06.2007
(30) Конвенционный приоритет:
18.07.2006 JP 2006-195449
(46) Опубликовано: 10.08.2010
(56) Список документов, цитированных в отчете о поиске:
RU 2144869 C1, 09.02.2006. US 5642270 A, 24.06.1997. FR 2452814 A1, 24.10.1980. DE 19542125 A1, 30.05.1996. JP 200332901 A, 31.01.2003. JP 2005332777 A, 02.12.2005. WO 2006014307 A1, 09.02.2006.
(85) Дата перевода заявки PCT на национальную фазу:
18.02.2009
(86) Заявка PCT:
JP 2007/062476 20070614
(87) Публикация PCT:
WO 2008/010382 20080124
Адрес для переписки:
129090, Москва, ул.Б.Спасская, 25, стр.3, ООО “Юридическая фирма Городисский и Партнеры”, пат.пов. А.В.Мицу, рег. 364
|
(72) Автор(ы):
ИТИКАВА Синдзи (JP), ИСИКАВА Тецухиро (JP)
(73) Патентообладатель(и):
ТОЙОТА ДЗИДОСЯ КАБУСИКИ КАЙСЯ (JP)
|
(54) СИСТЕМА ЭЛЕКТРОПИТАНИЯ, ТРАНСПОРТНОЕ СРЕДСТВО С СИСТЕМОЙ ЭЛЕКТРОПИТАНИЯ, СПОСОБ УПРАВЛЕНИЯ ПОВЫШЕНИЕМ ТЕМПЕРАТУРЫ ДЛЯ УСТРОЙСТВА НАКОПЛЕНИЯ ЭНЕРГИИ И МАШИНОЧИТАЕМЫЙ НОСИТЕЛЬ ЗАПИСИ, СОДЕРЖАЩИЙ ПРОГРАММУ, ПОБУЖДАЮЩУЮ КОМПЬЮТЕР ВЫПОЛНЯТЬ УПРАВЛЕНИЕ ПОВЫШЕНИЕМ ТЕМПЕРАТУРЫ УСТРОЙСТВА НАКОПЛЕНИЯ ЭНЕРГИИ
(57) Реферат:
Изобретение относится к области электротехники и может быть использовано для повышения температуры устройства накопления энергии, включенного в систему электропитания транспортного средства. Техническим результатом является обеспечение быстрого повышения температуры устройства накопления энергии. Первый блок (50-1) управления напряжением включает в себя первый блок (54-1) пропорционально-интегрального (PI) регулирования, первый блок (55-1) переключения и первый блок (56-1) вычитания. Первый блок (56-1) вычитания вычитает выходной сигнал первого блока (55-1) переключения из обратного числа теоретического коэффициента повышения преобразователя (8-1), представленного как (значение (Vb1) напряжения)/(напряжение (VR1) задания), что является элементом компенсации возмущения по напряжению. Аналогично, второй блок (50-2) управления напряжением включает в себя второй блок (54-2) пропорционально-интегрального (PI) регулирования, второй блок (55-2) переключения и второй блок (56-2) вычитания. Блок (70) управления переключением управляет первым и вторым блоками (55-1) и (55-2) переключения в ходе управления повышением температуры, чтобы управлять блоком пропорционально-интегрального (PI) регулирования для блока управления напряжением на стороне разрядки и отсекать выходной сигнал блока пропорционально-интегрального (PI) регулирования для блока управления напряжением на стороне зарядки. 4 н. и 4 з.п. ф-лы, 14 ил.
Область техники, к которой относится изобретение
Изобретение относится к методике управления для повышения температуры устройства накопления энергии, включенного в систему электропитания.
Уровень техники
В последние годы транспортные средства, такие как гибридное транспортное средство и электрическое транспортное средство, которые оборудованы электродвигателем в качестве источника энергии, усовершенствованы так, чтобы увеличить емкость блока накопления энергии для улучшения характеристик привода, к примеру, характеристик ускорения и непрерывного расстояния поездки. Конструкция, имеющая множество устройств накопления энергии, предложена в качестве средства для увеличения емкости блока модуля накопления энергии.
Выложенный патент (Япония) номер 2003-209969 раскрыл систему управления электропитанием, оснащенную множеством каскадов электропитания. Эта система управления электропитанием включает в себя множество каскадов электропитания, которые соединены между собой параллельно и подают энергию постоянного тока, по меньшей мере, на один инвертор. Каждый каскад источников питания включает в себя аккумулятор и вольтодобавочный/компенсирующий преобразователь постоянного тока.
В этой системе управления электропитанием множество каскадов электропитания управляются таким образом, чтобы поддерживать выходное напряжение инвертора посредством единообразной зарядки и разрядки множества аккумуляторов, которые включены в соответствующие каскады электропитания.
В общем, в устройстве накопления энергии, таком как аккумуляторная батарея и конденсатор, емкость понижается с понижением температуры так, что при этом ухудшается свойство зарядки/разрядки. Следовательно, в гибридном транспортном средстве и других температура устройства накопления энергии должна быстро увеличиваться, когда температура устройства накопления энергии низка, после того, как система транспортного средства запущена. В частности, в системе, имеющей множество устройств накопления энергии, такой как система управления электропитанием, раскрытая в вышеупомянутом Выложенном Патенте (Япония) номер 2003-209969, необходимо увеличивать температуру устройства накопления энергии перед началом движения для достаточного получения достоинств большой емкости блока модуля накопления энергии.
Тем не менее, вышеупомянутый патент (Япония) номер 2003-209969 просто раскрыл, что устройство накопления энергии выполнено с возможностью равномерно заряжать и разряжать множество аккумуляторов, включенных в соответствующие каскады электропитания, и подробно не пояснил способ для быстрого повышения температуры множества устройств накопления энергии при низкой температуре.
Сущность изобретения
Целью изобретения является обеспечение системы электропитания, имеющей блок накопления энергии, температура которого может быть быстро повышена, а также транспортного средства, обеспеченного системой электропитания.
Другой целью изобретения является обеспечение способа управления повышением температуры для быстрого повышения температуры блока накопления энергии.
Дополнительной другой целью изобретения является обеспечение машиночитаемого носителя записи, который содержит программу для побуждения компьютера выполнять управление повышением температуры для быстрого повышения температуры блока накопления энергии.
Согласно изобретению система электропитания способна подавать электроэнергию в устройство нагрузки и включает в себя первое и второе устройства накопления энергии, допускающие зарядку и разрядку, линию питания, первый и второй преобразователи, устройство управления и первый датчик напряжения. Линия питания выполнена с возможностью способствовать подаче и приему электроэнергии между системой электропитания и устройством нагрузки. Первый преобразователь размещен между первым устройством накопления энергии и линией питания и выполняет преобразование напряжения между первым устройством накопления энергии и линией питания. Второй преобразователь размещен между вторым устройством накопления энергии и линией питания и выполняет преобразование напряжения между вторым устройством накопления энергии и линией питания. Устройство управления управляет первым и вторым преобразователями. Первый датчик напряжения считывает напряжение на линии питания. В ходе управления повышением температуры, выполняемого для повышения температуры, по меньшей мере, одного из первого и второго устройств накопления энергии посредством подачи и приема электроэнергии между первым и вторым устройствами накопления энергии через первый и второй преобразователи и линию питания, устройство управления управляет одним из первого и второго преобразователей на основе результата операции по регулированию с обратной связью по напряжению, использующему отклонение между напряжением задания на линии питания и напряжением, считанным первым датчиком напряжения, и управляет другим преобразователем на основе результата операции по регулированию с возмущением по напряжению, не использующему отклонение.
Предпочтительно устройство управления включает в себя первый и второй блоки управления и блок управления переключением. Первый и второй блоки управления управляют первым и вторым преобразователями соответственно. Блок управления переключением формирует инструкцию переключения, разрешающую переключение между регулированием с обратной связью по напряжению и регулированием с возмущением по напряжению, и обеспечивает инструкцию переключения в каждый из первого и второго блоков управления в ходе управления повышением температуры. Каждый из первого и второго блоков управления включает в себя блок компенсации обратной связи по напряжению, блок компенсации возмущения по напряжению и блок переключения. Блок компенсации обратной связи по напряжению выполнен с возможностью способствовать выполнению регулирования с обратной связью по напряжению соответствующего преобразователя. Блок компенсации возмущения по напряжению выполнен с возможностью способствовать выполнению регулирования возмущением по напряжению соответствующего преобразователя. Блок переключения выполнен с возможностью способствовать выборочной активации и деактивации функции блока компенсации обратной связи по напряжению согласно инструкции переключения. Блок управления переключением формирует, в ходе управления повышением температуры, инструкцию переключения, чтобы активировать функцию блока компенсации обратной связи по напряжению одного из первого и второго блоков управления и деактивировать функцию блока компенсации обратной связи по напряжению другого блока управления.
Дополнительно предпочтительно система электропитания дополнительно включает в себя второй и третий датчики напряжения. Второй и третий датчики напряжения считывают напряжение первого и второго устройств накопления энергии соответственно. Блок компенсации возмущения по напряжению использует в качестве величины компенсации соотношение между напряжением соответствующего устройства накопления энергии, считанным вторым или третьим датчиком напряжения, и напряжением задания линии питания.
Предпочтительно устройство управления выполнено с возможностью, в ходе управления повышением температуры, управлять преобразователем, соответствующим устройству накопления энергии на стороне разрядки, на основе результата операции регулирования с обратной связью по напряжению и управлять преобразователем, соответствующим устройству накопления энергии на стороне зарядки, на основе результата операции регулирования с возмущением по напряжению.
Дополнительно предпочтительно каждый из первого и второго преобразователей включает в себя схему двухквадрантного прерывателя. Устройство управления управляет, в ходе управления повышением температуры, преобразователем, соответствующим устройству накопления энергии на стороне зарядки, чтобы включить переключающий элемент, формирующий плечо преобразователя, соответствующего устройству накопления энергии на стороне зарядки.
Кроме того, согласно изобретению транспортное средство включает в себя одну из систем электропитания, описанных выше; и блок генерирования мощности привода, принимающий электроэнергию от системы электропитания и генерирующий мощность привода транспортного средства.
Дополнительно, изобретение обеспечивает способ управления повышением температуры для устройства накопления энергии в системе электропитания, способной подавать электроэнергию в устройство нагрузки. Система электропитания включает в себя первое и второе устройства накопления энергии, допускающие зарядку и разрядку, линию питания, первый и второй преобразователи и датчик напряжения. Линия питания способна подавать и принимать электроэнергию между системой электропитания и устройством нагрузки. Первый преобразователь размещен между первым устройством накопления энергии и линией питания и выполняет преобразование напряжения между первым устройством накопления энергии и линией питания. Второй преобразователь размещен между вторым устройством накопления энергии и линией питания и выполняет преобразование напряжения между вторым устройством накопления энергии и линией питания. Датчик напряжения считывает напряжение на линии питания. Способ управления повышением температуры включает в себя первый этап управления одним из первого и второго преобразователей на основе результата операции по регулированию с обратной связью по напряжению, использующему отклонение между напряжением задания на линии питания и напряжением, считанным первым датчиком напряжения, в ходе управления повышением температуры, выполненного для повышения температуры, по меньшей мере, одного из первого и второго устройств накопления энергии посредством подачи и приема электроэнергии между первым и вторым устройствами накопления энергии через первый и второй преобразователи и линию питания; и второй этап управления другим преобразователем на основе результата операции по регулированию с возмущением по напряжению, не использующему отклонение.
Дополнительно, изобретение обеспечивает машиночитаемый носитель записи, содержащий программу для побуждения компьютера выполнять управление повышением температуры устройства накопления энергии в системе электропитания, способной подавать электроэнергию на устройство нагрузки. Система электропитания включает в себя первое и второе устройства накопления энергии, позволяющие зарядку и разрядку, линию питания, первый и второй преобразователи и датчик напряжения. Линия питания выполнена с возможностью способствовать подаче и приему электроэнергии между системой электропитания и устройством нагрузки. Первый преобразователь размещен между первым устройством накопления энергии и линией питания и выполняет преобразование напряжения между первым устройством накопления энергии и линией питания. Второй преобразователь размещен между вторым устройством накопления энергии и линией питания и выполняет преобразование напряжения между вторым устройством накопления энергии и линией питания. Датчик напряжения считывает напряжение на линии питания. Носитель записи содержит программу для побуждения компьютера выполнять первый этап управления одним из первого и второго преобразователей на основе результата операции по регулированию с обратной связью по напряжению, использующему отклонение между напряжением задания на линии питания и напряжением, считанным первым датчиком напряжения, в ходе управления повышением температуры, выполненного для повышения температуры, по меньшей мере, одного из первого и второго устройств накопления энергии посредством подачи и приема электроэнергии между первым и вторым устройствами накопления энергии через первый и второй преобразователи и линию питания; и второй этап управления другим преобразователем на основе результата операции по регулированию с возмущением по напряжению, не использующему отклонение.
В изобретении первый преобразователь размещен между первым устройством накопления энергии и линией питания, а второй преобразователь размещен между вторым устройством накопления энергии и линией питания. В ходе управления повышением температуры, выполняемого для повышения температуры, по меньшей мере, одного из первого и второго устройств накопления энергии, устройство управления управляет одним из первого и второго преобразователей посредством управления с обратной связью по напряжению, и управляет другим преобразователем посредством управления с возмущением по напряжению. Следовательно, электроэнергия может быть передана между первым и вторым устройствами накопления энергии через первый и второй преобразователи, а также линию питания, при этом предотвращая помехи между двумя системами управления напряжением, которые управляют первым и вторым преобразователями соответственно.
Согласно изобретению, следовательно, температура первого и второго устройств накопления энергии может быть быстро увеличена. Как результат, требуемые характеристики привода могут быть обеспечены во время и после старта привода транспортного средства, даже когда оно выполнено при низкой температуре.
Краткое описание чертежей
Фиг.1 – это общая блок-схема транспортного средства согласно первому варианту осуществления изобретения.
Фиг.2 показывает схематичные конструкции преобразователей, показанных на Фиг.1.
Фиг.3 – это функциональная блок-схема электронного блока управления (ECU) преобразователя, показанного на Фиг.1.
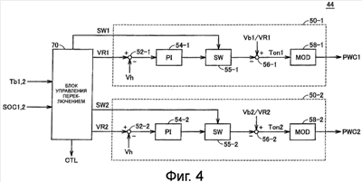
Фиг.4 – это функциональная блок-схема, детально показывающая блок управления повышением температуры на Фиг.3.
Фиг.5 – это блок-схема последовательности операций управления повышением температуры посредством блока управления повышением температуры, показанного на Фиг.4.
Фиг.6 – это первая схема, показывающая поток электроэнергии в ходе управления повышением температуры.
Фиг.7 – это вторая схема, показывающая поток электроэнергии в ходе управления повышением температуры.
Фиг.8 – это блок-схема последовательности операций управления повышением температуры в модификации первого варианта осуществления.
Фиг.9 – это функциональная блок-схема, детально показывающая блок управления повышением температуры во втором варианте осуществления.
Фиг.10 – это блок-схема последовательности операций управления повышением температуры блоком управления повышением температуры, показанным на Фиг.9.
Фиг.11 – это первая схема, показывающая поток электроэнергии в ходе управления повышением температуры во втором варианте осуществления.
Фиг.12 – это вторая схема, показывающая поток электроэнергии в ходе управления повышением температуры во втором варианте осуществления.
Фиг.13 – это функциональная блок-схема, детально показывающая блок управления повышением температуры в модификации второго варианта осуществления.
Фиг.14 – это блок-схема последовательности операций управления повышением температуры блоком управления повышением температуры, показанным на Фиг.13.
Оптимальный режим осуществления изобретения
Далее описываются варианты осуществления изобретения со ссылкой на чертежи. На чертежах одинаковые или соответствующие компоненты содержат одинаковые номера ссылок, и их описание не повторяется.
(Первый вариант осуществления)
Фиг.1 является общей блок-схемой, показывающей транспортное средство первого варианта осуществления изобретения. Ссылаясь на Фиг.1, транспортное средство 100 включает в себя систему 1 электропитания и блок 3 генерирования мощности привода. Блок 3 генерирования мощности привода включает в себя инверторы 30-1 и 30-2, двигатель-генераторы 34-1 и 34-2, механизм 36 передачи мощности, приводной вал 38 и ECU (электронный блок управления ) 32 возбуждением.
Инверторы 30-1 и 30-2 подключены параллельно к линии MPL главной положительной шины и линии MNL главной отрицательной шины. Инверторы 30-1 и 30-2 преобразуют мощность привода (мощность постоянного тока), подаваемую из системы 1 электропитания, в мощность переменного тока и обеспечивают ее в двигатель-генераторы 34-1 и 34-2 соответственно. Инверторы 30-1 и 30-2 преобразуют мощность переменного тока, генерируемую двигатель-генераторами 34-1 и 34-2, в мощность постоянного тока и обеспечивают ее как рекуперативную мощность в систему 1 электропитания.
Каждый из инверторов 30-1 и 30-2 сформирован, к примеру, по мостовой схеме, включающей в себя трехфазные переключающие элементы. Инверторы 30-1 и 30-2 выполняют операции переключения согласно сигналам PWM1 и PWM2 возбуждения, обеспеченным из ECU 32 возбуждением, и таким образом приводят в действие соответствующие двигатель-генераторы соответственно.
Двигатель-генераторы 34-1 и 34-2 принимают мощность переменного тока из инверторов 30-1 и 30-2 и таким образом генерируют вращательную мощность привода соответственно. Двигатель-генераторы 34-1 и 34-2 принимают подаваемую извне вращательную мощность и тем самым генерируют мощность переменного тока. Например, каждый из двигатель-генераторов 34-1 и 34-2 сформирован из трехфазного поворотного двигателя переменного тока, оснащенного ротором, с встроенным постоянным магнитом. Электродвигать-генераторы 34-1 и 34-2 подсоединены к механизму 36 передачи мощности для передачи вращательной мощности привода на колеса (не показаны) через приводной вал 38, подсоединенный к механизму 36 передачи мощности.
В случае, если блок 3 генерирования мощности привода используется в гибридном транспортном средстве, двигатель-генераторы 34-1 и 34-2 также подключены к мотору (не показан) через механизм 36 передачи мощности или приводной вал 38. ECU 32 возбуждением выполняет управление, чтобы достигнуть оптимального соотношения между мощностью привода, генерируемой мотором, и мощностями привода, генерируемыми двигатель-генераторами 34-1 и 34-2. В этой конструкции, используемой в гибридном транспортном средстве, один из двигатель-генераторов 34-1 и 34-2 может работать исключительно как электродвигатель, и другой двигатель-генератор может работать исключительно как генератор мощности.
ECU 32 возбуждением вычисляет заданные значения TR1 и TR2 крутящего момента, а также заданные значения MRN1 и MRN2 скорости вращения двигатель-генераторов 34-1 и 34-2 на основе сигналов, передаваемых от различных датчиков (не показаны), условий эксплуатации и степени нажатия акселератора и т.п. Кроме того, ECU 32 возбуждением формирует сигналы PWM1 и PWM2 возбуждения, чтобы управлять инверторами 30-1 и 30-2 таким образом, что генерируемые крутящие моменты и скорости вращения двигатель-генераторов 34-1 и 34-2 могут достигнуть заданных значений TR1 и TR2 крутящего момента и заданных значений MRN1 и MRN2 скорости вращения соответственно. Дополнительно, ECU 32 возбуждением обеспечивает заданные значения TR1 и TR2 крутящего момента, а также заданные значения MRN1 и MRN2 скорости вращения, вычисленные таким образом, в ECU 2 преобразователя (который описан далее) системы 1 электропитания.
Система 1 электропитания включает в себя устройства 6-1 и 6-2 накопления энергии, преобразователи 8-1 и 8-2, сглаживающий конденсатор C, ECU 2 преобразователя, ECU 4 аккумулятора, датчики 10-1 и 10-2 тока, датчики 12-1, 12-2 и 18 напряжения и датчики 14-1 и 14-2 температуры.
Устройства 6-1 и 6-2 накопления энергии являются заряжаемыми и разряжаемыми источниками питания постоянного тока, и каждый из них сформирован из вторичного аккумулятора, такого как никель-водородный аккумулятор или литиево-ионный аккумулятор. Устройство 6-1 накопления энергии подключено к преобразователю 8-1 через положительную линию PL1 и отрицательную линию NL1. Устройство 6-2 накопления энергии подключено к преобразователю 8-2 через положительную линию LP2 и отрицательную линию NL2. Устройства 6-1 и 6-2 накопления энергии могут быть сформированы из электрических двухслойных конденсаторов.
Преобразователь 8-1 размещен между устройством 6-1 накопления энергии и парой из линии MPL главной положительной шины и линии MNL главной отрицательной шины и выполняет преобразование напряжения между устройством 6-1 накопления энергии и парой из линии MPL главной положительной шины и линии MNL главной отрицательной шины на основе сигнала PWC1 возбуждения из ECU 2 преобразователя. Преобразователь 8-2 размещен между устройством 6-2 накопления энергии и парой линии MPL главной положительной шины и линии MNL главной отрицательной шины и выполняет преобразование напряжения между устройством 6-2 накопления энергии и парой линии MPL главной положительной шины и линии MPL главной отрицательной шины на основе сигнала PWC2 возбуждения от ECU 2 преобразователя.
Сглаживающий конденсатор C подключен между линией MPL главной положительной шины и линией MNL главной отрицательной шины и уменьшает переменные составляющие мощности, включенные в линию MPL главной положительной шины и линию MNL главной отрицательной шины. Датчик 18 считывает напряжение Vh в линии MPL главной положительной шины и линии MNL главной отрицательной шины и предоставляет результат считывания в ECU 2 преобразователя.
Датчики 10-1 и 10-2 тока считывают токи значений Ib1 и Ib2, обеспеченных в/из устройств 6-1 и 6-2 накопления энергии соответственно, и каждый из них предоставляет результат замера в ECU 2 преобразователя и ECU 4 аккумулятора. Датчики 10-1 и 10-2 тока считывают токи (токи разрядки), подаваемые из соответствующих устройств накопления энергии, как положительные значения, и считывают токи (токи зарядки), подаваемые в соответствующие устройства накопления энергии, как отрицательные значения. В конструкции, показанной на фигуре, датчики 10-1 и 10-2 тока считывают значения тока положительных линий PL1 и PL2 соответственно. Тем не менее, датчики 10-1 и 10-2 тока могут считывать токи отрицательных линий NL1 и NL2 соответственно.
Датчики 12-1 и 12-2 напряжения считывают значения Vb1 и Vb2 устройств напряжения устройств 6-1 и 6-2 накопления энергии соответственно, и каждый из них предоставляет результат считывания в ECU 2 преобразователя и ECU 4 аккумулятора. Датчики 14-1 и 14-2 температуры считывают внутренние температуры Tb1 и Tb2 устройств 6-1 и 6-2 накопления энергии соответственно, и предоставляют результаты считывания в ECU 4 аккумулятора.
ECU 4 аккумулятора вычисляет параметр состояния SOC1, который представляет SOC (состояние заряда батареи) устройства 6-1 накопления энергии, на основе значения тока Ib1 от датчика 10-1 тока, значения Vb1 напряжения от датчика 12-1 напряжения и температуры Tb1 от датчика 14-1 температуры и предоставляет параметр состояния SOC1, вычисленный таким образом, в ECU 2 преобразователя вместе с температурой Tb1.
ECU 4 аккумулятора вычисляет параметр состояния SOC2, который представляет SOC устройства 6-2 накопления энергии, на основе значения тока Ib2 от датчика 10-2 тока, значения Vb2 напряжения от датчика 12-2 напряжения и температуры Tb2 от датчика 14-2 температуры и предоставляет параметр SOC2 состояния, вычисленный таким образом, в ECU 2 преобразователя вместе с температурой Tb2. Различные известные способы могут использоваться для вычисления параметров состояния SOC1 и SOC2.
ECU 2 преобразователя формирует сигналы PWC1 и PWC2 возбуждения для приведения в действие преобразователей 8-1 и 8-2 на основе различных считанных значений, предоставленных от датчиков 10-1 и 10-2 тока, датчиков 12-1 и 12-2 напряжения и датчика 18 напряжения, а также температур Tb1 и Tb2 и параметров состояния SOC1 и SOC2, предоставленных от ECU 4 аккумулятора, и заданных значений TR1 и TR2 крутящего момента и заданных значений MRN1 и MRN2 скорости вращения, предоставленных от ECU 32 возбуждением. ECU 2 преобразователя обеспечивает сигналы PWC1 и PWC2 возбуждения, сформированные таким образом, в преобразователи 8-1 и 8-2 для управления преобразователями 8-1 и 8-2 соответственно. Конструкция ECU 2 преобразователя подробнее описывается ниже.
Фиг.2 показывает схематичные конструкции преобразователей 8-1 и 8-2, показанных на Фиг.1. Конструкция и работа преобразователя 8-2 является практически такой же, как и для преобразователя 8-1, и поэтому следующее описание предоставлено для конструкции и работы преобразователя 8-1. Ссылаясь на Фиг.2, преобразователь 8-1 включает в себя схему 40-1 прерывателя, линию LN1A положительной шины, линию LN1C отрицательной шины, межсоединение LN1B и сглаживающий конденсатор C1. Схема 40-1 прерывателя включает в себя транзисторы Q1A и Q1B, диоды D1A и D1B и катушку индуктивности L1.
Один из концов линии LN1A положительной шины подключен к коллектору транзистора Q1B, а другой подключен к линии MPL главной положительной шины. Один из концов линии LN1C отрицательной шины подключен к отрицательной линии NL1, а другой подключен к линии MNL главной отрицательной шины.
Транзисторы Q1A и Q1B подключены последовательно между линией LN1C отрицательной шины и линией LN1A положительной шины. В частности, эмиттер транзистора Q1A подключен к линии LN1C отрицательной шины, а коллектор транзистора Q1B подключен к линии LN1A положительной шины. Диоды D1A и D1B подключены встречно-параллельно транзисторам Q1A и Q1B соответственно. Катушка индуктивности L1 подключена к узлу между транзисторами Q1A и Q1B.
Один конец межсоединения LN1B подключен к положительной линии PL1, и другой конец подключен к катушке индуктивности L1. Сглаживающий конденсатор C1 подключен между межсоединением LN1B и линией LN1C отрицательной шины и уменьшает составляющие переменного тока, содержащиеся в напряжении постоянного тока между межсоединением LN1B и линией LN1C отрицательной шины.
В ответ на сигнал PWC1 возбуждения от ECU 2 преобразователя (не показан) схема 40-1 прерывателя повышает мощность постоянного тока (мощность привода), принятую от положительной и отрицательной линий PL1 и NL1 в ходе операции разрядки устройства 6-1, накопления энергии, и понижает мощность постоянного тока (рекуперативную мощность), принятую из линии MPL главной положительной шины и линии MNL главной отрицательной шины в ходе операции зарядки устройства 6-1 накопления энергии.
Далее описываются операции преобразования напряжения (операции повышения и понижения) преобразователя 8-1. При операции повышения ECU2 преобразователя ECU 2 преобразователя поддерживает транзистор Q1B отключенным и включает/выключает транзистор Q1A с предварительно определенной продолжительностью включения. В течение периода включенного состояния транзистора Q1A ток разрядки протекает от устройства 6-1 накопления энергии в линию MPL главной положительной шины через межсоединение LN1B, катушку индуктивности L1, диод D1B и линию LN1A положительной шины. Одновременно ток накачки протекает от устройства 6-1 накопления энергии через межсоединение LN1B, катушку индуктивности L1, транзистор Q1A и линию LN1C отрицательной шины. Катушка индуктивности L1 накапливает электромагнитную энергию посредством этого тока накачки. Когда транзистор Q1A переходит из включенного состояния в отключенное состояние, катушка индуктивности L1 отдает накопленную электромагнитную энергию в ток разрядки. Следовательно, среднее напряжение мощности постоянного тока, подаваемой от преобразователя 8-1 в линию MPL главной положительной шины и линию MNL главной отрицательной шины, повышается на величину, соответствующую электромагнитной энергии, накопленной в катушке индуктивности L1 согласно продолжительности включения.
При операции понижения ECU 2 преобразователя включает/выключает транзистор Q1B с предварительно определенной продолжительностью включения и поддерживает транзистор Q1A отключенным. В течение периода выключенного состояния транзистора Q1B ток зарядки протекает от линии MPL главной положительной шины в устройство 6-1 накопления энергии через линию LN1A положительной шины, транзистор Q1B, катушку индуктивности L1 и межсоединение LN1B. Когда транзистор Q1B меняет состояние от включенного в отключенное состояние, катушка индуктивности L1 генерирует магнитный поток, который может предотвращать изменения в токе так, чтобы ток зарядки продолжил протекание через диод D1A, катушку индуктивности L1 и межсоединение LN1B. С точки зрения электроэнергии линия MPL главной положительной шины и линия MNL главной отрицательной шины подают мощность постоянного тока только в течение периода включенного состояния транзистора Q1B, и поэтому среднее напряжение мощности постоянного тока, подаваемой от преобразователя 8-1 в устройство 6-1 накопления энергии, принимает значение, полученное посредством умножения напряжения постоянного тока между линией MPL главной положительной шины и линией MNL главной отрицательной шины на продолжительность включения, при условии, что ток зарядки поддерживается постоянным (т.е. катушка индуктивности L1 имеет достаточно большую индуктивность).
Для управления операцией преобразования напряжения преобразователя 8-1, ECU 2ECU 2 преобразователя формирует сигнал PWC1 возбуждения, сформированный из сигнала PWC1A возбуждения для управления включением/выключением транзистора Q1A и сигнала PWC1B возбуждения для управления включением/выключением транзистора Q1B.
Фиг.3 является функциональной блок-схемой ECU 2 преобразователя, показанного на Фиг.1. Ссылаясь на Фиг.3, ECU 2 преобразователя включает в себя блок 42 управления, работающий в ходе эксплуатации, и блок-модуля 44 управления повышением температуры.
Блок 42 управления, работающий в ходе эксплуатации, принимает заданные значения TR1 и TR2 крутящего момента, а также заданные значения MRN1 и MRN2 скорости вращения двигатель-генераторов 34-1 и 34-2 от ECU32 возбуждением. Блок 42 управления, работающий в ходе эксплуатации, принимает значение Vh напряжения от датчика напряжения 18, а также принимает значения Ib1 и Ib2 тока от датчиков 10-1 и 10-2 тока соответственно.
Когда сигнал управления комплементарной транзисторной логики (CTL) от блока 42 управления, работающего в ходе эксплуатации, является неактивным, т.е. когда блок-модуль 44 управления повышением температуры не выполняет управление повышением температуры, блок 42 управления, работающий в ходе эксплуатации, формирует на основе вышеупомянутых сигналов сигналы PWC1 и PWC2 возбуждения для возбуждения преобразователей 8-1 и 8-2 и предоставляет сигналы PWC1 и PWC2 возбуждения, сформированные таким образом, в преобразователи 8-1 и 8-2 соответственно. Когда сигнал управления CTL активен, т.е. когда блок-модуль 44 управления повышением температуры выполняет управление повышением температуры, блок 42 управления, работающий в ходе эксплуатации, прекращает формирование сигналов PWC1 и PWC2 возбуждения.
Блок 44 управления повышением температуры принимает температуры Tb1 и Tb2, а также параметры состояния SOC1 и SOC2 от ECU 4 аккумулятора. Блок 44 управления повышением температуры также принимает значения Vb1 и Vb2 напряжения от датчиков 12-1 и 12-2 напряжения соответственно, а также принимает значение Vh напряжения от датчика 18 напряжения. Блок 44 управления повышением температуры выполняет управление повышением температуры для повышения температуры устройств 6-1 и 6-2 накопления энергии посредством подачи и приема электроэнергии между устройствами 6-1 и 6-2 накопления энергии через преобразователи 8-1 и 8-2, а также линию MPL главной положительной шины и линию MNL главной отрицательной шины, когда одна из температур Tb1 и Tb2, указывающих устройства 6-1 и 6-2 накопления мощности, ниже определенного значения.
Более конкретно, когда одна из температур Tb1 и Tb2 ниже, чем определенное значение, блок 44 управления повышением температуры формирует сигналы PWC1 и PWC2 возбуждения посредством способа, который описан далее, на основе вышеупомянутых соответствующих сигналов. Блок 44 управления повышением температуры предоставляет сигналы PWC1 и PWC2 возбуждения, сформированные таким образом, в преобразователи 8-1 и 8-2 соответственно, и активирует сигнал управления CTL, предоставляемый в блок 42 управления, работающий в ходе эксплуатации.
Фиг.4 – это особая функциональная блок-схема блока 44 управления повышением температуры, показанного на Фиг.3. Ссылаясь на Фиг.4, блок 44 управления повышением температуры включает в себя блоки 50-1 и 50-2 управления напряжением, а также блок 70 управления переключением.
Блок 50-1 управления напряжением включает в себя блоки 52-1 и 56-1 вычитания, блок 54-1 пропорционально-интегрального (PI) регулирования, блок 55-1 переключения и блок 58-1 модуляции. Блок 52-1 вычитания вычитает значение Vh напряжения из заданного напряжения VR1, предоставленного из блока 70 управления переключением, и предоставляет результат этой операции в блок 54-1 пропорционально-интегрального (PI) регулирования. Блок 54-1 пропорционально-интегрального (PI) регулирования выполняет пропорционально-интегрирующую операцию, используя в качестве входных данных отклонение между напряжением VR1 задания и значением Vh напряжения, и предоставляет результат этой операции в блок 55-1 переключения. Таким образом, блок 54-1 пропорционально-интегрального (PI) регулирования является элементом компенсации обратной связи по напряжению (что в дальнейшем может также упоминаться как “ОС по напряжению”), используя отклонение между напряжением VR1 задания и значением Vh напряжения.
Когда сигнал SW1 переключения, обеспеченный от блока 70 управления переключением, активен, блок 55-1 переключения предоставляет результат операции блока 54-1 пропорционально-интегрального (PI) регулирования в блок 56-1 вычитания. Когда сигнал SW1 переключения является неактивным, блок 55-1 переключения предоставляет значение 0 в блок 56-1 вычитания вместо результата операции блока 54-1 пропорционально-интегрального (PI) регулирования. Таким образом, когда сигнал SW1 переключения активен, блок 55-1 переключения активирует управление с ОС по напряжению, которое должно быть выполнено посредством блока 54-1 пропорционально-интегрального (PI) регулирования. Когда сигнал SW1 переключения является неактивным, он деактивирует управление с ОС по напряжению, которое должно быть выполнено посредством блока 54-1 пропорционально-интегрального (PI) регулирования.
Блок 56-1 вычитания вычитает выходной сигнал блока 55-1 переключения из обратного числа теоретического коэффициента повышения преобразователя 8-1, представленного как (значение Vb1 напряжения)/(напряжение VR1 задания), и предоставляет результат этой операции в блок 58-1 модуляции как рабочую инструкцию Ton1. Таким образом, входной элемент (значение Vb1 напряжения)/( напряжение VR1 задания) в этом блоке 56-1 вычитания является элементом компенсации возмущения по напряжению (что в дальнейшем может также упоминаться как “возмущение по напряжению”) на основе теоретического коэффициента повышения преобразователя 8-1.
Блок 58-1 модуляции формирует сигналы PWC1 возбуждения на основе рабочей инструкции Ton1 и несущей волны, сформированной посредством блока колебания (не показан), и предоставляет сигналы PWC1 возбуждения, сформированные таким образом, в транзисторы Q1A и Q1B преобразователя 8-1.
Блок 50-2 управления напряжением включает в себя блоки 52-2 и 56-2 вычитания, блок 54-2 пропорционально-интегрального (PI) регулирования, блок 55-2 переключения и блок 58-2 модуляции. Блок 50-2 управления напряжением имеет практически такую же конструкцию, что и блок 50-1 управления напряжением. Таким образом, блок 54-2 пропорционально-интегрального (PI) регулирования является элементом компенсации ОС по напряжению, использующим отклонение между напряжением VR2 задания и значением Vh напряжения, а входной элемент (значение Vb2 напряжения)/(напряжение VR2 задания) блока вычитания 56-2 является элементом компенсации с возмущением по напряжению на основе теоретического коэффициента повышения преобразователя 8-2. Когда сигнал SW2 переключения, предоставленный от блока 70 управления переключением, активен, блок 55-2 переключения активирует функцию регулирования с возмущением по напряжению, которая должна выполняться посредством блока 54-2 пропорционально-интегрального (PI) регулирования. Когда сигнал SW2 переключения является неактивным, он деактивирует функцию регулирования с возмущением по напряжению, которая должна выполняться посредством блока 54-2 пропорционально-интегрального (PI) регулирования.
Блок 70 управления переключением определяет на основе температур Tb1 и Tb2, должно ли управление повышением температуры устройств 6-1 и 6-2 накопления энергии быть выполнено или нет, и активирует сигнал CTL управления, который должен быть предоставлен в блок 42 управления, работающий в ходе эксплуатации, показанный на Фиг.3, когда управление повышением температуры должно быть выполнено. При управлении повышением температуры блок 70 управления переключением формирует напряжения VR1 и VR2 задания преобразователей 8-1 и 8-2, а также сигнал SW1 и SW2 переключения на основе температур Tb1 и Tb2 и параметров состояния SOC1 и SOC2 соответственно, предоставляет напряжение VR1 задания и сигнал SW1 переключения в блок 50-1 управления напряжением и предоставляет напряжение VR2 задания и сигнал SW2 переключения в блок 50-2 управления напряжением.
Фиг.5 – это блок-схема последовательности операций управления повышением температуры посредством блока 44 управления повышением температуры, показанного на Фиг.4. Обработка, показанная в этой блок-схеме последовательности операций, вызывается для выполнения из основной программы с предварительно определенными интервалами времени или когда удовлетворены предварительно определенные условия (например, при запуске системы).
Ссылаясь на Фиг.4 и 5, блок 70 управления переключением определяет, ниже ли температура Tb1 от температурного датчика 14-1 или температура Tb2 от температурного датчика 14-2, чем заданная пороговая температура Tth (например, +10°C), или нет (этап S10). Когда блок 70 управления переключением определяет, что обе температуры Tb1 и Tb2 равны или выше, чем пороговая температура Tth (НЕТ на этапе S10), он продвигает обработку к этапу S110 и деактивирует сигнал CTL управления, предоставленный в блок 42 управления, работающий в ходе эксплуатации (Фиг.3).
Когда определено на этапе S10, что температура Tb1 или Tb2 ниже, чем пороговая температура Tth (ДА на этапе S10), блок 70 управления переключением активирует сигнал CTL управления, который должен быть предоставлен в блок 42 управления, работающий в ходе эксплуатации. Блок 70 управления переключением определяет, меньше параметр состояния SOC1, чем параметр состояния SOC2, или нет (этап S20).
Когда блок 70 управления переключением определяет, что параметр состояния SOC1 меньше, чем параметр состояния SOC2 (ДА на этапе S20), он устанавливает состояние устройства 6-1 и 6-2 накопления энергии на стороне зарядки и стороне разрядки соответственно (этап S30). Блок 70 управления переключением деактивирует сигнал SW1 переключения, предоставленный для блока 55-1 переключения из блока 50-1 управления напряжением, и активирует сигнал SW2 переключения, предоставленный для блока 55-2 переключения из блока 50-2 управления напряжением (этап S40).
Таким образом, функция регулирования с ОС по напряжению посредством блока 54-1 пропорционально-интегрального (PI) регулирования деактивирована в блоке 50-1 управления напряжением, соответствующем устройству 6-1 накопления энергии на стороне зарядки, а функция регулирования с ОС по напряжению посредством блока 54-2 пропорционально-интегрального (PI) регулирования активируется в блоке 50-2 управления напряжением, соответствующем устройству 6-2 накопления энергии на стороне разрядки. Таким образом, блок 50-1 управления напряжением предоставляет систему регулирования с возмущением по напряжению на основе теоретического коэффициента повышения, а блок 50-2 управления напряжением предоставляет систему регулирования с ОС по напряжению, использующую блок 54-2 пропорционально-интегрального (PI) регулирования.
Далее блок 70 управления переключением формирует напряжения VR1 и VR2 задания соответствующих преобразователей 8-1 и 8-2 (этап S50). Блок 70 управления переключением устанавливает напряжение VR2 задания выше, чем напряжение VR1 задания, так чтобы энергия могла протекать из устройства 6-2 накопления энергии, установленного на стороне разрядки, в устройство 6-1 накопления энергии, установленное на стороне зарядки.
Когда напряжения VR1 и VR2 задания сформированы, блок 50-1 управления напряжением управляет преобразователем 8-1 посредством регулирования с возмущением по напряжению на основе напряжения VR1 задания, а блок 50-2 управления напряжением управляет преобразователем 8-2 посредством регулирования с ОС по напряжению на основе напряжения VR2 задания. Таким образом, энергия протекает из устройства 6-2 накопления энергии через преобразователь 8-2, линию MPL главной положительной шины и линию MNL главной отрицательной шины и преобразователь 8-1 в устройство 6-1 накопления энергии так, чтобы управление повышением температуры было выполнено для устройств 6-1 и 6-2 накопления энергии (этап S60).
Когда определено на этапе S20, что параметр состояния SOC1 равен или больше, чем параметр состояния SOC2 (НЕТ на этапе S20), блок 70 управления переключением устанавливает устройства 6-1 и 6-2 накопления энергии на сторонах разрядки и зарядки соответственно (этап S70). Блок 70 управления переключением активирует сигнал SW1 переключения и деактивирует сигнал SW2 переключения (этап S80).
Таким образом, функция регулирования с ОС по напряжению посредством блока 54-1 пропорционально-интегрального (PI) регулирования активируется в блоке 50-1 управления напряжением, соответствующем устройству 6-1 накопления энергии на стороне разрядки, и функция регулирования с ОС по напряжению посредством блока 54-2 пропорционально-интегрального (PI) регулирования деактивируется в блоке 50-2 управления напряжением, соответствующем устройству 6-2 накопления энергии на стороне зарядки. Таким образом, блок 50-1 управления напряжением предоставляет систему регулирования с ОС по напряжению, использующую блок 54-1 пропорционально-интегрального (PI) регулирования, а блок 50-2 управления напряжением предоставляет систему управления с возмущением по напряжению на основе теоретического коэффициента повышения.
После этого блок 70 управления переключением формирует напряжения VR1 и VR2 задания (этап S90). Блок 70 управления переключением устанавливает напряжение VR1 задания выше, чем напряжение VR2 задания так, чтобы мощность могла протекать из устройства 6-1 накопления энергии, установленного на стороне разрядки, в устройство 6-2 накопления энергии, установленное на стороне зарядки.
Когда напряжения VR1 и VR2 задания сформированы, блок 50-1 управления напряжением управляет преобразователем 8-1 посредством регулирования с ОС по напряжению на основе напряжения VR1 задания, а блок управления напряжением 50-2 управляет преобразователем 8-2 посредством регулирования с возмущением по напряжению на основе напряжения VR2 задания. Таким образом, энергия протекает из устройства 6-1 накопления энергии через преобразователь 8-1, линию MPL главной положительной шины и линию MNL главной отрицательной шины и преобразователь 8-2 в устройство 6-2 накопления энергии, и управление повышением температуры выполняется для устройств 6-1 и 6-2 накопления энергии (этап S100).
Когда управление повышением температуры устройств 6-1 и 6-2 накопления энергии осуществлено так, как описано выше, один из блоков 50-1 и 50-2 управления напряжением управляет соответствующим преобразователем посредством регулирования с ОС по напряжению, а другой блок управления напряжением управляет соответствующим преобразователем посредством регулирования с возмущением по напряжению. Следовательно, управление повышением температуры может быть осуществлено при управлении значением Vh напряжения между линией MPL главной положительной шины и линией MNL главной отрицательной шины, чтобы достигнуть напряжения задания посредством блока управления напряжением на стороне разрядки, не вызывая помехи между блоками 50-1 и 50-2 управления напряжением, которые могут управлять значением Vh напряжения.
Фиг.6 – это первая схема, показывающая поток электроэнергии в ходе управления повышением температуры. Фиг.6 показывает поток электроэнергии в состоянии, когда устройства 6-1 и 6-2 накопления энергии находятся на сторонах зарядки и разрядки соответственно.
Ссылаясь на Фиг.6, преобразователь 8-1, соответствующий устройству 6-1 накопления энергии на стороне разрядки, управляется посредством регулирования с ОС по напряжению, а преобразователь 8-2, соответствующий устройству 6-2 накопления энергии на стороне зарядки, управляется посредством регулирования с возмущением по напряжению. Преобразователь 8-2 подает энергию из устройства 6-2 накопления энергии на линию MPL главной положительной шины и линию MNL главной отрицательной шины и управляет значением Vh напряжения между линией MPL главной положительной шины и линией MNL главной отрицательной шины по напряжению VR2 задания.
Преобразователь 8-1 управляется на основе теоретического коэффициента повышения, представленного соотношением между напряжением VR1 задания и напряжением устройства 6-1 накопления энергии без выполненной обратной связи значения Vh напряжения. В этом состоянии значение Vh напряжения, которое устанавливают равным напряжению VR2 задания посредством управления преобразователем 8-2, выше, чем напряжение VR1 задания, так чтобы ток протекал из линии MPL главной положительной шины и линии MNL главной отрицательной шины через преобразователь 8-1 в устройство 6-1 накопления энергии.
Таким образом, энергия протекает из устройства 6-2 накопления энергии через преобразователь 8-2, линию MPL главной положительной шины и линию MNL главной отрицательной шины и преобразователь 8-1 в устройство 6-1 накопления энергии. Таким образом, зарядка и разрядка осуществляются в устройствах 6-1 и 6-2 накопления энергии для того, чтобы увеличить температуру устройств 6-1 и 6-2 накопления энергии соответственно. Поскольку значение Vh напряжения между линией MPL главной положительной шины и линией MNL главной отрицательной шины задано равным напряжению VR2 задания посредством управления преобразователем 8-2, температура устройств 6-1 и 6-2 накопления энергии может быть увеличена при управлении значением Vh напряжения путем снижения в пределах соответствующего диапазона (ниже напряжения пробоя сглаживающего конденсатора C, не показанного на Фиг.6, и блока 3 генерирования мощности привода).
Фиг.7 – это вторая схема, показывающая поток электроэнергии в ходе управления повышением температуры. Фиг.7 показывает поток электроэнергии в состоянии, когда устройства 6-1 и 6-2 накопления энергии находятся на сторонах разрядки и зарядки соответственно.
Ссылаясь на Фиг.7, преобразователь 8-1, соответствующий устройству 6-1 накопления энергии на стороне разрядки, управляется посредством регулирования с ОС по напряжению, а преобразователь 8-2, соответствующий устройству 6-2 накопления энергии на стороне зарядки, управляется посредством регулирования с возмущением по напряжению. Напряжение VR1 задания преобразователя 8-1 установлено выше, чем напряжение VR2 задания преобразователя 8-2.
Таким образом, энергия протекает из устройства 6-1 накопления энергии через преобразователь 8-1, линию MPL главной положительной шины и линию MNL главной отрицательной шины и преобразователь 8-2 в устройство 6-2 накопления энергии так, чтобы температура устройств 6-1 и 6-2 накопления энергии увеличивалась. Поскольку преобразователь 8-1 управляет значением Vh напряжения так, чтобы достигнуть напряжения VR1 задания, температура устройств 6-1 и 6-2 накопления энергии может быть увеличена при управлении значением Vh напряжения путем снижения в соответствующем диапазоне.
Согласно первому варианту осуществления изобретения, как описано выше, преобразователь 8-1 размещен между устройством 6-1 накопления энергии и парой линии MPL главной положительной шины и линии MNL главной отрицательной шины, а преобразователь 8-2 размещен между устройством 6-2 накопления энергии и парой линии MPL главной положительной шины и линии MNL главной отрицательной шины. В ходе управления повышением температуры ECU 2 преобразователя управляет преобразователем 8-1 или 8-2, который соответствует устройству накопления энергии на стороне разрядки, посредством регулирования с ОС по напряжению и управляет преобразователем, соответствующим устройству накопления энергии на стороне зарядки, посредством регулирования с возмущением по напряжению. Следовательно, энергия может быть передана между устройствами 6-1 и 6-2 накопления энергии через преобразователи 8-1 и 8-2, а также линию MPL главной положительной шины и линию MNL главной отрицательной шины с предотвращением помех между блоками 50-1 и 50-2 управления напряжением, управляющими соответствующими преобразователями 8-1 и 8-2.
Таким образом, согласно первому варианту осуществления изобретения может быть быстро увеличена температура устройств 6-1 и 6-2 накопления энергии. Следовательно, желательные характеристики привода могут быть обеспечены даже в начале приведения в движения транспортного средства 100.
В ходе управления повышением температуры значение Vh напряжения между линией MPL главной положительной шины и линией MNL главной отрицательной шины управляется так, чтобы достигнуть напряжения задания с тем, чтобы приложение перенапряжения к линии MPL главной положительной шины и линии MNL главной отрицательной шины могло быть предотвращено. Следовательно, различные устройства, подключенные к линии MPL главной положительной шины и линии MNL главной отрицательной шины, могут быть защищены от разрушения вследствие перенапряжения.
Дополнительно, каждый из блоков 50-1 и 50-2 управления напряжением обеспечен блоком 55-1 или 55-2 переключения, который может выборочно активировать и деактивировать функцию регулирования с ОС по напряжению в зависимости от того, находится ли соответствующее устройство накопления энергии на стороне разрядки или стороне зарядки. Поэтому переключение каждого из устройств 6-1 и 6-2 накопления энергии между зарядкой и разрядкой может быть легко выполнено в ходе управления повышением температуры.
[Модификация первого варианта осуществления]
В первом варианте осуществления переключение транзистора осуществляется даже в преобразователе, соответствующем устройству накопления энергии на стороне зарядки, так, что потеря переключения происходит в нем. Соответственно, модификация выполнена с возможностью включить плечо преобразователя, соответствующего устройству накопления энергии на стороне зарядки, и таким образом уменьшить потерю в ходе управления повышением температуры.
Фиг.8 – это блок-схема последовательности операций управления повышением температуры в модификации первого варианта осуществления. Ссылаясь на Фиг.8, эта блок-схема последовательности операций включает в себя этапы S55 и S95 в дополнение к этапам в блок-схеме последовательности операций по Фиг.5. Более конкретно, когда напряжения VR1 и VR2 задания сформированы на этапе S50, блок 70 управления переключением устанавливает элемент компенсации возмущения по напряжению (входной элемент в блоке 56-1 вычитания) в блоке 50-1 управления напряжением на стороне зарядки равным одному (этап S55). В блоке 50-1 управления напряжением блок 55-1 переключения деактивировал функцию с ОС по напряжению, которая должна быть осуществлена блоком 54-1 пропорционально-интегрального (PI) регулирования, и поэтому рабочая инструкция Ton1 равна 1. Таким образом, транзистор Q1B, соответствующий плечу преобразователя 8-1, включен.
Когда напряжения VR1 и VR2 задания сформированы на этапе S80, блок 70 управления переключением устанавливает элемент компенсации возмущения по напряжению (входной элемент в блоке 56-2 вычитания) в блоке 50-2 управления напряжением на стороне зарядки равным одному (этап S95). В блоке 50-2 управления напряжением блок 55-2 переключения деактивировал функцию с возмущением по напряжению, которая должна быть осуществлена блоком 54-2 пропорционально-интегрального (PI) регулирования, и поэтому рабочая инструкция Ton2 равна 1. Таким образом, транзистор Q2B, соответствующий плечу преобразователя 8-2, включен.
Согласно модификации первого варианта осуществления изобретения, как описано выше, так как включено плечо преобразователя, соответствующего устройству накопления энергии на стороне зарядки, потеря переключения преобразователя уменьшена. Следовательно, модификация первого варианта осуществления изобретения позволяет повысить эффективность управления повышением температуры.
(Второй вариант осуществления)
В первом варианте осуществления оба преобразователя 8-1 и 8-2 управляются посредством управления напряжением в ходе управления повышением температуры. Во втором варианте осуществления, тем не менее, один из преобразователей 8-1 и 8-2 управляется посредством управления напряжением, а другой управляется посредством управления током.
Общие конструкции транспортного средства и ECU преобразователя во втором варианте осуществления являются такими же, как и для транспортного средства 100 и ECU 2 преобразователя в первом варианте осуществления, которые показаны на Фиг.1 и 3 соответственно.
Фиг.9 является функциональной блок-схемой, детально показывающей блок управления повышением температуры во втором варианте осуществления. Ссылаясь на Фиг.9, блок 44A управления повышением температуры включает в себя 50-1A блок управления напряжением, блок 50-2A управления током и блок 71 формирования значений задания.
Блок 50-1A управления напряжением имеет такую же конструкцию, что и блок 50-1 управления напряжением, показанный на Фиг.4, за исключением того, что он не включает в себя блок 55-1 переключения. Остальная его конструкция является такой же, что и для блока 50-1 управления напряжением.
Блок 50-2A управления током включает в себя блоки 62 и 66 вычитания, блок 64 пропорционально-интегрального (PI) регулирования и блок 68 модуляции. Блок 62 вычитания вычитает значение Ib2 тока из тока IR2 задания, предоставленного из блока 71 формирования значений задания, и предоставляет результат этой операции в блок 64 пропорционально-интегрального (PI) регулирования. Блок 64 пропорционально-интегрального (PI) регулирования выполняет пропорционально-интегрирующую операцию, используя в качестве входных данных отклонение между током IR2 задания и значением Ib2 тока, и предоставляет результат этой операции в блок 66 вычитания.
Блок 66 вычитания вычитает выходной сигнал блока 64 пропорционально-интегрального (PI) регулирования из обратного числа теоретического коэффициента повышения преобразователя 8-2, представленного как (значение Vb2 напряжения)/(напряжение VR1 задания), и предоставляет результат операции в блок 68 модуляции как рабочую инструкцию Ton2. Блок 68 модуляции формирует сигнал PWC2 возбуждения на основе рабочей инструкции Ton2 и несущей волны, сформированной посредством блока колебания (не показан), и предоставляет сигнал PWC2 возбуждения, сформированный таким образом, в транзисторы Q2A и Q2B преобразователя 8-2.
Блок 71 формирования значений задания определяет на основе температур Tb1 и Tb2, должно ли управление повышением температуры устройств 6-1 и 6-2 накопления энергии быть выполнено или нет, и активирует управляющий сигнал CTL, который должен быть предоставлен в блок 42 управления, работающий в ходе эксплуатации, показанный на Фиг.3, когда управление повышением температуры должно быть выполнено. При управлении повышением температуры блок 71 формирования значений задания формирует напряжение VR1 задания преобразователя 8-1 и тока IR2 задания преобразователя 8-2 на основе температур Tb1 и Tb2 и параметров состояния SOC1 и SOC2 соответственно, и предоставляет напряжение VR1 задания и ток IR2 задания, сформированные таким образом, в блок 50-1A управления напряжением и блок 50-2A управления током соответственно.
Фиг.10 – это блок-схема последовательности операций управления повышением температуры посредством блока 44A управления повышением температуры, показанного на Фиг.9. Обработка, показанная в этой блок-схеме последовательности операций, вызывается для выполнения из основной программы с предварительно определенными интервалами времени или когда предварительно определенные условия удовлетворены (например, при запуске системы).
Ссылаясь на Фиг.9 и 10, эта блок-схема последовательности операций не включает в себя этапы S40 и S80 из блок-схемы последовательности операций, показанной на Фиг.5, а включает в себя этапы S52 и S92 вместо этапов S50 и S90. Более конкретно, когда устройства 6-1 и 6-2 накопления энергии установлены на стороне зарядки и стороне разрядки на этапе S30 соответственно, блок 71 формирования значений задания формирует напряжение VR1 задания преобразователя 8-1 и ток IR2 задания преобразователя 8-2 (этап S52).
Блок 71 формирования значений задания формирует ток IR2 задания, который принимает положительное значение (направление разрядки). Положительный ток IR2 задания может принять предварительно установленное значение и также может принять значение, полученное посредством деления, на значение Vb2 напряжения, разрешенной мощности разрядки устройства 6-2 накопления энергии, которая является арифметически полученной на основе параметра состояния SOC2 устройства 6-2 накопления энергии.
Когда устройства 6-1 и 6-2 накопления энергии установлены на стороне разрядки и стороне зарядки на этапе S70 соответственно, блок 71 формирования значений задания формирует напряжение VR1 задания и ток IR2 задания (этап S92). При этой операции блок 71 формирования значений задания формирует ток IR2 задания, который принимает отрицательное значение (направление зарядки). Отрицательный ток IR2 задания может быть предварительно установленным значением и также может принимать значение, полученное посредством деления, на значение Vb2 напряжения, разрешенной мощности зарядки (отрицательного значения) устройства 6-2 накопления энергии, которая является арифметически полученной на основе параметра состояния SOC2 устройства 6-2 накопления энергии.
В блоке 44A управления повышением температуры, который выполняет управление повышением температуры, как описано выше, блок 50-1A управления напряжением управляет преобразователем 8-1 посредством управления напряжением так, чтобы значение Vh напряжения могло стать напряжением VR1 задания, а блок 50-2A управления током управляет преобразователем 8-2 посредством управления током так, чтобы значение Ib2 тока могло стать током IR2 задания. Поэтому управление повышением температуры может быть осуществлено при управлении значением Vh напряжения между линией MPL главной положительной шины и линией MNL главной отрицательной шины, чтобы достигнуть напряжения VR1 задания, и управлении током, протекающим между устройствами 6-1 и 6-2 накопления энергии, чтобы достигнуть тока IR2 задания.
Фиг.11 – это первая схема, показывающая поток электроэнергии при операции управления повышением температуры второго варианта осуществления. Фиг.11 показывает поток электроэнергии в состоянии, когда устройства 6-1 и 6-2 накопления энергии находятся на сторонах зарядки и разрядки соответственно.
Ссылаясь на Фиг.11, преобразователь 8-1, соответствующий устройству 6-1 накопления энергии на стороне зарядки, управляется посредством управления напряжением, а преобразователь 8-2, соответствующий устройству 6-2 накопления энергии на стороне разрядки, управляется посредством управления током. Преобразователь 8-2 подает ток, соответствующий току IR2 задания, из устройства 6-2 накопления энергии на линию MPL главной положительной шины и линию MNL главной отрицательной шины. Подача тока от преобразователя 8-2 имеет тенденцию повышать напряжение между линией MPL главной положительной шины и линией MNL главной отрицательной шины, а преобразователь 8-1 управляет значением Vh напряжения между линией MPL главной положительной шины и линией MNL главной отрицательной шины, чтобы достигнуть напряжения VR1 задания. Таким образом, преобразователь 8-1 передает ток из линии MPL главной положительной шины и линии MNL главной отрицательной шины в устройство 6-1 накопления энергии и тем самым управляет напряжением между линией MPL главной положительной шины и линией MNL главной отрицательной шины, чтобы достигнуть напряжения VR1 задания.
Как описано выше, ток протекает из устройства 6-2 накопления энергии через преобразователь 8-2, линию MPL главной положительной шины и линию MNL главной отрицательной шины и преобразователь 8-1 в устройство 6-1 накопления энергии. Таким образом, зарядка и разрядка выполняются для устройств 6-1 и 6-2 накопления энергии, чтобы нагреть устройства 6-1 и 6-2 накопления энергии соответственно.
Фиг.12 – это вторая схема, показывающая поток электроэнергии в ходе управления повышением температуры во втором варианте осуществления. Фиг.12 показывает электрический ток в состоянии, когда устройства 6-1 и 6-2 накопления энергии находятся на сторонах разрядки и зарядки соответственно.
Ссылаясь на Фиг.12, преобразователь 8-2 передает ток, соответствующий току IR2 задания, из линии MPL главной положительной шины и линии MNL главной отрицательной шины в устройство 6-2 накопления энергии. Работа преобразователя 8-2 имеет тенденцию понижать напряжение между линией MPL главной положительной шины и линией MNL главной отрицательной шины, и преобразователь 8-1 управляет значением Vh напряжения между линией MPL главной положительной шины и линией L главной отрицательной шины, чтобы достигнуть напряжения VR1 задания. Таким образом, преобразователь 8-1 передает ток из устройства 6-1 накопления энергии на линию MPL главной положительной шины и линию MNL главной отрицательной шины и тем самым управляет напряжением между линией MPL главной положительной шины и линией MNL главной отрицательной шины, чтобы достигнуть напряжения VR1 задания.
Как описано выше, ток протекает из устройства 6-1 накопления энергии в устройство 6-2 накопления энергии через преобразователь 8-1, линию MPL главной положительной шины и линию MNL главной отрицательной шины и преобразователь 8-2. Таким образом, разрядка и зарядка осуществляются в устройствах 6-1 и 6-2 накопления энергии, чтобы повысить температуру устройств 6-1 и 6-2 накопления энергии соответственно.
Описано то, что преобразователи 8-1 и 8-2 управляются посредством управления напряжением и управления током соответственно. Тем не менее, преобразователи 8-1 и 8-2 могут управляться посредством управления током и управления напряжением соответственно.
При операции управления повышением температуры согласно второму варианту осуществления, как описано выше, один из преобразователей 8-1 и 8-2 управляется посредством управления напряжением, а другой управляется посредством управления током. Следовательно, второй вариант осуществления может осуществлять управление повышением температуры при управлении значением Vh напряжения между линией MPL главной положительной шины и линией MNL главной отрицательной шины, чтобы достигнуть напряжения VR1 задания, и при управлении током, проходящим между устройствами 6-1 и 6-2 накопления энергии, чтобы достигнуть тока IR2 задания.
[Модификация второго варианта осуществления]
Во втором варианте осуществления, даже когда устройство 6-1 накопления энергии находится на стороне зарядки, преобразователь 8-1 переключает транзистор так, чтобы произошла потеря переключения. Следовательно, в модификации, когда устройство 6-1 накопления энергии находится на стороне зарядки, плечо преобразователя 8-1 включено для уменьшения потерь в ходе управления повышением температуры.
Фиг.13 является функциональной блок-схемой, детально показывающей блок управления повышением температуры в модификации второго варианта осуществления. Ссылаясь на Фиг.13, блок 44B управления повышением температуры включает в себя блок 50-1 управления напряжением, 50-2A блок управления током и блок 71A формирования значений задания.
В ходе работы управления повышением температуры блок 71A формирования значений задания формирует напряжение VR1 задания, ток IR2 задания и сигнал переключения SW1 на основе температур Tb1 и Tb2, а также параметры состояния SOC1 и SOC2, предоставляет напряжение VR1 задания и сигнал SW1 переключения в блок 50-1 управления напряжением и предоставляет ток IR2 задания в блок 50-2A управления током.
Функции блока 71A формирования значений задания, кроме вышеупомянутых, являются такими же, что и для блока 71 формирования значений задания, показанного на Фиг.9. Конструкция блока 50-1 управления напряжением и конструкция блока 50-2A управления током уже пояснена со ссылкой на Фиг.4 и 9 соответственно. Поэтому ее описание не повторяется.
Фиг.14 – это блок-схема последовательности операций управления повышением температуры посредством блока 44B управления повышением температуры, показанного на Фиг.13. Ссылаясь на Фиг.13 и 14, блок-схема последовательности операций включает в себя этапы S42, S55 и S82 в дополнение к этапам в блок-схеме последовательности операций Фиг.10. Более конкретно, когда устройства 6-1 и 6-2 накопления энергии установлены на стороне зарядки и стороне разрядки на этапе S30 соответственно, блок 71A формирования значений задания деактивирует сигнал SW1 переключения, который должен быть предоставлен в блок 55-1 переключения из блока 50-1 управления напряжением (этап S42).
Когда напряжение VR1 задания и ток IR2 задания сформированы на этапе S52, блок 71A формирования значений задания продвигает обработку к этапу S55. Более конкретно, блок 71A формирования значений задания устанавливает элемент компенсации возмущения по напряжению (входной элемент в блоке 56-1 вычитания) в блоке 50-1 управления напряжением равным одному. В блоке 50-1 управления напряжением блок 55-1 переключения деактивировал функцию с ОС по напряжению, которая должна быть осуществлена блоком 54-1 пропорционально-интегрального (PI) регулирования, и поэтому рабочая инструкция Ton1 равна 1. Таким образом, транзистор Q1B, соответствующий плечу преобразователя 8-1, включен.
Когда устройства 6-1 и 6-2 накопления энергии установлены на стороне разрядки и стороне зарядки на этапе S70 соответственно, блок 71A формирования значений задания активирует сигнал SW1 переключения (этап S82). Блок 71A формирования значений задания продвигает обработку к этапу S92 и формирует напряжение VR1 задания и ток IR2 задания.
Когда плечо преобразователя 8-1 всегда включено в случае, если устройство 6-1 накопления энергии находится на стороне разрядки, существует возможность того, что преобразователь 8-2 не сможет передать ток в устройство 6-2 накопления энергии из линии MPL главной положительной шины и линии MNL главной отрицательной шины, которые ограничены напряжением устройства 6-1 накопления энергии. Следовательно, в случае, если устройство 6-1 накопления энергии находится на стороне разрядки, плечо преобразователя 8-1 не всегда включено и преобразователь 8-1 подвергается управлению напряжением согласно напряжению VR1 задания.
Согласно модификации второго варианта осуществления, как описано выше, плечо преобразователя, которое подвергается управлению напряжением, включено в случае, если соответствующее устройство накопления энергии находится на стороне зарядки. Поэтому потери переключения преобразователя уменьшены. Соответственно, модификация этого второго варианта осуществления позволяет повысить эффективность управления повышением температуры.
В каждом из уже описанных вариантов осуществления блок управления повышением температуры, показанный на Фиг. 4, 9 и 13, может быть сформирован из схемы, имеющей функции, соответствующие надлежащим блокам, или может быть осуществлен посредством обработки, которая выполняется посредством ECU 2 преобразователя согласно предварительно установленным программам. В последнем случае, управление уже описанными блоками 44, 44A и 44B управления повышением температуры выполняется CPU (центральным процессором). CPU считывает из ROM (постоянное запоминающее устройство) программу для выполнения обработки, представленной в вышеприведенных функциональных блоках и блок-схемах последовательности операций, и выполняет считанную программу для того, чтобы выполнить обработку согласно вышеприведенным функциональным блокам и блок-схемам последовательности операций. Следовательно, ROM соответствует машиночитаемому (процессорно-читаемому) носителю записи, который содержит программы для исполнения указанной обработки, посредством вышеприведенных функциональных блоков и блок-схем последовательности операций.
В уже описанном первом варианте осуществления и его модификации преобразователь, соответствующий устройству накопления энергии на стороне зарядки, управляется посредством регулирования с возмущением по напряжению, а преобразователь, соответствующий устройству накопления энергии на стороне разрядки, управляется посредством регулирования с ОС по напряжению. Наоборот, преобразователь, соответствующий устройству накопления энергии на стороне зарядки, может управляться посредством регулирования с ОС по напряжению, а преобразователь, соответствующий устройству накопления энергии на стороне разрядки, может управляться посредством регулирования с возмущением по напряжению.
В вышеупомянутом описании стороны зарядки и разрядки устройств накопления энергии определяются просто установкой устройства накопления энергии более низкого SOC на стороне зарядки (и таким образом установкой устройства накопления энергии более высокого SOC на стороне разрядки). На практике, тем не менее, предпочтительно установить их следующим образом. На этапе S20, когда устройство 6-1 накопления энергии находится на стороне зарядки, устройства 6-1 и 6-2 накопления энергии должны быть установлены на сторонах зарядки и разрядки соответственно до тех пор, пока параметр состояния SOC1 не возрастет до параметра состояния (SOC2+ ). Когда устройство 6-1 накопления энергии находится на стороне разрядки на этапе S20, устройства 6-1 и 6-2 накопления энергии должны быть установлены на сторонах разрядки и зарядки соответственно до тех пор, пока параметр состояния SOC1 не уменьшится до параметра состояния (SOC2- ).
В вышеупомянутом описании система 1 электропитания включает в себя преобразователи 8-1 и 8-2, которые соответствуют двум устройствам 6-1 и 6-2 накопления энергии соответственно. Тем не менее, устройство может включать в себя три или более устройств накопления энергии и преобразователей, соответствующих им, в этом случае управление повышением температуры может быть осуществлено вышеприведенным способом посредством произвольного выбора двух устройств накопления энергии и соответствующих преобразователей.
В уже выполненном описании линия MPL главной положительной шины и линия MNL главной отрицательной шины соответствуют “линии питания” в изобретении, а ECU 2 преобразователя соответствует “устройству управления” в изобретении. Блоки 50-1 и 50-2 управления напряжением соответствуют “первому блоку управления” и “второму блоку управления” в изобретении соответственно. Дополнительно, датчик 18 напряжения соответствует “первому датчику напряжения”, а датчики 12-1 и 12-2 напряжения соответствуют “второму датчику напряжения” и “третьему датчику напряжения” в изобретении соответственно. Инверторы 30-1 и 30-2, а также двигатель-генераторы 34-1 и 34-2 формируют “блок генерирования мощности привода” в изобретении.
Хотя настоящее изобретение подробно описано и иллюстрировано, очевидно, что оно является только способом иллюстрации и примером, и не должно восприниматься как ограничение, при этом область применения настоящего изобретения интерпретируется только посредством прилагаемой формулы изобретения.
Формула изобретения
1. Система электропитания, способная к подаче электроэнергии в устройство нагрузки, содержащая первое и второе устройства накопления энергии, обеспечивающие зарядку и разрядку; линию электропитания, выполненную с возможностью способствовать подаче и приему электроэнергии между системой электропитания и упомянутым устройством нагрузки; первый преобразователь, размещенный между упомянутым первым устройством накопления энергии и упомянутой линией питания и выполняющий преобразование напряжения между упомянутым первым устройством накопления энергии и упомянутой линией питания; второй преобразователь, размещенный между упомянутым вторым устройством накопления энергии и упомянутой линией питания и выполняющий преобразование напряжения между упомянутым вторым устройством накопления энергии и упомянутой линией питания; устройство управления, управляющее упомянутыми первым и вторым преобразователями; и первый датчик напряжения, считывающий напряжение на упомянутой линии питания, при этом в ходе управления повышением температуры, выполняемого для повышения температуры, по меньшей мере, одного из упомянутых первого и второго устройств накопления энергии посредством подачи и приема электроэнергии между упомянутыми первым и вторым устройствами накопления энергии через упомянутые первый и второй преобразователи и упомянутую линию питания, упомянутое устройство управления управляет одним из упомянутых первым и вторым преобразователей на основе результата операции по регулированию с обратной связью по напряжению, использующему отклонение между напряжением задания на упомянутой линии питания и напряжением, считанным упомянутым первым датчиком напряжения, и управляет другим преобразователем на основе результата операции по регулированию с возмущением по напряжению, не использующему упомянутое отклонение.
2. Система электропитания по п.1, в которой упомянутое устройство управления включает в себя первый и второй блоки управления, управляющие упомянутым первым и вторым преобразователями соответственно, и блок управления переключением, формирующий инструкцию переключения, разрешающую переключение между упомянутым регулированием с обратной связью по напряжению и упомянутым регулированием с возмущением по напряжению и обеспечивающий упомянутую инструкцию переключения в каждый из упомянутых первого и второго блоков управления в ходе упомянутого управления повышением температуры, каждый из упомянутых первого и второго блоков управления включает в себя блок компенсации обратной связи по напряжению, выполненный с возможностью способствовать выполнению регулирования с обратной связью по напряжению соответствующего преобразователя, блок компенсации возмущения по напряжению, выполненный с возможностью способствовать выполнению регулирования с возмущением по напряжению соответствующего упомянутого преобразователя, и блок переключения, выполненный с возможностью способствовать выборочной активации и деактивации функции упомянутого блока компенсации обратной связи по напряжению согласно упомянутой инструкции переключения, и упомянутый блок управления переключением формирует в ходе упомянутого управления повышением температуры упомянутую инструкцию переключения, чтобы активировать функцию блока компенсации обратной связи по напряжению одного из упомянутых первого и второго блоков управления и деактивировать функцию блока компенсации обратной связи по напряжению другого блока управления.
3. Система электропитания по п.2, дополнительно содержащая второй и третий датчики напряжения, считывающие напряжение упомянутых первого и второго устройств накопления энергии соответственно, при этом упомянутый блок компенсации возмущения по напряжению использует в качестве величины компенсации соотношение между напряжением соответствующего устройства накопления энергии, считанным упомянутым вторым или третьим датчиками напряжения, и напряжением задания упомянутой линии питания.
4. Система электропитания по п.1, в которой упомянутое устройство управления выполнено с возможностью в ходе упомянутого управления повышением температуры управлять преобразователем, соответствующим устройству накопления энергии на стороне разрядки, на основе результата операции упомянутого регулирования с обратной связью по напряжению, и управлять преобразователем, соответствующим устройству накопления энергии на стороне зарядки, на основе результата операции упомянутого регулирования с возмущением по напряжению.
5. Система электропитания по п.4, в которой каждый из упомянутых первого и второго преобразователей включает в себя схему двухквадрантного прерывателя и упомянутое устройство управления управляет в ходе упомянутого управления повышением температуры преобразователем, соответствующим устройству накопления энергии на стороне зарядки, чтобы включить переключающий элемент, формирующий плечо упомянутого преобразователя, соответствующего устройству накопления энергии на стороне зарядки.
6. Транспортное средство, содержащее систему электропитания по п.1 и блок генерирования мощности привода, принимающий электроэнергию от упомянутой системы электропитания и генерирующий мощность привода транспортного средства.
7. Способ управления повышением температуры для устройства накопления энергии в системе электропитания, способной подавать электроэнергию в устройство нагрузки, причем упомянутая система электропитания включает в себя первое и второе устройства накопления энергии, обеспечивающие зарядку и разрядку, линию электропитания, выполненную с возможностью разрешать подачу и прием электроэнергии между упомянутой системой электропитания и упомянутым устройством нагрузки, первый преобразователь, размещенный между упомянутым первым устройством накопления энергии и упомянутой линией питания и выполняющий преобразование напряжения между упомянутым первым устройством накопления энергии и упомянутой линией питания, второй преобразователь, размещенный между упомянутым вторым устройством накопления энергии и упомянутой линией питания и выполняющий преобразование напряжения между упомянутым вторым устройством накопления энергии и упомянутой линией питания, и датчик напряжения, считывающий напряжение на упомянутой линии питания, содержащий: первый этап, на котором управляют одним из упомянутых первого и второго преобразователей на основе результата операции по регулированию с обратной связью по напряжению, использующему отклонение между напряжением задания на упомянутой линии питания и напряжением, считанным упомянутым первым датчиком напряжения в ходе управления повышением температур, выполняемого для повышения температуры, по меньшей мере, одного из упомянутых первого и второго устройств накопления энергии посредством подачи и приема электроэнергии между упомянутыми первым и вторым устройствами накопления энергии через упомянутые первый и второй преобразователи и упомянутую линию питания; и второй этап, на котором управляют другим преобразователем на основе результата операции по регулированию с возмущением по напряжению, не использующему упомянутое отклонение.
8. Машиночитаемый носитель записи, содержащий программу для побуждения компьютера выполнять управление повышением температуры устройства накопления энергии в системе электропитания, способной подавать электроэнергию на устройство нагрузки, причем упомянутая система электропитания включает в себя первое и второе устройства накопления энергии, обеспечивающие зарядку и разрядку, линию электропитания, выполненную с возможностью способствовать подаче и приему электроэнергии между упомянутой системой электропитания и упомянутым устройством нагрузки; первый преобразователь, размещенный между упомянутым первым устройством накопления энергии и упомянутой линией питания и выполняющий преобразование напряжения между упомянутым первым устройством накопления энергии и упомянутой линией питания, второй преобразователь, размещенный между упомянутым вторым устройством накопления энергии и упомянутой линией питания и выполняющий преобразование напряжения между упомянутым вторым устройством накопления энергии и упомянутой линией питания, и датчик напряжения, считывающий напряжение на упомянутой линии питания: причем упомянутый носитель записи содержит программу для побуждения компьютера выполнять: первый этап, на котором управляют одним из упомянутых первого и второго преобразователей на основе результата операции по регулированию с обратной связью по напряжению, использующему отклонение между напряжением задания на упомянутой линии питания и напряжением, считанным упомянутым первым датчиком напряжения в ходе управления повышением температуры, выполняемого для повышения температуры, по меньшей мере, одного из упомянутых первого и второго устройств накопления энергии посредством подачи и приема электроэнергии между упомянутыми первым и вторым устройствами накопления энергии через упомянутые первый и второй преобразователи и упомянутую линию питания; и второй этап, на котором управляют другим преобразователем на основе результата операции по регулированию с возмущением по напряжению, не использующему упомянутое отклонение.
РИСУНКИ
|
|