|
|
(21), (22) Заявка: 2009111332/11, 27.03.2009
(24) Дата начала отсчета срока действия патента:
27.03.2009
(30) Конвенционный приоритет:
07.07.2008 JP 2008-177251
(46) Опубликовано: 10.08.2010
(56) Список документов, цитированных в отчете о поиске:
JP 3702958 А, 05.02.2004. ЕР 1533141 А, 25.05.2005. WO 2005/123420 A, 29.12.2005. ЕР 0952011 А2, 27.10.1999.
Адрес для переписки:
129090, Москва, ул.Б.Спасская, 25, стр.3, ООО “Юридическая фирма Городисский и Партнеры”, А.В.Мицу
|
(72) Автор(ы):
МОРИТО Такуми (JP), МОРИ Масаказу (JP)
(73) Патентообладатель(и):
ДЗЕ ЙОКОГАМА РАББЕР КО., ЛТД. (JP)
|
(54) ПНЕВМАТИЧЕСКАЯ ШИНА, ПРЕСС-ФОРМА ДЛЯ ШИН И СПОСОБ ИЗГОТОВЛЕНИЯ ПНЕВМАТИЧЕСКОЙ ШИНЫ
(57) Реферат:
Изобретение относится к автомобильной промышленности. Пневматическая шина включает в себя протектор, который имеет участки контактных площадок, образованные и сегментированные посредством множества окружных канавок, простирающихся в направлении вдоль окружности шины, и множества проходящих в направлении ширины канавок, простирающихся в направлении ширины шины, и щелевидные дренажные канавки, образованные в зонах контакта участков контактных площадок. Кроме того, пневматическая шина включает в себя углубленные участки (углубленные участки с нижней стороны канавок), которые образованы на боковых в направлении ширины шины поверхностях участков контактных площадок, предусмотренных в частях, самых дальних от центра в направлении ширины шины, так, чтобы они соединялись с канавками, проходящими в направлении ширины; и углубления/выступы, которые образованы на нижних поверхностях углубленных участков так, что их углубления/выступы расположены попеременно и непрерывно линейным образом. Технический результат – повышение надежности сцепления шины с дорогой. 3 н. и 9 з.п. ф-лы, 16 ил.
Настоящее изобретение относится к пневматической шине, пресс-форме для шин и способу изготовления пневматической шины, которые обеспечивают улучшение характеристик при повороте на ледяных дорогах и снеговых дорогах.
Пневматические шины, в особенности пневматические шины, предпочтительные для ледяных и снеговых дорог, могут обеспечить поворачиваемость за счет удаления водяных пленок, образующихся между поверхностью дороги и поверхностью протектора. Известные обычные пневматические шины включают в себя щелевидные дренажные канавки зигзагообразной формы, если смотреть сверху, и небольшие канавки, имеющие меньшую глубину по сравнению с глубиной щелевидных дренажных канавок, которые все выполнены на поверхности контактной площадки, включающей в себя множество блоков. В подобных обычных пневматических шинах небольшие щелевидные дренажные канавки обеспечивают удаление водяных пленок, образующихся между поверхностью дороги и поверхностью протектора, в результате чего обеспечиваются отличные характеристики при повороте на поверхностях ледяных дорог и поверхностях дорог, покрытых снегом (см., например, патент Японии No. 3702958).
В пневматических шинах для ледяных и снеговых дорог участки контактных площадок плечевых зон шины, находящиеся в частях, самых дальних от центра в направлении ширины шины, деформируются вследствие нагрузки, приложенной поперек направления ширины шины, когда транспортное средство совершает поворот. Это вызывает ввод боковых поверхностей участков контактных площадок в контакт с поверхностью дороги. Для обеспечения надлежащих характеристик при повороте требуется удалить водяные пленки, образованные между поверхностью дороги и боковыми поверхностями участков контактных площадок.
СУЩНОСТЬ ИЗОБРЕТЕНИЯ
Задача настоящего изобретения заключается в том, чтобы, по меньшей мере, частично решить проблемы, связанные с традиционной технологией.
Пневматическая шина в соответствии с одним аспектом настоящего изобретения включает в себя протектор, который включает в себя участки контактных площадок, образованные и сегментированные посредством множества окружных канавок, простирающихся в направлении вдоль окружности шины, и множества проходящих в направлении ширины канавок, простирающихся в направлении ширины шины, при этом щелевидные дренажные канавки образованы в зонах контакта участков контактных площадок; углубленные участки или выступающие участки, которые образованы на боковых в направлении ширины шины поверхностях участков контактных площадок, предусмотренных в частях, самых дальних от центра в направлении ширины шины, так, чтобы они соединялись с канавками, проходящими в направлении ширины; и первые углубления/выступы, которые выполнены на нижних поверхностях углубленных участков, на верхних поверхностях выступающих участков или на боковых в направлении ширины шины поверхностях участков контактных площадок так, что их углубления/выступы расположены попеременно и непрерывно линейным образом.
В пневматической шине каждый из углубленных участков может иметь глубину d углубления, заданную в интервале 0,3 миллиметра d 3,0 миллиметра, относительно боковых в направлении ширины шины поверхностей участков контактных площадок, каждый из выступающих участков может иметь высоту h подъема выпуклости, заданную в интервале 0,3 миллиметра h 3,0 миллиметра, относительно боковых в направлении ширины шины поверхностей участков контактных площадок, и каждое/каждый из первых углублений/выступов может иметь: разность di, заданную в интервале 0,1 миллиметра di 2,0 миллиметра, высот боковых в направлении ширины шины поверхностей участков контактных площадок и углублений или выступов, шаг s выступов, заданный в интервале 0,3 миллиметра p 3,0 миллиметра; и ширину s углублений, заданную в интервале 0,1 миллиметра s 1,5 миллиметра.
В пневматической шине углубленные участки могут быть образованы так, чтобы они граничили с зонами контакта участков контактных площадок, предусмотренных в частях, самых дальних от центра в направлении ширины шины.
Пневматическая шина может дополнительно включать в себя вторые углубления/выступы в зонах контакта участков контактных площадок в частях, самых дальних от центра в направлении ширины шины. Вторые углубления/выступы могут быть соединены с первыми углублениями/выступами, которые образованы на нижних поверхностях углубленных участков, образованных так, чтобы они граничили с зонами контакта участков контактных площадок, или на боковых в направлении ширины шины поверхностях участков контактных площадок.
В пневматической шине первые углубления/выступы, образованные на нижних поверхностях углубленных участков, на верхних поверхностях выступающих участков или на боковых в направлении ширины шины поверхностях участков контактных площадок, могут быть образованы на некотором расстоянии от наружной периферии тех поверхностей, на которых образованы первые углубления/выступы.
В пневматической шине углубленные участки или выступающие участки могут быть образованы так, что они будут простираться и будут наклонены относительно нормали к направлению вдоль окружности шины.
В пневматической шине углубленные участки или выступающие участки могут иметь угол наклона, заданный в интервале 5 градусов 60 градусов, относительно касательной, проходящей в направлении вдоль окружности шины.
В пневматической шине каждый из углубленных участков или выступающих участков может быть образован так, что он будет иметь остроугольный конец, ориентированный в направлении вращения шины.
В пневматической шине первые углубления/выступы, образованные на нижних поверхностях углубленных участков, на верхних поверхностях выступающих участков или на боковых в направлении ширины шины поверхностях участков контактных площадок, могут иметь угол , заданный в интервале 0 градусов 60 градусов, относительно радиального направления шины.
В пневматической шине щелевидные дренажные канавки могут быть образованы с зигзагообразной формой для применения на ледяной и снеговой дороге.
Пресс-форма для шин в соответствии с другим аспектом настоящего изобретения включает в себя часть для формования протектора, посредством которой образуют определенную форму протектора пневматической шины согласно изобретению.
Способ изготовления пневматической шины в соответствии с еще одним аспектом настоящего изобретения включает в себя образование невулканизованной шины; установку невулканизованной шины в пресс-форму для шин согласно изобретению; прикрепление невулканизованной шины к пресс-форме для шин при одновременном расширении невулканизованной шины наружу в радиальном направлении шины; и нагрев невулканизованной шины так, что происходит вулканизация.
Вышеприведенные и другие аспекты, признаки, преимущества и техническое и промышленное значение данного изобретения будут лучше поняты при чтении нижеприведенного подробного описания предпочтительных в настоящее время вариантов осуществления изобретения при рассмотрении его совместно с сопровождающими чертежами.
Сущность изобретения поясняется на чертежах, где:
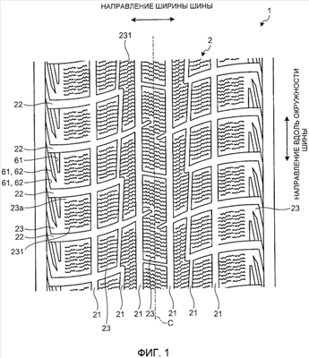
фиг.1 представляет собой частичный вид в плане протектора пневматической шины в соответствии с одним вариантом осуществления настоящего изобретения;
фиг.2 представляет собой меридиональное сечение пневматической шины, показанной на фиг.1;
фиг.3 представляет собой частичный увеличенный вид в перспективе протектора пневматической шины, показанной на фиг.1;
фиг.4 представляет собой увеличенный вид сбоку, выполненный вдоль линии IV-IV на фиг.3;
фиг.5 представляет собой частичный увеличенный вид в перспективе протектора пневматической шины, показанной на фиг.1;
фиг.6 представляет собой увеличенный вид сбоку, выполненный вдоль линии VI-VI на фиг.5;
фиг.7 представляет собой частичный увеличенный вид в перспективе протектора пневматической шины, показанной на фиг.1;
фиг.8 представляет собой увеличенный вид сбоку, выполненный вдоль линии VIII-VIII на фиг.7;
фиг.9 представляет собой частичный увеличенный вид в перспективе протектора пневматической шины, показанной на фиг.1;
фиг.10 представляет собой увеличенный вид сбоку, выполненный вдоль линии Х-Х на фиг.9;
фиг.11 представляет собой увеличенный вид части D, показанной на фиг.3;
фиг.12 представляет собой частичный увеличенный вид в перспективе протектора пневматической шины, показанной на фиг.1;
фиг.13 представляет собой частичный увеличенный вид в перспективе протектора пневматической шины, показанной на фиг.1;
фиг.14 представляет собой частичный увеличенный вид в перспективе протектора пневматической шины, показанной на фиг.1;
фиг.15 представляет собой частичный увеличенный вид в перспективе протектора пневматической шины, показанной на фиг.1 и
фиг.16 представляет собой таблицу, показывающую результаты испытаний в рабочих условиях пневматических шин в соответствии с примерами настоящего изобретения.
Приведенные в качестве примера варианты осуществления пневматической шины, пресс-формы для шин и способа изготовления пневматической шины в соответствии с настоящим изобретением описаны ниже со ссылкой на сопровождающие чертежи. Настоящее изобретение не ограничено вариантами осуществления. Составляющие элементы вариантов осуществления включают в себя элементы, которые могут быть изменены специалистом в данной области техники, или элементы, по существу такие же, как указанные. Множество модификаций, описанных в вариантах осуществления, могут быть скомбинированы произвольным образом в пределах объема, очевидного для специалиста в данной области техники.
Фиг.1 представляет собой частичный вид в плане протектора пневматической шины в соответствии с одним вариантом осуществления настоящего изобретения. Фиг.2 представляет собой меридиональное сечение пневматической шины, показанной на фиг.1. Фиг.3 представляет собой частичный увеличенный вид в перспективе протектора пневматической шины, показанной на фиг.1. Фиг.4 представляет собой увеличенный вид сбоку, выполненный вдоль линии IV-IV на фиг.3. Фиг.5 представляет собой частичный увеличенный вид в перспективе протектора пневматической шины, показанной на фиг.1. Фиг.6 представляет собой увеличенный вид сбоку, выполненный вдоль линии VI-VI на фиг.5. Фиг.7 представляет собой частичный увеличенный вид в перспективе протектора пневматической шины, показанной на фиг.1. Фиг.8 представляет собой увеличенный вид сбоку, выполненный вдоль линии VIII-VIII на фиг.7. Фиг.9 представляет собой частичный увеличенный вид в перспективе протектора пневматической шины, показанной на фиг.1. Фиг.10 представляет собой увеличенный вид сбоку, выполненный вдоль линии Х-Х на фиг.9. Фиг.11 представляет собой увеличенный вид части D, показанной на фиг.3. Фиг.12-15 представляют собой частичные увеличенные виды в перспективе протектора пневматической шины, показанной на фиг.1. Фиг.16 представляет собой таблицу, показывающую результаты испытаний в рабочих условиях пневматических шин в соответствии с примерами настоящего изобретения.
Направление ширины шины в используемом здесь смысле означает направление, параллельное оси вращения (непоказанной) пневматической шины 1. Внутренняя сторона в направлении ширины шины в используемом здесь смысле означает часть, расположенную ближе к экваториальной плоскости С шины в направлении ширины шины, и наружная сторона в направлении ширины шины в используемом здесь смысле означает часть, удаленную от экваториальной плоскости С шины в направлении ширины шины. Радиальное направление шины в используемом здесь смысле означает направление, ортогональное к оси вращения. Внутренняя сторона в радиальном направлении шины в используемом здесь смысле означать часть, расположенную ближе к оси вращения в радиальном направлении шины, и наружная сторона в радиальном направлении шины в используемом здесь смысле означает часть, удаленную от оси вращения в радиальном направлении шины. Направление вдоль окружности шины в используемом здесь смысле означает направление вдоль окружности вокруг оси вращения, служащей в качестве центральной оси. Экваториальная плоскость С шины в используемом здесь смысле означает плоскость, ортогональную к оси вращения пневматической шины 1 и проходящую через центр в направлении ширины шины для пневматической шины 1. Экваториальная линия шины в используемом здесь смысле означает линию, проходящую в экваториальной плоскости С шины и проходящую вдоль направления вдоль окружности пневматической шины.
Пневматическая шина 1 в соответствии с данным вариантом осуществления представляет собой пневматическую радиальную шину, такую как зимняя шина, используемая на ледяных и снеговых дорогах, или всесезонная шина, и включает в себя протектор 2.
Как показано на фиг.1, протектор 2 выполнен из резинового материала и открыт для воздействия снаружи пневматической шины 1, и его поверхность определяет очертание пневматической шины 1. В протекторе 2 образовано множество окружных канавок 21, простирающихся в направлении вдоль окружности шины, множество проходящих в направлении ширины канавок 22, простирающихся в направлении ширины шины, и участки 23 контактных площадок, сегментированные посредством окружных канавок 21 и канавок 22, проходящих в направлении ширины. На поверхностях участков 23 контактных площадок, то есть зон 23а контакта, подлежащих вводу в контакт с поверхностью дороги во время движения, образовано множество щелевидных дренажных канавок 231, представляющих собой малые канавки. Щелевидные дренажные канавки 231 создают краевой эффект посредством врезания в поверхность ледяной и снеговой дороги с тем, чтобы обеспечить «захват» на участках 23 контактных площадок. Это нужно для обеспечения тормозной характеристики и устойчивости при управлении на поверхности ледяной и снеговой дороги. В данном варианте осуществления щелевидные дренажные канавки 231 образованы с зигзагообразной формой для применения на ледяных и снеговых дорогах. Форма щелевидных дренажных канавок 231 не ограничена зигзагообразной формой, и они могут быть образованы так, что они будут простираться в направлении ширины шины линейным образом, хотя это не показано.
Как показано на фиг.2, на обеих наружных боковых сторонах протектора 2 в направлении ширины шины расположены плечевые зоны 3 шины. С внутренней стороны плечевых зон 3 шины в направлении ширины шины расположены боковины 4, которые открыты для воздействия на самых дальних от центра частях пневматической шины 1 в направлении ширины шины. На внутренней стороне боковин 4 в направлении ширины шины находятся борта 5, установленные на ободе (непоказанном). Внутри пневматической шины 1 расположен каркас, образующий конструкцию шины, при этом он образует тороидальную форму от края до края протектора 2 до бортов 5, хотя каркас не показан. На наружной окружной периферии каркаса протектора 2 шины 1 предусмотрен упрочняющий брекерный пояс.
В пневматической шине 1 боковые в направлении ширины шины поверхности 23b участков 23 контактных площадок, предусмотренные на частях, самых дальних от центра в направлении ширины шины (в плечевых зонах 3 шины), включают в себя углубленные участки 61 или выступающие участки 62, которые образованы так, что они соединяются с внутренними поверхностями канавок 22, проходящих в направлении ширины.
Углубленные участки 61 включают в себя углубленные участки А611 с нижней стороны канавок, граничащие с днищами канавок у канавок 22, проходящих в направлении ширины; и углубленные участки В612 с верхней стороны канавок, граничащие с отверстиями протектора, образованными канавками 22, проходящими в направлении ширины. Как показано на фиг.3-6, углубленные участки А611 с нижней стороны канавок выполнены так, что они граничат с частью нижних поверхностей канавок, представляющих собой канавки 22, проходящие в направлении ширины, и простираются через два из участков 23 контактных площадок, соседних друг с другом в направлении вдоль окружности шины, при этом каждая канавка 22, проходящая в направлении ширины, находится между ними. Напротив, как показано на фиг.3-10, углубленные участки В612 с верхней стороны канавок образованы так, что они граничат с частью отверстий канавок 22, проходящих в направлении ширины, а также граничат с частью зон 23а контакта участков 23 контактных площадок в частях, самых дальних от центра в направлении ширины шины.
Как показано на фиг.7-10, выступающие участки 62 образованы так, что они граничат с нижними сторонами (днищами) канавок, представляющих собой канавки 22, проходящие в направлении ширины, и простираются через два из участков 23 контактных площадок, соседних друг с другом в направлении вдоль окружности шины, при этом каждая из канавок 22, проходящих в направлении ширины, находится между ними, как в случае углубленных участков А611 с нижней стороны канавок.
На нижних поверхностях углубленных участков 61 (углубленных участков А611 с нижней стороны канавок, углубленных участков В612 с верхней стороны канавок), на верхних поверхностях выступающих участков 62 или на боковых в направлении ширины шины поверхностях 23b участков 23 контактных площадок образованы углубления/выступы 7. Углубления/выступы 7 выполнены так, чтобы обеспечить наличие или углублений, или выступов относительно подобных поверхностей. Данные углубления/выступы образованы попеременно и непрерывно. Углубления/выступы 7 продолжаются в направлении, наклонном по отношению к радиальному направлению шины. Фиг.4, 6, 8 и 10 показывают углубления/выступы 7, имеющие выступы, выступающие от поверхностей.
На Фиг.3 и 4 показаны углубления/выступы 7, образованные на нижних поверхностях углубленных участков 61 (углубленных участков А611 с нижней стороны канавок, углубленных участков В612 с верхней стороны канавок). На Фиг.7 и 8 показаны углубления/выступы 7, образованные на нижних поверхностях углубленных участков 61 (углубленных участков В612 с верхней стороны канавок) и на верхних поверхностях выступающих участков 62. Фиг.5 и 6 показывают углубления/выступы 7, образованные на боковых в направлении ширины шины поверхностях 23b участков 23 контактных площадок, при этом предусмотрены углубленные участки 61 (углубленные участки А611 с нижней стороны канавок, углубленные участки В612 с верхней стороны канавок). Кроме того, фиг.9 и 10 показывают углубления/выступы 7, образованные на боковых в направлении ширины шины поверхностях 23b участков 23 контактных площадок, при этом предусмотрены углубленные участки 61 (углубленные участки В612 с верхней стороны канавок) и выступающие участки 62.
В пневматической шине 1 участки 23 контактных площадок в частях, самых дальних от центра в направлении ширины шины, деформируются вследствие нагрузки, приложенной поперек направления ширины шины, когда транспортное средство совершает поворот, и боковые в направлении ширины шины поверхности 23b участков 23 контактных площадок вводятся в контакт с поверхностью дороги. Соответственно, углубленные участки 61 (углубленные участки А611 с нижней стороны канавок, углубленные участки В612 с верхней стороны канавок), выступающие участки 62 и углубления/выступы 7, которые все выполнены на боковых в направлении ширины шины поверхностях 23b, обеспечивают удаление водяных пленок, образующихся между поверхностью дороги и боковыми в направлении ширины шины поверхностями 23b. Более точно, углубленные участки 61 (углубленные участки А611 с нижней стороны канавок, углубленные участки В612 с верхней стороны канавок) и выступающие участки 62 выполнены так, что они соединяются с канавками 22, проходящими в направлении ширины. Поскольку вода, находящаяся между поверхностью дороги и боковыми в направлении ширины шины поверхностями 23b, удаляется в канавки 22, проходящие в направлении ширины, водяные пленки могут быть легко и быстро удалены. Кроме того, углубления/выступы 7 обеспечивают увеличенную площадь поверхности, которая будет находиться в контакте с водой, в результате чего обеспечивается эффективное удаление водяных пленок. Это обеспечивает улучшение тормозной характеристики и устойчивости при управлении, когда транспортное средство совершает поворот на ледяных и снеговых дорогах.
В пневматической шине 1 в соответствии с данным вариантом осуществления, как показано на фиг.4, 6, 8 и 10, каждый из углубленных участков 61 (углубленных участков А611 с нижней стороны канавок, углубленных участков В612 с верхней стороны канавок) имеет глубину d углубления, заданную в интервале 0,3 миллиметра) d 3,0 миллиметра, относительно боковых в направлении ширины шины поверхностей 23b участков 23 контактных площадок. Как показано на фиг.8 и 10, каждый из выступающих участков 62 имеет высоту h подъема выпуклости, заданную в интервале 0,3 миллиметра h 3,0 миллиметра, относительно боковых в направлении ширины шины поверхностей 23b участков 23 контактных площадок. Как показано на фиг.4, 6, 8 и 10, каждое/каждый из углублений/выступов 7 имеет: разность di, заданную в интервале 0,1 миллиметра di 2,0 миллиметра, высот боковых в направлении ширины шины поверхностей 23b участков 23 контактных площадок и углублений или выступов, шаг p выступов, заданный в интервале 0,3 миллиметра p 3,0 миллиметра; и ширину s углублений, заданную в интервале 0,1 миллиметра s 1,5 миллиметра. Шаг p выступов представляет собой расстояние между центральными точками соседних выступов, между которыми находится каждое углубление.
В соответствии с вышеописанной конструкцией, когда глубина d углубленных участков 61 (углубленных участков А611 с нижней стороны канавок, углубленных участков В612 с верхней стороны канавок) или высота h выступающих участков 62 составляет менее 0,3 миллиметра, дренажный эффект уменьшается. Напротив, когда глубина d углубленных участков 61 (углубленных участков А611 с нижней стороны канавок, углубленных участков В612 с верхней стороны канавок) или высота h выступающих участков 62 превышает 3,0 миллиметра, жесткость протектора 2 уменьшается, что приводит к снижению устойчивости при управлении. Кроме того, когда разность di у углублений/выступов 7 составляет менее 0,1 миллиметра, шаг p выступов превышает 3,0 миллиметра и ширина s углублений превышает 1,5 миллиметра, дренажный эффект уменьшается. Напротив, когда разность di у углублений/выступов 7 превышает 2,0 миллиметра, смазочный материал для пресс-формы (такой как силикон) легко попадает в углубления/выступы 7. Соответственно, смазочный материал для пресс-формы приводит к ухудшению тормозной характеристики и снижению устойчивости при управлении на ранней стадии использования пневматической шины 1, хотя он облегчает извлечение пневматической шины из пресс-формы для шин во время изготовления. По этим причинам за счет ограничения глубины d углубленных участков 61 (углубленных участков А611 с нижней стороны канавок, углубленных участков В612 с верхней стороны канавок), высоты h выступающих участков 62, разности di у углублений/выступов 7, шага p выступов и ширины s углублений обеспечивают улучшение характеристик при повороте (поворачиваемости) на ледяных дорогах и снеговых дорогах. Глубина d углубленных участков 61 (углубленных участков А611 с нижней стороны канавок, углубленных участков В612 с верхней стороны канавок) относительно боковых в направлении ширины шины поверхностей 23b участков 23 контактных площадок предпочтительно задана в интервале 0,3 миллиметра d 2,0 миллиметра. Высота h подъема выпуклости выступающих участков 62 относительно боковых в направлении ширины шины поверхностей 23b участков 23 контактных площадок предпочтительно задана в интервале 0,3 миллиметра h 2,0 миллиметра. У углублений/выступов 7 разность di высот боковых в направлении ширины шины поверхностей 23b участков 23 контактных площадок и углублений или выступов предпочтительно задана в интервале 0,1 миллиметра di 0,4 миллиметра, шаг p выступов предпочтительно задан в интервале 0,5 миллиметра p 1,5 миллиметра и ширина s углублений предпочтительно задана в интервале 0,2 миллиметра s 0,8 миллиметра. По существу, за счет ограничения глубины d углубленных участков (углубленных участков А611 с нижней стороны канавок, углубленных участков В612 с верхней стороны канавок), высоты h выступающих участков 62 и разности di, шага p выступов и ширины s углублений для углублений/выступов 7 так, чтобы их значения находились в предпочтительных интервалах, обеспечивают дополнительное улучшение характеристик при повороте (поворачиваемости) на ледяных дорогах и снеговых дорогах.
В пневматической шине 1 в соответствии с данным вариантом осуществления углубленные участки В612 с верхней стороны канавок, которые граничат с частью зон 23а контакта участков 23 контактных площадок в частях, самых дальних от центра в направлении ширины шины, выполнены подобно углубленным участкам 61, описанным выше.
В соответствии с вышеописанной конструкцией углубленные участки В612 с верхней стороны канавок создают краевой эффект. Это обеспечивает дополнительное улучшение характеристики при повороте (поворачиваемости) на ледяных дорогах и снеговых дорогах.
В пневматической шине 1 в соответствии с данным вариантом осуществления углубления/выступы 8 образованы в зонах 23а контакта участков 23 контактных площадок в частях, самых дальних от центра в направлении ширины шины, как показано на фиг.3, 5, 7 и 9. Углубления/выступы 8 выполнены так, чтобы обеспечить наличие или углублений, или выступов относительно поверхностей, как в случае углублений/выступов 7. Углубления и выступы образованы попеременно и непрерывно. Углубления/выступы 8 имеют: разность, заданную в интервале значений от не менее 0,1 миллиметра до не более 2,0 миллиметра, высот зон 23а контакта участков 23 контактных площадок и углублений или выступов; шаг выступов, заданный в интервале значений от не менее 0,3 миллиметра до не более 3,0 миллиметра (предпочтительно от не менее 0,5 миллиметра до не более 1,5 миллиметра); и ширину углублений, заданную в интервале значений от не менее 0,1 миллиметра до не более 1,5 миллиметра (предпочтительно от не менее 0,2 миллиметра до не более 0,8 миллиметра). Углубления/выступы 8 продолжаются в направлении, наклонном по отношению к направлению ширины шины. Как показано на фиг.10, углубления/выступы 8 соединяются с углублениями/выступами 7, образованными на нижних поверхностях углубленных участков 61 (углубленных участков В612 с верхней стороны канавок) или на боковых в направлении ширины шины поверхностях 23b участков 23 контактных площадок. В частности, углубления из углублений/выступов 8 соединяются с углублениями из углублений/выступов 7, и выступы из углублений/выступов 8 соединяются с выступами из углублений/выступов 7.
В соответствии с вышеописанной конструкцией углубления/выступы 7 соединяются с углублениями/выступами 8 в зонах 23а контакта участков 23 контактных площадок. Поскольку вода, находящаяся между поверхностью дороги и боковыми в направлении ширины шины поверхностями 23b, которые должны находиться в контакте друг с другом при повороте транспортного средства, выдавливается к углублениям/выступам 8, водяные пленки могут быть удалены легко и быстро. Это обеспечивает дополнительное улучшение характеристики при повороте (поворачиваемости) на ледяных дорогах и снеговых дорогах.
В пневматической шине 1 в соответствии с данным вариантом осуществления углубления/выступы 7 образованы на некотором расстоянии от наружной периферии поверхностей, на которых они образованы. В частности, плоские участки 7а предусмотрены вдоль наружной периферии поверхностей, на которых образованы углубления/выступы 7 (см. фиг.12-15). На фиг.12 видно, что углубления/выступы 7 образованы на нижних поверхностях углубленных участков 61 (углубленных участков А611 с нижней стороны канавок, углубленных участков В612 с верхней стороны канавок), и плоские участки 7а предусмотрены вдоль наружной периферии нижних поверхностей углубленных участков 61. На фиг.13 видно, что углубления/выступы 7 образованы на боковых в направлении ширины шины поверхностях 23b участков 23 контактных площадок, при этом одновременно предусмотрены углубленные участки 61 (углубленные участки А611 с нижней стороны канавок, углубленные участки В612 с верхней стороны канавок). Плоские участки 7а предусмотрены вдоль наружной периферии боковых в направлении ширины шины поверхностей 23b. На фиг.14 видно, что углубления/выступы 7 образованы на нижних поверхностях углубленных участков 61 (углубленных участков В612 с верхней стороны канавок) и на верхних поверхностях выступающих участков 62, и плоские участки 7а предусмотрены вдоль наружной периферии нижних поверхностей и верхних поверхностей. На фиг.15 видно, что углубления/выступы 7 образованы на боковых в направлении ширины шины поверхностях 23b участков 23 контактных площадок, при этом одновременно предусмотрены углубленные участки 61 (углубленные участки В612 с верхней стороны канавок) и выступающие участки 62. Плоские участки 7а предусмотрены вдоль наружной периферии боковых в направлении ширины шины поверхностей 23b.
Вышеописанная конструкция обеспечивает предотвращение уменьшения жесткости на тех участках, где образованы углубления/выступы 7, а также предотвращение растрескивания краев углублений/выступов 7.
В пневматической шине 1 в соответствии с данным вариантом осуществления углубленные участки 61 (углубленные участки А611 с нижней стороны канавок) или выступающие участки 62 образованы так, что они простираются и наклонены относительно нормали к направлению вдоль окружности шины (см. фиг.3 и 7).
В соответствии с вышеописанной конструкцией углубленные участки 61 (углубленные участки А611 с нижней стороны канавок) или выступающие участки 62 наклонены относительно нормали к направлению вдоль окружности шины под углом относительно направления вращения пневматической шины 1. Это обеспечивает краевой эффект, в результате чего дополнительно улучшается характеристика при повороте (поворачиваемость) на ледяных дорогах и снеговых дорогах. Наклон относительно нормали к направлению вдоль окружности шины может быть выполнен таким, что концы 6а углубленных участков 61 (углубленных участков А611 с нижней стороны канавок) или выступающих участков 62 будут ориентированы или к наружной стороне, или к внутренней стороне в радиальном направлении шины.
Угол наклона углубленных участков 61 (углубленных участков А611 с нижней стороны канавок) или выступающих участков 62 относительно касательной, проходящей в направлении вдоль окружности шины, предпочтительно задан в интервале 5 градусов 60 градусов. За счет задания угла наклона в пределах данного интервала можно обеспечить эффективное выдавливание воды, находящейся между поверхностью дороги и боковыми в направлении ширины шины поверхностями 23b, которые должны находиться в контакте друг с другом при повороте транспортного средства, в канавки 22, проходящие в направлении ширины. Кроме того, угол наклона предпочтительно задан в интервале 15 градусов 30 градусов для эффективного удаления воды, находящейся между поверхностью дороги и боковыми в направлении ширины шины поверхностями 23b, которые должны находиться в контакте друг с другом при повороте транспортного средства, в канавки 22, проходящие в направлении ширины.
В пневматической шине 1 в соответствии с данным вариантом осуществления углубленные участки 61 (углубленные участки А611 с нижней стороны канавок) или выступающие участки 62 образованы так, что они имеют остроугольные концы 6а, ориентированные в направлении вращения шины (см. фиг.3 и 7).
В соответствии с вышеописанной конструкцией острый угол концов 6а обеспечивает усиление краевого эффекта. Это обеспечивает дополнительное улучшение характеристики при повороте на ледяных дорогах и снеговых дорогах.
В пневматической шине 1 в соответствии с данным вариантом осуществления углубления/выступы 7 имеют угол , заданный в интервале 0 градусов 60 градусов, относительно радиального направления шины, как показано на фиг.3, 5, 7 и 9.
В соответствии с вышеописанной конструкцией, за счет ограничения угла углублений/выступов 7 относительно радиального направления шины можно обеспечить эффективное удаление воды, находящейся между поверхностью дороги и боковыми в направлении ширины шины поверхностями. Это обеспечивает дополнительное улучшение характеристики при повороте на ледяных дорогах и снеговых дорогах. Кроме того, за счет ограничения угла относительно радиального направления шины обеспечивают желательное растекание каучука внутри пресс-формы при формовании пневматической шины 1. Это позволяет уменьшить производственные дефекты, в результате чего обеспечивается повышение производительности при изготовлении пневматической шины, имеющей отличные характеристики при повороте на ледяных дорогах и снеговых дорогах.
Пневматическую шину 1 в соответствии с данным вариантом осуществления формуют в пресс-форме для шин, включающей в себя часть для формования протектора, посредством которой может быть получена определенная форма протектора 2 (см. фиг.1-15). При использовании пресс-формы для шин часть для формования протектора, посредством которой получают определенную форму углубленных участков 61 (углубленных участков А611 с нижней стороны канавок, углубленных участков В612 с верхней стороны канавок), выступающих участков 62, углублений/выступов 7 и углублений/выступов 8, создает возможность желательного растекания каучука. Это позволяет уменьшить производственные дефекты. Кроме того, поскольку каучук растекается желательным образом, вентиляционные отверстия уменьшены, так что уменьшается объем операций, связанных с удалением корневидных участков, образованных вследствие наличия вентиляционных отверстий. Это обеспечивает повышение производительности при изготовлении пневматической шины 1, имеющей отличные характеристики при повороте на ледяных дорогах и снеговых дорогах.
В соответствии со способом изготовления пневматической шины 1 невулканизованную шину (сырую шину) образуют на формовочной машине (непоказанной) с использованием материалов для каркаса, брекерного пояса, протектора, плечевых зон, боковин и бортов. После этого невулканизованную шину устанавливают в пресс-форму для шин, включающую в себя часть для формования протектора, посредством которой протектору 2 может быть придана определенная форма. Невулканизованную шину вводят в контакт с пресс-формой для шин при одновременном расширении данной шины наружу в радиальном направлении шины. Невулканизованную шину нагревают, так что молекулы каучука и молекулы серы в протекторе соединяются, и происходит вулканизация. Во время вулканизации протекторная часть невулканизованной шины соответствует по форме форме пресс-формы для шин, так что образуется протектор 2 пневматической шины 1. В завершение отформованную пневматическую шину 1 извлекают из пресс-формы для шин.
Способ изготовления пневматической шины 1 позволяет изготовить пневматическую шину 1, имеющую отличную характеристику при повороте на ледяных дорогах и снеговых дорогах.
В пневматической шине 1 в соответствии с данным вариантом осуществления углубленные участки 61 («открывающиеся» углубленные участки 612) и выступающие участки 62 образованы так, что уступы образуются на открывающихся углубленных участках 612 и боковых в направлении ширины шины поверхностях 23b вплоть до выступающих участков 62 и что уступы постепенно увеличиваются по мере удаления от боковых в направлении ширины шины поверхностей 23b, как показано на фиг.7-10, 14 и 15. В соответствии с данной конструкцией уступы обеспечивают усиление краевого эффекта, в результате чего дополнительно улучшается характеристика при повороте на ледяных дорогах и снеговых дорогах.
В соответствии с данным вариантом осуществления были проведены испытания в рабочих условиях для определения характеристики при повороте на ледяных дорогах и снеговых дорогах путем использования пневматических шин множества видов с разными характеристиками (см. фиг.16).
Испытания в рабочих условиях были проведены посредством крепления пневматических шин с размером шины 215/60R16 на обычных ободьях, с использованием обычного внутреннего давления и обычной нагрузки и последующей установки шин на четырехколесном транспортном средстве для испытаний (с рабочим объемом 2500 см3, с передним расположением двигателя и приводом на задние колеса (FR). Обычный обод относится к «применимому ободу», определенному Ассоциацией японских производителей автомобильных шин (JATMA – Japanese Automobile Tyre Manufacturers Association, Inc.), «проектному (расчетному) ободу», определенному Ассоциацией производителей шин и колес (США) (TRA – Tire and Rim Association, Inc.), или «измерительному ободу», определенному Европейской организацией по шинам и колесным ободьям (ETRTO – European Tyre and Rim Technical Organization). Нормальное внутреннее давление соответствует «максимальному давлению воздуха», определенному Ассоциацией японских производителей автомобильных шин, максимальной величине «ПРЕДЕЛЬНЫХ НАГРУЗОК НА ШИНЫ ПРИ РАЗНЫХ ЗНАЧЕНИЯХ ВНУТРЕННЕГО ДАВЛЕНИЯ ПРИ НИЗКИХ ТЕМПЕРАТУРАХ» (“TIRE LOAD LIMITS AT VARIOUS COLD INFLATION PRESSURES”), определенных Ассоциацией производителей шин и колес (США), или «ВНУТРЕННИХ ДАВЛЕНИЙ» (“INFLATION PRESSURES”), определенных Европейской организацией по шинам и колесным ободьям. Нормальная нагрузка соответствует «максимальной несущей способности», определенной Ассоциацией японских производителей автомобильных шин, максимальной величине «ПРЕДЕЛЬНЫХ НАГРУЗОК НА ШИНЫ ПРИ РАЗНЫХ ЗНАЧЕНИЯХ ВНУТРЕННЕГО ДАВЛЕНИЯ ПРИ НИЗКИХ ТЕМПЕРАТУРАХ» (“TIRE LOAD LIMITS AT VARIOUS COLD INFLATION PRESSURES”), определенных Ассоциацией производителей шин и колес (США), или «НЕСУЩЕЙ СПОСОБНОСТИ» (“LOAD CAPACITY”), определенной Европейской организацией по шинам и колесным ободьям.
В качестве способа оценки, испытания в рабочих условиях для определения характеристики при повороте были проведены так, что обеспечивали движение транспортного средства для испытаний, снабженного прикрепленными пневматическими шинами, по кругу с радиусом 30 м как на ледяной дороге, так и на снеговой дороге, при этом измеряли время прохождения одного круга каждый раз, когда транспортное средство проходило один круг, и рассчитывали среднее значение из времен прохождения одного круга, измеренного для пяти кругов, отдельно для ледяной дороги и снеговой дороги. После этого результаты измерений были оценены как индексированные значения при использовании обычного примера в качестве базы (100). При данной оценке более высокие значения предпочтительны.
Пневматические шины по обычному примеру не имеют никаких углубленных участков (углубленных участков с нижней стороны канавок, углубленных участков с верхней стороны канавок), никаких выступающих участков и никаких углублений/выступов. Напротив, пневматические шины по примеру 1 включают в себя углубленные участки с нижней стороны канавок или выступающие участки и углубления/выступы снаружи участков контактных площадок, которые все выполнены соответствующим образом. Пневматические шины по примеру 2 включают в себя углубленные участки с верхней стороны канавок помимо элементов по примеру 1. В пневматических шинах по примеру 3 углубления/выступы, предусмотренные снаружи участков контактных площадок, соединены с углублениями/выступами, предусмотренными в зонах контакта контактных площадок, помимо элементов по примеру 2. В пневматических шинах по примеру 4 углубления/выступы снаружи участков контактных площадок предусмотрены на некотором расстоянии от наружной периферии их поверхностей, помимо элементов по примеру 3. В пневматических шинах по примеру 5 углубленные участки с нижней стороны канавок или выступающие участки наклонены, в дополнение к элементам по фиг.4. В пневматических шинах по примеру 6 углубленные участки с нижней стороны канавок или выступающие участки имеют остроугольные концы, помимо элементов по примеру 5. Пневматические шины по примерам 1-6 включают в себя углубленные участки (углубленные участки с нижней стороны канавок) или выступающие участки, которые образуют угол наклона, заданный равным 20 градусам, относительно касательной линии, проходящей в направлении вдоль окружности шины.
Как видно из результатов испытаний, показанных на фиг.16, пневматические шины по примерам 1-6 имеют отличную характеристику при повороте на ледяной дороге и снеговой дороге.
Пневматическая шина в соответствии с одним аспектом настоящего изобретения включает в себя углубленные участки или выступающие участки, которые выполнены с соединением их с канавками, проходящими в направлении ширины. Когда транспортное средство совершает поворот, вода, находящаяся между поверхностью дороги и боковыми в направлении ширины шины поверхностями участков контактных площадок, выходит в канавки, проходящие в направлении ширины, так что водяные пленки могут быть легко и быстро удалены. Кроме того, углубления/выступы обеспечивают увеличенную площадь поверхности, которая будет находиться в контакте с водой, в результате чего обеспечивается эффективное удаление водяных пленок. Это обеспечивает улучшение характеристики при повороте на ледяных дорогах и снеговых дорогах.
Пресс-форма для шин в соответствии с другим аспектом настоящего изобретения включает в себя часть для формования протектора, посредством которой получают углубленные участки, выступающие участки, углубления/выступы с определенной формой. Это обеспечивает возможность желательного растекания каучука и, следовательно, позволяет уменьшить производственные дефекты. Кроме того, поскольку обеспечивается желательное растекание каучука, уменьшаются вентиляционные отверстия, так что уменьшается объем операций для удаления корневидных участков, образованных вследствие наличия вентиляционных отверстий. Это обеспечивает повышение производительности при изготовлении пневматической шины, имеющей отличную характеристику при повороте (поворачиваемость) на ледяных дорогах и снеговых дорогах.
Способ изготовления пневматической шины в соответствии с еще одним аспектом настоящего изобретения обеспечивает возможность изготовления пневматической шины, имеющей отличную характеристику при повороте на ледяных дорогах и снеговых дорогах.
Несмотря на то, что изобретение было описано в связи с определенными вариантами осуществления для полного и ясного раскрытия, приложенную формулу изобретения не следует ограничивать данными вариантами осуществления, но следует понимать как заключающую в себе все модификации и альтернативные конструкции, которые могут «прийти на ум» специалисту в данной области техники и которые явно находятся в пределах базовой идеи, приведенной здесь.
Формула изобретения
1. Пневматическая шина, содержащая: протектор, включающий в себя участки контактных площадок, образованные и сегментированные посредством множества окружных канавок, простирающихся в направлении вдоль окружности шины, и множества проходящих в направлении ширины канавок, простирающихся в направлении ширины шины, при этом щелевидные дренажные канавки образованы в зонах контакта участков контактных площадок; углубленные участки или выступающие участки, образованные на боковых в направлении ширины шины поверхностях участков контактных площадок, расположенных в частях, самых дальних от центра в направлении ширины шины, так, чтобы они соединялись с канавками, проходящими в направлении ширины; и первые углубления/выступы, выполненные на нижних поверхностях углубленных участков, на верхних поверхностях выступающих участков или на боковых в направлении ширины шины поверхностях участков контактных площадок так, что их углубления/выступы расположены попеременно и непрерывно линейным образом.
2. Пневматическая шина по п.1, в которой каждый из углубленных участков имеет глубину d углубления, заданную в интервале 0,3 мм d 3,0 мм, относительно боковых в направлении ширины шины поверхностей участков контактных площадок, каждый из выступающих участков имеет высоту h подъема, заданную в интервале 0,3 мм h 3,0 мм, относительно боковых в направлении ширины шины поверхностей участков контактных площадок, и каждое/каждый из первых углублений/выступов имеет: разность di, заданную в интервале 0,1 мм di 2,0 мм, высот боковых в направлении ширины шины поверхностей участков контактных площадок и углублений или выступов, шаг р выступов, заданный в интервале 0,3 мм р 3,0 мм; и ширину s углублений, заданную в интервале 0,1 мм s 1,5 мм.
3. Пневматическая шина по п.1, в которой углубленные участки выполнены так, чтобы они граничили с зонами контакта участков контактных площадок, расположенных в частях, самых дальних от центра в направлении ширины шины.
4. Пневматическая шина по п.1, дополнительно содержащая вторые углубления/выступы в зонах контакта участков контактных площадок в частях, самых дальних от центра в направлении ширины шины, при этом вторые углубления/выступы соединены с первыми углублениями/выступами, образованными на нижних поверхностях углубленных участков, расположенных так, чтобы они граничили с зонами контакта участков контактных площадок, или на боковых в направлении ширины шины поверхностях участков контактных площадок.
5. Пневматическая шина по п.1, в которой первые углубления/выступы, образованные на нижних поверхностях углубленных участков, на верхних поверхностях выступающих участков или на боковых в направлении ширины шины поверхностях участков контактных площадок, образованы на расстоянии от наружной периферии тех поверхностей, на которых образованы первые углубления/выступы.
6. Пневматическая шина по п.1, в которой углубленные участки или выступающие участки выполнены так, что они простираются и наклонены относительно нормали к направлению вдоль окружности шины.
7. Пневматическая шина по п.6, в которой углубленные участки или выступающие участки имеют угол наклона, заданный в интервале 5° 60°, относительно касательной, проходящей в направлении вдоль окружности шины.
8. Пневматическая шина по п.1, в которой каждый из углубленных участков или выступающих участков выполнен так, что он имеет остроугольный конец, ориентированный в направлении вращения шины.
9. Пневматическая шина по п.1, в которой первые углубления/выступы, расположенные на нижних поверхностях углубленных участков, на верхних поверхностях выступающих участков или на боковых в направлении ширины шины поверхностях участков контактных площадок, имеют угол , заданный в интервале 0° 60°, относительно радиального направления шины.
10. Пневматическая шина по п.1, в которой щелевидные дренажные канавки выполнены зигзагообразными для применения на ледяной и снеговой дороге.
11. Пресс-форма для шин, содержащая часть для формования протектора, посредством которой образуют заданную форму протектора пневматической шины по п.1.
12. Способ изготовления пневматической шины, в котором осуществляют: образование невулканизованной шины; установку невулканизованной шины в пресс-форму для шин по п.11; прикрепление невулканизованной шины к пресс-форме для шин при одновременном расширении невулканизованной шины наружу в радиальном направлении шины и нагрев невулканизованной шины так, что происходит вулканизация.
РИСУНКИ
|
|