|
|
(21), (22) Заявка: 2009118837/15, 20.05.2009
(24) Дата начала отсчета срока действия патента:
20.05.2009
(46) Опубликовано: 10.08.2010
(56) Список документов, цитированных в отчете о поиске:
RU 2092191 С1, 10.10.1997. RU 2284833 С2, 10.10.2006. RU 94018873 А1, 20.04.1996. RU 2034451 С1, 10.05.1995. JP 10323558 А, 08.12.1998.
Адрес для переписки:
125009, Москва, Средний Кисловский пер., 7/10, кв.26, А.С. Попову
|
(72) Автор(ы):
Гольдштейн Яков Абраммерович (RU), Шашковский Сергей Геннадьевич (RU)
(73) Патентообладатель(и):
Гольдштейн Яков Абраммерович (RU), Шашковский Сергей Геннадьевич (RU)
|
(54) УСТАНОВКА ДЛЯ ОБЕЗЗАРАЖИВАНИЯ ВОЗДУХА
(57) Реферат:
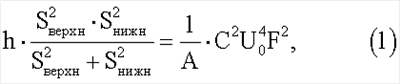
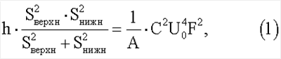
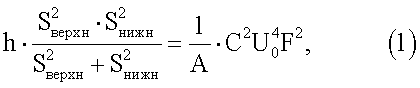
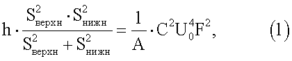
Изобретение относится к обеззараживанию воздуха в помещениях. Установка для обеззараживания воздуха содержит корпус (1), в котором размещены блок питания и управления, включающий накопительный конденсатор (2), высоковольтный источник постоянного тока (3), генератор импульсов поджига (4), импульсный трансформатор (5) на ферритовом сердечнике и блок программного управления (6), и закрепленный на корпусе источник ультрафиолетового излучения в виде импульсной газоразрядной лампы (7). Лампа размещена в кожухе (9) с возможностью конвективного охлаждения воздухом и образует с накопительным конденсатором разрядный контур, связанный с генератором импульсов поджига посредством импульсного трансформатора на ферритовом сердечнике. В верхней и нижней частях кожуха выполнены отверстия верхнего (11) и нижнего (10) уровней соответственно, при следующем соотношении параметров:

где h – расстояние между отверстиями верхнего уровня и отверстиями нижнего уровня, м; Sверхн – суммарная площадь отверстий верхнего уровня, м2; Sнижн – суммарная площадь отверстий нижнего уровня, м2; А=(2÷30)·1013 Дж2/м5с2 – энергетический коэффициент согласования; С – емкость накопительного конденсатора, Ф; U0 – напряжение заряда накопительного конденсатора, В; F – частота повторения импульсов генератора импульсов поджига, Гц. Изобретение позволяет упростить конструкцию установки и обеспечить надежную работу импульсной газоразрядной лампы, а также повысить степень обеззараживания воздуха при низком уровне наработки озона в обрабатываемом помещении. 4 з.п. ф-лы, 3 ил.
Изобретение относится к медицинской технике и может быть использовано для повышения эффективности обеззараживания воздуха в помещениях различного назначения.
Из уровня техники известно устройство для обеззараживания воздуха, содержащее один или несколько источников ультрафиолетового излучения в виде бактерицидных ламп на парах ртути, работающих в режиме непрерывного горения (RU 2153886 C1, A61L 9/20, 2000; RU 2153886 C1, A61L 9/20, 2007; ЕР 0220050, A61L 9/18, 1987). Основным недостатком известных устройств является невысокая производительность, обусловленная низкоинтенсивным монохроматическим характером излучения бактерицидных ламп, и, соответственно, большое время облучения для обеспечения эффективного обеззараживания воздуха.
Известна также установка для обеззараживания и дезодорации воздуха, содержащая корпус, в котором размещены блок питания и управления, включающий накопительный конденсатор, высоковольтный источник постоянного тока, генератор импульсов поджига, импульсный трансформатор на ферритовом сердечнике и схему управления, и закрепленный на корпусе источник ультрафиолетового излучения в виде импульсной газоразрядной лампы, заключенной в трубчатый кварцевый кожух, охлаждаемый водой, при этом накопительный конденсатор и импульсная газоразрядная лампа образуют разрядный контур, связанный с генератором импульсов поджига посредством импульсного трансформатора на ферритовом сердечнике (RU 2092191 C1, A61L 9/20, 1997). Наличие водяного охлаждения импульсной газоразрядной лампы усложняет и утяжеляет конструкцию установки и снижает эффективностью обеззараживающей обработки воздуха.
Изобретение направлено на упрощение конструкции установки и повышение эффективности обеззараживания воздуха.
Решение поставленной задачи обеспечивается тем, что в установке для обеззараживания воздуха, содержащей корпус, в котором размещены блок питания и управления, включающий накопительный конденсатор, высоковольтный источник постоянного тока, генератор импульсов поджига, импульсный трансформатор на ферритовом сердечнике и блок программного управления, и закрепленный на корпусе источник ультрафиолетового излучения в виде импульсной газоразрядной лампы, заключенной в трубчатый прозрачный для бактерицидного излучения охлаждаемый кожух, при этом накопительный конденсатор и импульсная газоразрядная лампа образуют разрядный контур, связанный с генератором импульсов поджига посредством импульсного трансформатора на ферритовом сердечнике, согласно изобретению, импульсная газоразрядная лампа размещена в прозрачном для бактерицидного излучения кожухе с возможностью конвективного охлаждения воздухом за счет создания естественной тяги внутри кожуха, при этом в верхней части кожуха выполнены одно или несколько отверстий верхнего уровня, а в нижней части кожуха выполнены отверстия нижнего уровня, при следующем соотношении параметров:

где h – расстояние между отверстиями верхнего уровня и отверстиями нижнего уровня, м;
Sверхн – суммарная площадь отверстий верхнего уровня, м2;
Sнижн – суммарная площадь отверстий нижнего уровня, м2;
А=(2÷30)·1013 Дж2/м5с2 – энергетический коэффициент согласования;
С – емкость накопительного конденсатора, Ф;
U0 – напряжение заряда накопительного конденсатора, В;
F – частота повторения импульсов генератора импульсов поджига, Гц.
Предпочтительно, чтобы источник ультрафиолетового излучения был установлен на корпусе вертикально.
При этом импульсная газоразрядная лампа может быть выполнена U-образной или цилиндрической.
При этом отверстия нижнего уровня могут быть выполнены в боковой поверхности кожуха.
Кроме того, источник ультрафиолетового излучения может быть установлен горизонтально, а отверстия верхнего и нижнего уровня могут быть выполнены в боковой поверхности кожуха.
Выполнение кожуха с отверстиями верхнего и нижнего уровня обеспечивает возможность конвективного охлаждения импульсной газоразрядной лампы восходящим потоком воздуха, протекающим за счет естественной тяги внутри кожуха, что упрощает конструкцию источника ультрафиолетового излучения и установки в целом, а заявленное соотношение (1), включающее энергетический коэффициент согласования и связывающее конструктивные и энергетические (режимные) параметры установки, которое получено экспериментальным путем, обеспечивает в заявленном диапазоне А=(2÷30)·1013 Дж2/м5с2 оптимальность и эффективность одновременно протекающих процессов свободной конвекции и охлаждения импульсной газоразрядной лампы и процессов образования озона из кислорода воздуха за счет коротковолнового участка ультрафиолетового излучения и термического разрушения озона за счет тепла, выделяющегося при импульсном разряде электрического тока в газоразрядной лампе, что обусловливает надежную работу импульсной газоразрядной лампы и высокую степень обеззараживания воздуха при низком уровне наработки озона в обрабатываемом помещении.
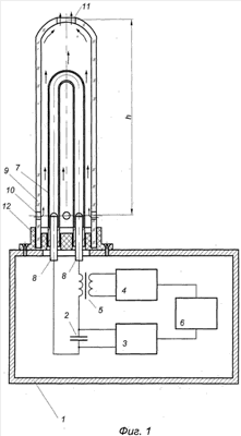
На Фиг.1 изображен общий вид установки для обеззараживания воздуха с вертикальной U-образной газоразрядной лампой; на Фиг.2 – то же для варианта с вертикальной цилиндрической газоразрядной лампой; на Фиг.3 изображена конструкция импульсной газоразрядной лампы с горизонтальным расположением.
Установка для обеззараживания воздуха содержит корпус 1, в котором размещен блок питания и управления, включающий накопительный конденсатор 2, подключенный к высоковольтному источнику 3 постоянного тока, генератор 4 импульсов поджига, к которому подключен импульсный трансформатор 5 на ферритовом сердечнике, и блок 6 программного управления. На корпусе 1 закреплен источник ультрафиолетового излучения в виде импульсной газоразрядной лампы 7, образующей с накопительным конденсатором 2 и вторичной обмоткой импульсного трансформатора 5 на ферритовом сердечнике замкнутый разрядный контур. Импульсная газоразрядная лампа 7 выполнена в виде кварцевой трубки U-образной (Фиг.1) или цилиндрической (Фиг.2) формы, полость которой заполнена инертным газом ксеноном при давлении 300÷450 мм рт.ст., а на торцах вварены электроды 8 из торированого вольфрама, и размещена в кожухе 9 из прозрачного для бактерицидного излучения материала (например, из плавленого кварца, спектральный диапазон прозрачности которого обычно составляет 185÷2700 нм, или из сапфира), в котором выполнены отверстия 10 нижнего уровня и отверстия 11 верхнего уровня, расстояние между которыми составляет «h». Кожух 9 и импульсная газоразрядная лампа 7 установлены на корпусе 1, предпочтительно, вертикально с помощью диэлектрического фланца 12.
При выполнении импульсной газоразрядной лампы 7 в форме прямого цилиндра (Фиг.2) отверстия 11 верхнего уровня и отверстия 10 нижнего уровня могут выполняться в боковой поверхности цилиндрического кожуха 9, при этом расстояние между отверстиями 10 и 11 составляет «h1». Возможно также размещение отверстий 13 нижнего уровня в нижнем диэлектрическом фланце 12, а отверстий 14 верхнего уровня – в верхнем диэлектрическом фланце 15, при этом расстояние между отверстиями 13 и 14 составляет «h2».
В варианте горизонтального расположения импульсной газоразрядной лампы 7 и кожуха 9 (Фиг.3) отверстие 10 нижнего уровня может быть выполнено в середине нижней части боковой поверхности кожуха 9, а отверстия 11 верхнего уровня могут быть выполнены в верхней части боковой поверхности кожуха 9 вблизи торцов, при этом расстояние между отверстиями 10 и 11 составляет «h3» и/или в диэлектрическом фланце 16 (отверстия 14) при этом расстояние между отверстиями 10 и 14 составляет «h4».
Установка для обеззараживания воздуха характеризуется экспериментально полученным соотношением (1), связывающим конструктивные геометрические параметры кожуха 9 и энергетические (режимные) параметры работы импульсной газоразрядной лампы 7 установки:

где h – расстояние между отверстиями верхнего уровня и отверстиями нижнего уровня, м;
Sверхн – суммарная площадь отверстий верхнего уровня, м2;
Sнижн – суммарная площадь отверстий нижнего уровня, м2;
А=(2÷30)·1013 Дж2/м5с2 – энергетический коэффициент согласования;
С – емкость накопительного конденсатора, Ф;
U0 – напряжение заряда накопительного конденсатора, В;
F – частота повторения импульсов генератора импульсов поджига, Гц.
Заявленный диапазон А=(2÷30)·1013 Дж2/м5с2 обеспечивает оптимальность и эффективность одновременно протекающих процессов свободной конвекции внутри кожуха 9 и охлаждения импульсной газоразрядной лампы 7 и процессов образования озона из кислорода воздуха за счет коротковолнового участка ультрафиолетового излучения и термического разрушения озона за счет тепла, выделяющегося при импульсном разряде электрического тока в газоразрядной лампе 7, что обусловливает надежную работу импульсной газоразрядной лампы 7 и высокую степень обеззараживания воздуха при низком уровне наработки озона в обрабатываемом помещении.
В память блока 6 программного управления предварительно занесены тарировочные результаты микробиологических проб по определению времени облучения заданного объема помещения до получения требуемой бактерицидной эффективности обеззараживания воздуха для установки с конкретными техническими параметрами, удовлетворяющими соотношению (1).
Установка для обеззараживания воздуха работает следующим образом.
Перед началом работы установка размещается в середине помещения и оператор вводит в блок 6 программного управления данные об объеме помещения и требуемом уровне обеззараживания. Затем оператор включает установку в работу и выходит из помещения.
Через заданное время задержки (20÷30 секунд) блок 6 программного управления включает высоковольтный источник 3 постоянного тока, который заряжает накопительный конденсатор 2. По достижении заданного напряжения заряда (преимущественно, U0=1,4÷2,8 кВ) блок 6 программного управления отключает источник 3 постоянного тока и запускает генератор 4 импульсов поджига, который вырабатывает импульсы амплитудой 0,7÷1,5 кВ и длительностью 0,1÷1 мкс, вызывающие протекание соответствующего тока в первичной обмотке импульсного трансформатора 5. Благодаря электромагнитной связи обмоток через общий ферритовый сердечник во вторичной обмотке импульсного трансформатора 5 индуцируется импульс напряжением до 20 кВ. Это напряжение оказывается приложенным к электродам 8 и вызывает первичный электрический пробой ксенона в полости импульсной газоразрядной лампы 7. По образовавшемуся каналу проводящей плазмы разряжается накопительный конденсатор 2, при этом первичная плазма интенсивно ионизируется, разогревается и расширяется, заполняя весь внутренний объем полости импульсной газоразрядной лампы 7. Температура плазмы в максимуме импульса разрядного тока достигает величин 12÷18 кК. Такая оптически плотная плазма интенсивно излучает в ультрафиолетовом и видимом диапазоне спектра, причем характер спектра непрерывный и полностью перекрывает бактерицидный диапазон (205÷305 нм). Это излучение проходит через прозрачные для бактерицидного излучения трубку импульсной газоразрядной лампы 7 и кожух 9 и, поступая в окружающий воздух помещения, осуществляет его обеззараживание.
После разряда накопительного конденсатора 2 ток через плазму прекращается, плазма остывает, деионизируется и переходит в обычное молекулярное состояние.
Далее процесс повторяется с частотой, определяемой мощностью высоковольтного источника 3 постоянного тока (преимущественно, F=2÷4 Гц). По истечении заданного времени обработки установка выключается.
Импульсы разрядного тока и, соответственно, импульсы излучения представляют собой периодическую последовательность, причем длительность импульса тока на полувысоте составляет 80÷120 мкс, а период повторения импульсов составляет 300÷500
мс, т.е. запасенная в накопительном конденсаторе электрическая энергия вкладывается в плазму в течение очень короткого времени, которое приблизительно в 3000÷5000 раз короче длительности паузы между импульсами.
Каждый импульс ультрафиолетового излучения, а точнее часть ультрафиолетового излучения с длиной волны менее 210 нм, вызывает образование некоторого количества озона из кислорода воздуха в пространстве между кожухом 9 и импульсной газоразрядной лампой 7. Этот озон не может сразу попасть в окружающее пространство, поскольку задерживается кожухом 9, а для самопроизвольного выхода через отверстия в кожухе требуется значительное время.
По мере работы установки воздушно-озоновая смесь в пространстве между кожухом 9 и импульсной газоразрядной лампой 7 нагревается за счет значительного тепловыделения с поверхности трубки импульсной газоразрядной лампы 7 (в используемых режимах около 40% вложенной электрической энергии превращается в теплоту) и ее температура быстро растет. Экспериментальные данные показывают, что температура стенок кожуха 9, трубки импульсной газоразрядной лампы 7 и газа (озоновоздушной смеси) в пространстве между ними достигает квазистационарного значения уже через 40÷80 секунд с начала работы.
Разогрев озоновоздушной смеси в пространстве между кожухом 9 и трубкой импульсной газоразрядной лампы 7 активизирует два одновременно протекающих процесса: во-первых, при высокой температуре (более 200°С) озон быстро разлагается на атомарный кислород, который тут же переходит в молекулярную форму, и, во-вторых, за счет снижения плотности газа (озоновоздушной смеси) при его нагреве появляется значительная разность плотностей и давлений среды внутри и снаружи кожуха 9, которая приводит к возникновению восходящего конвективного потока воздуха (озоновоздушной смеси) внутри кожуха от отверстий нижнего уровня к отверстиям верхнего уровня (эффект естественной тяги). Этот восходящий поток нагретого воздуха, в котором озон уже восстановлен до молекулярного кислорода, уносит избыток тепла, охлаждая в режиме свободной конвекции импульсную газоразрядную лампу 7, и выходит из кожуха 9 в окружающий воздух при практическом отсутствии озона.
Взаимосвязь указанных физических процессов отражена в заявленном соотношении (1) между геометрическими параметрами кожуха 9 и режимами работы импульсной газоразрядной лампы 7, а экспериментально определенный энергетический коэффициент согласования А может принимать значения от 2·1013 до 3·1014 Дж2/м5с2. В этом диапазоне значений обеспечивается установление оптимального баланса между протекающими в источнике ультрафиолетового излучения процессами интенсивного излучения в ультрафиолетовом и видимом диапазоне спектра и выделения значительного количества тепла в озоновоздушной смеси и процессом конвективного охлаждения поверхности трубки импульсной газоразрядной лампы 7 потоком воздуха, протекающего за счет естественной тяги, причем меньшее значение коэффициента А определяет достижение температуры интенсивного пиролиза озона, а большее значение определяет ограничение температуры стенок колбы импульсной газоразрядной лампы, связанное с тепловым размягчением материала колбы. При этом чем больше вкладываемая в импульсную газоразрядную лампу 7 электрическая мощность, тем больше вырабатывается ультрафиолетового излучения, тем больше образуется озона внутри источника ультрафиолетового излучения, и тем больше выделяется тепла и нагревается озоновоздушная смесь, и тем больше скорость термического разложения озона, и тем больше расход воздуха через отверстия в кожухе 9, и тем лучше условия конвективного охлаждения импульсной газоразрядной лампы 7.
Пример 1. Установка для обеззараживания воздуха мощностью 1 кВт с импульсной газоразрядной лампой U-образной формы, расположенной вертикально (Фиг.1) в кварцевом кожухе диаметром 50 мм, имеет следующие технические параметры:
С=100 мкФ = 10-4 Ф, U0=2000 В, F=2,5 Гц, h=0,275 м, Sверхн=2·10-4 м2, Sнижн=1,7·10-4 м2.
Установка размещается в помещении с размерами: длина: 3,70 м, ширина 3,05 метров, высота 3,85 м, общий объем помещения 29,2 м3. Ранее выполненные микробиологические пробы для установки с данными параметрами показали, что для обеспечения бактерицидной эффективности обеззараживания воздуха, равной 99,9% (т.е. из каждых 1000 уничтожается 999 микроорганизмов) по санитарно-показательному микроорганизму St.Aureus, необходимое время работы установки составляет 36 секунд. Установка посредством блока 6 программного управления включается на указанное время, после чего с помощью газоанализатора ГАНК – 4 определяется содержание озона в воздухе и рассчитывается средняя по объему концентрация озона в воздухе, которая в указанных условиях составила 49 мкг/м3.
Полученное значение не превышает ПДК озона для воздуха рабочей зоны согласно ГН 2.2.5.1313-03 “Предельно допустимые концентрации (ПДК) вредных веществ в воздухе рабочей зоны” – 100 мкг/м3.
Пример 2. Установка для обеззараживания воздуха мощностью 200 Вт с импульсной газоразрядной лампой в виде прямого цилиндра, расположенной горизонтально (согласно фиг.3) в кварцевом кожухе диаметром 20 мм, имеет следующие технические параметры:
С=60 мкФ = 6·10-5 Ф, U0=1400 В, F=2,5 Гц, h=20 мм = 0,02 м, Sверхн=21 см2 = 2·10-4 м2, Sнижн=2 см2 = 2·10-4 м2.
Установка размещается в том же помещении объемом 29,2 м3. В соответствии с микробиологическими пробами для обеспечения бактерицидной эффективности обеззараживания воздуха, равной 99,9% по санитарно-показательному микроорганизму St.Aureus, необходимое время работы данной установки составляет 300 секунд. Установка посредством блока 6 программного управления включается на указанное время, после чего определяется средняя по объему концентрация озона в воздухе, которая в данном случае равна 84 мкг/м3. Полученное значение также не превышает ПДК озона для воздуха рабочей зоны.
Формула изобретения
1. Установка для обеззараживания воздуха, включающая корпус, в котором размещены блок питания и управления, включающий накопительный конденсатор, высоковольтный источник постоянного тока, генератор импульсов поджига, импульсный трансформатор на ферритовом сердечнике и блок программного управления, и закрепленный на корпусе источник ультрафиолетового излучения в виде импульсной газоразрядной лампы, заключенной в трубчатый прозрачный для бактерицидного излучения охлаждаемый кожух, при этом накопительный конденсатор и импульсная газоразрядная лампа образуют разрядный контур, связанный с генератором импульсов поджига посредством импульсного трансформатора на ферритовом сердечнике, отличающаяся тем, что импульсная газоразрядная лампа размещена в прозрачном для бактерицидного излучения кожухе с возможностью конвективного охлаждения воздухом за счет создания естественной тяги внутри кожуха, при этом в верхней части кожуха выполнены одно или несколько отверстий верхнего уровня, а в нижней части кожуха выполнены отверстия нижнего уровня при следующем соотношении параметров:
 где h – расстояние между отверстиями верхнего уровня и отверстиями нижнего уровня, м; Sверхн – суммарная площадь отверстий верхнего уровня, м2; Sнижн – суммарная площадь отверстий нижнего уровня, м2; А=(2÷30)·1013 Дж2/(м5с2) – энергетический коэффициент согласования; С – емкость накопительного конденсатора, Ф; U0 – напряжение заряда накопительного конденсатора, В; F – частота повторения импульсов генератора импульсов поджига, Гц.
2. Установка по п.1, отличающаяся тем, что источник ультрафиолетового излучения установлен на корпусе вертикально.
3. Установка по п.2, отличающаяся тем, что импульсная газоразрядная лампа выполнена U-образной.
4. Установка по п.1 или 2, отличающаяся тем, что отверстия нижнего уровня выполнены в боковой поверхности кожуха.
5. Установка по п.1, отличающаяся тем, что источник ультрафиолетового излучения установлен горизонтально, а отверстия верхнего и нижнего уровней выполнены в боковой поверхности кожуха.
РИСУНКИ
|
|