|
|
(21), (22) Заявка: 2005135117/09, 11.11.2005
(24) Дата начала отсчета срока действия патента:
11.11.2005
(30) Конвенционный приоритет:
12.11.2004 EP 04026902.9
(43) Дата публикации заявки: 27.05.2007
(46) Опубликовано: 27.07.2010
(56) Список документов, цитированных в отчете о поиске:
WO 03046726 А1, 05.06.2003. RU 2192103 С1, 27.10.2002. US 5835724 А, 10.11.1998. WO 9946683 A1, 16.09.1999.
Адрес для переписки:
129090, Москва, ул. Б.Спасская, 25, стр.3, ООО “Юридическая фирма Городисский и Партнеры”, пат.пов. Ю.Д.Кузнецову, рег. 595
|
(72) Автор(ы):
ВИССЕРС Мартен (NL), ГРЮЭЛЛЬ Гюнтер (DE)
(73) Патентообладатель(и):
АЛЬКАТЕЛЬ (FR)
|
(54) СПОСОБ И УСТРОЙСТВО, ПРЕДНАЗНАЧЕННЫЕ ДЛЯ ПЕРЕДАЧИ СИГНАЛА КЛИЕНТСКОГО УРОВНЯ ЧЕРЕЗ ОПТИЧЕСКУЮ СЕТЬ ПЕРЕДАЧИ ДАННЫХ (OTN)
(57) Реферат:
Изобретение к технике оптической передачи данных. Технический результат состоит в повышении пропускной способности оптической сети Ethernet. Для этого определен новый объект иерархии оптической передачи данных (ИОПД), упоминаемый как блок-0 данных оптического канала (БДОК0,) с емкостью приблизительно 1,22 Гбит/с. Этот новый объект идеально подходит для существующей структуры мультиплексирования ИОПД, что дает возможность двукратной передачи сигнала клиентского уровня Ethernet 1 Гбит/с в пределах емкости одного БДОК1, в то же время являясь отдельно коммутируемым. Сигнал Ethernet 1 Гбит/с может быть отображен в полезную нагрузку БДОК0 с использованием способа инкапсуляции прозрачной базовой процедуры формирования кадров (ПБПФК). 2 н. и 9 з.п. ф-лы, 1 табл., 8 ил.
Изобретение основано на приоритетной заявке ЕР 04026902.9, которая включена в настоящее описание посредством ссылки.
Область техники, к которой относится изобретение
Настоящее изобретение относится к области телекоммуникаций и, более конкретно, к способу и устройству, предназначенным для передачи сигнала клиентского уровня через оптическую сеть передачи данных (ОСПД).
Предшествующий уровень техники
Современные сети передачи в основном основаны на синхронной цифровой иерархии, сокращенно SDH, СЦИ, смотри ITU-T G.707, 12/2003. Новая иерархия, иерархия оптической передачи данных, сокращенно ОТН, ИОПД, стандартизована в стандарте ITU-T G.709 03/2003, который включен в настоящее описание посредством ссылки. Целью ИОПД является более экономично обращаться с очень большими полосами пропускания, которые называются блоками данных оптического канала, сокращенно (ODU, БДОК). В настоящее время определены БДОК1 (~2,7 Гбит/с), БДОК2 (~10,7 Гбит/с) и БДОК3 (~43 Гбит/с). Новые эффективные оверлейные сети могут быть определены, построены и использованы операторами сетей на основе этой иерархии. Архитектура оптических сетей передачи данных описана в стандарте ITU-T G.709 (11/2001), который включен в настоящее описание посредством ссылки.
Так как Ethernet является все более и более развивающимся в качестве основного формата передачи данных для сигналов данных, сигналы Ethernet 1 Гбит/с были бы естественным клиентским сигналом для деятельности операторов сети ИОПД.
Стандартизованный в настоящее время способ передачи сигнала Ethernet 1 Гбит/с через оптическую сеть передачи данных включает в себя отображение сигнала Ethernet 1 Гбит/с в конкатенацию виртуальных контейнеров (VC, ВК) СЦИ, а затем отображение сигнала передачи данных СЦИ, разбитого на кадры, в БДОК. Это можно видеть, например, из ITU-T G.7041 (12/2003) на странице 47. Однако существующее отображение сигналов 1 Гбит/с в виртуальные контейнеры ВК СЦИ является дорогостоящим, так как оно требует задействовать функционально независимую сеть СЦИ. Это во многих случаях было бы необязательно для операторов магистральной базовой сети, имеющим дело только с большими емкостями.
Однако, с другой стороны, отображение одного элемента Ethernet 1 Гбит/с в наименьший элемент ИОПД (~2,7 Гбит/с) содержит в себе огромную излишнюю трату полосы пропускания.
Так как сигналы Ethernet 1 Гбит/с в настоящее время получают большое значение в качестве основного клиентского сигнала, передаваемого в глобальных сетях, имеется потребность обеспечить эффективную передачу этих сигналов с точки зрения затрат.
Следовательно, задачей настоящего изобретения является предоставить способ и соответствующий элемент сети, которые дают возможность более эффективной передачи клиентских сигналов через оптическую сеть передачи данных и которые, в частности, являются подходящими для передачи сигналов Ethernet 1 Гбит/с.
Сущность изобретения
Эти и другие задачи, которые появляются ниже, решаются с помощью определения нового объекта ИОПД, упоминаемого как блок-0 данных оптического канала.
В частности, элемент сети для оптической сети передачи данных предназначен для обработки оптических сигналов передачи данных, структурированных в соответствии с иерархией оптической передачи данных. Иерархия оптической передачи данных предоставляет, по меньшей мере, три уровня k мультиплексирования, где k=1, 2 и 3, и определяет соответствующие блоки-k данных оптического канала. Блоки-k данных оптического канала, где k=1, 2 и 3, имеют такой размер, что четыре сигнала передачи данных, построенные из блоков данных оптического канала более низкого уровня, могут быть мультиплексированы в один сигнал передачи данных, построенный из блоков данных оптического канала следующего более высокого уровня. Каждый из блоков-k данных оптического канала имеет область служебных данных и область полезной нагрузки. Элемент сети поддерживает, по меньшей мере, один из уровней мультиплексирования k=1, 2 и 3 и соответствующие блоки-k данных оптического канала, k=1, 2 и 3 соответственно. В соответствии с изобретением элемент сети имеет, по меньшей мере, один порт ввода/вывода (I/О-порт) для обработки сигнала передачи данных, построенного из блоков-0 данных оптического канала, которые имеют такой размер, что два сигнала передачи данных, построенные из блоков-0 данных оптического канала, могут быть мультиплексированы в один сигнал передачи данных, построенный из блоков-1 данных оптического канала, и средства для отображения сигнала клиентского уровня в область полезной нагрузки упомянутых блоков-0 данных оптического канала.
Следовательно, изобретение решает экономические накладные расходы, связанные с тем, что необходимо задействовать либо дополнительную базовую сеть СЦИ, либо впустую расходовать более 50% полосы пропускания в случае отображения в БДОК1. Это увеличивает в два раза емкость сигналов Ethernet 1 Гбит/с, которые могут быть переданы отдельно в сигнале ИОПД.
Перечень чертежей
Теперь будет описан предпочтительный вариант осуществления настоящего изобретение со ссылкой на сопровождающие чертежи, на которых:
фиг.1 – мультиплексирование нового объекта БДОК0 в БДОК1,
фиг.2 – мультиплексирование БДОК0 в БДОК2,
фиг.3 – мультиплексирование БДОК0 в БДОК3,
фиг.4 – БДОК0 и ассоциированный с ним блок передачи данных OTU0, БПДОК0 (блок передачи данных оптического канала) с сигналом клиентского уровня 1GE, инкапсулированным GFP-T, ПБПФК (прозрачная базовая процедура формирования кадров),
фиг.5 – отображение БДОК0 в подчиненный элементируемый интервал времени (слот) TS1, ПИВ1 блока полезной нагрузки оптического канала OPU1, БПНОК1,
фиг.6 – отображение БДОК0 в подчиненный слот ПИВ3 БПНОК2,
фиг.7 – отображение БДОК0 в подчиненный слот ПИВ32 БПНОК3,
фиг.8 – кодирование идентификатора мультиплексной структуры для значения типа полезной нагрузки 0×21, определенной для БДОК0.
Подробное описание изобретения
Основным мультиплексным объектом в оптической сети передачи данных (ОСПД), как определено в ITU-T Rec. G.872, является блок-k данных оптического канала (БДОКk), где k=1, 2 и 3. БДОКk, когда представлен в виде таблицы, составленной из столбцов и строк, имеет область служебных данных (СД) и область полезной нагрузки. Область служебных данных БДОКk составлена из 16 столбцов при 4 строках, где столбцы с 1 по 7 строки 1 зарезервированы для целей выравнивания кадров, столбцы с 8 по 14 строки 1 зарезервированы для специфических для конкретного БПДОК (блока передачи данных оптического канала) служебных данных, а столбцы с 15 по 16 зарезервированы для специфических для конкретного БПНОК (блока полезной нагрузки оптического канала) служебных данных, в то же время остаток области служебных данных доступен для служебных данных БДОК. С другой стороны, область полезной нагрузки имеет 3808 столбцов при 4 строках. В область полезной нагрузки может быть отображен либо сигнал клиентского уровня, либо некоторое количество БДОК более низкого уровня, которые перемежены в так называемую подчиненную группу блоков данных оптического канала данных (ODTUG, ПГБДОКД). Передача БДОКk осуществляется по строкам. Иерархия оптической передачи данных (ИОПД), которая описывает схему мультиплексирования, более подробно определена в G.709 (3/2003).
Сигнал 1000BASE-X (определенный в IEEE 802.3) со своей скоростью передачи битов, равной 1,25 Гбит/с ± 100 ppm после кодирования 8В/10В, может быть отображен как сигнал клиентского уровня в БПНОК1 (блок-1 полезной нагрузки оптического канала) посредством инкапсуляции GFP-T (см. ITU-T Rec. 7041) для передачи через оптическую сеть передачи данных (ОСПД). Сигналы 1000BASE-X обычно упоминаются, как сигналы Ethernet 1 Гбит/с или просто сигналы 1GE.
Однако, так как реальная полоса пропускания БПНОК1 равна приблизительно 2,5 Гбит/с, при таком отображении неэффективно расходовалась бы полоса пропускания и степень структурированности (гранулярность). Эффективность полосы пропускания была бы только около 50%. Это недостаточно относительно линейных систем со спектральным уплотнением (WDM), в которых преимуществом являются простые отображения и низкая стоимость. Однако при переносе прохождения через сеть ИОПД с линейными системами с мультиплексированием по длине волны высокой плотности (DWDM) 100% увеличение эффективности полосы пропускания и гранулярности мультиплексирования БДОКk сделают такую сеть более экономичной при условии увеличения важности соединений 1GE.
Следовательно, основной идеей настоящего изобретения является определение нового объекта ИОПД, далее упоминаемого как блок-0 данных оптического канала (БДОК0), с емкостью приблизительно 1,22 Гбит/с. Этот новый объект идеально подходит для существующей структуры мультиплексирования ИОПД, что дает возможность двукратной передачи сигнала клиентского уровня Ethernet 1 Гбит/с в пределах емкости одного БДОК1, в то же время являясь отдельно коммутируемым (коммутация БДОК0).
Для этой цели каждый из существующих подчиненных интервалов времени (слотов) (ПИВ) БПНОКk разбивают на два. Каждый новый подчиненный слот представляет полосу пропускания, составляющую 238/(239-k)·1,244160 Гбит/с ± 20 ppm.
Результаты разбиения представлены в следующих величинах:
Таблица 1 Полоса пропускания существующих блоков полезной нагрузки оптического канала (БПНОК) |
| Блок полезной нагрузки оптического канала (БПНОКk) |
Полоса пропускания области полезной нагрузки БПНОКk |
Число содержащихся ПИВ |
Полоса пропускания одного ПИВ |
| БПНОК1 |
2,488320 Гбит/с |
2 |
1,244160 Гбит/с |
| БПНОК2 |
9,995276962 Гбит/с |
8 |
1,24940962 Гбит/с |
| БПНОК3 |
40,150519322 Гбит/с |
32 |
1,254703729 Гбит/с |
При k 1 подчиненные слоты БПНОК1 являются наименьшими, причем каждый имеет полосу пропускания, равную 1,244160 Гбит/с ± 20 ppm. Новый БДОК0 должен соответствовать наименьшему подчиненному слоту БПНОК. Следовательно, скорость передачи битов БДОК0 равна 1,244160 Гбит/с ± 20 ppm.
Такой БДОК0 может быть помещен в подчиненные слоты БПНОК1, БПНОК2 и БПНОК3 при схеме согласования -1/0/+1/+2 БДОК (как определено в предложении 19 рекомендаций G.709). Отображение в подчиненный слот БПНОК2 и БПНОК3 требует добавления некоторых дополнительных столбцов фиксированного заполнителя, как описано ниже.
При известной скорости передачи битов БДОК0 скорость передачи битов полезной нагрузки БПНОК0 может быть определена с помощью приведенной ниже формулы:
скорость передачи битов БПНОК0 при k=0:
= 238/(239-k)·1,244160 Гбит/с
= 238/239·1,244160 Гбит/с
= 1,238954309 Гбит/с ± 20 ppm.
Эта скорость передачи битов ниже, чем скорость передачи битов сигнала 1000BASE-X (1GE), закодированного 8В/10В (т.е. 1,25 Гбит/с ± 100 ppm) и, следовательно, невозможно непосредственно поместить поток битов 1GE в эту полезную нагрузку БДОК0. Вместо этого используют способ инкапсуляции прозрачной базовой процедуры формирования кадров (ПБПФК), как определено в ITU-T Rec. G.7041.
Фиг.1, фиг.2 и фиг.3 иллюстрируют отображение сигнала 1GE посредством ПБПФК в БДОК0, мультиплексирование 2, 8 или 32 блоков БДОК0 в БДОК1, БДОК2 или БДОК3 соответственно, и размещение подчиненных слотов в БПНОК1, БПНОК2 и БПНОК3.
В верхней части фиг.1 изображен БДОК0 101 со своей областью 103 полезной нагрузки и своей областью 104 служебных данных. Область 104 служебных данных имеет область 105, зарезервированную для специфических для конкретного БПНОК служебных данных, область 106, зарезервированную для специфических для конкретного БДОК служебных данных, область 107, зарезервированную для специфических для выравнивания байтов, и область 108 для специфических для конкретного БПДОК служебных данных. Сигнал 102 Ethernet 1 Гбит/с (1GE), закодированный ПБПФК, отображают в область 103 полезной нагрузки.
В средней части фиг.1 схематически изображено, как два БДОК0 101, 101′ мультиплексируются и отображаются в область 111 полезной нагрузки БДОК1 110. БДОК1 110 содержит область 113 полезной нагрузки и область 114 служебных данных. Подобно БДОК0, область 114 служебных данных имеет область 115, зарезервированную для специфических для конкретного БПНОК служебных данных, область 116, зарезервированную для специфических для конкретного БДОК служебных данных, область 117, зарезервированную для специфических для выравнивания байтов, и область 118 для специфических для конкретного БПДОК служебных данных.
В нижней части фиг.1 изображено физическое назначение байтов в два перемеженных подчиненных слота в области полезной нагрузки. Каждый БДОК0 занимает каждый второй подчиненный слот (ПИВ1, ПИВ2) в области 113 полезной нагрузки. Область 115 полезной нагрузки БПНОК1 содержит один столбец служебных данных управления и возможности согласования для каждого из двух подчиненных слотов в многокадровом формате из 2-х кадров. Это не проиллюстрировано на фиг.1.
Следует заметить, что БДОК0 плавает в половине области полезной нагрузки БПНОК1. Кадр БДОК0 будет пересекать границы множества кадров БДОК1. Полный кадр БДОК0, который имеет 15296 байт, требует полосу пропускания одного подчиненного слота, равную 15296/7616=2,008 в кадрах БДОК1.
Отображение будет объяснено более подробно относительно фиг.5 по фиг.7 ниже.
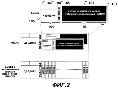
Фиг.2 изображает, как таким же способом 8 блоков БДОК0 мультиплексируются и отображаются в БДОК2. Полезную нагрузку БДОК2 разбивают на 8 побайтовых перемеженных подчиненных слотов ПИВ1-ПИВ8, которые назначаются восьми блокам БДОК0. Следует заметить, что БДОК0 плавает в 1/8 области полезной нагрузки БДОК2. БДОК0 будет пересекать границы множества кадров БДОК2. Полный кадр БДОК0 (15296 байт) требует полосу пропускания одного подчиненного слота, равную 15296/1904=8,0336 в кадрах БДОК2. Это не проиллюстрировано на фиг.2. Служебные данные БДОК2 содержат один столбец служебных данных управления и возможности согласования для каждого из 8 подчиненных слотов в многокадровом формате из восьми кадров. Это также не изображено на фиг.2.
Фиг.3 схематически изображает, как 32 блока БДОК0 мультиплексируются и отображаются в БДОК3. Полезную нагрузку БДОК3 разбивают на 32 побайтовых перемеженных подчиненных слота ПИВ1-ПИВ32, которые назначаются тридцати двум блокам БДОК0. Подобно предыдущим примерам, БДОК0 плавает в 1/32 области полезной нагрузки БДОК3. БДОК0 будет пересекать границы множества кадров БДОК3. Полный кадр БДОК0 (15296 байт) требует полосу пропускания одного подчиненного слота, равную 15296/476=32,1345 в кадрах БДОК3. Это не проиллюстрировано на фиг.3. Служебные данные БДОК3 содержат один столбец служебных данных управления и возможности согласования для каждого из 32 подчиненных слотов в многокадровом формате из тридцати двух кадров, что также не изображено на фиг.3.
Несмотря на то, что фиг.1-3 изображают только отображение блоков БДОК более низкого уровня одного и того же типа в блоки БДОК более высокого уровня, специалистам в данной области техники должно быть понятно, что также возможно смешанное отображение. Следовательно, подходящая смесь сигналов передачи данных, построенных из БДОК0 и БДОК1, может быть мультиплексирована в один сигнал передачи данных, построенный из БДОК2. Также подходящая смесь сигналов передачи данных, построенных из БДОК0, БДОК1 и БДОК2, может быть мультиплексирована в один сигнал передачи данных, построенный из БДОК3.
Кроме того, фиг.1-3 изображают только сигналы 1GE как сигналы клиентского уровня. Несмотря на то, что это на самом деле является предпочтительным вариантом осуществления изобретения, следует понимать, что когда БДОК0 введен, он мог бы быть использован для множества сигналов клиентского уровня, имеющих подходящую скорость данных.
Для того чтобы передать БДОК0 через оптическое волокно в сигнале OTM-0.0 или посредством длины волны в многоволновом оптическом сигнале (OTM-nr.m (m=0, 1, 2, 3) или OTM-n.m) определяют блок-0 передачи данных оптического канала (БПДОК0), который переносит БДОК0. БПДОК0 является БПДОКk при k=0. Скорость передачи битов равна 4080/3824·1,244160 1,327451046 Гбит/с ± 20 ppm.
Фиг.4 иллюстрирует отображение БДОК0 101 в такой БПДОК0. БПДОК0 содержит дополнительную область 109 для кода с прямым исправлением ошибок (FEC), а также байты выравнивания и служебных данных БДОК0, которые введены в зарезервированные поля 107, 108 в области 104 служебных данных.
Отображение БДОК0 в подчиненные слоты БПНОКk
Подчиненный слот БПНОКk представляет полосу пропускания, равную 238/(239-k)·1,244160 Гбит/с ± 20 ppm. БДОК0 имеет полосу пропускания, равную 1,244160 Гбит/с ± 20 ppm. Полоса пропускания подчиненного слота БПНОК1 равна полосе пропускания БДОК0, при этом полоса пропускания подчиненного слота БПНОК2 и БПНОК1 больше, чем полоса пропускания БДОК0. Отношение является тем же самым, как для случая отображения STM-N в БДОКk, и структура отображения БДОК0 в подчиненный слот БПНОКk со столбцами фиксированного заполнителя, известными из отображения STM-N в БПНОКk, может быть повторно использована в данном случае.
Фиг.5 изображает БДОК0, отображенный в один из двух подчиненных слотов БДОК1. В частности, БДОК0 отображен в подчиненный слот БПНОК1 без каких-либо столбцов фиксированного заполнителя. Подчиненный слот БПНОК1 имеет 1904 столбца, при этом все из них переносят байты БДОК0. Кроме того, изображены служебные данные БПНОК1 в столбцах 15 и 16 области служебных данных БДОК1. Байты служебных данных имеют то же самое значение и функцию, как описано в ITU-T G.709.
Фиг.6 изображает отображение БДОК0 в подчиненный слот БДОК2. БДОК0 отображен в подчиненный слот БПНОК2 с двумя столбцами фиксированного заполнителя, т.е. всего 64 байта фиксированного заполнителя на 8 кадров БПНОК2. Подчиненный слот БПНОК2 имеет 476 столбцов. Предпочтительным способом организации столбцов фиксированного заполнителя является 158 БПНОК1 столбцов байтов БДОК0, 1 столбец байтов фиксированного заполнителя, 158 столбцов байтов БДОК0, 1 столбец байтов фиксированного заполнителя, 158 столбцов байтов БДОК0 (см. фиг.6).
Фиг.7 изображает отображение БДОК0 в подчиненный слот БДОК3. БДОК0 отображен в подчиненный слот БПНОК2 с одним столбцом фиксированного заполнителя, т.е. всего 128 байтов фиксированного заполнителя на 32 кадра БПНОК3. Подчиненный слот БПНОК3 имеет 119 столбцов и предпочтительно может быть организован как 59 столбцов байтов БДОК0, 1 столбец байтов фиксированного заполнителя и 59 столбцов байтов БДОК0 (см. фиг.7).
Управление и возможность согласования БДОК0
Каждый подчиненный слот БПНОКj имеет ассоциированные служебные данные согласования (JOH), состоящие из трех байтов служебных данных управления согласованием (JC), одного байта служебных данных отрицательной возможности согласования (NJO) и одного байта служебных данных положительной возможности согласования (PJO). Служебные данные JC и NJO расположены в служебных данных БПНОКj, как изображено на фиг.5 по фиг.7. Положение служебных данных PJO находится в строке 4, столбце 1 подчиненного слота.
При двух БДОК0 на БДОК1 имеется одна возможность согласования на два кадра БДОК1 (см. фиг.5) для каждого из БДОК0. Для случая отображения восьми БДОК0 в БПНОК2 имеется одна возможность согласования на восемь кадров БДОК2 (см. фиг.6) для каждого из БДОК0, и для отображения тридцати двух БДОК0 в БПНОК3 имеется одна возможность согласования на тридцать два кадра БДОК3 (см. фиг.7) для каждого из БДОК0.
БДОК0 имеет скорость передачи битов, которая равна 50% от скорости передачи битов STM-16 (STM: синхронный модуль передачи данных, используемый для СЦИ), 12,5% от скорости передачи битов STM-64 и 3,125% от скорости передачи битов STM-256. Полоса пропускания подчиненного слота БПНОК1 равна 50% от полосы пропускания полезной нагрузки БПНОК1, полоса пропускания подчиненного слота БПНОК2 равна 12,5% от полосы пропускания полезной нагрузки БПНОК2 и полоса пропускания подчиненного слота БПНОК3 равна 3,125% от полосы пропускания полезной нагрузки БПНОК3. При условии, что отношение БДОК0 к полосе пропускания подчиненного слота БПНОКk аналогично отношению STM-N к полосе пропускания подчиненного слота БПНОКk, отображение БДОК0 в подчиненный слот БПНОКk потребует тех же самых функциональных возможностей согласования, что и для отображения STM-N в полезную нагрузку БПНОКk. Это подразумевает, что является достаточной схема согласования -1/0/+1, требующая один байт NJO и один байт PJO. Обычная схема согласования мультиплексирования БДОК поддерживает схему согласования -1/0/+1/+2 с одним байтом NJO и двумя байтами PJO. Следовательно, мультиплексирование БДОК0 обычно не будет использовать второй байт PJO.
Идентификатор мультиплексной структуры
ОСПД поддерживает мультиплексирование множества типов БДОКk в полезную нагрузку БПНОКj (j>k). Размещение БДОКk в подчиненном слоте БПНОКj является гибким и указано при кодировании относящегося к служебным данным поля идентификатора мультиплексной структуры (MSI, ИМС).
Существующее определение ИМС в ITU-T G.709 не может идентифицировать БДОК0 как подчиненный сигнал. Следовательно, определение служебных данных ИМС должно быть расширено, и эта расширенная мультиплексная структура должна быть идентифицирована с помощью дополнительной величины типа полезной нагрузки (РТ, ТПН), например, величины 0×21 (мультиплексная структура БДОК с функциональной возможностью БДОК0). Существующая величина ТПН, равная 0×20, переименована в мультиплексную структуру БДОК БДОКk, k>=1 .
Определение ИМС, связанное с величиной 0×21 ТПН, поддерживает до 32 подчиненных слотов БПНОКj, в которых БДОК0 занимает 1 подчиненный слот, БДОК1 занимает 2 подчиненных слота, и БДОК2 занимает 8 подчиненных слотов.
ИМС указывает содержимое каждого подчиненного слота БПНОК. Характерное кодирование для каждого подчиненного слота изображено на фиг.8. Один байт использован для каждого подчиненного слота. Бит 1 и бит 2 указывают тип БДОК, передаваемый в подчиненном слоте. Биты 3-8 указывают подчиненный порт передаваемого БДОК. Это представляет интерес в случае гибкого назначения блоков БДОК подчиненным слотам (например, БДОК2 в БПНОК3). В случае фиксированного назначения номер подчиненного порта соответствует номеру подчиненного слота.
Возможные будущие БДОК4/БПНОК4, которые могут иметь 128 подчиненных слотов, потребуют поле подчиненного порта из 7 бит, и тогда кодирование типа БДОК и номера подчиненного порта потребует, по меньшей мере, 9 бит.
Воздействие на элементы сети
Ниже будет обсуждено воздействие на элементы сети. Прежде всего, элементы сети, являющиеся окончанием для сигнала передачи данных, построенного из БДОК0 или содержащего БДОК0, должны быть выполнены с возможностью обрабатывать этот новый тип сигнала, т.е. служить окончанием и обрабатывать служебные данные, адаптировать скорость с помощью согласованием байтов, инкапсулировать, а также извлекать сигналы полезной нагрузки (т.е. сигналы 1GE, закодированные ПБПФК) и генерировать в обратном направлении новый БДОК0. Обычно это будет сделано в определенных I/O-портах элемента сети. Следовательно, I/O-секция, по меньшей мере, некоторых элементов сети в оптической сети передачи данных будет соответствующим образом модифицирована. Реализация этих модификаций, как таковая, будет без труда понятна обычным специалистам в данной области техники, прочитавшим и понявшим приведенное выше описание и определение структуры БДОК0 и ее служебных данных.
Кроме того, требуются элементы сети, которые дают возможность мультиплексирования БДОК0 в БДОКk (k>0) более высокого уровня, как описано выше. Следовательно, в определенных элементах сети будут обеспечены мультиплексоры, которые могут мультиплексировать БДОК0 в БДОКk более высокого уровня. Такие мультиплексоры должны будут выполнять адаптацию скорости, как объяснено выше, а также вставку двух или одного столбца фиксированного заполнителя на кадр в случае БДОК2 и БДОК3 соответственно.
Кроме того, определение БДОК0 дает возможность коммутировать сигналы БДОК0 независимо, что приводит к большей гибкости в сети. Эта коммутация обычно будет выполняться с помощью элементов сети, упоминаемых как оптические межпоточные коммутаторы (кросс-коммутаторы). Эти элементы сети имеют коммутационные матрицы, которые дают возможность коммутировать объекты БДОКk в пространстве и во времени и, возможно, также по длине волны из любого в любой I/O-порт. Для того чтобы дать возможность коммутации на уровне БДОК0, некоторые из этих элементов сети, таким образом, будут иметь коммутационную матрицу, которая выполнена с возможностью коммутировать сигналы передачи данных из любого в любой I/O-порт при гранулярности новых объектов БДОК0. Как это может быть реализовано с использованием технологии специализированных интегральных схем (ASIC) предшествующего уровня техники, будет без труда понятно обычным специалистам в данной области техники.
Следует заметить, что вышеупомянутые модификации также могут быть объединены в одном элементе сети. Кроме того, следует заметить, что оптическая сеть передачи данных не обязательно должна поддерживать все мультиплексные уровни, определенные для ИОПД. Вместо этого оптическая сеть передачи данных может быть сконструирована таким образом, чтобы обрабатывать, например, только БДОК1 или только БДОК1 и БДОК2, но не БДОК3. Следовательно, элементы сети в соответствии с изобретением должны будут поддерживать, по меньшей мере, один из трех ранее существующих уровней k=1, 2 или 3 и, кроме того, новый уровень k=0. Очевидно, будущие элементы сети дополнительно будут поддерживать более высокие мультиплексные уровни (k>1), которые могут быть определены в будущем, когда появится потребность в более высоких скоростях передачи битов.
Формула изобретения
1. Способ передачи сигнала клиентского уровня через оптическую сеть передачи данных, причем упомянутая оптическая сеть передачи данных предназначена для передачи оптических сигналов передачи данных, структурированных в соответствии с иерархией оптической передачи данных, причем упомянутая иерархия оптической передачи данных предоставляет, по меньшей мере, три уровня мультиплексирования k, где k=1, 2 и 3, и определяет соответствующие блоки-K данных оптического канала, при этом упомянутые блоки-k данных оптического канала, где k=1, 2 и 3, имеют такой размер, что четыре сигнала передачи данных, построенных из блоков данных оптического канала более низкого уровня, могут быть мультиплексированы в один сигнал передачи данных, построенный из блоков данных оптического канала следующего более высокого уровня; причем каждый из блоков-k данных оптического канала содержит область служебных данных и область полезной нагрузки; при этом упомянутая оптическая сеть передачи данных поддерживает, по меньшей мере, уровень мультиплексирования k=1 и соответствующие блоки-1 данных оптического канала; при этом упомянутый способ содержит этапы, на которых генерируют сигнал передачи данных, построенный из блоков 0 данных оптического канала, которые имеют такой размер, что два сигнала передачи данных, построенные из блоков-0 данных оптического канала, могут быть мультиплексированы в один сигнал передачи данных, построенный из блоков-1 данных оптического канала, и отображают упомянутый сигнал клиентского уровня в области полезной нагрузки упомянутых блоков-0 данных оптического канала.
2. Способ по п.1, в котором упомянутый сигнал клиентского уровня является сигналом Ethernet 1 Гбит/с, и при этом способ содержит этап, на котором инкапсулируют упомянутый сигнал Ethernet 1 Гбит/с в соответствии с прозрачной базовой процедурой формирования кадров.
3. Способ по п.1, содержащий этап, на котором мультиплексируют два сигнала передачи данных, построенных из блоков-0 данных оптического канала, в один сигнал передачи данных, построенных из блоков-1 данных оптического канала.
4. Способ по п.1, содержащий этапы, на которых мультиплексируют восемь сигналов передачи данных, построенных из блоков-0 данных оптического канала, в один сигнал передачи данных, построенный из блоков-2 данных оптического канала, и заполняют два из 476 столбцов подчиненных слотов упомянутых блоков-2 данных оптического канала байтами фиксированного заполнителя.
5. Способ по п.1, содержащий этапы, на которых мультиплексируют 32 сигнала передачи данных, построенных из блоков-0 данных оптического канала, в один сигнал передачи данных, построенный из блоков-3 данных оптического канала, и заполняют один из 119 столбцов подчиненных слотов упомянутых блоков-3 данных оптического канала байтами фиксированного заполнителя.
6. Способ по п.1, содержащий этапы, на которых мультиплексируют упомянутые блоки-0 данных оптического канала в блоки-k данных оптического канала более высокого уровня, причем эти блоки-k данных оптического канала более высокого уровня содержат подчиненные слоты, размер которых соответствует размеру упомянутых блоков-0 данных оптического канала, и предоставляют идентификатор мультиплексной структуры в поле служебных данных упомянутых блоков-k данных оптического канала более высокого уровня, причем данный идентификатор мультиплексной структуры содержит один байт на каждый подчиненный слот, указывающий содержимое соответствующего подчиненного слота и идентифицирующий, что типом блока данных оптического канала подчиненных слотов, в которых передаются упомянутые блоки-0 данных оптического канала, является блок-0 данных оптического канала.
7. Элемент сети для оптической сети передачи данных, причем упомянутый элемент сети предназначен для обработки оптических сигналов передачи данных, структурированных в соответствии с иерархией оптической передачи данных, причем упомянутая иерархия оптической передачи данных предоставляет, по меньшей мере, три уровня мультиплексирования k, где k=1, 2 и 3, и определяет соответствующие блоки-k данных оптического канала, при этом упомянутые блоки-k данных оптического канала, где k=1, 2 и 3, имеют такой размер, что четыре сигнала передачи данных, построенные из блоков данных оптического канала более низкого уровня, могут быть мультиплексированы в один сигнал передачи данных, построенный из блоков данных оптического канала следующего более высокого уровня; причем каждый из блоков-k данных оптического канала содержит область служебных данных и область полезной нагрузки; при этом упомянутый элемент сети передачи данных поддерживает, по меньшей мере, уровень мультиплексирования k=1 и соответствующие блоки-1 данных оптического канала; и при этом упомянутый элемент сети содержит, по меньшей мере, один порт ввода/вывода (I/0-порт), предназначенный для обработки сигнала передачи данных, построенного из блоков-0 данных оптического канала, которые имеют такой размер, что два сигнала передачи данных, построенные из блоков-0 данных оптического канала, могут быть мультиплексированы в один сигнал передачи данных, построенный из блоков-1 данных оптического канала, и средства, предназначенные для отображения упомянутого сигнала клиентского уровня в области полезной нагрузки упомянутых блоков-0 данных оптического канала.
8. Элемент сети по п.7, содержащий интерфейс Ethernet, предназначенный для приема сигнала Ethernet 1 Гбит/с, средства, предназначенные для инкапсуляции упомянутого сигнала Ethernet 1 Гбит/с в соответствии с прозрачной базовой процедурой формирования кадров, и средства, предназначенные для отображения упомянутого инкапсулированного сигнала Ethernet 1 Гбит/с в области полезной нагрузки упомянутых блоков-0 данных оптического канала.
9. Элемент сети по п.7, содержащий коммутационную матрицу, выполненную с возможностью коммутировать сигналы передачи данных из любого I/0-порта в любой I/0-порт упомянутого элемента сети при степени структурированности упомянутых блоков-0 данных оптического канала.
10. Элемент сети по п.7, содержащий, по меньшей мере, один мультиплексор, предназначенный для мультиплексирования двух или более сигналов передачи данных, построенных из блоков-0 данных оптического канала, в один сигнал передачи данных, построенный из блоков данных оптического канала более высокого уровня.
11. Элемент сети по п.7, дополнительно содержащий средства, предназначенные для мультиплексирования упомянутых блоков-0 данных оптического канала в блоки-k данных оптического канала более высокого уровня, причем эти блоки-k данных оптического канала более высокого уровня содержат подчиненные слоты, размер которых соответствует размеру упомянутых блоков-0 данных оптического канала, и средства, предназначенные для предоставления идентификатора мультиплексной структуры в поле служебных данных упомянутых блоков-k данных оптического канала более высокого уровня, причем данный идентификатор мультиплексной структуры содержит один байт на каждый подчиненный слот, указывающий содержимое соответствующего подчиненного слота и идентифицирующий, что типом блока данных оптического канала подчиненных слотов, в которых передаются упомянутые блоки-0 данных оптического канала, является блок-0 данных оптического канала.
РИСУНКИ
|
|