|
|
(21), (22) Заявка: 2008125123/09, 16.11.2006
(24) Дата начала отсчета срока действия патента:
16.11.2006
(30) Конвенционный приоритет:
21.11.2005 US 60/738,065
(43) Дата публикации заявки: 27.12.2009
(46) Опубликовано: 27.07.2010
(56) Список документов, цитированных в отчете о поиске:
HERNANDEZ F. et al. A generalized control scheme for active front-end multilevel converters. Annual Conference of the IEEE Industrial Electronics Society. DENVER, CO, 29.11.2001. RU 2190919 C2, 10.10.2002. RU 2261516 C2, 27.09.2005. JP 2005304143 A, 27.10.2005. US 2005/0122747 A, 09.06.2005. US 2003128561 A1, 10.07.2003.
(85) Дата перевода заявки PCT на национальную фазу:
23.06.2008
(86) Заявка PCT:
CH 2006/000648 20061116
(87) Публикация PCT:
WO 2007/056886 20070524
Адрес для переписки:
103735, Москва, ул.Ильинка, 5/2, ООО “Союзпатент”, пат.пов. С.В.Истомину
|
(72) Автор(ы):
СЕРПА Леонардо (CH), КОЛАР Йоханн Вальтер (CH), РАУНД Симон Дуглас (CH)
(73) Патентообладатель(и):
АББ ШВАЙЦ АГ (CH)
|
(54) СПОСОБ ПРИМЕНЕНИЯ ПРЕОБРАЗОВАТЕЛЬНОЙ СХЕМЫ И УСТРОЙСТВО ДЛЯ ОСУЩЕСТВЛЕНИЯ СПОСОБА
(57) Реферат:
Изобретение относится к области силовой полупроводниковой техники. Способ применения преобразовательной схемы, причем эта схема содержит преобразовательный блок (1) с множеством управляемых мощных полупроводниковых переключателей и аккумулирующий энергию контур (2) из двух последовательно соединенных конденсаторов, при котором управляемые мощные транзисторные переключатели управляются посредством управляющего сигнала (S), образуемого на основе вектора (х) гистерезисного сигнала, при этом вектор (х) гистерезисного сигнала образуется на основе вектора ( ifi,i) дифференциального фазового тока питания регулятором (6) гистерезиса, а вектор ( ifi,i) дифференциального фазового тока питания образуется вычитанием вектора (ifi,i) фазового тока питания из вектора (ifi,i,ref) опорного фазового тока питания, при этом вектор (ifi,i,ref) опорного фазового тока питания образуется на основе величины (Pdiff) дифференциальной активной мощности, величины (Qdiff) дифференциальной реактивной мощности и вектора ( g, ) фазового потока. Для надежного обеспечения постоянства частоты переключения управляемых мощных полупроводниковых переключателей и образования вектора ( ifi,i) дифференциального фазового тока питания дополнительно вычитается величина (i0) коррекции тока, причем величина ((i0) коррекции тока образуется интеграцией средней величины (uinv,А) фазового напряжения питания, а средняя величина (uinv,А) фазового напряжения питания образуется определением среднего арифметического фазовых напряжений питания (uinv,iM) с помощью опорной точки соединения (М) конденсаторов аккумулирующего энергию контура (2). В устройстве для осуществления способа применения преобразовательной схемы вычислительный блок дополнительно служит для образования расчетного вектора конденсатора фильтра на основе текущего значения постоянного напряжения аккумулирующего энергию контура (2). Техническим результатом является создание способа применения преобразовательной схемы, посредством которого может поддерживаться практически постоянной частота переключения управляемых мощных полупроводниковых переключателей преобразовательного блока преобразовательной схемы. 2 н. и 14 з.п. ф-лы, 6 ил.
Область техники
Изобретение относится к области силовой полупроводниковой техники и касается способа применения преобразовательной схемы и устройства для его осуществления в соответствии с ограничительной частью независимых пунктов формулы изобретения. Уровень техники
Традиционные преобразовательные схемы содержат преобразовательный блок с множеством управляемых мощных полупроводниковых переключателей, которые известным образом подключены к схеме, по меньшей мере, с двумя уровнями напряжения переключения. Кроме того, к каждому фазному выводу преобразовательного блока может быть подключен, например, фильтр LCL. На фиг.1 представлен вариант выполнения устройства для осуществления способа применения преобразовательной схемы согласно уровню техники. В нем преобразовательная схема содержит преобразовательный блок 1. С преобразовательным блоком 1 согласно фиг.1 связан аккумулирующий энергию контур 2, состоящий обычно из двух последовательно соединенных конденсаторов. Для применения преобразовательной схемы предусмотрено устройство, содержащее регулирующее устройство 15 для получения вектора «х» гистерезисного сигнала, которое связано с управляемыми мощными полупроводниковыми переключателями преобразовательного блока 1 посредством схемы управления 3 для образования управляющего сигнала S на основе вектора х гистерезисного сигнала. Таким образом, с помощью управляющего сигнала S производится управление мощными полупроводниковыми переключателями. Вектор х гистерезисного сигнала образуется регулятором 6 гистерезиса на основе вектора ifi,I дифференциального фазового тока питания. Вектор ifi,i дифференциального фазового тока питания образуется в свою очередь путем вычитания вектора ifi,i фазового тока питания из вектора ifi,i,ref опорного фазового тока питания, причем вектор ifi,i,ref опорного фазового тока питания образуется с помощью первого вычислительного блока 5 на основе величины Pref опорной активной мощности, величины Qref опорной реактивной мощности и вектора g, фазового потока.
Проблема, присущая указанному выше способу применения преобразовательной схемы, состоит в том, что вследствие образования вектора ifi,i,ref опорного фазового тока питания на основе величины Pref опорной активной мощности, величины Qref опорной реактивной мощности и вектора g, фазового потока очень сильно варьируется частота переключения мощных полупроводниковых переключателей. Вследствие такой чрезвычайно переменной частоты переключения значительно возрастают высшие гармоники в фазовых токах питания ifg,i и фазовых напряжениях питания uinv,i преобразовательного блока. На фиг.4 показана соответствующая временная зависимость фазового тока питания ifg,1, подвергнутого сильному воздействию высшей гармоники. При подключении преобразовательной схемы, например, к электрической комплексированной сети такие большие составляющие высшей гармоники являются нежелательными или даже недопустимыми. При подключении преобразовательной схемы, например, к электрической нагрузке такие высшие гармоники могут стать причиной повреждений или даже разрушений и являются, поэтому, в высшей степени нежелательными.
Описание изобретения
Поэтому задачей изобретения является создание способа применения преобразовательной схемы, посредством которого может поддерживаться практически постоянной частота переключения управляемых мощных полупроводниковых переключателей преобразовательного блока преобразовательной схемы.
Также задачей изобретения является создание устройства, с помощью которого особенно просто осуществлять данный способ.
Указанные задачи решаются с помощью признаков пунктов 1 и 9 формулы изобретения. В зависимых пунктах формулы приведены предпочтительные варианты развития изобретения.
Преобразовательная схема содержит преобразовательный блок с множеством управляемых мощных полупроводниковых переключателей и аккумулирующий энергию контур из двух, последовательно соединенных конденсаторов. В способе применения преобразовательной схемы согласно изобретению управляемые мощные полупроводниковые переключатели управляются сигналом, образуемым на основе вектора гистерезисного сигнала, причем вектор гистерезисного сигнала образуется на основе вектора дифференциального фазового тока питания с помощью регулятора гистерезиса, а вектор дифференциального фазового тока питания образуется вычитанием вектора фазового тока питания из вектора опорного фазового тока питания. Вектор опорного фазового тока питания образуется, кроме того, на основе величины опорной активной мощности, величины опорной реактивной мощности и вектора фазового потока. Согласно изобретению для образования вектора дифференциального фазового тока питания дополнительно вычитают величину коррекции тока, причем величину коррекции тока образуют путем интегрирования среднего значения фазового напряжения питания, а среднее значение фазового напряжения питания образуют определением среднего арифметического фазовых напряжений питания с помощью опорной точки соединения конденсаторов аккумулирующего энергию контура. Полученная таким образом величина коррекции тока обеспечивает положение, при котором частота переключения управляемых мощных полупроводниковых переключателей преобразовательного блока оптимально поддерживается практически постоянной. Благодаря существенно постоянной частоте переключения становится возможным в свою очередь поддерживать на оптимально низком уровне высшие гармоники фазовых токов питания и фазовых напряжений питания преобразовательного блока.
Согласно изобретению устройство для осуществления способа применения преобразовательной схемы содержит регулирующее устройство для образования вектора гистерезисного сигнала, которое через управляющую схему соединено с управляемыми мощными полупроводниковыми переключателями для образования управляющего сигнала, при этом регулирующее устройство содержит регулятор гистерезиса для образования вектора гистерезисного сигнала на основе вектора дифференциального фазового тока питания, сумматор для образования вектора дифференциального фазового тока питания путем вычитания вектора фазового тока питания из вектора опорного фазового тока питания и первый вычислительный блок для образования вектора опорного фазового тока питания на основе величины опорной активной мощности, величины опорной реактивной мощности и вектора фазового потока. Кроме того, в первый сумматор для образования вектора дифференциального фазового тока питания дополнительно подается величина коррекции тока питания для образования вектора дифференциального фазового тока питания путем вычитания вектора фазового тока питания и величины коррекции тока из вектора опорного фазового тока питания. Регулирующее устройство содержит также интегратор для образования величины коррекции тока путем интеграции средней величины фазового напряжения питания и усреднитель для образования среднего значения фазового напряжения питания путем определения среднего арифметического фазовых напряжений питания с помощью опорной точки соединения конденсаторов аккумулирующего энергию контура.
Таким образом устройство для осуществления способа применения преобразовательной схемы может быть реализовано очень просто и при более низких затратах, так как схемные затраты могут поддерживаться на чрезвычайно низком уровне и для конструкции требуется лишь ограниченное количество элементов. Следовательно, с помощью этого устройства может быть особенно просто осуществлен способ согласно изобретению.
Эти и другие задачи, преимущества и признаки настоящего изобретения поясняются в последующем подробном описании предпочтительных вариантов выполнения изобретения со ссылкой на чертеж.
Краткое описание чертежей
Изображено:
фиг.1 – вариант выполнения устройства для осуществления способа применения преобразовательной схемы согласно уровню техники;
фиг.2 – первый вариант выполнения устройства согласно изобретению для осуществления способа применения преобразовательной схемы согласно изобретению;
фиг.3 – второй вариант выполнения устройства согласно изобретению для осуществления способа применения преобразовательной схемы согласно изобретению;
фиг.4 – временная зависимость фазового тока питания в способе применения преобразовательной схемы согласно уровню техники;
фиг.5 – временная зависимость фазового тока питания в способе согласно изобретению;
фиг.6 – вариант выполнения пятого вычислительного блока.
Позиции на чертеже и их значения приведены в их перечне. В принципе одинаковые элементы на фигурах обозначены одинаковыми позициями. Описанные варианты выполнения служат примерами осуществления предмета изобретения и не носят ограничительного характера.
Подробное описание изобретения
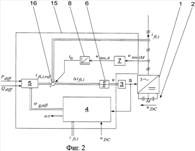
На фиг.2 представлен первый вариант выполнения устройства согласно изобретению для осуществления способа применения преобразовательной схемы согласно изобретению. Как показано на фиг.2, преобразовательная схема содержит преобразовательный блок 1 с множеством управляемых мощных полупроводниковых переключателей и аккумулирующий энергию контур 2 из двух последовательно соединенных конденсаторов. На фиг.2 преобразовательный блок 1 выполнен в качестве примера трехфазным. Следует отметить, что преобразовательный блок 1 может быть выполнен в виде любого блока для переключения 2 уровней напряжения (многоуровневая преобразовательная схема) аккумулирующего энергию контура 2, соединенного с преобразовательным блоком 1.
В способе применения преобразовательной схемы согласно изобретению управляемые мощные полупроводниковые переключатели преобразовательного блока 1 управляются посредством управляющего сигнала S, образуемого на основе вектора «х» гистерезисного сигнала. Для образования управляющего сигнала обычно используется таблица соответствий (look-up table), в которой приведены управляющие сигналы S, неизменно соответствующие векторам «х» гистерезисных сигналов, или модулятор, основанный на модуляции широтно-импульсной модуляции. Следует упомянуть, что все векторы с индексом i содержат векторные компоненты в соответствии с количеством i фаз, т.е. при i=3 фазам соответствующие векторы также содержат i=3 векторных компоненты. Кроме того, вектор гистерезисного сигнала образуется на основе вектора ifi,i дифференциального фазового тока питания посредством регулятора 6 гистерезиса, а вектор ifi,i дифференциального фазового тока питания в свою очередь образуется вычитанием вектора ifi,i фазового тока питания из вектора ifi,i,ref опорного фазового тока питания, при этом вектор ifi,i,ref опорного фазового тока питания образуется на основе величины Pdiff дифференциальной активной мощности, величины Qdiff дифференциальной реактивной мощности и вектора g, фазового потока. Компоненты вектора ifi,i фазового тока питания измеряются обычно датчиками тока на соответствующих фазах подключения преобразовательного блока 1. Согласно изобретению для образования вектора ifi,i дифференциального фазового тока питания дополнительно вычитают величину i0 коррекции тока, которую образуют интеграцией средней величины uinv,A фазового напряжения питания, причем средняя величина uinv,А фазового напряжения питания образуется определением среднего арифметического фазных напряжений питания uinv,iM с помощью опорной точки соединения М конденсаторов аккумулирующего энергию контура 2. Благодаря величине i0 коррекции тока частота переключения управляемых мощных полупроводниковых переключателей преобразовательного блока 1 оптимально поддерживается практически постоянной. Вследствие существенно постоянной частоты переключения поддерживаются на оптимально низком уровне высшие гармоники в фазовых токах питания ifi,i и фазовых напряжениях uinv,i питания преобразовательного блока 1. На фиг.5 показана для этого временная зависимость фазового тока ifi,1 питания в способе согласно изобретению, при этом можно видеть заметное снижение высших гармоник на кривой по сравнению с кривой на фиг.4 для традиционного способа.
Вектор g, фазового потока образуют предпочтительно на основе вектора ifi,i фазового тока питания, управляющего сигнала S и текущего значения uDC постоянного напряжения аккумулирующего энергию контура 2. Об этом подробнее сообщается ниже. Необходимо упомянуть, что все векторы с индексом  содержат в качестве векторных компонентов компоненту пространственно-векторного преобразования соответствующей величины и компоненту пространственно-векторного преобразования соответствующей величины.
Как правило, пространственно-векторное преобразование проводится следующим образом:
и
,
,
где: – комплексная величина, y – компонента пространственно-векторного преобразования величины , y – компонента пространственно-векторного преобразования величины и y1, y2, y3 – компоненты вектора y, относящегося к комплексной величине . Все упомянутые и упоминаемые ниже пространственно-векторные преобразования величин проводятся по приведенным выше формулам, причем вычисление может производиться раздельно с помощью специального вычислительного блока или же блока, в котором для расчета другой величины требуются соответствующие компонента и компонента .
Фазовый поток п в комплексном написании имеет, как правило, следующий вид:
,
при этом
,

где: Lg – индуктивность сети, f1(S), f2(S) – задаваемые переключательные функции управляющего сигнала S. Таким образом, по приведенным выше формулам очень легко рассчитать вектор g, фазового потока, в частности, его компоненты g, , g, . В варианте выполнения на фиг.2 величина Pdiff дифференциальной активной мощности соответствует задаваемой величине Pref опорной активной мощности, а величина Qdiff дифференциальной реактивной мощности соответствует задаваемой величине Qref опорной реактивной мощности.
В устройстве на фиг.2 регулирующее устройство 15 содержит наряду с указанным регулятором 6 гистерезиса для образования вектора х гистерезисного сигнала на основе вектора ifi,i дифференциального фазового тока питания также сумматор 16 для образования вектора ifi,i дифференциального фазового тока питания путем вычитания вектора ifi,i фазового тока питания из вектора ifi,i,ref опорного фазового тока питания и первый вычислительный блок 5 для образования вектора ifi,i,ref опорного фазового тока питания на основе величины Pdiff дифференциальной активной мощности, величины Qdiff дифференциальной реактивной мощности и вектора g, фазового потока. Согласно изобретению в первый сумматор 16 для образования вектора ifi,i дифференциального фазового тока питания дополнительно подается величина i0 коррекции тока для образования вектора ifi,i дифференциального фазового тока питания путем вычитания вектора ifi,i фазового тока питания и величины i0 коррекции тока из вектора ifi,i,ref опорного фазового тока питания. Кроме того, регулирующее устройство 15 на фиг.2 содержит согласно изобретению интегратор 8 для образования величины i0 коррекции тока путем интеграции средней величины uinv,А фазового напряжения питания и усреднитель 7 для образования средней величины uinv,A фазового напряжения питания определением среднего арифметического напряжений uinv,iM с помощью опорной точки соединения М конденсаторов аккумулирующего энергию контура 2. Таким образом очень просто и с меньшими затратами реализуется устройство согласно изобретению для осуществления способа применения преобразовательной схемы, так как схемные затраты могут поддерживаться на чрезвычайно низком уровне и, кроме того, требуется лишь незначительное количество элементов конструкции.
Как показано на фиг.2, регулирующее устройство 15 содержит второй вычислительный блок 4 для образования вектора g, на основе вектора ifi,i фазового тока питания, управляющего сигнала S и текущего значения uDC постоянного напряжения аккумулирующего энергию контура 2.
На фиг.3 представлен второй вариант выполнения устройства согласно изобретению для осуществления способа применения преобразовательной схемы согласно изобретению. В нем к каждому фазному выводу преобразовательного блока 1 подключен фильтр LCL Lf,i, Cfi, Lfg,i. Индекс i указывает на количество фаз i. В соответствии с этим каждый фильтр LCL содержит первую катушку Lf индуктивности, вторую катушку Lfg индуктивности и конденсатор Cf, при этом первая катушка Lf индуктивности фильтра соединена с соответствующим фазовым выводом преобразовательного блока 1, второй катушкой Lfg индуктивности фильтра и конденсатором Cf фильтра. Кроме того, конденсаторы Cf отдельных фильтров LCL соединены между собой.
Согласно способу в варианте выполнения на фиг.3 величина Pdiff дифференциальной активной мощности образуется путем вычитания величины Pd активной мощности затухания из суммы величины Pref опорной активной мощности и, по меньшей мере, величины Ph активной мощности компенсационной высшей гармоники относительно основного колебания вектора ifg выходного тока фильтров LCL, при этом величина Pd активной мощности затухания образуется из взвешенной задаваемым коэффициентом kd затухания суммы произведения от умножения компоненты пространственно-векторного преобразования токов iCf конденсатора фильтров CLC на компоненту пространственно-векторного преобразования ifi компонент вектора ifi,i фазового тока питания и произведения от умножения компоненты пространственно-векторного преобразования токов icf конденсатора фильтров LCL на компоненту пространственно-векторного преобразования ifi компонент вектора ifi,i фазового тока питания. Также величина Qdiff дифференциальной реактивной мощности образуется вычитанием суммы величины Qref опорной реактивной мощности и, по меньшей мере, величины Qh реактивной мощности компенсационной высшей гармоники относительно основного колебания вектора ifg,i выходного тока фильтров LCL, при этом величина Qd реактивной мощности затухания образуется на основе взвешенной задаваемым коэффициентом kd затухания разницы между произведением от умножения компоненты пространственно-векторного преобразования токов iCf конденсаторов фильтров LCL на компоненту пространственно-векторного преобразования ifi компонент вектора ifi,I фазового тока питания и произведением от умножения компоненты пространственно-векторного преобразования токов iCf конденсаторов фильтров LCL на компоненту пространственно-векторного преобразования ifi компонент вектора ifi,i фазового тока питания. Согласно фиг.3 токи конденсатора фильтров измеряют датчиками тока на соответствующих конденсаторах Cf,i фильтров, при этом указанные токи являются компонентами показанного на фиг.3 вектора iCf,i тока конденсаторов фильтров.
Образование величины Pd активной мощности затухания происходит по формуле:
Pd=kd·(iCf ·ifi +iCf ·ifi ).
Величина Pref опорной активной мощности согласно фиг.3 является свободно задаваемой и служит уставкой активной мощности, которая должна присутствовать на выходе фильтров LCL.
Вычисление величины Qd реактивной мощности затухания проводится по формуле:
Qd=kd·(iCf ·ifi +iCf ·ifi ).
Величина Qd опорной реактивной мощности согласно фиг.3 является свободно задаваемой и служит уставкой реактивной мощности, которая должна присутствовать на выходе фильтров LCL.
Необходимо отметить, что можно отказаться от образования величины Pd активной мощности затухания и величины Qd реактивной мощности затухания, для чего на основе компоненты пространственно-векторного преобразования токов iCf конденсаторов фильтров LCL и на основе компоненты пространственно-векторного преобразования токов iCf конденсаторов фильтров LCL рассчитывают при соответствующей фильтрации вектор тока затухания, который затем непосредственно используется при образовании вектора ifi,i,ref опорного фазового тока питания и, следовательно, при образовании вектора ifi,i дифференциального фазового тока питания. Одновременно с этим достигается экономия времени вычисления, так как фактически отпадает необходимость в вычислении величины Pd активной мощности затухания и величины Od реактивной мощности затухания.
Посредством величины Pd активной мощности затухания и величины Qd реактивной мощности затухания могут эффективно подавляться искажения, т.е. активно гаситься нежелательные колебания, в выходных токах ifg,i фильтров и выходных напряжениях фильтров, в результате чего такие искажения резко снижаются, а в лучшем случае существенно подавляются. Другое преимущество состоит в том, что не требуется подключения к соответствующему фазовому выводу дискретного, занимающего много места, трудно реализуемого и поэтому дорогого демпфирующего резистора, необходимого для эффективного подавления помех. Сложение или использование, по меньшей мере, одной величины Ph активной мощности компенсационной высшей гармоники для образования величины Pdiff дифференциальной активной мощности и, по меньшей мере, одной величины Qh реактивной мощности компенсационной высшей гармоники для образования величины Qdiff дифференциальной реактивной мощности вызывает эффективно активное уменьшение высших гармоник и тем самым обеспечивает в целом дополнительное сокращение высших гармоник.
Как показано на фиг.3, регулирующее устройство 15 содержит второй сумматор 13 для образования величины Pdiff дифференциальной активной мощности путем вычитания величины Pd активной мощности затухания из суммы величины Pref опорной активной мощности и, по меньшей мере, величины Ph активной мощности компенсационной высшей гармоники относительно основного колебания вектора ifg,i выходного тока фильтров LCL, причем регулирующее устройство 15 содержит третий вычислительный блок 9 для образования величины Pd активной мощности затухания на основе суммы, взвешенной задаваемым коэффициентом затухания kd, произведения от умножения компоненты пространственно-векторного преобразования токов iCf конденсаторов фильтров LCL на компоненту пространственно-векторного преобразования ifi компонент вектора ifi,i фазового тока питания и произведения от умножения компоненты пространственно-векторного преобразования токов iCf конденсаторов фильтров LCL на компоненту пространственно-векторного преобразования ifi компонент вектора ifi,i фазового тока питания. Кроме того, регулирующее устройство 15 содержит третий сумматор 14 для образования величины Qdiff дифференциальной реактивной мощности вычитанием суммы величины Qref опорной реактивной мощности и, по меньшей мере, величины Qh реактивной мощности компенсационной высшей гармоники относительно основного колебания вектора ifg,i выходного тока фильтров LCL, причем третий вычислительный блок 9 служит дополнительно для образования величины Qd реактивной мощности затухания на основе разности, взвешенной задаваемой коэффициентом kd затухания, между произведением от умножения компоненты пространственно-векторного преобразования токов iCf конденсаторов фильтров на компоненту пространственно-векторного преобразования ifi компонент вектора ifi,i фазового тока питания и произведением от умножения компоненты пространственно-векторного преобразования iCf конденсаторов фильтров LCL на компоненту пространственно-векторного преобразования ifi компонент вектора ifi,i фазового тока питания. Также возможно, чтобы величина Pd активной мощности затухания и величина Qd реактивной мощности затухания только на основе компоненты пространственно-векторного преобразования токов iCf конденсаторов фильтров LCL на компоненту пространственно-векторного преобразования ifi компонент вектора ifi,i фазового тока питания и произведения от умножения компоненты пространственно-векторного преобразования токов iCf конденсаторов фильтров LCL
Как показано на фиг.3, для образования величины Qdiff дифференциальной реактивной мощности дополнительно прибавляют величину Qcomp компенсационной реактивной мощности, при этом величину Qcomp компенсационной реактивной мощности получают фильтрацией нижних частот расчетной величины QCf реактивной мощности конденсатора фильтра. Таким образом, эффективно исключаются нежелательные компоненты реактивной мощности фильтров LCL, в частности, конденсаторов Cf,i фильтров LCL, на выходе этих фильтров, в результате чего на выходе фильтров LCL образуется только одна величина реактивной мощности в соответствии с величиной Qref опорной реактивной мощности. Согласно фиг.3 для образования величины Qdiff дифференциальной реактивной мощности в третий сумматор дополнительно подается величина Qcomp компенсационной реактивной мощности, причем величина Qcomp компенсационной реактивной мощности образуется фильтрацией нижних частот расчетной величины QCf реактивной мощности конденсатора фильтра с помощью фильтра 12 нижних частот. Расчетная величина QCf реактивной мощности конденсатора фильтра образуется на основе компоненты пространственно-векторного преобразования токов iCf конденсатора фильтра, компоненты пространственно-векторного преобразования токов iCf конденсатора фильтра, расчетного вектора Cg, потока конденсатора фильтра и угла t основного колебания относительно основного колебания вектора ifg,i выходного тока фильтра, что, в частности, поясняется следующей формулой:
QCf= ·( Cf ·iCf + Cf ·iCf ).
Для образования расчетной величины QCf реактивной мощности конденсатора фильтра согласно фиг.1 регулирующее устройство 15 содержит четвертый вычислительный блок 10, с помощью которого по приведенной выше формуле определяется расчетная величина QCf реактивной мощности конденсатора фильтра.
Расчетный вектор Cg, образуют, как показано на фиг.3, на основе текущего значения uDC постоянного напряжения аккумулирующего энергию контура 2, управляющего сигнала S, компоненты пространственно-векторного преобразования ifi компонент вектора ifi,i фазового тока питания и компоненты пространственно-векторного преобразования ifi компонент вектора ifi,i фазового тока питания. Второй вычислительный блок 4 дополнительно служит для образования расчетного вектора Cg, потока конденсатора фильтра на основе текущего значения uDC постоянного напряжения аккумулирующего энергию контура 2, управляющего сигнала S, компоненты пространственно-векторного преобразования ifi компонент вектора ifi,i фазового тока питания и компоненты пространственно-векторного преобразования ifi компонент вектора ifi,i фазового тока питания.
Компоненту пространственно-векторного преобразования Cf, вектора Cg, потока конденсатора фильтра рассчитывают по формуле:
.
Соответственно компоненту пространственно-векторного преобразования Cf вектора C потока конденсатора фильтра рассчитывают по формуле:
.
Как показано на фиг.3, упомянутая выше величина Ph активной мощности компенсационной высшей гармоники и величина Qh реактивной мощности компенсационной высшей гармоники образуются соответственно на основе компоненты пространственно-векторного преобразования выходных токов ifg фильтра, компоненты пространственно-векторного преобразования выходных токов ifg фильтра, компоненты пространственно-векторного преобразования выходных потоков L фильтра, компоненты пространственно-векторного преобразования выходных потоков L фильтра и угла t основного колебания относительно основного колебания вектора ifg,i выходного тока фильтра.
Компоненту пространственно-векторного преобразования выходных потоков L фильтра образуют на основе компоненты пространственно-векторного преобразования расчетных потоков Cf и компоненты пространственно-векторного преобразования выходных токов ifga фильтра, что, в частности, поясняется следующей формулой:
L = Cf -Lfg·ifg .
Также компоненту пространственно-векторного преобразования выходных потоков L фильтра образуют на основе компоненты пространственно-векторного преобразования расчетных потоков Cf конденсатора фильтра и компоненты пространственно-векторного преобразования выходных токов ifg фильтра, что, в частности, поясняется формулой:
L = Cf -Lfg·ifg .
Вычисление компоненты пространственно-векторного преобразования выходных потоков L фильтра и компоненты пространственно-векторного преобразования выходных потоков L фильтра производится, например, во втором вычислительном блоке 4 или же в пятом вычислительном блоке 11, который в целях большей наглядности на фиг.3 не показан.
Регулирующее устройство 15 содержит пятый вычислительный блок 11 для определения величины Ph активной мощности компенсационной высшей гармоники и величины Qh реактивной мощности компенсационной высшей гармоники на основе соответственно компоненты пространственно-векторного преобразования выходных токов ifg фильтра, компоненты пространственно-векторного преобразования выходных токов ifg фильтра, компоненты пространственно-векторного преобразования выходных потоков L фильтра, компоненты пространственно-векторного преобразования выходных потоков L и угла t основного колебания относительно основного колебания вектора ifg,i выходного тока фильтра. Расчет вектора ifg,i выходного тока фильтра производится очень просто на основе вектора ifi,i фазового тока питания и вектора iCf,i конденсатора фильтра, как показано на фиг.3. Угол t основного колебания передается в вычислительные блоки 9, 10, 11 из второго вычислительного блока 4 согласно фиг.3 посредством фазового регулирующего контура (Phase locked loop: PLL) второго вычислительного блока 4. На фиг.6 представлен вариант выполнения пятого вычислительного блока 11. Согласно этой фигуре в пятом вычислительном блоке 11 вычисляются прежде всего компонента пространственно-векторного преобразования выходных токов ifga фильтра и компонента пространственно-векторного преобразования выходных токов ifg фильтра на основе введенного вектора ifg,i выходного тока фильтра посредством пространственно-векторного преобразования. Затем компонента пространственно-векторного преобразования выходных токов ifga фильтра и компонента пространственно-векторного преобразования выходных токов ifg фильтра после преобразования по Парку-Кларку и фильтрации нижних частот выдаются в качестве компоненты d и компоненты q после преобразования Парка-Кларка, по меньшей мере, одной необходимой выбранной высшей гармоники выходных токов ihd, ihq фильтра относительно основного колебания выходных токов ifg1,ifg2, ifg3. Индекс h в этом случае означает h-ную высшую гармонику указанных и указываемых далее величин, при этом h=1, 2, 3, .
Преобразование по Парку-Кларку имеет в целом следующий вид:
,
где: – комплексная величина, ad – компонента d преобразования величины по Парку-Кларку, и aq – компонента q преобразования величины по Парку-Кларку. Предпочтительно, чтобы преобразованию Парка-Кларка подвергалось не только основное колебание комплексной величины , но и все возникающие высшие гармоники комплексной величины . Как показано на фиг.6, компонента d и компонента q при преобразовании по Парку-Кларку требуемой выбранной h-ной высшей гармоники выходных токов ihd, ihq фильтра приводят в соответствие с задаваемой опорной величиной i*hd, i*hq, предпочтительно в соответствии с пропорционально-интегральной характеристикой, и затем проводят обратное преобразование по Парку-Кларку, в результате чего образуются компонента пространственно-векторного преобразования h-ной высшей гармоники опорных выходных токов i*h фильтра и компонента пространственно-векторного преобразования h-ной высшей гармоники опорных выходных токов i*h фильтра. Наконец, вычисляют величину Ph активной мощности компенсационной высшей гармоники и величину Qh реактивной мощности компенсационной высшей гармоники соответственно на основе компоненты пространственно-векторного преобразования h-ной высшей гармоники опорных выходных токов i*h фильтра, компоненты пространственно-векторного преобразования h-ной высшей гармоники опорных выходных токов i*h фильтра, компоненты пространственно-векторного преобразования выходных потоков L , фильтра и компоненты пространственно-векторного преобразования выходных потоков L фильтра, что, в частности, поясняется следующими формулами:
Ph= ·( L ·i*h – L ·i*h ),
Qh= ·( L ·i*h – L ·i*h ).
Все операции способа согласно изобретению могут проводиться с помощью программного обеспечения, причем они в этом случае могут быть загружены, например, в компьютерную систему, в частности, с цифровым процессором сигналов и проводиться в ней. Происходящие в такой системе цифровые задержки, в частности, при вычислениях, могут учитываться, как правило, например, прибавлением дополнительного члена к частоте t при преобразовании по Парку-Кларку. Кроме того, подробно описанное выше устройство согласно изобретению также может быть реализовано с помощью компьютерной системы, в частности, цифрового процессора сигналов.
В целом было показано, что приведенное, в частности, на фиг.2 и 3 устройство согласно изобретению, предназначенное для осуществления способа применения преобразовательной схемы согласно изобретению, может быть реализовано очень просто и с низкими затратами, так как схемные затраты чрезвычайно низкие и, кроме того, конструкция состоит из незначительного количества элементов. Таким образом, с помощью такого устройства особенно просто можно осуществлять способ согласно изобретению.
Перечень позиций
1 – преобразовательный блок
2 – аккумулирующий энергию контур
3 – управляющая схема
4 – второй вычислительный блок
5 – первый вычислительный блок
6 – регулятор гистерезиса
7 – усреднитель
8 – интегратор
9 – третий вычислительный блок
10 – четвертый вычислительный блок
11 – пятый вычислительный блок
12 – фильтр нижних частот
13 – второй сумматор
14 – третий сумматор
15 – регулирующее устройство
16 – первый сумматор
Формула изобретения
1. Способ применения преобразовательной схемы, причем эта схема содержит преобразовательный блок (1) с множеством управляемых мощных полупроводниковых переключателей и аккумулирующий энергию контур (2) из двух последовательно соединенных конденсаторов, при котором управляемые мощные транзисторные ключи управляются посредством управляющего сигнала (S), образуемого вектором (х) гистерезисного сигнала, который образуется на основе вектора ( ifi,i) дифференциального фазового тока питания регулятором (6) гистерезиса, а вектор ( ifi,i) дифференциального фазового тока питания образуется вычитанием вектора (ifi,i) фазового тока питания из вектора (ifi,i.ref) опорного фазового тока питания, при этом вектор (ifi,i,ref) опорного фазового тока питания образуется на основе величины (Pdiff) дифференциальной активной мощности, величины (Qdiff) дифференциальной реактивной мощности и вектора ( g, ) фазового потока, отличающийся тем, что для образования вектора (( ifi,i) дифференциального фазового тока питания дополнительно вычитается величина ((i0) коррекции тока, что величина ((i0) коррекции тока образуется интеграцией средней величины (uinv,А) фазового напряжения питания и что средняя величина (uinv,А) фазового напряжения питания образуется определением среднего арифметического фазовых напряжений (uinv,iM) питания с помощью опорной точки соединения (М) конденсаторов аккумулирующего энергию контура (2).
2. Способ по п.1, отличающийся тем, что вектор ( g, ) фазового потока образуется на основе вектора (ifi,i) фазового тока питания, управляющего сигнала (S) и текущего значения (uDC) постоянного напряжения аккумулирующего энергию контура (2).
3. Способ по п.1 или 2, отличающийся тем, что к каждому фазовому выводу преобразовательного блока (1) подключен фильтр LCL (Lf,i, Cfi, Lfg,i), что величина (Pdiff) дифференциальной активной мощности образуется вычитанием величины (Pd) активной мощности затухания из суммы величины (Pref) опорной активной мощности и, по меньшей мере, величины (Ph) активной мощности компенсационной высшей гармоники относительно основного колебания вектора (ifg,i) выходного тока фильтров LCL, причем величина (Pd) активной мощности затухания образуется на основе взвешенной задаваемым коэффициентом (kd) затухания суммы произведения от умножения компоненты пространственно-векторного преобразования токов (iCf ) конденсатора фильтров LCL на компоненту пространственно-векторного преобразования (ifi ) компонент вектора (ifi,i) фазового тока питания и произведения от умножения компоненты пространственно-векторного преобразования токов (iCf ) конденсатора фильтров LCL на компоненту пространственно-векторного преобразования (ifi ) компонент вектора (ifi,i) фазового тока питания, что величина (Qdiff) дифференциальной реактивной мощности образуется вычитанием суммы величины (Qref) опорной реактивной мощности и, по меньшей мере, величины (Qh) реактивной мощности компенсационной высшей гармоники относительно основного колебания вектора (ifg,i) выходного тока фильтров LCL, при этом величина (Qd) реактивной мощности затухания образуется на основе взвешенной задаваемым коэффициентом (kd) разницы между произведением от умножения компоненты пространственно-векторного преобразования токов (iCf ) конденсатора фильтров LCL на компоненту пространственно-векторного преобразования (ifi ) компонент вектора (ifi,i) фазового тока питания и произведением от умножения компоненты пространственно-векторного преобразования токов (iCf ) конденсатора фильтров LCL на компоненту пространственно-векторного преобразования (ifi ) компонент вектора (ifi,i) фазового тока питания.
4. Способ по п.3, отличающийся тем, что для образования величины (Qdiff) дифференциальной реактивной мощности дополнительно прибавляют величину (Qcomp) компенсационной реактивной мощности, причем величина (Qcomp) компенсационной реактивной мощности образуется фильтрацией нижних частот расчетной величины (QCf) реактивной мощности конденсатора фильтра.
5. Способ по п.4, отличающийся тем, что расчетная величина (QCf) реактивной мощности конденсатора фильтра образуется на основе компоненты пространственно-векторного преобразования токов (iCf ) конденсатора фильтра, компоненты пространственно-векторного преобразования токов (iCf ) конденсатора фильтра, расчетного вектора ( Cf, ) потока конденсатора фильтра и угла ( t) основного колебания относительно основного колебания вектора (ifg,i) выходного тока фильтра.
6. Способ по п.5, отличающийся тем, что расчетный вектор Cf, потока конденсатора фильтра образуют на основе текущего значения (uDC) постоянного напряжения аккумулирующего энергию контура (2), управляющего сигнала (S), компоненты пространственно-векторного преобразования (ifi ) компонент вектора (ifi,i) фазового тока питания и компоненты пространственно-векторного преобразования (ifi ) компонент вектора (ifi,i) фазового тока питания.
7. Способ по п.3, отличающийся тем, что величина (Ph) активной мощности компенсационной высшей гармоники и величина (Qh) реактивной мощности компенсационной высшей гармоники образуются соответственно на основе компоненты пространственно-векторного преобразования выходных токов (ifg ) фильтра, компоненты пространственно-векторного преобразования выходных токов (ifg ) фильтра, компоненты пространственно-векторного преобразования выходных потоков ( L ) фильтра, компоненты пространственно-векторного преобразования выходных потоков ( L ) фильтра и угла ( t) основного колебания относительно основного колебания вектора (ifg,i) выходного тока фильтра.
8. Способ по п.1, отличающийся тем, что величина (Pdiff) дифференциальной активной мощности соответствует задаваемой величине (Pref) опорной активной мощности и что величина (Qdiff) дифференциальной реактивной мощности соответствует задаваемой величине (Qref) опорной реактивной мощности.
9. Устройство для осуществления способа применения преобразовательной схемы, при этом преобразовательная схема содержит преобразовательный блок (1) с множеством управляемых мощных транзисторных ключей и аккумулирующий энергию контур (2) из двух последовательно соединенных конденсаторов, содержащее регулирующее устройство (15) для образования вектора (х) гистерезисного сигнала, подключенное через управляющую схему (3) для образования управляющего сигнала (S) к управляемым мощным полупроводниковым переключателям, причем управляющее устройство (15) содержит регулятор (6) гистерезиса для образования вектора (х) гистерезисного сигнала на основе вектора ( ifi,i) дифференциального фазового тока питания, первый сумматор (16) для образования вектора ( ifi,i) дифференциального фазового тока питания вычитанием вектора (ifi,i) фазового тока питания из вектора (ifi,i,ref) опорного фазового тока питания и первый вычислительный блок (5) для образования вектора (ifi,i,ref) опорного фазового тока питания на основе величины (Pdiff) дифференциальной активной мощности, величины (Qdiff) дифференциальной реактивной мощности и вектора ( g, ) фазового потока, отличающееся тем, что в первый сумматор (16) для образования вектора ( ifi,i) дифференциального фазового тока питания дополнительно вводится величина (i0) коррекции тока для образования вектора ( ifi,i) дифференциального фазового тока питания вычитанием вектора (ifi,i) фазового тока питания и величины (i0) коррекции тока из вектора (ifi,i,ref) опорного фазового тока питания, что регулирующее устройство (15) содержит интегратор (8) для образования величины (i0) коррекции тока путем интеграции средней величины (uinv,А) фазового напряжения питания и усреднитель (7) для образования средней величины (uinv,А) фазового напряжения питания путем определения среднего арифметического фазовых напряжений питания (uinv,А) с помощью опорной точки соединения (М) конденсаторов аккумулирующего энергию контура (2).
10. Устройство по п.9, отличающееся тем, что регулирующее устройство (15) содержит второй вычислительный блок (4) для образования вектора (Vg, ) фазового потока на основе вектора (ifi,i) фазового тока питания, управляющего сигнала (S) и текущего значения (uDC) постоянного напряжения аккумулирующего энергию контура (2).
11. Устройство по п.9 или 10, отличающееся тем, что к каждому фазовому выводу преобразовательного блока (1) подключен фильтр LCL (Lf,i, Cfi, Lfg,i), что регулирующее устройство (15) содержит второй сумматор (13) для образования величины (Pdiff) дифференциальной активной мощности вычитанием величины (Pd) активной мощности затухания из суммы величины (Pref) опорной активной мощности и, по меньшей мере, величины (Ph) активной мощности компенсационной высшей гармоники относительно основного колебания вектора (ifg,i) выходного тока фильтров LCL, при этом регулирующее устройство (15) содержит третий вычислительный блок (9) для образования величины (Pd) активной мощности затухания на основе взвешенной задаваемым коэффициентом (kd) затухания суммы произведения от умножения компоненты пространственно-векторного преобразования токов (iCfa) конденсатора фильтров LCL на компоненту пространственно-векторного преобразования (ifi ) компонент вектора (ifi,i) фазового тока питания и произведения от умножения компоненты пространственно-векторного преобразования токов (iCf ) конденсатора фильтров LCL на компонент пространственно-векторного преобразования (ifi ) компонент вектора (ifi,i) фазового тока питания, что регулирующее устройство (15) содержит третий сумматор (14) для образования величины (Qdiff) дифференциальной реактивной мощности вычитанием суммы величины (Qref) опорной реактивной мощности и, по меньшей мере, величины (Qh) реактивной мощности компенсационной высшей гармоники относительно основного колебания вектора (ifg,i) выходного тока фильтров LCL, при этом третий вычислительный блок (9) дополнительно служит для образования величины (Qd) реактивной мощности затухания на основе взвешенной задаваемым коэффициентом (kd) затухания разницы между произведением от умножения компоненты пространственно-векторного преобразования токов (iCf ) конденсатора фильтров LCL на компоненту пространственно-векторного преобразования (ifi ) компонент вектора (ifi,i) фазового тока питания и произведением от умножения компоненты пространственно-векторного преобразования токов (iCf ) конденсаторов фильтров LCL на компоненту пространственно-векторного преобразования (ifi ) компонент вектора (ifi,i) фазового тока питания.
12. Устройство по п.11, отличающееся тем, что в третий сумматор для образования величины (Qdiff) дифференциальной реактивной мощности дополнительно вводится величина (Qcomp) компенсационной реактивной мощности, причем величина (Qcomp) компенсационной реактивной мощности образуется фильтрацией нижних частот расчетной величины (QCf) реактивной мощности конденсатора фильтра с помощью фильтра нижних частот (12).
13. Устройство по п.12, отличающееся тем, что регулирующее устройство (15) содержит четвертый вычислительный блок (10) для образования расчетной величины (QCf) реактивной мощности конденсатора фильтра на основе компоненты пространственно-векторного преобразования токов (iCf ) конденсатора фильтра, компоненты пространственно-векторного преобразования токов (iCf ) конденсатора фильтра, расчетного вектора ( Cf, ) потока конденсатора фильтра и угла ( t) основного колебания относительно основного колебания вектора (ifg,i) выходного тока фильтра.
14. Устройство по п.12, отличающееся тем, что второй вычислительный блок (4) дополнительно служит для образования расчетного вектора ( Cf, ) конденсатора фильтра на основе текущего значения (uDC) постоянного напряжения аккумулирующего энергию контура (2), управляющего сигнала (S), компоненты пространственно-векторного преобразования (ifi )) компонент вектора (ifi,i) фазового тока питания и компоненты пространственно-векторного преобразования (iFi ) компонент вектора (ifi,i) фазового тока питания.
15. Устройство по п.11, отличающееся тем, что регулирующее устройство (15) содержит пятый вычислительный блок (11) для образования величины (Ph) активной мощности компенсационной высшей гармоники и величины (Qh) реактивной мощности компенсационной высшей гармоники соответственно на основе компоненты пространственно-векторного преобразования выходных токов (ifg ) фильтра, компоненты пространственно-векторного преобразования выходных токов (ifg ) фильтра, компоненты пространственно-векторного преобразования выходных потоков ( L ) фильтра, компоненты пространственно-векторного преобразования выходных потоков ( L ) фильтра и угла ( t) основного колебания относительно основного колебания вектора (ifg,i) выходного тока фильтра.
16. Устройство по п.9, отличающееся тем, что величина (Pdiff) дифференциальной активной мощности соответствует задаваемой величине (Pref) опорной активной мощности и что величина (Qdiff) дифференциальной реактивной мощности соответствует задаваемой величине (Qref) опорной реактивной мощности.
РИСУНКИ
|
|