|
|
(21), (22) Заявка: 2008145094/09, 01.06.2007
(24) Дата начала отсчета срока действия патента:
01.06.2007
(30) Конвенционный приоритет:
07.06.2006 US 11/422,658
(46) Опубликовано: 27.07.2010
(56) Список документов, цитированных в отчете о поиске:
US 5912433 А, 15.06.1999. RU 2254653 С2, 20.06.2005. RU 2129747 С1, 27.04.1999. US 5574259 А, 12.11.1996. US 4879436 А, 07.11.1999.
(85) Дата перевода заявки PCT на национальную фазу:
11.01.2009
(86) Заявка PCT:
US 2007/070192 20070601
(87) Публикация PCT:
WO 2007/143532 20071213
Адрес для переписки:
105215, Москва, Щелковское ш., 48, стр. 1, а/я 26, Н.А.Рыбиной
|
(72) Автор(ы):
ДОУЭР Вильям (US), РЕБЕРС Кеннет Д. (US)
(73) Патентообладатель(и):
3М ИННОВЕЙТИВ ПРОПЕРТИЗ КОМПАНИ (US)
|
(54) ЗАМКНУТЫЙ КОРПУС ДЛЯ ГЕРМЕТИЗАЦИИ
(57) Реферат:
Изобретение относится к замкнутым корпусам в телекоммуникационной и электроэнергетической промышленности с целью защиты кабелей от элементов внешней окружающей среды. Замкнутый корпус предусматривает включение нескольких корпусов. По меньшей мере один из корпусов является вогнутым корпусом с открытой гранью. По меньшей мере один слой, такой как, например, эластомерная пленка или плотно прилегающий герметик, закреплен на частях периметров вогнутых корпусов по открытой грани каждого из вогнутых корпусов. По меньшей мере один слой, такой как эластомерная пленка, предназначен для состыковки одного или нескольких кабелей, когда кабели помещены между корпусами. Изобретение обеспечивает улучшенную защиту и водонепроницаемую изоляцию одного или нескольких кабелей. 2 н. и 13 з.п. ф-лы, 19 ил.
Область техники, к которой относится изобретение
Замкнутые корпуса используют в телекоммуникационной и электроэнергетической промышленности с целью защиты кабелей от элементов внешней окружающей среды. Такие замкнутые корпуса могут быть установлены на поверхности земли, как надземные купола, зарыты в землю, размещены в обслуживаемых отверстиях или закреплены на опорах ЛЭП. Внешняя граница замкнутых корпусов обеспечивает механическую защиту от элементов окружающей среды, таких как дожди, наводнения, ветры и снег, и другой воды или частиц грязи, которые могут навредить месту соединения или разъему.
Сущность изобретения
Вариант осуществления изобретения, например, может преимущественно включать в себя устройство с несколькими корпусами. По меньшей мере один из корпусов может включать в себя вогнутый корпус с открытой гранью. Одна или несколько эластомерных пленок могут быть установлены на частях периметра вогнутых корпусов по открытой грани каждого из вогнутых корпусов. Эластомерные пленки предназначены, чтобы состыковывать один или несколько кабелей, когда эти кабели устанавливаются между корпусами, для изоляции кабелей от условий окружающей среды.
Кроме того, например, варианты осуществления изобретения могут преимущественно включать в себя альтернативные устройства с несколькими корпусами. По меньшей мере один из корпусов может включать в себя вогнутый корпус с открытой гранью. Один или несколько гибких слоев могут быть установлены на частях периметра вогнутых корпусов по открытой грани каждого их вогнутых корпусов. Гибкие слои предназначены, чтобы состыковывать один или несколько кабелей, когда кабели устанавливаются между корпусами, для изоляции кабелей от условий окружающей среды.
Кроме того, например, варианты осуществления изобретения могут преимущественно включать в себя альтернативные устройства с несколькими корпусами. По меньшей мере один из корпусов может включать в себя вогнутый корпус с открытой гранью. Один или несколько гибких слоев могут быть установлены на частях периметра вогнутых корпусов по открытой грани каждого их вогнутых корпусов. Один или несколько соответствующих герметиков могут закрывать часть поверхности каждого из гибких слоев. Соответствующие герметики предназначены, чтобы состыковывать один или несколько кабелей, когда кабели устанавливаются между корпусами, для изоляции кабелей от условий окружающей среды.
Кроме того, например, варианты осуществления изобретения могут преимущественно включать в себя альтернативные устройства, имеющие два или несколько вогнутых корпусов, представляющих собой корпуса, соединенные наружными сторонами. Каждый из корпусов может включать в себя открытую грань, которая обращена к и сопряжена с открытой гранью смежного корпуса. Каждый из двух или более гибких слоев могут быть установлены на частях периметра вогнутых корпусов по открытой грани каждого из вогнутых корпусов. Каждая из двух или более эластомерных пленок могут закрывать часть поверхности каждых гибких слоев. Один или несколько кабелей могут быть закреплены внутри корпусов. Первая часть каждого из кабелей может быть установлена между эластомерными пленками и внешней поверхностью корпусов для изоляции кабелей от условий окружающей среды, а вторая часть каждого из кабелей может выходить наружу от эластомерных пленок и внешней поверхности корпусов.
В процессе эксплуатации изобретение преимущественно обеспечивает улучшенную защиту и водонепроницаемую изоляцию одного или нескольких кабелей и (или) соединяющих узлов от вредных условий окружающей среды в индустрии средств связи (такой как телекоммуникационная промышленность), индустрии общественного пользования (такой как электроэнергетическая промышленность) или других отраслях промышленности, включающих в себя распространение кабелей и (или) передачу оптического света или электричества, с поиском усовершенствованных решений относительно решений герметизации, решений, касающихся повторного использования, решений в условиях давления, решений в условиях атмосферы и решений с весовыми условиями, преимущественно обеспечиваемых изобретением.
В одном объекте изобретения включение эластомерной пленки, гибкого слоя и (или) сообразного герметизирующего материала в комбинации с полым типом вогнутого корпуса преимущественно обеспечивает решения для замкнутого корпуса, которые предлагают улучшенную герметизацию, в то же самое время обеспечивая замкнутый корпус, который представляет собой повторно используемый до степени, не обеспечиваемой в существующих закрытых корпусах.
Далее, в другом объекте, изобретение преимущественно обеспечивает улучшенные механические напряжения и остаточные деформации кабеля, вызванные изменениями давления в течение периода эксплуатации. Относительно мягкую поверхность слоев, установленных на корпусах, можно деформировать для приспособления к изменениям давления, не создавая чрезмерных напряжений на внешней границе корпусов. Податливость деформируемых слоев, установленных на корпусах, обеспечивает значительные изменения в форме закрывающего элемента при поддержании водонепроницаемой изоляции. Поскольку объем, защищенный от воды, лишь незначительно больше, чем объем места соединения и, как правило, значительно меньше, чем полный объем внутренности замкнутого корпуса, влияние изменений давления вследствие затопления преимущественно минимизировано по сравнению с представленным полным объемом водонепроницаемого замкнутого корпуса.
Далее, полая природа вогнутого корпуса преимущественно обеспечивает увеличение места или пространства для размещения больших кабелей внутри замкнутого корпуса. Далее, полая природа вогнутого корпуса преимущественно обеспечивает решение облегченного веса для замкнутого корпуса, а уменьшение в весе позволяет значительно облегчить установку и перевозку, а также уменьшить стоимость, связанную с изготовлением таких закрытых корпусов.
В прошлом закрытые корпуса имели проблемы, которые пока еще не преодолены в технике. Прежние закрытые корпуса и их изолирующий механизм демонстрировали существенные изменения в форме при изменении температуры. Такие изменения в форме вызывали нарушение изоляции и проникновение воды и частиц грязи, нарушая свойства защитного материала, важные для герметичности. Прежние закрытые корпуса также представляли проблему в том, что они не могли быть легко повторно использованы, что является существенным в случаях, когда необходимо провести восстановление кабеля или места соединения. Избыток материалов и более тяжелый вес, сопутствующий прежним закрытым корпусам, вносили вклад в увеличение затрат и более сложную транспортировку.
Краткое описание чертежей
Фиг.1а является видом в изометрии корпуса в открытом положении, показывающим вогнутую полость внутренней области корпуса.
Фиг.1b является видом в изометрии корпуса в открытом положении, показывающим газовые камеры, заполняющие вогнутую внутренность корпуса.
Фиг.2 является видом в изометрии замкнутого корпуса в открытом положении, в том числе слой по открытой грани корпуса согласно варианту осуществления изобретения.
Фиг.3 является видом в изометрии замкнутого корпуса по Фиг.2 в закрытом положении согласно варианту осуществления изобретения.
Фиг.4 является видом в изометрии замкнутого корпуса по Фиг.2, включающего в себя один или несколько кабелей, согласно варианту осуществления изобретения.
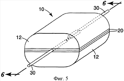
Фиг.5 является видом в изометрии замкнутого корпуса по Фиг.3, включающего в себя один или несколько кабелей, согласно варианту осуществления изобретения.
Фиг.6 является сечением замкнутого корпуса, взятым вдоль линии 6-6 на Фиг.5, согласно варианту осуществления изобретения.
Фиг.7 является видом в изометрии замкнутого корпуса в открытом положении, в том числе слои по открытой грани корпуса, согласно варианту осуществления изобретения.
Фиг.8 является видом в изометрии замкнутого корпуса по Фиг.7 в закрытом положении согласно варианту осуществления изобретения.
Фиг.9 является видом в изометрии замкнутого корпуса по Фиг.7 в открытом положении, в том числе один или несколько кабелей, согласно варианту осуществления изобретения.
Фиг.10 является видом в изометрии замкнутого корпуса по Фиг.8 в закрытом положении, в том числе один или несколько кабелей, согласно варианту осуществления изобретения.
Фиг.11 является сечением замкнутого корпуса, взятым вдоль линии 11-11 на Фиг.10, согласно варианту осуществления изобретения.
Фиг.12 является сечением замкнутого корпуса, включающего в себя концевые уплотнители, согласно варианту осуществления изобретения.
Фиг.13 является видом в изометрии замкнутого корпуса, включающего в себя дугообразные каналы, согласно варианту осуществления изобретения.
Фиг.14 является видом в изометрии замкнутого корпуса с дугообразными каналами в закрытом положении, включающего в себя один или несколько кабелей, согласно варианту осуществления изобретения.
Фиг.15а является видом в изометрии сменных стенок с дугообразными каналами согласно варианту осуществления изобретения.
Фиг.15b является видом в изометрии корпуса до установки съемных стенок по Фиг.15а согласно варианту осуществления изобретения.
Фиг.15с является видом в изометрии корпуса после установки съемных стенок по Фиг.15а согласно варианту осуществления изобретения.
Фиг.16 является видом в изометрии корпуса после установки переходных стенок с дугообразными каналами согласно варианту осуществления изобретения.
Фиг.17 является видом в изометрии замкнутого корпуса, включающего в себя один или несколько кабелей, согласно варианту осуществления изобретения.
Фиг.18 является сечением корпуса, в который вставляют шип для прикрепления к нему слоя согласно варианту осуществления изобретения.
Фиг.19 является сечением корпуса, который имеет клейкий слой для прикрепления к нему слоя, согласно варианту осуществления изобретения.
Подробное описание
Как показано на чертежах, изобретение включает в себя множество корпусов 12, по меньшей мере один из которых включает в себя вогнутый корпус 12 с открытой гранью. Варианты осуществления изобретения могут включать в себя, например, сопряженные лицевыми поверхностями корпуса 12, где два или несколько из множества корпусов 12 являются вогнутыми корпусами 12 с открытой гранью и где открытая грань одного из вогнутых корпусов 12 обращена к и сопряжена с открытой гранью смежного корпуса 12. Варианты осуществления могут также включать в себя одну или несколько петель, например существующую петлю, или других крепежей, расположенных на частях 15 периметра каждого корпуса 12, чтобы соединять каждый корпус 12 со смежным корпусом 12. Кроме того, например, варианты осуществления могут включать в себя фиксаторы, затворы или другие крепежные элементы, используемые, чтобы поддерживать замкнутый корпус 10 в полностью закрытом положении или удерживать эластомерную пленку 20 в герметичной конфигурации.
Корпусы 12 могут быть сделаны различными способами, например изготовлены литьем под давлением, выдуванием формы, вытягиванием формы, выдавливанием, вакуумным формованием, центробежной формовкой и термическим формованием. Варианты осуществления корпусов 12 могут быть выполнены из различных материалов, например алюминия, стали, металлических сплавов и пластиков, в особенности термопластиков, таких как полиолефины, полиамиды, поликарбонаты, полиэфиры, поливинилы, и других полимерных материалов. При варианте осуществления пластикового корпуса 12 можно использовать металлическую усиливающую полосу для увеличения прочности и крепости.
Как показано на Фиг.1а, корпусы 12 могут быть полые и вогнутые. Вогнутые корпусы 12 могут иметь большую вогнутость или малую вогнутость, и могут иметь, например, такую вогнутость, как полая прямоугольная коробка с открытой гранью, или такую вогнутость, как полая полуцилиндрическая конструкция с открытой гранью. Закрывающий элемент может включать в себя, например, варианты осуществления, где объем между внутренней стенкой вогнутого корпуса 12 и эластомерной пленкой 20 практически свободен от материала наполнителя.
Как показано на Фиг.1а и реализовано на Фиг.7, например, закрывающий элемент может включать в себя варианты осуществления, где объем между внутренней стенкой вогнутого корпуса 12 и гибким слоем 22 практически свободен от материала наполнителя. В качестве альтернативы, как показано на Фиг.1b, закрывающий элемент может включать в себя варианты осуществления, например, где в вогнутой полости вогнутого корпуса 12 расположены разрушаемые газовые пузырьки 70. Кроме того, закрывающий элемент может включать в себя варианты осуществления, где разрушаемые газовые пузырьки 70 расположены в вогнутой полости вогнутого корпуса 12. Материал, используемый для изготовления газовых пузырьков 70, обычно представляет собой полиэтилен. Диаметр, высота и давление газовых пузырей могут варьироваться. Газовые пузырьки 70, например, могут быть пузырчатым упаковочным материалом. Газовые пузырьки 70, например, могут включать в себя наполненные азотом пузырьки. Газовые пузырьки 70 преимущественно придают относительно постоянное давление кабелям 30 и (или) соединяющему компоненту 35 внутри замкнутого корпуса 10. Также варианты осуществления газовых пузырьков 70 могут представлять собой заранее собранную пленку сверху и (или) снизу газовых пузырьков 70.
Кроме того, как показано на Фиг.14, закрывающий элемент может включать в себя варианты осуществления, где часть стенки вогнутого корпуса 12 содержит одно или несколько отверстий, позволяющих воздуху проникать внутрь вогнутого корпуса 12.
Как показано на чертежах, варианты осуществления корпуса 12 могут, например, включать в себя один или несколько гибких слоев 22, установленных на частях 15 периметра вогнутых корпусов 12 по открытой грани каждого из вогнутых корпусов 12. В качестве альтернативы, например, корпус 12 может включать в себя одну или несколько эластомерных пленок 20 или плотно прилегающих герметиков 20, закрепленных на частях 15 периметра вогнутых корпусов 12 по открытой грани каждого из вогнутых корпусов 12.
Например, как показано на Фиг.2-6, гибкий слой 22 или альтернативная эластомерная пленка 20 могут быть прикреплены к корпусу 12 совмещением одной или нескольких эластомерных пленок 20 с одним или несколькими вогнутыми корпусами 12 в практически планарной конфигурации по периметру 15 открытой грани каждого вогнутого корпуса 12 и закреплением эластомерной пленки 20 на вогнутых корпусах 12.
Кроме того, например, как показано на Фиг.7-14, корпус 12 может включать в себя как гибкий слой 22, так и закрепленную на нем эластомерную пленку 20, при этом каждая из одной или нескольких эластомерных пленок 20 покрывает часть поверхности каждого из гибких слоев 22. Кроме того, например, как показано на Фиг.7-14, корпус 12 может включать в себя как гибкий слой 22, так и закрепленный на нем плотно прилегающий герметик 20, при этом плотно прилегающий герметик 20 покрывает часть поверхности каждого из гибких слоев 22. Кроме того, например, корпус 12 может включать в себя как эластомерную пленку, так и закрепленный на нем плотно прилегающий герметик 20, при этом плотно прилегающий герметик 20 закрывает часть поверхности каждой эластомерной пленки.
Кроме того, например, корпус 12 может включать в себя два гибких слоя и закрепленную на них эластомерную пленку. Один пример такого варианта осуществления предусматривает первый гибкий слой в виде резинового материала, прикрепленного к вогнутому корпусу 12. Второй гибкий слой в виде тканой или нетканой сетки из нитей покрывает первый гибкий слой. И, наконец, эластомерная пленка также покрывает первый гибкий слой, в то же самое время совместно непрерывно проникает во второй гибкий слой сетки из нитей.
Кроме того, например, корпус 12 может включать в себя один эластомерный слой пленки, закрепленный на нем по открытой грани на части 15 периметра корпуса 12, при этом в то же самое время определяя кабель, предварительно обмотанный отдельной эластомерной пленкой, которая расположена внутри корпуса 12. Такой вариант осуществления обеспечивает преимущества при наличии многоточечной герметизации. Эластомерная пленка, которая обматывает кабель, выполняет функцию начальной точки герметизации, а эластомерный слой 20 пленки, который прикреплен к корпусу, выполняет функцию вторичной точки герметизации.
Кроме того, например, корпус 12 может включать в себя два гибких слоя и закрепленный на них плотно прилегающий герметик. Один пример такого варианта осуществления предусматривает первый гибкий слой в виде резинового материала, прикрепленного к вогнутому корпусу 12. Второй гибкий слой в виде пористой подложки покрывает первый гибкий слой. И, наконец, плотно прилегающий герметик также покрывает первый гибкий слой, в то же самое время совместно непрерывно проникая во второй гибкий слой пористой подложки.
В соответствии с изобретением гибким слоем может быть любой слой, который является гибким, эластомерной пленкой может быть слой, проявляющий упругие свойства, а плотно прилегающим герметиком может быть любой материал, способный плотно прилегать к смежной структуре. Например, резиновый материал может быть как гибким слоем, так и эластомерной пленкой. Кроме того, например, полимерный гелеобразный материал может быть гибким слоем, эластомерной пленкой, а также плотно прилегающим герметиком. Кроме того, например, смазочный материал может быть плотно прилегающим герметиком.
Эластомерная пленка 20 обычно содержит, по меньшей мере, полимер и масляную часть. Варианты осуществления эластомерной пленки 20 могут включать в себя, например, полимерный термопластический водоотталкивающий гелевый герметик, содержащий, по меньшей мере, масляную часть.
Свойствами полимера, которые делают его наиболее подходящим для этого применения, являются хорошая совместимость с маслом и каучукообразная структура, означающая гибкие цепи с некоторой значительной молекулярной подвижностью между узлами поперечных связей. Примеры полимеров, которые являются пригодными, могут включать в себя силиконы с масляной изоляцией, полиуретаны, полиэфиры, полиэпоксиды, полиакрилаты, полиолефины, полисилоксаны, полибутадиены (включая полиизопрены) и гидрированные полибутадиены и полиизопрены, а также сополимеры, включающие блок-сополимеры и привитые сополимеры. Блоки блок-сополимеров могут включать в себя вышеупомянутые полимеры и полиэфиры (моноалкенирины), включая пенопласт. Образцы этих блок-сополимеров могут включать в себя, в частности SEBS (стирол, этилен-бутилен, стирол), SEPS (стирол, этилен-пропилен, стирол), аналогичные стирол-каучук-стирольные полимеры, диблоки, триблоки, привитые и звездообразные блок-сополимеры и блок-сополимеры с блоками, которые являются негомогенными. Могут также быть включены герметичные элементы пористых материалов и те, что содержат встроенные микропузырьки или другие мягкие (или твердые) наполнители.
Варианты осуществления могут характеризовать эластомерную пленку 20 как термопластичную или, альтернативно, как отвердевшую на месте в виде термического отвердевания, отвердевания при комнатной температуре (RTV cures), отвердевания от УФ-излучения, отвердевания электронным пучком, отвердевания от радиации и отвердевания от воздействия воздуха и (или) влажности. Эластомерная пленка 20 обычно имеет более высокую когезию, чем адгезию.
Доля масла в эластомерной пленке 20 может быть, например, в диапазоне от примерно 50% до примерно 98% от эластомерной пленки 20, или конкретнее, в диапазоне от примерно 85% до примерно 98% от эластомерной пленки 20. Кроме того, например, варианты осуществления эластомерной пленки 20 могут включать в себя частицы наполнителя, такие как полимерные сферы или стеклянные микросферы. Одним из примеров таких частиц наполнителя являются деформируемые пузырьки, где эластомерная пленка сформирована вспениванием и добавлением отдельных пузырьков. Добавленные пузырьки могут быть полимерными или стеклянными микропузырьками. Добавление таких частиц наполнителя или пузырьков позволяет эластомерной пленке 20 проявлять уровень растяжимости, который далее обеспечит прилегание эластомерной пленки 20 в процессе эксплуатации.
Варианты осуществления масла могут включать в себя, например, наполнители, такие как синтетические масла, растительные масла, силиконы, эфиры, углеводородные масла, в том числе специфические нафтеновые масла и парафиновые масла и смеси, а также, возможно, некоторый процент ароматических масел. Некоторые составы в эластомерной пленке 20 являются промежуточными между полимерами и маслами. Например, эластомерная пленка 20 может включать в себя жидкий каучук, который может не становиться частью гелеобразной полимерной сетки. Примеры такого жидкого каучука могут включать в себя полибутилен со средним молекулярным весом и низкомолекулярный EPR (этиленпропиленовый каучук). Добавлением жидкого каучука к полимеру и маслу можно адаптировать параметры герметика, например, увеличивая его схватываемость. Могут быть добавлены вещества, придающие клейкость, антиоксиданты, красители, УФ-стабилизаторы и другие вещества.
Как правило, масло в значительной степени гидрофобно, чтобы не пропускать воду. Также, как правило, масло преимущественно снижает количество сплетений цепей и число поперечных связей в объеме, тем самым делая материал мягче в форме геля. Также, как правило, масло преимущественно снижает вязкость либо исходного материала (перед отверждением), либо расплавленного термопластика. Также, как правило, масло является относительно недорогим, снижая тем самым стоимость разработки в целом.
Как упоминалось ранее, плотно прилегающий герметик 20 может быть использован с корпусом 12 в различных вариантах осуществления. Варианты осуществления плотно прилегающего герметика 20 обеспечивают требуемые механические свойства предельно низкой точкой текучести и высокой адгезией и когезией. Варианты осуществления плотно прилегающего герметика 20 могут включать в себя, например, загуститель, действующий совместно с, по меньшей мере, долей масла.
Загуститель может включать в себя, например, органический полимерный состав. Органический полимерный состав может включать в себя, например, полимеры, в том числе полиуретаны, полиэфиры, полиэпоксидные смолы, полиакрилаты, полиолефины, полисилоксаны, полибутадиены (включая полиизопрены) и гидрированные полибутадиены и полиизопрены, а также блок-сополимеры. Блоки блок-сополимеров могут включать в себя, например, вышеупомянутые полимеры и полиэфиры (моноалкенирины), включая пенопласт. Эти блок-сополимеры могут включать в себя, в частности SEB (стирол-этилен-бутилен), SEP (стирол-этилен-пропилен), SEBS (стирол-этилен-пропилен-стирол), SEPS (стирол-этилен-пропилен-стирол), аналогичные стирол-каучуковые полимеры, диблоки, привитые и звездообразные блок-сополимеры и блок-сополимеры с блоками, которые являются негомогенными.
Кроме того, например, загуститель может включать в себя неорганический солевой состав. Неорганический солевой состав может включать в себя, например, оксид алюминия, диоксид кремния или глину. Кроме того, например, загуститель может включать в себя мыльную составляющую. Мыльная составляющая может включать в себя, например, мыла с комплексным соединением металла, мыла с комплексным соединением алюминия, мыла с комплексным соединением лития или мыла с комплексным соединением кальция. Кроме того, например, загуститель может быть смазкой, воском (включая полиэтиленовый и полипропиленовый воск) или вязкоэластичным полимерным гидрофобным составом, включающим, по меньшей мере, долю масла. Плотно прилегающий герметик 20 может также быть, например, заготовлен из сдвиговых гелей, например гелей, полученных при перемешивании полимера в процессе гелеобразования, как известно специалистам.
Доля масла в плотно прилегающем герметике 20 может быть, например, в диапазоне от примерно 50% до примерно 98% от плотно прилегающего герметика 20, или конкретнее, в диапазоне от примерно 70% до примерно 98% от плотно прилегающего герметика 20. Например, масло может быть углеводородным, включающим особенно нафтеновые и парафиновые масла и смеси, а также, возможно, ароматические масла. Кроме того, например, варианты осуществления плотно прилегающего герметика 20 могут включать в себя частицы наполнителя, такие как полимерные сферы или стеклянные микросферы. Одним из примеров таких частиц наполнителя являются деформируемые пузырьки, в которых плотно прилегающий герметик 20 сформирован вспениванием или добавлением отдельных пузырьков. Добавляемые пузырьки могут быть полимерными или стеклянными микропузырьками. Добавление таких частиц наполнителя или пузырьков позволяет плотно прилегающему герметику 20 проявлять уровень растяжимости, который далее обеспечит плотное прилегание плотно прилегающему герметику 20 в процессе эксплуатации.
Как упоминалось ранее, в различных вариантах осуществления с корпусом 12 может быть использован гибкий слой 22. Гибкий слой 22 может включать в себя, например, резину, эластомер или другой упругий материал. Гибкий слой 22 может использоваться отдельно или, наоборот, гибкий слой может использоваться вместе с эластомерной пленкой 20 и (или) плотно прилегающим герметиком 20. Клейкий материал может быть наложен между гибким слоем 22 и эластомерной пленкой 20 или плотно прилегающим герметиком 20 в тех случаях, в которых множество слоев используется с корпусом 12. Кроме того, гибкий слой 22 может включать в себя, например, тканую или нетканую сетку из нитей, способную к непрерывному взаимному проникновению с эластомерной пленкой 20. Гибкий слой 22 может также включать в себя, например, пористую подложку, способную к непрерывному взаимному проникновению в плотно прилегающий герметик 20. Гибкий слой может также включать в себя, например, пенопласт с открытыми порами и сети с открытой геометрией. Гибкий слой 22 может быть восприимчив к деформации, чтобы изолировать твердый объект, такой как кабель 30.
Как показано на Фиг.18 и 19, гибкий слой 22 может быть прикреплен к корпусу 12 разными способами. Например, крепежный элемент может быть введен через эластомерную пленку 20 и гибкий слой 22, когда эластомерная пленка 20 и гибкий слой 22 установлены на корпусе 12. Такие крепежные элементы могут включать в себя винты, болты, саморезные винты, крепежи типа «рождественской елки», замки отделочных панелей и другие виды крепежных элементов. Кроме того, например, клейкий материал 62 может быть использован при креплении гибкого слоя 22 к корпусу 12. Кроме того, например, варианты осуществления могут включать в себя шип 60, выступающий из гибкого слоя 22, и отверстие, образованное в корпусе 12, в которое вставляется шип 60. В таком примере осуществления будет трудно вынуть шип 60 из отверстия в корпусе 12 после того, как шип 60 был туда вставлен. Могут быть предусмотрены другие способы монтажа, включающие тепловые и термокомпрессионные методы.
Как показано на Фиг.5, 10 и 14, корпус 12 может быть использован для изоляции кабелей 30 и (или) соединяющих узлов 35 от воды, частиц или других элементов окружающей среды снаружи закрывающего элемента. Первая часть каждого из кабелей 30, например, может быть расположена между передней стороной корпусов 12 и слоями, прикрепленными к корпусу 12. Вторая часть каждого из кабелей 30, например, может проходить снаружи от передних сторон корпусов 12 и слоев, прикрепленных к корпусам 12. Варианты осуществления кабеля 30 могут включать в себя, например, медный или алюминиевый кабель 30, кабель 30, заранее подключенный к зажиму, стекловолоконный оптический кабель 30, полимерный волоконно-оптический кабель 30, комбинацию проводного и волоконно-оптического кабеля 30 или любые другие виды кабеля 30, которые проводят свет и (или) электричество.
Корпус 12 может преимущественно служить для изоляции одиночного кабеля 30 или группы кабелей 30 от воды или других элементов окружающей среды. Варианты осуществления могут включать в себя, например, кабель 30 или группы кабелей 30, соединенных с другим кабелем 30 или группами кабелей 30 в пределах закрывающего элемента через соединительный компонент 35, или одиночный кабель 30 пропускают по всей длине через закрывающий элемент как единое целое, или, например, оба могут быть в пределах единого закрывающего элемента. Каждый из кабелей 30, проходящий внутри или через закрывающий элемент, формируется вдоль направления оси, практически параллельного плоскости открытой грани вогнутого корпуса 12. Части периметра соединяют одним или несколькими крепежами на противоположных сторонах открытой грани для удержания замкнутого корпуса 10 в закрытом или запертом положении с кабелями 30, изолированными в нем.
В некоторых вариантах осуществления, которые не включают в себя соединительный узел 35, соединяющий два или несколько кабелей 30, одиночный кабель 30, пропускаемый через закрывающий элемент, должен быть изолирован от воды или других элементов окружающей среды, после того как применяют материал для ремонта кабеля для восстановления или поддержания в исправном состоянии кабеля 30. В таком случае, когда материал для ремонта кабеля окружает один или несколько кабелей 30 в пределах закрывающего элемента, изношенную или порванную часть кабеля 30, которая содержит материал для ремонта кабеля, соединяют частью по меньшей мере одной эластомерной пленки 20, например, после вставления в обращенные друг к другу корпуса 12 замкнутого объема. Варианты осуществления материалов для восстановления кабеля, применяемых для кабеля 30, могут включать в себя, например, ленты, герметики, пеноматериалы, эпоксиды, герметизирующие вещества, защитные стыковые соединители, жгуты, заземляющие провода и другие виды материалов для ремонта кабеля.
Если соединительный компонент 35 используют для соединения двух или нескольких кабелей 30, корпус 12 преимущественно изолирует не только каждый кабель 30, проходящий внутри или через закрывающий элемент, но также изолирует соединительный компонент 35 внутри закрывающего элемента от воды или других элементов окружающей среды. Варианты осуществления соединительного компонента 35 могут включать в себя, например, соединитель или другой соединительный компонент 35, содержащий в себе соединители (в том числе отдельные соединители, модульные соединители, разветвленные соединители, заранее подключенные к зажиму соединители или другие соединители). Кроме того, например, в некоторых применениях, соединительный компонент 35 может содержать завершение, где кабель 30 соединяют с выводом электрического или оптического устройства.
Соединительный компонент 35 может соединять часть каждого слоя, прикрепленного к каждому корпусу 12, и может, таким образом, помещаться между слоями, прикрепленными к корпусам 12. Например, соединительный компонент 35 может соединять часть эластомерной пленки 20, прикрепленной к каждому корпусу 12, тем самым помещенным между эластомерными пленками 20, прикрепленными к корпусам 12. Варианты осуществления, включая каждый из гибкого слоя 22, эластомерного слоя 20 и (или) плотно прилегающего герметика 20, преимущественно действуют для предотвращения попадания внешних частиц и жидкости на части одного или нескольких кабелей 30 и (или) соединительных компонентов 35, помещенных между гибкими слоями 22, эластомерными пленками 20 и (или) соответствующими герметиками 20.
В некоторых вариантах осуществления, как показано на Фиг.17, если больше чем один кабель 30 необходим для размещения в замкнутом корпусе и если несколько кабелей 30 находятся слишком близко друг к другу, или они слишком большого диаметра, тогда может быть мало пространства, которое существует между кабелями 30 и которое эластомерная пленка 20 не заполняет по объему. В таком случае вогнутый корпус 12 не будет включать в себя торцевые стенки 52 (ни встроенные, ни съемные) или переходные устройства 54, такие как показано на Фиг.15b. Поскольку торцевые стенки не включены в вогнутый корпус 12, могут быть использованы фиксатор, зажим или крепежный элемент 80 или группы фиксаторов, зажимов или крепежных элементов 80, чтобы прижать лицевые слои эластомерной пленки 20 друг к другу в части между кабелями 30, тем самым закрывая объем между кабелями 30 и изолируя кабели 30 от воды, грязи, частиц или других частиц окружающей среды.
В некоторых вариантах осуществления, если желательно, корпус 12 может быть разработан для лучшего соединения или изоляции конкретного диаметра кабеля 30. Например, вогнутые корпусы 12 на Фиг.1 могут быть модернизированы, чтобы включать в себя набор одной или нескольких стенок, имеющих в основном один или несколько дугообразных каналов 50, сконфигурированных для размещения кабеля 30, имеющего, по существу, диаметр, равный диаметру дугообразных каналов 50. Дугообразные каналы 50 на стенках обычно расположены в позиции на периметре 15 корпуса 12, в котором будет размещаться кабель 30. Кроме того, например, как показано на Фиг.15, набором одной или нескольких стенок могут быть съемные стенки 52, способные убираться из вогнутого корпуса 12 и заменяться вторым набором одной или нескольких стенок, имеющих один или несколько практически дугообразных каналов 50, сконфигурированных для размещения кабеля 30, имеющего, по существу, диаметр, равный диаметру дугообразных каналов 50 второго набора стенок. Фиг.15b изображает корпус 12 перед установкой съемных стенок 52, а Фиг.15с изображает корпус 12 после установки съемных стенок 52.
Кроме того, например, как показано на Фиг.16, вогнутые корпусы 12 могут включать в себя набор одной или нескольких съемных переходных стенок 54, располагаемых на наборах встроенных стенок по периметру 15 каждого из вогнутых корпусов 12, где переходные стенки 54 могут включать в себя один или несколько, по существу, дугообразных каналов 50, сконфигурированных для размещения кабеля 30, имеющего, по существу, диаметр, равный диаметру дугообразных каналов 50.
Как показано в примерном варианте осуществления на Фиг.6, 11 и 12, может существовать объем между эластомерной пленкой 20, прикрепленной к одному из корпусов 12, и эластомерной пленкой 20, прикрепленной к другим корпусам 12 (между кабелем и соединительным компонентом), при помощи которого пространственный объем преимущественно соответствует изменениям в давлении воздуха. Пространство может преимущественно позволять объему сжиматься, реагируя на увеличение внешнего давления объема внутри вогнутого корпуса 12, снаружи эластомерной пленки 20.
Как показано на Фиг.12, например, часть периметра 15 открытой грани каждого из корпусов 12 может включать в себя уплотнитель 40 из эластомерного материала, нанесенного на него. Кроме того, например, уплотнитель 40 из эластомерного материала, наоборот, может быть спирально или по-другому обернут вокруг кабеля 30 так, чтобы окружить кабель 30 в месте, предназначенном для выравнивания или соединения с частью периметра 15 открытой грани корпуса 12. Кроме того, например, уплотнитель 40 может включать в себя резиновую прокладку-уплотнитель 40, как известно специалисту, имеющую надрез, чтобы одеваться на кабель 30 в месте, где резиновая прокладка-уплотнитель 40, таким образом, образует герметичную стыковку с кабелем 30.
Материал уплотнителя 40, как известно специалисту, включает в себя полимеры и химические составы, включающие, например, масла, пластификаторы и другие полимерные материалы, резиновые ленты с клейким материалом и без клейкого материала, виниловые ленты, а также материалы, которые считаются мастиками. Материал уплотнителя 40 может также совпадать с материалом, используемым в вышеупомянутой эластомерной пленке 20.
В процессе эксплуатации изобретение преимущественно обеспечивает улучшенную защиту и водонепроницаемую изоляцию одного или нескольких кабелей 30 и (или) соединительных компонентов 35 от вредных условий окружающей среды в индустрии средств связи (такой как телекоммуникационная промышленность), индустрии общественного пользования (такой как электроэнергетическая промышленность) или других отраслях промышленности, включающих в себя распределение кабелей 30 и (или) передачу оптического света или электричества, поиск улучшенных решений относительно решений герметизации, решений, касающихся повторного использования, решений условий давления, решений атмосферных условий и решений весовых условий, преимущественно обеспечиваемых изобретением.
Включение эластомерной пленки 20, гибкого слоя 22 и (или) плотно прилегающего герметика 20 в комбинации с полым типом вогнутого корпуса 12 преимущественно обеспечивает решение для замкнутого корпуса 10, которое создает исключительную герметизацию, в то же самое время обеспечивая замкнутый корпус 10, который можно повторно использовать до уровня, не обеспечиваемого в существующих замкнутых корпусах 10.
Далее, изобретение преимущественно обеспечивает улучшенные механические напряжения и остаточные деформации кабеля 30, основанные на неизбежных изменениях давления в течение периодов эксплуатации. Относительно мягкая поверхность слоев, прикрепленных к корпусу 12, может деформироваться, приспосабливаясь к изменениям давления, не создавая чрезмерных напряжений на внешней границе корпуса 12. Растяжимость деформируемых слоев, прикрепленных к корпусу 12, учитывает существенные изменения в форме закрывающего элемента, пока удерживается водонепроницаемая изоляция. Поскольку объем, защищенный от воды, лишь немного больше, чем объем соединения, и, как правило, значительно меньше, чем полный объем внутренности замкнутого корпуса 10, влияние изменений давления, вследствие погружения, преимущественно минимизировано, по сравнению с представляемым полным объемом водонепроницаемого замкнутого корпуса 10.
Далее, полая природа вогнутого корпуса 12 преимущественно обеспечивает увеличение места или пространства для перемещения больших кабелей 30 внутри замкнутого корпуса 10. Кроме того, полый тип вогнутого корпуса 12 преимущественно обеспечивает облегченное решение для замкнутого корпуса 10, а уменьшение в весе позволяет значительно облегчить установку и перевозку, а также уменьшить стоимость, связанную с изготовлением такого замкнутого корпуса 10.
Хотя вышеупомянутое подробное описание содержит много специфических деталей, предназначенных для иллюстрации, любой специалист оценит, что множество изменений, модификаций, замен и поправок к деталям лежат в объеме заявленного изобретения. Соответственно, изобретение, описанное в подробном описании, изложено без наложения каких-либо ограничений на заявляемое изобретение. Должный объем изобретения следует определять при помощи нижеследующей формулы изобретения и ее соответствующими законными эквивалентами.
Формула изобретения
1. Устройство, содержащее множество корпусов, по меньшей мере один из которых содержит вогнутый корпус с открытой гранью; и одну или несколько эластомерных пленок, причем каждая эластомерная пленка прикреплена к частям периметра вогнутых корпусов по открытой грани каждого из вогнутых корпусов, где эластомерные пленки предназначены для состыковки одного или нескольких кабелей, когда кабели введены между корпусами для изоляции кабелей от условий окружающей среды.
2. Устройство по п.1, в котором объем между внутренней стенкой вогнутого корпуса и эластомерной пленкой практически свободен от материала наполнителя.
3. Устройство по п.1, в котором по меньшей мере часть эластомерной пленки содержит полимерный термопластичный гидрофобный состав, включающий в себя по меньшей мере долю масла.
4. Устройство по п.3, в котором доля масла содержится от примерно 50% до примерно 98% от эластомерной пленки.
5. Устройство по п.1, в котором по меньшей мере часть эластомерной пленки включает в себя частицы наполнителя.
6. Устройство по п.1, в котором по меньшей мере часть эластомерной пленки содержит масло и полимер, выбранные из группы, состоящей из полиуретана, полиэстера, пенопласта, полиэпоксида, полиакрилата и полиолефина.
7. Устройство по п.1, далее содержащее один или несколько гибких слоев, причем каждый гибкий слой прикреплен к частям периметров вогнутых корпусов по открытой грани каждого из вогнутых корпусов, при этом каждая из одной или нескольких эластомерных пленок покрывает часть поверхности каждого из гибких слоев.
8. Устройство по п.7, в котором объем между внутренней стенкой вогнутого корпуса и гибким слоем практически свободен от материала наполнителя.
9. Устройство по п.7, в котором гибкий слой приспособлен к взаимному проникновению с эластомерной пленкой.
10. Устройство по п.1, содержащее далее один или несколько кабелей, причем первая часть каждого из кабелей расположена между эластомерными пленками и корпусами, чтобы изолировать кабели от условий окружающей среды, а вторая часть каждого из кабелей проходит снаружи от эластомерных пленок и корпусов.
11. Устройство по п.10, в котором один или несколько кабелей содержат два или несколько кабелей; и далее содержит соединительный компонент для соединения кабелей, при этом некоторая часть соединительного компонента соединена с частью по меньшей мере одной эластомерной пленки, чтобы изолировать соединительный компонент от условий окружающей среды.
12. Устройство по п.10, в котором каждый из кабелей сформирован по направлению, практически параллельному плоскости открытой грани вогнутого корпуса.
13. Устройство по п.10, содержащее далее уплотнитель из эластомерного материала, окружающий кабель в месте, предназначенном для выравнивания с частью периметра открытой грани корпуса.
14. Устройство по п.10, содержащее далее объем между эластомерной пленкой, прикрепленной к одному из корпусов, и эластомерной пленкой, прикрепленной к смежному корпусу, причем упомянутый объем восприимчив к изменениям в давлении воздуха.
15. Устройство, содержащее множество корпусов, по меньшей мере один из которых содержит вогнутый корпус с открытой гранью; один или несколько гибких слоев, причем каждый гибкий слой прикрепляют к частям периметров вогнутых корпусов по открытой грани каждого из вогнутых корпусов; и один или несколько плотно прилегающих герметиков, причем каждый плотно прилегающий герметик покрывает часть каждых гибких слоев, в которых соответствующие герметики приспособлены для состыковки одного или нескольких кабелей, когда эти кабели установлены между корпусами для изоляции кабелей от условий окружающей среды.
РИСУНКИ
|
|