|
|
(21), (22) Заявка: 2009122599/28, 11.06.2009
(24) Дата начала отсчета срока действия патента:
11.06.2009
(46) Опубликовано: 27.07.2010
(56) Список документов, цитированных в отчете о поиске:
US 6049162 А, 11.04.2000. US 5536944 А, 16.07.1996. JP 58137940 А, 16.08.1983. RU 2323502 С1, 27.04.2008.
Адрес для переписки:
196641, Санкт-Петербург, п. Металлострой, дорога на Металлострой, 3, ФГУП “НИИЭФА им. Д.В. Ефремова”
|
(72) Автор(ы):
Энгелько Владимир Иванович (RU), Ткаченко Константин Иванович (RU), Мюллер Георг (DE)
(73) Патентообладатель(и):
Федеральное государственное унитарное предприятие “Научно-исследовательский институт электрофизической аппаратуры им. Д.В. Ефремова” (ФГУП “НИИЭФА им. Д.В. Ефремова”) (RU)
|
(54) ИСТОЧНИК ИМПУЛЬСНЫХ ЭЛЕКТРОННЫХ ПУЧКОВ (ВАРИАНТЫ)
(57) Реферат:
Изобретение относится к области ускорительной техники, и в частности к импульсным источникам, генерирующим сильноточные электронные пучки. Источник импульсных электронных пучков содержит высоковольтный изолятор, многоострийный взрывоопасный катод, выполненный в виде катодной подложки, на которой закреплены стабилизирующие резисторы с остриями, фокусирующий электрод, соединенный с катодной подложкой через резистор, анодный электрод, закрепленный на анодном фланце, управляющую сетку, мишень, магнитную систему формирования пучка, установленную снаружи источника. В источник также введены стабилизирующая сетка, находящаяся под потенциалом фокусирующего электрода, и разрядный электрод, выполненный в виде металлической пластины с отверстиями, размещенный вблизи вершин острий и запитанный от резистивно-емкостного делителя, подключенного к генератору импульсных напряжений, а формирование электронных пучков нужной геометрии осуществляется магнитным полем. Формирование электронных пучков может производится также за счет электростатической фокусировки фокусирующим электродом и анодным электродом. Технический результат – повышение однородности распределения плотности тока по сечению пучка, возможность управления током пучка независимо от внешнего электрического поля и, как следствие, увеличение диапазона регулировки плотности тока на мишени. 2 н. и 8 з.п. ф-лы, 2 ил.
Изобретение относится к области ускорительной техники, и в частности к импульсным источникам, генерирующим сильноточные электронные пучки.
Сильноточные электронные пучки микросекундной длительности успешно применяются для генерации рентгеновского и СВЧ-излучения, предыонизации и поддержания разряда в газовых лазерах, модификации поверхностных свойств материалов и др. В настоящее время для генерации таких пучков в основном используются источники электронов на основе многоострийных взрывоэмиссионных катодов, в которых эмиссия электронов в ускоряющий промежуток осуществляется с поверхности катодной плазмы, образованной в результате происходящих на кончиках катодных острий взрывных процессов при приложении внешнего электрического поля с напряженностью, превышающей пороговое значение. Вместе с рядом достоинств (отсутствие накала; простота конструкции; способность работать в условиях технического вакуума 10-5-10-4 Торр; очень широкий диапазон плотности эмиссионного тока 10-1-105 А/см2; возможность реализации различной геометрии электронного потока; безынерционность включения), источники с взрывоэмиссионными катодами в простейшем виде имеют следующие недостатки.
1. Расширение катодной плазмы в течение импульса генерации электронного пучка. Это приводит к ограничению длительности импульса и изменению параметров пучка во времени. При большой плотности электронного тока на аноде образуется анодная плазма, расширение которой также приводит к ограничению длительности импульса.
2. Сравнительно невысокая стабильность параметров электронного пучка от импульса к импульсу. Это обусловлено чувствительностью параметров катодной плазмы к состоянию поверхности катода, которая может меняться от импульса к импульсу.
3. Сравнительно невысокая пространственная однородность электронного потока, которая связана с изменением параметров катодной плазмы вдоль поверхности катода и влиянием объемного заряда электронов на однородность возбуждения взрывной эмиссии.
Указанные недостатки проявляются наиболее существенно при работе в микросекундном диапазоне длительностей импульса и большой эмиссионной поверхности катода, когда параметры катодной плазмы и ее динамика оказывают сильное влияние на характеристики электронного потока.
Известен источник электронов (Василевский М.А., Ройфе И.М., Энгелько В.И. Об особенностях работы взрывоэмиссионных многоострийных катодов в микросекундном диапазоне длительностей импульса. ЖТФ, т.51, в.6, с.1183-1194, 1981), в котором для увеличения длительности тока пучка катод, работающий в режиме взрывной эмиссии, выполнен многоэмиттерным в виде металлической подложки с равномерно закрепленными по ее площади остриями, при этом вершины острий удалены на равные расстояния от анода.
Недостатком этого источника является плохая пространственная однородность плотности катодной плазмы, обусловленная неоднородностью возбуждения взрывной эмиссии и неоднородностью токов, протекающих через острия катода. Кроме того, неоднородность катодной плазмы усиливается, если взрывоэмиссионные центры появляются на поверхности вспомогательных электродов, окружающих катодную плазму.
Наиболее близким к заявляемому изобретению является импульсный электронно-лучевой источник, имеющий высоковольтный изолятор, многоострийный взрывоэмиссионный катод, состоящий из катодной подложки с расположенными на ней резисторами, на концах которых закреплены эмиттеры; управляющую сетку; анодный электрод, расположенный на анодном фланце; мишень и магнитную систему формирования пучка в виде устройства магнитного сжатия с катушками, создающими поле. При этом катод снабжен экранирующим электродом, присоединенным к основанию катода через резистор с возможностью свободного движения экранирующего электрода (патент США 6.049.162, МПК: H01J 17/26, заявл. 30.04.1998, опубл. 11.04.2000).
Однородность возбуждения взрывной эмиссии и однородность токов через острия в этом источнике обеспечивается введением в цепь острий резисторов с номиналом, определяемым площадью катода, количеством и высотой острий, а также величиной промежутка катод-анод. Для исключения взрывоэмиссионных центров на вспомогательных электродах электроды держат под плавающим потенциалом катодной плазмы.
Недостатками данного источника являются:
– интенсивность генерации катодной плазмы определяется током электронного пучка, который, в свою очередь, зависит от внешнего электрического поля. Это приводит к тому, что стабильная работа катода с большой длительностью импульса возможна при сравнительно малой плотности тока ( 1 А/см2). Кроме этого, ток пучка меняется при изменении ускоряющего напряжения (I~U3/2);
– концентрация катодной плазмы, а следовательно, и плотность тока электронного пучка чувствительны к ионному потоку с управляющей сетки, мишени и анода, а также к потоку отраженных от мишени электронов;
– большая начальная поперечная скорость электронов. Это ограничивает степень магнитного сжатия пучка, то есть плотность тока на мишени;
– влияние разброса геометрии острий на характеристики пучка.
Задачей настоящего изобретения является создание устройства, обеспечивающего повышение однородности распределения плотности тока по сечению пучка и возможность управления током пучка независимо от внешнего электрического поля, отсутствие влияния ускоряющего электрического поля на работу катода.
Сущность изобретения по первому варианту заключается в источнике импульсных электронных пучков, содержащем высоковольтный изолятор, многоострийный взрывоэмиссионный катод, выполненный в виде катодной подложки, на которой закреплены стабилизирующие резисторы с остриями, фокусирующий электрод, соединенный с катодной подложкой через резистор, анодный электрод, закрепленный на анодном фланце, управляющую сетку, мишень, магнитную систему формирования пучка, установленную снаружи источника. В этом источнике, согласно изобретению, дополнительно введены стабилизирующая сетка, находящаяся под потенциалом фокусирующегом электрода, и разрядный электрод, выполненный в виде металлической пластины с отверстиями, размещенный вблизи вершин острий и запитанный от резистивно-емкостного делителя, подключенного к генератору импульсных напряжений, а формирование электронных пучков осуществляется магнитным полем.
Сущность изобретения по второму варианту заключается в источнике импульсных электронных пучков, содержащем высоковольтный изолятор, многоострийный взрывоэмиссионный катод, выполненный в виде катодной подложки, на которой закреплены стабилизирующие резисторы с остриями, фокусирующий электрод, соединенный с катодной подложкой через резистор, анодный электрод, закрепленный на анодном фланце, управляющую сетку, мишень. В этом источнике, согласно изобретению, дополнительно введены стабилизирующая сетка, находящаяся под потенциалом фокусирующегом электрода, и разрядный электрод, выполненный в виде металлической пластины с отверстиями, размещенный вблизи вершин острий и запитанный от резистивно-емкостного делителя, подключенного к генератору импульсных напряжений, а формирование электронных пучков производится за счет электростатической фокусировки фокусирующим электродом и анодным электродом.
В частных случаях реализации предлагаемого источника электронных пучков разрядный электрод может быть выполнен в виде металлической пластины с отверстиями прямоугольной формы, сформированными отрезками проволоки, при этом вершины острий расположены между отверстиями вблизи плоскости разрядного электрода, или в виде металлической пластины с отверстиями, выполненными соосно остриям, при этом вершины острий расположены в плоскости разрядного электрода, или в виде металлической пластины с отверстиями, при этом вершины острий расположены между отверстиями вблизи плоскости разрядного электрода. Потенциал разрядного электрода в частном случае может определяться независимым источником питания.
Техническим результатом от использования изобретения является отсутствие влияния ускоряющего электрического поля на работу катода, практически полное отсутствие влияния разброса геометрии острий на характеристики электронного пучка, существенно меньший угловой разброс электронов (за счет применения сетки, размер ячейки которой значительно меньше расстояния между остриями), пониженную чувствительность к влиянию анодных процессов, возможность управления током пучка независимо от внешнего электрического поля и, как следствие, увеличение диапазона регулировки плотности тока на мишени.
На Фиг.1 приведено схематическое изображение источника, заявляемого в п.1 с магнитной системой формирования и транспортировки пучка, содержащего следующие конструктивные элементы: высоковольтный изолятор 1, разделяющий катодный 2 и анодный 3 фланцы; катодная подложка 4, на которой закреплены стабилизирующие резисторы 7 с остриями 8 из пучков графитовых волокон; разрядный электрод 14, потенциал которого определяется параметрами резистивно-емкостного делителя 16, размещенного вне высоковольтного изолятора 1; фокусирующий электрод 6, расположенный на изоляторе 5 и соединенный с катодной подложкой через резистор 9; стабилизирующая сетка 15, закрепленная на фокусирующем электроде 6; управляющая сетка 10, потенциал которой определяется резистивным делителем 11; анодный электрод 12, закрепленный на анодном фланце 3, и мишень 13, соединенная с анодным фланцем. К катодному 2 и анодному 3 фланцам подсоединен генератор импульсных напряжений (ГИН), который формирует импульсы высокого напряжения. Катушки 17 магнитной системы формирования и транспортировки пучка запитываются от системы питания магнитных линз (СПМЛ), расположенной в системе управления (СУ), которая формирует импульсы, управляющие работой источника и синхронизирующие работу ГИН и магнитной системы формирования и транспортировки пучка.
Стабилизирующая сетка 15 представляет собой мелкоячеистую сетку, закрывающую эмиссионную поверхность плазмы, и находится под потенциалом фокусирующего электрода 6. Разрядный электрод 14 выполнен в виде системы поджигающих электродов, размещенной вблизи вершин острий 8, и находится под потенциалом, определяемым параметрами резистивно-емкостного делителя 16. При расстоянии между разрядным электродом 14 и стабилизирующей сеткой 15 (длина катода) 6 см ток пучка меньше, чем рассчитанный по закону «3/2», и определяется лишь разрядным током. Таким образом, при больших длинах катода нет проникновения плазмы в промежуток «катод – управляющая сетка», что обеспечивает большое значение длительности импульса пучка и возможность регулировки тока пучка независимо от ускоряющего напряжения (изменением разрядного тока).
Устройство работает следующим образом.
Система управления СУ запускает систему питания магнитных линз СПМЛ, которая разряжается на катушки 17, создающие магнитное поле для формирования и транспортировки пучка на мишень 13. В момент достижения максимума напряженности магнитного поля (через несколько миллисекунд) СУ запускает генератор импульсных напряжений ГИН, формирующий высоковольтный импульс, который подается на источник между катодным 2 и анодным 3 фланцами. Часть ускоряющего напряжения, определяемая резистивно-емкостным делителем 16, подается на разрядный электрод 14. Наличие емкости С в делителе 16 позволяет в начальный момент иметь повышенное напряжение на промежутке «острия – разрядный электрода», необходимое для взрыва острий 8 и формирования вакуумных дуговых разрядов между остриями 8 и разрядным электродом 14. Плазма, образовавшаяся вследствие разряда, после заполнения пространства между разрядным электродом 14 и стабилизирующей сеткой 15 является источником электронов, которые ускоряются в промежутке между стабилизирующей сеткой 15 и управляющей сеткой 10, а затем в промежутке между управляющей сеткой 10 и анодным электродом 12. Концентрация плазмы зависит от тока вспомогательного разряда, протекающего между остриями 8 и разрядным электродом 14. Следовательно, изменяя ток разряда сопротивлениями R2-1 и R2-2 делителя 16, можно изменять концентрацию плазмы и тем самым управлять плотностью электронного тока. Для получения большей длительности импульса ток пучка не должен превышать значение, рассчитанное по закону «3/2» для ускоряющего промежутка «стабилизирующая сетка-управляющая сетка»

где , e и m – заряд и масса электрона, S – площадь стабилизирующей сетки, d – длина промежутка между стабилизирующей и управляющей сетками, Ucg – напряжение на этом промежутке, которое определяется из соотношения

Здесь – прозрачность управляющей сетки, Rc и Rg – резисторы делителя 11, U0 – амплитуда высоковольтного импульса, вырабатываемого генератором импульсных напряжений ГИН.
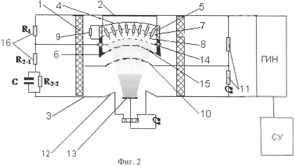
На Фиг.2 приведено схематическое изображение источника, заявляемого в п.2 и выполняемого без магнитной системы формирования и транспортировки пучка, содержащего следующие конструктивные элементы: высоковольтный изолятор 1, разделяющий катодный 2 и анодный 3 фланцы; катодная подложка 4, на которой закреплены стабилизирующие резисторы 7 с остриями 8 из пучков графитовых волокон; разрядный электрод 14, потенциал которого определяется параметрами резистивно-емкостного делителя 16, размещенного вне высоковольтного изолятора 1; фокусирующий электрод 6, стабилизирующая сетка 15, закрепленная на фокусирующем электроде 6; управляющая сетка 10, потенциал которой определяется резистивным делителем 11; анодный электрод 12, закрепленный на анодном фланце 3, и мишень 13, соединенная с анодным фланцем. К катодному 2 и анодному 3 фланцам подсоединен генератор импульсных напряжений (ГИН), который формирует импульсы высокого напряжения. Система управления СУ формирует импульсы, управляющие работой источника. Показанные на Фиг.2 катодная подложка 4, разрядный электрод 14, стабилизирующая сетка 15 и управляющая сетка 10 могут иметь плоскую геометрию.
Стабилизирующая сетка 15 представляет собой мелкоячеистую сетку, закрывающую эмиссионную поверхность плазмы, и находится под потенциалом фокусирующего электрода 6. Разрядный электрод 14 выполнен в виде системы поджигающих электродов, размещенной вблизи вершин острий 8, и находится под потенциалом, определяемым параметрами резистивно-емкостного делителя 16. При расстоянии между разрядным электродом 14 и стабилизирующей сеткой 15 (длина катода) 6 см ток пучка меньше, чем рассчитанный по закону «3/2», и определяется лишь разрядным током. Таким образом, при больших длинах катода нет проникновения плазмы в промежуток «катод – управляющая сеткам», что обеспечивает большое значение длительности импульса пучка и возможность регулировки тока пучка независимо от ускоряющего напряжения (изменением разрядного тока).
Устройство работает следующим образом
Система управления СУ запускает генератор импульсных напряжений ГИН, формирующий высоковольтный импульс, который подается на источник между катодным 2 и анодным 3 фланцами. Часть ускоряющего напряжения, определяемая делителем 16, подается на разрядный электрод 14. Наличие емкости С делителя 16 позволяет в начальный момент иметь повышенное напряжение на промежутке «острия – разрядный электрод», необходимое для взрыва острий 8 и формирования вакуумных дуговых разрядов между остриями 8 и разрядным электродом 14. Плазма, образовавшаяся вследствие разряда, после заполнения пространства между разрядным электродом 14 и стабилизирующей сеткой 15 является источником электронов, которые ускоряются в промежутке между стабилизирующей сеткой 15 и управляющей сеткой 10, а затем в промежутке между управляющей сеткой 10 и анодным электродом 12. Концентрация плазмы зависит от тока вспомогательного разряда, протекающего между остриями 8 и разрядным электродом 14. Следовательно, изменяя ток разряда сопротивлениями R2-1 и R2-2 делителя 16, можно изменять концентрацию плазмы и тем самым управлять плотностью электронного тока. Для получения большей длительности импульса ток пучка не должен превышать значение, рассчитанное по закону «3/2» для ускоряющего промежутка «стабилизирующая сетка-управляющая сетка»

где , e и m – заряд и масса электрона, S – площадь стабилизирующей сетки, d – длина промежутка между стабилизирующей и управляющей сетками, Ucg – напряжение на этом промежутке, которое определяется из соотношения

Здесь – прозрачность управляющей сетки, Rc и Rg – резисторы делителя 11, U0 – амплитуда высоковольтного импульса, вырабатываемого генератором импульсных напряжений.
По варианту (Фиг.1) формирование электронных пучков необходимой геометрии осуществляется магнитным полем, созданным катушками 17 и имеющим соответствующее распределение.
Формирование электронного пучка в варианте (Фиг.2) производится за счет электростатической фокусировки фокусирующим электродом 6 и анодным электродом 12, плоскости которых расположены под углом 67,5° по отношению к границе пучка.
Формула изобретения
1. Источник импульсных электронных пучков, содержащий высоковольтный изолятор, многоострийный взрывоэмиссионный катод, выполненный в виде катодной подложки, на которой закреплены стабилизирующие резисторы с остриями, фокусирующий электрод, соединенный с катодной подложкой через резистор, анодный электрод, закрепленный на анодном фланце, управляющую сетку, мишень и магнитную систему формирования пучка, установленную снаружи анодного фланца, отличающийся тем, что в источник дополнительно введены стабилизирующая сетка, находящаяся под потенциалом фокусирующего электрода, и разрядный электрод, выполненный в виде металлической пластины с отверстиями, размещенный вблизи вершин острий и запитанный от резистивно-емкостного делителя, подключенного к генератору импульсных напряжений, а формирование электронных пучков осуществляется магнитным полем.
2. Источник электронного пучка по п.1, отличающийся тем, что потенциал разрядного электрода определяется независимым источником питания.
3. Источник электронного пучка по п.1, отличающийся тем, что разрядный электрод выполнен в виде металлической пластины с отверстиями прямоугольной формы, сформированными отрезками проволоки, при этом вершины острий расположены между отверстиями вблизи плоскости разрядного электрода.
4. Источник по п.1, отличающийся тем, что разрядный электрод выполнен в виде металлической пластины с отверстиями, выполненными соосно остриям, при этом вершины острий расположены в плоскости разрядного электрода.
5. Источник по п.1, отличающийся тем, что разрядный электрод выполнен в виде металлической пластины с отверстиями, при этом вершины острий расположены между отверстиями вблизи плоскости разрядного электрода.
6. Источник импульсных электронных пучков, содержащий высоковольтный изолятор, многоострийный взрывоэмиссионный катод, выполненный в виде катодной подложки, на которой закреплены стабилизирующие резисторы с остриями, фокусирующий электрод, соединенный с катодной подложкой через резистор, анодный электрод, закрепленный на анодном фланце, управляющую сетку, мишень, отличающийся тем, что в источник дополнительно введены стабилизирующая сетка, находящаяся под потенциалом фокусирующего электрода, и разрядный электрод, выполненный в виде металлической пластины с отверстиями, размещенный вблизи вершин острий и запитанный от резистивно-емкостного делителя, подключенного к высоковольтному источнику питания, а формирование электронных пучков производится за счет электростатической фокусировки фокусирующим электродом и анодным электродом.
7. Источник электронного пучка по п.6, отличающийся тем, что потенциал разрядного электрода определяется независимым источником питания.
8. Источник электронного пучка по п.6, отличающийся тем, что разрядный электрод выполнен в виде металлической пластины с отверстиями прямоугольной формы, сформированными отрезками проволоки, при этом вершины острий расположены между отверстиями вблизи плоскости разрядного электрода.
9. Источник по п.6, отличающийся тем, что разрядный электрод выполнен в виде металлической пластины с отверстиями, выполненными соосно остриям, при этом вершины острий расположены в плоскости разрядного электрода.
10. Источник по п.6, отличающийся тем, что разрядный электрод выполнен в виде металлической пластины с отверстиями, при этом вершины острий расположены между отверстиями вблизи плоскости разрядного электрода.
РИСУНКИ
|
|