|
|
(21), (22) Заявка: 2006112158/28, 12.04.2006
(24) Дата начала отсчета срока действия патента:
12.04.2006
(43) Дата публикации заявки: 20.10.2007
(46) Опубликовано: 27.07.2010
(56) Список документов, цитированных в отчете о поиске:
US 6880357 В2, 19.04.2005. US 2003053643 A1, 20.03.2003. US 2004189462 A1, 30.09.2004. US 6003766 A1, 21.12.1999. RU 2264019 C2, 10.11.2005.
Адрес для переписки:
129090, Москва, ул. Б.Спасская, 25, стр.3, ООО “Юридическая фирма Городисский и Партнеры”, пат.пов. Ю.Д.Кузнецову, рег. 595
|
(72) Автор(ы):
АРГУДЯЕВ Сергей Владимирович (RU), ЛЕОНЕНКОВ Сергей Валентинович (RU), ЧЕНЕДЕЗЕ Клаудио (IT)
(73) Патентообладатель(и):
ЭЛЕКТРОЛЮКС ХОУМ ПРОДАКТС КОРПОРЕЙШН Н.В. (BE)
|
(54) БЫТОВОЙ ЭЛЕКТРОПРИБОР
(57) Реферат:
Изобретение относится к бытовому прибору, такому как печь, холодильник или стиральная машина, и направлено на обеспечение громкого и качественного звука без ухудшения конструкции бытового прибора. Этот результат обеспечивается за счет того, что бытовой электроприбор содержит возбуждающий элемент, установленный на поверхности бытового электроприбора так, что первый электрический сигнал, поступивший на возбуждающий элемент, вызывает соответствующую первую вибрацию, которая передается поверхности, а вторая вибрация, происходящая в поверхности, передается на возбуждающий элемент, который генерирует второй электрический сигнал в соответствии со второй вибрацией, причем возбуждающий элемент является одним из магнитострикционного возбуждающего элемента и электродинамического возбуждающего элемента. 4 н. и 13 з.п. ф-лы, 9 ил.
Область техники, к которой относится изобретение
Настоящее изобретение относится к бытовому электроприбору, в частности к бытовому электроприбору со встроенным громкоговорителем. Настоящее изобретение относится также к способу генерирования звука в бытовом электроприборе, к способу обнаружения вибраций в бытовом электроприборе и к способу управления бытовым электроприбором.
Предшествующий уровень техники
Существует общая тенденция к пополнению интерфейса пользователя путем включения в него мультимедийных функций. Такие функции могут включать в себя воспроизведение музыки, радио УКВ, выдачу речевых сообщений и т.п.
Пример бытового электроприбора с функцией воспроизведения музыки раскрыт в заявке US 2004/0164073. В заявке US 2004/0164073 раскрыта микроволновая печь с аудиоплеером и громкоговорителем для воспроизведения звуковых сигналов, формируемых аудиоплеером. Бытовой электроприбор с радио раскрыт также в заявке US 2004/004807, в котором микроволновая печь содержит радиоблок и громкоговоритель. В публикации WO 2004/083751 раскрыт холодильник, который содержит громкоговоритель, позволяющий вести разговор по телефону и посылать аудиосообщения.
В бытовых приборах, раскрытых во всех указанных документах, используются отдельные обычные громкоговорители, размещенные внутри прибора в предназначенном для этого проеме в наружном кожухе прибора. Однако обычный громкоговоритель, помещенный внутри бытового электроприбора, имеет несколько недостатков. Например, обычный громкоговоритель занимает большое пространство внутри прибора (из-за диффузора), а существующую конструкцию прибора необходимо изменять для установки громкоговорителя. Далее, если громкоговоритель закрыт кожухом прибора, ограничиваются громкость и качество звука. С другой стороны, если громкоговоритель открыт (специальный проем в кожухе), происходит ухудшение непроницаемости кожуха.
Сущность изобретения
Технической задачей настоящего изобретения является создание усовершенствованного бытового электроприбора со встроенным громкоговорителем, в котором устранены указанные недостатки.
Поставленная задача решена путем создания бытового электроприбора, способа генерирования звука в бытовом электроприборе, способа обнаружения вибраций в бытовом электроприборе, способа управления бытовым электроприбором согласно прилагаемой формуле изобретения.
Согласно одному аспекту изобретения, предлагается бытовой электроприбор, содержащий возбуждающий элемент, установленный на поверхности бытового электроприбора, так что первый электрический сигнал, поступивший на возбуждающий элемент, вызывает соответствующую первую вибрацию, которая передается поверхности, при этом вторая вибрация, возникающая в поверхности, передается на возбуждающий элемент, который генерирует второй электрический сигнал в соответствии со второй вибрацией, причем в качестве возбуждающего элемента использован один из магнитострикционного возбуждающего элемента и электродинамического возбуждающего элемента.
Такая конфигурация допускает генерирование звука (путем приложения первого электрического сигнала к возбуждающему элементу) и/или обнаружение вибрации (вызывающей генерирование второго электрического сигнала).
Будучи прикрепленным к поверхности, магнитострикционный/электродинамический возбуждающий элемент преобразует электрические сигналы в механическую энергию и приводит в движение поверхность, создавая небольшую, но сильную вибрацию, и наоборот. Для достижения хорошего качества звука в режиме генерирования звука магнитострикционный возбуждающий элемент требует относительно твердой и толстой панели, при этом электродинамический возбуждающий элемент может использоваться с более мягкими и тонкими панелями, поэтому он особенно подходит для использования с наружными поверхностями бытовых электроприборов, которые обычно изготавливаются из металла или пластмасс, или древесных материалов. Кроме того, магнитострикционные и электродинамические возбуждающие элементы не требуют мощного усилителя на выходе, так что звук можно генерировать при низком расходе энергии.
В одном варианте реализации первый электрический сигнал является аудиосигналом, а поверхность адаптирована для того, чтобы преобразовать первую вибрацию в звук. Аудиосигнал, приложенный к возбуждающему элементу, вызывает его соответствующую первую вибрацию, которая передается поверхности для генерирования звука. Таким образом, поверхность и возбуждающий элемент образуют громкоговоритель с плоской панелью. Такой громкоговоритель с плоской панелью обеспечивает гораздо более высокий уровень давления звука при более широкой полосе частот по сравнению с обычным громкоговорителем аналогичного размера. Отсутствие необходимости в обычном диффузоре громкоговорителя означает, что конфигурация громкоговорителя согласно этому варианту реализации изобретения требует меньшего пространства внутри прибора. Кроме того, поскольку используется существующая поверхность прибора, можно внедрить громкоговоритель без значительного изменения существующей конструкции прибора. Возбуждающий элемент прост и дешев в установке, например его можно просто приклеить к поверхности в подходящем месте. В отличие от большинства обычных громкоговорителей, в особенности громкоговорителей, содержащих бумажную мембрану, возбуждающий элемент может сохранять работоспособность в экстремальных условиях окружающей среды (например, при высокой температуре, влажности и т.д.), которые значительны при выполнении основных операций бытовыми электроприборами.
В данном случае диапазон частот возбуждающего элемента предпочтительно находится в диапазоне слышимых звуковых частот, например от 200 до 20000 Гц, например, для воспроизведения музыки или вокализированной речи. Кроме того, бытовой электроприбор предпочтительно содержит источник звука или приемник аудиосигнала, предназначенный для воспроизведения аудиосигнала. Источник звука может быть, например, встроен в радио- или в аудиоплеер, а приемник аудиосигнала может быть, например, приспособлен для беспроводной передачи аудиосигнала от внешнего источника или содержать контакты для создания физической связи с внешним аудиоплеером.
В другом варианте реализации бытовой электроприбор содержит также средство приема и возможной обработки второго электрического сигнала для получения сигнала обнаружения, представляющего вторую вибрацию. Таким образом, поверхность и возбуждающий элемент могут также или альтернативно использоваться для обнаружения или измерения вибрации и других параметров микрофона. Т.е. возникающая на поверхности вторая вибрация передается на возбуждающий элемент, который генерирует второй электрический сигнал, соответствующий второй вибрации (т.е. по существу обратный ход событий по сравнению с рассмотренным выше генерированием звука). В данном случае возбуждающий элемент предпочтительно является электродинамическим возбуждающим элементом.
Возникающая на поверхности вибрация может быть вызвана событием внутри бытового электроприбора, таким как избыточная нагрузка стиральной машины, или внешним событием, таким как «постукивание» пользователем по поверхности. Обработка или анализ сигнала, генерированного электродинамическим возбуждающим элементом, позволяет оценить характеристики вибрации и ее источник или причину.
Эксплуатацию бытового электроприбора удобно осуществлять согласно сигналу обнаружения. Этого достигают, применяя средство генерирования в соответствии с сигналом обнаружения управляющего сигнала, предназначенного для эксплуатации бытового электроприбора. Например, в случае обнаружения сильной вибрации изнутри стиральной машины (вызванной, например, избыточной нагрузкой), может быть выдан управляющий сигнал, дающий стиральной машине команду на замедление или остановку ее работы. В другом примере в случае обнаружения удара пользователя по наружной поверхности бытового электроприбора может быть выдан управляющий сигнал, дающий прибору команду словесно сообщить о своем состоянии (например, с помощью того же возбуждающего элемента и поверхности, используемой как громкоговоритель), что обеспечивает улучшенную функциональность и удобство работы бытового электроприбора. Кроме того, указанные средства могут быть, например, реализованы с помощью единого центрального управляющего и обрабатывающего блока бытового электроприбора.
В случае использования указанной поверхности и возбуждающего элемента в качестве как громкоговорителя для генерирования звука, так и в качестве микрофона для обнаружения вибраций бытовой электроприбор предпочтительно содержит также средство избирательного активирования источника звука или приемника аудиосигнала и средство приема и возможной обработки второго электрического сигнала.
Предпочтительно указанная поверхность является наружной поверхностью кожуха бытового электроприбора для лучшего генерирования звука вовне от бытового электроприбора и/или обнаружения «постукивания» пользователя по поверхности. В этом случае возбуждающий элемент предпочтительно устанавливают для целей генерирования звука и целей дизайна изнутри наружной поверхности. На наружной поверхности прибора не требуется специального проема, так что можно обеспечить непроницаемость поверхности.
Возбуждающий элемент может быть, например, установлен на передней, боковой или верхней панели бытового электроприбора. Эти поверхности обычно являются достаточно большими и плоскими для генерирования звука или улавливания вибрации. Однако боковая и верхняя панели обычно закрыты другими приборами или мебелью, так что наиболее предпочтительным местом для возбуждающего элемента является внутренняя сторона передней панели, которая обычно не заблокирована любой другой мебелью или приборами. Тем не менее возможно применение дополнительной наружной панели, накрывающей поверхность, без значительного изменения генерирования звука или способности обнаружения вибраций. Такая дополнительная наружная панель часто используется во встроенных бытовых электроприборах.
Бытовой электроприбор может также содержать по меньшей мере один дополнительный возбуждающий элемент, установленный на поверхности бытового электроприбора. Дополнительный возбуждающий элемент (элементы) может относиться к аналогичному типу или быть иным, или же иметь характеристики, аналогичные возбуждающему элементу, упомянутому выше. Кроме того, поверхность может быть той же, что упомянута выше, или иной. Размещение нескольких возбуждающих элементов на одной поверхности обеспечивает улучшенное качество и громкость звука, при этом размещение возбуждающего элемента на различных поверхностях обеспечивает воспроизведение стерео- или объемного звука.
Бытовым электроприбором, рассмотренным выше, может быть, например, печь, микроволновая печь, холодильник, морозильник, посудомоечная машина, стиральная машина или сушильный барабан.
Согласно другому объекту изобретения предлагается способ генерирования звука в бытовом электроприборе, включающий следующие операции: приложение электрического звукового сигнала к возбуждающему элементу, установленному на поверхности бытового электроприбора, чтобы вызвать вибрацию возбуждающего элемента, которая передается поверхности и превращается поверхностью в звук, причем возбуждающий элемент является одним из магнитострикционного возбуждающего элемента и электродинамического возбуждающего элемента.
Соответственно другому объекту изобретения предлагается способ обнаружения вибрации в бытовом электроприборе, заключающийся в том, что осуществляют прием электрического сигнала от возбуждающего элемента, установленного на поверхности бытового электроприбора, причем электрический сигнал генерируется возбуждающим элементом в соответствии с вибрацией, происходящей на поверхности, и передается возбуждающему элементу от поверхности, а также обработку принятого электрического сигнала для получения сигнала обнаружения, представляющего вибрацию. Возбуждающим элементом предпочтительно является электродинамический возбуждающий элемент.
Согласно другому объекту изобретения предлагается способ управления бытовым электроприбором, заключающийся в том, что осуществляют прием электрического сигнала от возбуждающего элемента, установленного на поверхности бытового электроприбора, причем электрический сигнал генерируется возбуждающим элементом в соответствии с вибрацией, происходящей на поверхности, и передается возбуждающему элементу от поверхности, а также обработку принятого электрического сигнала для получения сигнала обнаружения, представляющего вибрацию, и генерирование в соответствии с сигналом обнаружения управляющего сигнала, предназначенного для эксплуатации бытового электроприбора. Возбуждающим элементом предпочтительно является электродинамический возбуждающий элемент.
Указанные способы дают преимущества, указанные выше.
Краткое описание чертежей
Эти и другие объекты настоящего изобретения ниже описаны более подробно со ссылками на прилагаемые чертежи, на которых:
фиг.1 изображает принцип действия бытового электроприбора со встроенным громкоговорителем согласно изобретению;
фиг.2а-2b – магнитострикционный и электродинамический возбуждающие элементы соответственно согласно изобретению;
фиг.3а-3b – различные места для размещения возбуждающего элемента на бытовых электроприборах согласно изобретению;
фиг.4а-4с – различные бытовые электроприборы с дополнительными возбуждающими элементами согласно изобретению;
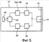
фиг.5 – блок-схема бытового электроприбора со встроенным громкоговорителем и датчиком вибраций согласно другому варианту реализации изобретения.
Подробное описание предпочтительных вариантов реализации изобретения
На фиг.1 представлен принцип действия бытового электроприбора 10 со встроенным громкоговорителем согласно изобретению. Бытовой электроприбор 10 содержит поверхность 12, например наружную поверхность кожуха бытового прибора 10. Поверхность 12 предпочтительно является плоской поверхностью, такой как верхняя, передняя или боковая панель бытового электроприбора 10. Возбуждающий элемент 14 жестко закреплен изнутри на поверхности 12. Возбуждающий элемент 14 можно приклеить к поверхности 12. Возбуждающий элемент соединяется также с источником звука 16а или приемником аудиосигнала 16b через выходной усилитель 18. Источник звука 16а может быть встроен в радио- или аудиоплеер, а приемник аудиосигнала 16b может быть приспособлен к беспроводной передаче аудиосигнала от внешнего источника или содержать контакты, допускающие физическое соединение с внешним аудиоплеером.
В процессе работы электрический аудиосигнал поступает от источника звука 16а или приемника аудиосигнала 16b через усилитель 18, должным образом усиливающий электрический аудиосигнал, на возбуждающий элемент 14. Когда электрический аудиосигнал прикладывается к возбуждающему элементу 14, он генерирует вибрацию, соответствующую приложенному электрическому аудиосигналу. Вибрация передается поверхности 12, которая также начинает вибрировать. Вибрирующая поверхность 12 создает в воздухе, окружающем поверхность 12, звуковые волны. Таким образом, поверхность 12 служит панелью громкоговорителя и превращает вибрацию, происходящую от возбуждающего элемента 14, в звук.
При желании снаружи поверхности 12 может быть установлена дополнительная наружная панель 32, предназначенная для того, чтобы закрыть указанную поверхность. Такую панель 32 часто используют во встроенных бытовых электроприборах и обычно ее подгоняют и конструируют таким образом, чтобы она соответствовала окружающей мебели. Панель 32 установлена на поверхности 12, так что, когда к возбуждающему элементу 14 прикладывают аудиосигнал, поверхность 12 начинает вибрировать, вибрация переходит на наружную панель 32, которая (как и поверхность 12 выше) превращает вибрацию в звук. В отличие от обычного громкоговорителя, поскольку в наружной панели 32 не требуется специального отверстия для генерирования высококачественного звука, внешний вид и конструкция мебели, в целом, и данного бытового прибора, в частности, остаются неизменными.
Возбуждающий элемент 14 может быть, например, магнитострикционным возбуждающим элементом. Такой элемент известен сам по себе, что известно специалистам в данной области техники. Как показано на фиг.2а, магнитострикционный возбуждающий элемент 14 содержит стержень 20 из материала, способного изменять свою форму и размеры под воздействием магнитного поля. Вокруг стержня 20 намотана катушка 22. Когда поступает электрический аудиосигнал и проходит по катушке 22, последняя генерирует магнитное поле, посредством чего соответственно изменяется стержень 20 (т.е. он расширяется или сжимается).
Если стержень 20 прикреплен к поверхности, в данном случае к поверхности 12 бытового электроприбора, расширение или сжатие стержня 20 передается поверхности 12, которая начинает вибрировать, что приводит к генерированию звука. Время срабатывания магнитострикционного возбуждающего элемента 14 является кратким, порядка микросекунд, и он создает небольшую, но сильную вибрацию, не требуя для этого мощного выходного усилителя. Эти характеристики делают магнитострикционный возбуждающий элемент особенно подходящим для использования с наружной поверхностью бытового электроприбора, которая является относительно твердой и толстой, такой как верхняя панель, выполненная из материала типа древесины.
С другой стороны, возбуждающий элемент 14 может быть электродинамическим возбуждающим элементом. Электродинамический возбуждающий элемент 14 (фиг.2b) содержит непроводящую деталь 24, соединенную с массивным постоянным магнитом 26 гибкой арматурой 28, посредством обычно твердой плоской пружины. Благодаря гибкой арматуре 28 деталь 24 может слегка перемещаться в направлении магнита 26 и от него. Кроме того, вокруг непроводящей детали 24 намотана катушка 30. Когда электрический звуковой сигнал подается и пропускается через катушку 30, катушка 30 генерирует переменное магнитное поле, которое взаимодействует с постоянным магнитным полем магнита 26. Полученная механическая сила заставляет магнит 26 и деталь 24 притягиваться и отталкиваться друг от друга.
Когда подвижная деталь 24 прикреплена к поверхности, например к поверхности 12 бытового электроприбора, движение детали 24 передается на поверхность 12. Поскольку постоянный магнит 26 является массивным элементом по сравнению с общим весом детали 24, катушки 30 и поверхности 12 (на ограниченном участке места крепления детали 24), массивный магнит 26 обладает большей инерцией и сам почти не движется в пространстве. В отличие от этого амплитуда колебаний поверхности 12 достаточно велика для испускания звуковых волн. Таким образом, когда на катушку 30 поступает электрический аудиосигнал, поверхность 12 начинает вибрировать в соответствии с сигналом, в результате чего может генерироваться звук. Полученный уровень давления звука высок в широком диапазоне звуковых частот, включая полосу низких частот и полосу высоких частот, при низком потреблении электроэнергии. Эти характеристики делают электродинамический возбуждающий элемент пригодным для использования с различными поверхностями бытового электроприбора, такими как поверхности, выполненные из металла (передняя и боковая панели), из пластмассы (передняя панель), из стекла (передняя панель печи, верхняя крышка поверхности плиты) или из материала типа древесины (верхняя панель).
Возбуждающий элемент 14 предпочтительно помещают на плоский участок поверхности бытового электроприбора, обычно рядом с серединой поверхности. На фиг.3а бытовым электроприбором 10 является холодильник, поверхностью 12 является передняя панель холодильника, а возбуждающий элемент 14 размещается в середине передней панели, изнутри панели. Таким образом, в процессе работы по существу вся передняя панель холодильника служит панелью громкоговорителя. На фиг.3b показан другой бытовой электроприбор 10 – стиральная машина с передней загрузкой. Поверхность 12 (фиг.3b) является верхней панелью стиральной машины, а возбуждающий элемент 14 размещается в середине верхней панели, изнутри панели. Как и в случае на фиг.3а, в процессе работы по существу вся верхняя панель стиральной машины служит панелью громкоговорителя для генерирования звука. Числовые позиции 14′ обозначают альтернативные положения возбуждающего элемента на относительно плоском участке передней панели стиральной машины. Другие бытовые или домашние электроприборы, или предметы домашнего обихода, к которым может быть применен возбуждающий элемент 14, включают, не ограничиваясь ими, печи, микроволновые печи, морозильники, посудомоечные машины или сушильные барабаны.
Следует отметить, что когда возбуждающий элемент устанавливают на металлической панели, что возможно в случае бытового электроприбора согласно настоящему изобретению, общее нелинейное искажение может оказаться большим, в результате чего получается «металлический звук». В действительности звук более высокого качества можно получить от деревянных, пластмассовых или стеклянных пластин. Тем не менее, для того чтобы подавить такой «металлический звук», металлическую панель можно накрыть панелью из другого материала, такой как дополнительная наружная панель 32 (фиг.1). С другой стороны, металлическая панель может иметь несколько отверстий, сгибов или крепежных элементов (не показаны) на определенном расстоянии от возбуждающего элемента. Оба эти решения служат для расширения полосы частот и уменьшения нелинейных искажений.
Бытовой электроприбор 10 может также содержать по меньшей мере один дополнительный возбуждающий элемент. Дополнительный возбуждающий элемент (элементы) может относиться к аналогичному типу или быть иным, или же иметь характеристики, аналогичные возбуждающему элементу, упомянутому выше. Кроме того, поверхность может быть той же, что упомянута выше, или иной.
На фиг.4а бытовым электроприбором является холодильник, а дополнительный возбуждающий элемент 14b размещен на верхней панели 12 вместе с первым возбуждающим элементом 14. Дополнительный возбуждающий элемент 14b так же, как и первый возбуждающий элемент 14, соединен с усилителем 18 и источником звука 16а/приемником аудиосигнала 16b. Возбуждающие элементы 14 и 14b (оба прикреплены к передней панели 12) могут относиться к различным типам или иметь различные характеристики для расширения диапазона звуковых частот, испускаемых поверхностью 12.
Путем размещения двух сходных возбуждающих элементов 14 и 14b на различных поверхностях 12 и 12b (фиг.4b) на типовой стиральной машине 10 можно получить стереозвук. С другой стороны, стереофонического воспроизведения можно добиться путем размещения двух сходных возбуждающих элементов 14′ и 14b’ симметрично и достаточно далеко друг от друга на одной поверхности 12′ стиральной машины 10. Более того, путем применения нескольких возбуждающих элементов сходного или различного типа, установленных изнутри на одной или различных поверхностях, можно генерировать высококачественный звук. На фиг.5с показан типовой холодильник 10, который содержит пять возбуждающих элементов, установленных изнутри на различных поверхностях. Например, возбуждающие элементы 14 и 14b (прикрепленные к передней панели 12) могут относиться к различным типам или иметь различные характеристики для расширения диапазона звуковых частот, испускаемых поверхностью 12. С другой стороны, возбуждающие элементы 14с (прикреплен к верхней панели 12b), 14d (прикреплен к левой панели 12d) и 14е (прикреплен к правой панели 12d) могут быть одного типа для создания стереофонического звука.
На фиг.5 схематически проиллюстрирован базовый принцип бытового электроприбора 10 согласно другому варианту реализации изобретения. В этом варианте возбуждающий элемент и поверхность могут использоваться не только для генерирования звука, но и для измерения или обнаружения.
Бытовой прибор 10 на фиг.5 аналогичен с бытовым прибором на фиг.1, и подробно будут описаны только относящиеся к делу различия. Бытовой электроприбор 10 содержит поверхность 12, возбуждающий элемент 14, источник звука 16а или приемник аудиосигнала 16b и выходной усилитель 18, предназначенные для генерирования звука.
Кроме того, бытовой прибор на фиг.5 содержит управляющий и процессорный блок 34. Управляющий и процессорный блок 34 соединен, с одной стороны, с источником звука 16а, или приемником аудиосигнала 16b, а с другой стороны – с аналого-цифровым преобразователем 36, который в свою очередь соединен с возбуждающим элементом 14 через входной усилитель 38. Дополнительно управляющий и процессорный блок 34 может быть соединен с другими устройствами 40 бытовых электроприборов.
Управляющий и процессорный блок 34 действует между первым состоянием и вторым состоянием. В первом состоянии источник 16а звука или приемник аудиосигнала 16b и выходной усилитель 18 приводятся в действие для приложения электрического аудиосигнала к возбуждающему элементу 14, в то время как аналого-цифровой преобразователь 36 и входной усилитель 38 выводятся из работы. Во втором состоянии управляющий и процессорный блок 34 готов к приему второго электрического сигнала от возбуждающего элемента 14 через входной усилитель 38 и аналого-цифровой преобразователь 36 (которые поэтому приводятся в действие), в то время как источник 16а звука или приемник 16b аудиосигнала и выходной усилитель 18 выводятся из работы.
В первом состоянии может генерироваться звук, в то время как второе состояние допускает обнаружение или измерения вибрации, как более подробно описано ниже.
Во втором состоянии возбуждающий элемент 14, а именно электродинамический возбуждающий элемент 14, используется как электродинамический микрофон. Поверхность 12, которая в первом состоянии действует как панель громкоговорителя, используется как мембрана электродинамического микрофона. При индуцировании вибрации в поверхности 12 вибрация передается на электродинамический возбуждающий элемент 14, установленный на ней, который в свою очередь преобразует вибрацию во второй электрический сигнал. Как показано на фиг.2b, в случае передачи на поверхность 12 любой вибрации, возникшей внутри или снаружи бытового электроприбора, непроводящая деталь 24 начинает вибрировать вместе с поверхностью 12. Поскольку постоянный магнит обладает большей инерцией, он остается по существу неподвижным. Поэтому расстояние между катушкой 30 (которая намотана вокруг детали 24) и магнитом 26 начинает колебаться, так что в катушке 30 появляется переменное магнитное поле, которое в свою очередь генерирует эдс самоиндукции, вызванную электромагнитной индукцией, посредством чего генерируется электрический сигнал. Генерированный сигнал является мерой вибрации. Чем выше амплитуда этого сигнала, тем выше уровень вибрации. Таким образом, электродинамический возбуждающий элемент 14 в описанной конфигурации может использоваться как усовершенствованный датчик вибраций, заменяющий обычные датчики вибрации, обычно применяемые в различных бытовых электроприборах.
Кроме того, на фиг.5 показано, что электрический сигнал, поступающий от возбуждающего элемента 14, пропускают через входной усилитель для преобразования с целью получения сигнала обнаружения. Такое преобразование может включать в себя усиление, фильтрацию, выпрямление или другое аналогичное преобразование электрического сигнала. Аналоговый сигнал превращают после этого в цифровой сигнал с помощью аналого-цифрового преобразователя 36 перед его подачей в управляющий и процессорный блок 34. Затем управляющий и процессорный блок 34 может анализировать содержащуюся в сигнале динамическую частоту, допуская возможность оценки характеристик соответствующей вибрации и ее источника или причины. Работой бытового электроприбора удобно управлять в соответствии с сигналом обнаружения. Для этого управляющий и процессорный блок дополнительно генерируют управляющий сигнал в соответствии с сигналом обнаружения, и управляющий сигнал передается на другие устройства 40 бытового электроприбора 10.
Вибрация, индуцированная в поверхности бытового электроприбора, может происходить из-за события, происшедшего внутри прибора. Например, в стиральной машине указанная конфигурация может быть использована для отслеживания частоты вращения барабана, состояния сливного насоса (ВКЛ/ВЫКЛ), состояния рециркуляционного насоса (ВКЛ/ВЫКЛ), веса несбалансированного груза, падения белья в барабане сверху вниз и дополнительных переменных. Этот тип информации позволяет затем оптимизировать цикл стирки и снизить уровень шума в процессе работы. Далее, в посудомоечной машине указанная конфигурация может быть использована для отслеживания скорости разбрызгивающих устройств (отдельно для верхнего и для нижнего), состояния главного насоса (ВКЛ/ВЫКЛ), состояния сливного насоса (ВКЛ/ВЫКЛ), засорения разбрызгивающего устройства (устройств) и принятия соответствующих мер. В данном случае возбуждающий элемент (элементы) лучше установить на внутренней поверхности прибора, что зависит от того, какое событие требуется обнаружить или измерить.
Указанная конфигурация может быть дополнительно использована для обнаружения вибрации, происходящей из-за события, имеющего место снаружи бытового электроприбора, такого как «постукивание» пользователем по поверхности прибора. Для этой цели электродинамический возбуждающий элемент предпочтительно устанавливают только изнутри передней панели прибора. Когда пользователь осторожно постукивает по передней панели, удар вызывает отдачу и импульс вибрации панели, который обнаруживается электродинамическим возбуждающим элементом, в результате чего управляющий и процессорный блок выполняет соответствующее действие. Например, пользователь может осторожно постучать по передней панели в любом случае, когда он или она хочет, чтобы бытовой прибор выполнил определенное действие. Диапазон этих определенных операций включает в себя, не ограничиваясь ими, выдачу речевого сообщения о текущем состоянии прибора, автоматическое открывание дверцы прибора, аварийную остановку или прерывание начавшегося цикла стирки и т.д. Различные операции могут, например, соответствовать и идентифицироваться одним ударом, двойным ударом, тройным ударом и т.д., выполненным пользователем в любом месте передней панели прибора. Таким образом, обеспечивается пользовательский интерфейс.
Этот пользовательский интерфейс особенно полезен, не ограничиваясь этим, для встроенных бытовых электроприборов, когда прибор обычно закрыт наружной панелью, скрывающей средства управления и дисплей прибора. В этом случае, вместо того, чтобы раскрывать прибор для получения доступа к средствам управления и дисплею, пользователь может просто постучать по передней крышке для выполнения команд, таких как инициирование речевого сообщения о текущем состоянии прибора при обнаружении единственного удара, или автоматического открывания дверцы прибора при обнаружении двойного стука. Такие функциональные возможности особенно удобны для инвалидов или в случаях, когда руки пользователя заняты.
В примере операции, описанной со ссылкой на фиг.5, бытовому электроприбору 10 в состоянии бездействия нечего сообщать, но он ждет запроса пользователя. Поэтому источник 16а звука или приемник 16b аудиосигнала и выходной усилитель 18 выключены. В отличие от этого входной усилитель 38 и аналого-цифровой преобразователь 36 включены. Когда пользователь постукивает снаружи по поверхности 12, импульс вибрации проходит в электродинамический возбуждающий элемент 14, который генерирует соответствующий электрический импульс, который должен быть обработан элементами 38 и 36. Далее стук пользователя обнаруживает управляющий и процессорный блок 34, который проверяет затем текущее состояние прибора, формулирует соответствующее речевое сообщение для ответа, затем выключает элементы 38 и 36, а затем включает источник 16а звука и усилитель 18 для воспроизведения сформулированного сообщения. После бытовой электроприбор 10 возвращается в состояние бездействия и цикл повторяется.
Выше был описан бытовой электроприбор со средствами комбинированного сдвоенного режима работы, предназначенными для генерирования звука и также для обнаружения и измерения вибрации. Следует отметить, что бытовой электроприбор может использоваться без функциональной возможности громкоговорителя. При такой конфигурации опускают источник звука или приемник аудиосигнала и выходной усилитель, оставляя бытовой электроприбор, который содержит возбуждающий элемент, установленный на поверхности бытового электроприбора таким образом, что вибрация, происходящая на поверхности, передается возбуждающему элементу, который генерирует электрический сигнал, соответствующий вибрации, и средство для приема и возможной обработки второго электрического сигнала для получения сигнала обнаружения, представляющего вибрацию.
Специалисту в данной области техники понятно, что настоящее изобретение ни в коей мере не ограничивается предпочтительными вариантами реализации, описанными выше. Напротив, в пределах прилагаемой формулы изобретения возможно внесение многих модификаций и изменений. Например, в варианте с громкоговорителем описанный выше возбуждающий элемент (элементы) может быть иначе установлен на внутренней поверхности, имеющейся внутри бытового электроприбора, которая может вибрировать и издавать звук. Однако поскольку предполагается, что звук должен выходить из прибора наружу, происходит ухудшение качества и громкости звука. Тем не менее, использование достаточно большой и плоской внутренней поверхности или панели позволяет поддерживать это качество на приемлемом уровне, соответствующем конкретной сфере применения.
Кроме того, дополнительные возбуждающие элементы (фиг.4а-4с) могут использоваться в варианте с обнаружением (фиг.5) для повышения точности обнаружения и измерения.
Формула изобретения
1. Бытовой электроприбор (10), содержащий возбуждающий элемент (14), закрепленный на поверхности (12) бытового электроприбора, так что первый электрический сигнал, приложенный к возбуждающему элементу, вызывает соответствующую первую вибрацию, которая передается поверхности, а вторая вибрация, происходящая в поверхности, передается на возбуждающий элемент, который генерирует второй электрический сигнал в соответствии со второй вибрацией, при этом возбуждающий элемент выбран из группы, состоящей из магнитострикционного возбуждающего элемента и электродинамического возбуждающего элемента.
2. Бытовой электроприбор по п.1, отличающийся тем, что первый электрический сигнал является аудиосигналом, при этом поверхность предназначена для преобразования первой вибрации в звук.
3. Бытовой электроприбор по п.2, отличающийся тем, что содержит источник (16а) звука или приемник (16b) аудиосигнала, предназначенные для подачи аудиосигнала.
4. Бытовой электроприбор по п.2, отличающийся тем, что диапазон частот возбуждающего элемента предпочтительно находится в диапазоне слышимых звуковых частот.
5. Бытовой электроприбор по п.1, отличающийся тем, что возбуждающим элементом является электродинамический возбуждающий элемент, при этом бытовой электроприбор дополнительно содержит средство приема и возможной обработки принятого электрического сигнала для получения сигнала обнаружения, представляющего вторую вибрацию.
6. Бытовой электроприбор по п.5, отличающийся тем, что содержит средство (34) генерирования управляющего сигнала в соответствии с сигналом обнаружения для эксплуатации бытового электроприбора.
7. Бытовой электроприбор по п.5, отличающийся тем, что вторая вибрация поверхности вызывается внутренним событием.
8. Бытовой электроприбор по п.5, отличающийся тем, что вторая вибрация поверхности вызывается внешним событием.
9. Бытовой электроприбор по любому из пп.3, 5, отличающийся тем, что дополнительно содержит средство также избирательного активирования источника звука или приемника аудиосигнала и средство приема и возможной обработки второго электрического сигнала.
10. Бытовой электроприбор по п.1, отличающийся тем, что поверхность является наружной поверхностью кожуха бытового электроприбора, при этом возбуждающий элемент предпочтительно установлен изнутри наружной поверхности.
11. Бытовой электроприбор по п.10, отличающийся тем, что поверхность является поверхностью одной выбранной из группы, состоящей из передней, боковой или верхней панели бытового электроприбора.
12. Бытовой электроприбор по п.1, отличающийся тем, что дополнительно содержит по меньшей мере один дополнительный магнитострикционный или электродинамический возбуждающий элемент, установленный на поверхности бытового прибора.
13. Бытовой электроприбор по п.1, отличающийся тем, что бытовым электроприбором является прибор, выбранный из группы, состоящей из печи, микроволновой печи, холодильника, морозильника, посудомоечной машины, стиральной машины или сушильного барабана.
14. Способ генерирования звука в бытовом электроприборе, заключающийся в том, что прикладывают электрический звуковой сигнал к возбуждающему элементу, установленному на поверхности бытового электроприбора, чтобы вызвать соответствующую вибрацию возбуждающего элемента, которая передается поверхности и превращается поверхностью в звук, при этом возбуждающий элемент выбран из группы, состоящей из магнитострикционного возбуждающего элемента и электродинамического возбуждающего элемента.
15. Способ обнаружения вибрации в бытовом электроприборе, заключающийся в том, что осуществляют прием электрического сигнала от возбуждающего элемента, установленного на поверхности бытового электроприбора, причем электрический сигнал генерируется возбуждающим элементом в соответствии с вибрацией, происходящей на поверхности, и передается возбуждающему элементу от поверхности, обрабатывают принятый электрический сигнал для получения сигнала обнаружения, представляющего вибрацию.
16. Способ управления бытовым электроприбором, заключающийся в том, что осуществляют прием электрического сигнала от возбуждающего элемента, установленного на поверхности бытового электроприбора, причем электрический сигнал генерируется возбуждающим элементом в соответствии с вибрацией, происходящей на поверхности, и передается возбуждающему элементу от поверхности, обрабатывают принятый электрический сигнал для получения сигнала обнаружения, представляющего вибрацию, генерируют в соответствии с сигналом обнаружения управляющий сигнал, предназначенный для эксплуатации бытового электроприбора.
17. Способ по любому из пп.15 или 16, отличающийся тем, что возбуждающим элементом является электродинамический возбуждающий элемент.
РИСУНКИ
|
|