|
|
(21), (22) Заявка: 2007136285/11, 01.03.2006
(24) Дата начала отсчета срока действия патента:
01.03.2006
(30) Конвенционный приоритет:
02.03.2005 US 60/657,885
(43) Дата публикации заявки: 20.04.2009
(46) Опубликовано: 27.07.2010
(56) Список документов, цитированных в отчете о поиске:
US 6561559 В1, 13.05.2003. DE 4222852 А1, 13.01.1994. US 3169809 А, 16.12.1965. WO 0238428 А1, 16.05.2002. US 5549395 А, 27.08.1996. RU 2129966 С1, 10.05.1999.
(85) Дата перевода заявки PCT на национальную фазу:
02.10.2007
(86) Заявка PCT:
US 2006/007220 20060301
(87) Публикация PCT:
WO 2006/094031 20060908
Адрес для переписки:
129090, Москва, ул. Б.Спасская, 25, стр.3, ООО “Юридическая фирма Городисский и Партнеры”, пат.пов. С.А.Дорофееву, рег. 146
|
(72) Автор(ы):
ДИКЕРХОФФ Рональд П. (US), ТОТ Дэвид Г. (US)
(73) Патентообладатель(и):
ДЗЕ ТИМКЕН КОМПАНИ (US)
|
(54) ПОДШИПНИКОВЫЙ УЗЕЛ ( ВАРИАНТЫ ) ДЛЯ УСТАНОВКИ НА ШЕЙКУ
(57) Реферат:
Изобретение относится к подшипниковым узлам для установки на шейки, оканчивающиеся галтелями, в частности к кольцевой прокладке совместно с кольцевым фиксатором, соединенным с кольцевой прокладкой. Подшипниковый узел для установки на шейку (6) на конце оси железнодорожного вагона содержит подшипник, кольцевую прокладку (16) и кольцевой фиксатор (22). Подшипник включает внутреннее кольцо (32), имеющее заднюю поверхность (50) и расточку (44), которая открыта на задней поверхности. Кольцевая прокладка (16) имеет торцевую поверхность (72), обращенную к задней поверхности (50) и расточку, которая открыта на задней поверхности и выполнена с возможностью вмещения галтели (10) на шейке (6), при этом кольцевая прокладка (16) имеет паз (76), открытый в расточку и в направлении оси. Причем в кольце (32) предусмотрен паз (54), также открытый в направлении оси. Фиксатор (22) расположен в прокладке (16) и в кольце (32) и перекрывает пространство между пазами (54, 76), при этом кольцевой фиксатор имеет ребра (84), выступающие в пазы (54, 76). Фиксатор (22) выполнен из эластичного материала и с возможностью отклонения к галтели (10), на которую устанавливается прокладка (16) для образования барьера для текучей среды с галтелью (10). Во втором варианте в подшипниковый узел включено компенсационное кольцо, которое расположено между кольцом (32) и прокладкой (16), а фиксатор (22) располагается в прокладке (16) и в компенсационном кольце. Технический результат: обеспечение барьеров для текучей среды между внутренним кольцом подшипника (или компенсационном кольцом) и кольцевой прокладкой и между кольцевой прокладкой и галтелью. 2 н. и 2 з.п. ф-лы, 5 ил.
Область техники, к которой относится изобретение
Настоящее изобретение относится в целом к подшипниковым узлам для установки на шейки, оканчивающиеся галтелями, а более конкретно к кольцевой прокладке совместно с кольцевым фиксатором, соединенным с кольцевой прокладкой.
Уровень техники
Обычный железнодорожный вагон поддерживается на нескольких колесных парах, каждая из которых имеет колеса и ось, к которой присоединены колеса. Оси простираются за колеса, где они оборудованы шейками, и шейки вращаются в подшипниках качения, размещенных в боковинах вагонных тележек. Таким образом, подвесной груз железнодорожного вагона переносится на колесные пары.
В последнее время железные дороги перешли на более короткие шейки для снижения изгиба в шейках. Это обеспечивает возможность поддерживания больших грузов колесными парами и корпусами вагонов. Но более короткие шейки требуют модифицированных подшипников, кольцевых прокладок и торцевых крышек, что, в свою очередь, вызывает определенные проблемы. Одна из проблем заключается в унификации подшипниковых узлов для более коротких шеек, так, чтобы их можно было просто установить на шейки на автоматизированном сборочном оборудовании. При этом обычный подшипниковый узел для более длинной шейки имеет компенсационное кольцо, размещенное в уплотнении на внутреннем конце подшипника, а также захваченное кольцевой прокладкой для сохранения, таким образом, выравнивания кольцевой прокладки с подшипником, подшипниковый узел для более коротких шеек не имеет компенсационного кольца. Вместо этого его кольцевая прокладка опирается на конец внутреннего конуса (внутреннего кольца) подшипника. Некоторые производители используют так называемые «кольцевые фиксаторы» между внутренним конусом и кольцевой прокладкой для удержания кольцевой прокладки относительно конуса. Другие прибегают к использованию двусторонней покрытой клеем прокладки между торцевой поверхностью внутреннего конуса и кольцевой прокладкой для удержания кольцевой прокладки относительно конуса. Но кольцо, покрытое клеем, не обеспечивает положительного соединения, и в ходе грубого обращения, например, на автоматическом сборочном оборудовании, кольцевая прокладка может сместиться из выровненного положения с внутренним конусом. Перекос нарушает установку кольцевой прокладки и подшипника на шейку, в частности при помощи автоматизированного сборочного оборудования.
Также значение имеет то, что опорные поверхности кольцевой прокладки и внутреннего конуса могут отделиться при использовании подшипника, таким образом, создавая зазор, обеспечивающий вероятность попадания воды. Таким образом, больше воды может просачиваться в эту область с противоположного конца кольцевой прокладки и вдоль галтели, которую она окружает. Независимо от источника воды, она вызывает коррозию шейки в основании галтели, в той области, в которой шейка испытывает наибольший изгиб. Коррозия наряду с износом, вызванным трением кольцевой прокладки по галтели, ослабляет шейку в основании галтели, что может привести к излому оси. Несомненно, существуют пригнанные кольцевые прокладки, и этот тип прокладок имеет буртик, который плотно прилегает поверх диаметра пылевой шайбы на конце галтели, и стабилизирует кольцевую прокладку до такого значения, чтобы перемещение между кольцевой прокладкой и галтелью снижалось. Посаженный с натягом буртик также препятствует проникновению воды под кольцевую прокладку и вдоль галтели. Но пригнанные кольцевые прокладки вносят дополнительные затраты из-за допустимых отклонений, которые должны соблюдаться при обработке буртика и диаметра пылевой шайбы. И, более того, не все кольцевые прокладки подходят для такой посадки.
Даже более длинные шейки, снабженные более традиционными подшипниковыми узлами, подвержены коррозии, вызванной попаданием воды в их кольцевые прокладки.
Сущность изобретения
Настоящее изобретение обеспечивает подшипниковый узел, включающий в себя кольцевую прокладку и подшипник, имеющий внутреннее кольцо, при этом кольцевая прокладка и внутреннее кольцо объединены кольцевым фиксатором, который является достаточно гибким для обеспечения барьера для текучей среды в области галтели на конце шейки. Настоящее изобретение также относится к кольцевому элементу, распложенному между кольцевой прокладкой и галтелью для обеспечения барьера для текучей среды. Кроме того, настоящее изобретение относится к способу установки подшипникового узла на шейку, при этом внутреннее кольцо подшипника и кольцевая прокладка объединяются во время установки при помощи кольцевого фиксатора, который дополнительно обеспечивает барьер для текучей среды вдоль галтели.
Краткое описание чертежей
Фиг.1 представляет собой продольный разрез подшипникового узла, установленного на шейке вагона и включающего в себя подшипник с кольцевой прокладкой и торцевой крышкой, при этом внутренний конус подшипника и кольцевая прокладка объединены кольцевым фиксатором, который обеспечивает барьер для текучей среды вдоль галтели, согласно настоящему изобретению.
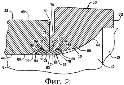
Фиг.2 представляет собой увеличенный разрез кольцевого фиксатора и соседних участков внутреннего конуса, кольцевой прокладки и шейки.
Фиг.3 представляет собой увеличенный разрез видоизменного кольцевого фиксатора и соседних участков внутреннего конуса, кольцевой прокладки и шейки.
Фиг.4 представляет собой продольный разрез другого подшипникового узла, который включает в себя компенсационное кольцо, размещенное между внутренним кольцом подшипника и кольцевой прокладкой, при этом кольцевой фиксатор проходит между кольцевой прокладкой и компенсационным кольцом; и
Фиг.5 представляет собой увеличенный разрез кольцевого фиксатора, показанного на фиг.4, и соседних участков кольцевой прокладки и компенсационного кольца.
Лучший вариант осуществления изобретения
Со ссылкой на чертежи (фиг.1) показан компактный подшипниковый узел А, насаженный на один конец оси 4, которая вместе с колесами образует одну из нескольких колесных пар железнодорожного вагона. Подшипниковый узел А, наряду с другим узлом на другом конце оси 4, обеспечивает вращение оси 4 вокруг своей геометрической оси Х, которая является центральной линией оси 4, а также позволяет колесам катиться по рельсам железнодорожного пути. На самом деле, подшипниковый узел А переносит часть подвесного груза вагона на колесную пару. В действительности, вес переносится через подшипник качения В, который образует часть подшипникового узла А. Он насаживается на шейку 6 на конце оси 4 – шейки, которая несколько короче обычных шеек для снижения изгиба под весом, переносимым через подшипник В.
Шейка 6 на внешнем конце имеет торцевую поверхность 8, перпендикулярную оси Х. На своем внутреннем конце шейка 6 имеет галтель 10, которая проходит к большему диаметру 12 пылевой шайбы цилиндрической формы, а диаметр 12 пылевой шайбы проходит к подступичной части, на которой затем устанавливается одно колесо колесной пары. Между торцевой поверхностью 8 и галтелью 10 шейка 6 имеет цилиндрическую форму. Галтель 10 расширяется наружу от цилиндрического участка шейки 6 и представляет собой вогнутую поверхность относительно оси Х.
Помимо подшипника В, который установлен на цилиндрическом участке шейки 6, подшипниковый узел А включает в себя кольцевую прокладку 16, окружающую и посаженную на галтель 10, и торцевую крышку 18, которая установлена на торцевой поверхности 8, и винты 20, удерживающие весь подшипниковый узел А на шейке 6. Кроме того, подшипниковый узел А имеет кольцевой фиксатор 22, который присоединяет кольцевую прокладку 16 к подшипнику В для возможности манипулирования перед установкой на шейку 6, и дополнительно служит для обеспечения барьера для текучей среды после установки.
Подшипник В включает в себя (фиг.1) наружную беговую дорожку в виде наружного кольца 30, и внутреннюю беговую дорожку в виде двух конусов 32, расположенных внутри наружного кольца 30, и тела качения в виде конических роликов 34, расположенных в два ряда между наружным кольцом 30 и конусами 32. Кроме того, подшипник В включает в себя распорное кольцо 36, расположенное между двумя конусами 32 для поддержания заданного расстояния между конусами 32. Концы подшипника В закрыты уплотнениями 38, расположенными между концами наружного кольца 30 и конусов 32.
Наружное кольцо 30 вставляется в переходник, расположенный в тележке железнодорожного вагона. Оно имеет две дорожки 40 качения, сужающихся по направлению друг к другу. На своих широких концах дорожки 40 качения открываются в расточные отверстия 42, которые, в свою очередь, открываются на концах наружного кольца 30.
Конусы 32 устанавливаются поверх шейки 6 путем посадки с натягом, при этом между ними расположено распорное кольцо 36. Каждый конус 32 имеет расточку 44, образованную в основном цилиндрической поверхностью, которая находится внутри в направлении оси Х. Диаметр расточки 44 немного меньше диаметра цилиндрического участка шейки 6. Следовательно, конусы 32 должны быть посажены на шейку 6, и после такой установки между конусами 32 и шейкой 6 образуется посадка с натягом. Каждый конус 32 также имеет сужающуюся дорожку 46 качения, которая обращена наружу от оси Х и по направлению к одной из дорожек 42 наружного кольца 30. Каждый конус 32 также имеет упорное ребро 48 на широком конце дорожки 46 качения, и оно проходит до задней поверхности 50, которая обточена под квадрат относительно оси Х. Наконец, по меньшей мере, внутренний конус 32, внутри своего упорного ребра 48 и вдоль своей расточки 44, имеет глубокое поднутрение 52 (фиг.2), которое открывается в расточку 44 и выходит из задней поверхности 50 с небольшим радиусом. Поднутрение 52 проходит к пазу 54, который открыт внутрь к оси Х и, конечно, к расточке 44. Паз 54 имеет радиальную поверхность 56 на поднутрении 52 и сужающуюся поверхность 58, противоположную радиальной поверхности 56. Сужающаяся поверхность 58 сужается вниз к пологому поднутрению 60. Глубокое поднутрение 52, паз 54 и пологое поднутрение 60 располагаются внутри упорного ребра 48, так что они не проходят под дорожку 46 качения. Более того, два поднутрения 52 и 60 и паз 54 представляют собой поверхности круглой формы в направлении оси Х, при этом поверхности имеют центры на оси Х и диаметр больший, чем диаметр цилиндрического участка шейки 6. Предпочтительно, внешний конус 32 также имеет поднутрения 52 и 60 и промежуточный паз 54 для обеспечения возможности переворачивания положения подшипника В на шейке 6.
Два конуса 32 находятся внутри наружного кольца 30, причем дорожка 46 качения на внутреннем конусе 32 обращена и сужается в том же направлении, что и внутренняя дорожка 40 наружного кольца 30, при этом дорожка 46 качения внешнего конуса 32 обращена и сужается в том же направлении, что и наружная дорожка 40 качения наружного кольца 30. Распорное кольцо 36 также расположено внутри наружного кольца 30 между двумя конусами 32.
Конические ролики 34 расположены в два ряда, по одному вокруг каждого конуса 32. Здесь их боковые поверхности контактируют с сужающимися дорожками 40 и 46 качения наружного кольца 30 и конусов 32 соответственно. Их широкие торцевые поверхности опираются на упорные ребра 48 конусов 32, так что упорные ребра 48 предотвращают перемещение роликов 34 вверх по дорожкам 40 и 46 качения и их выход из кольцевого пространства между наружным кольцом 30 и конусами 32. Ролики 34 каждого ряда расположены на вершине, что означает, что конические оболочки, в которых находятся их сужающиеся боковые поверхности, и оболочки для двух дорожек качения 40 и 46, с которыми они контактируют, имеют вершины в общей точке вдоль оси Х.
Уплотнения 38 вставлены в расточные отверстия 42 на концах наружного кольца 30 и вокруг упорных ребер 48 конусов 32. По существу, они образуют динамические барьеры для текучей среды между наружным кольцом 30 и конусами 32 на концах подшипника В. Кроме того, они выполнены с возможностью препятствования выходу конусов 32 из наружного кольца 30, и в этом смысле они объединяют подшипник В.
Подшипник В устанавливается на шейку 6 так, что его конусы 32 плотно посажены на цилиндрический участок шейки 6, а распорное кольцо 36 нет. Кольцевая прокладка 16 подобным образом устанавливается на шейку 6, при этом она находится между галтелью 10 и внутренним конусом 32. Она служит в качестве прокладки для подшипника В. С этой целью, кольцевая прокладка 16 имеет дугообразную внутреннюю поверхность 64, которая соответствует размеру и форме галтели 10, то есть участку галтели 10, который проходит вверх к диаметру 12 пылевой шайбы. На самом деле кольцевая прокладка 16 вдоль своей дугообразной поверхности 64 посажена на галтель 10. На широком конце своей дугообразной поверхности 64 кольцевая прокладка 16 может иметь кольцевой буртик 66, который выступает над диаметром 12 пылевой шайбы. Предпочтительно между буртиком 66 и диаметром 12 пылевой шайбы существует натяг. На малом конце дугообразная поверхность 64 переходит в коническую поверхность 68, расположенную на расстоянии наружу от галтели 10. За конической поверхностью 68 кольцевая прокладка 16 имеет кольцевой выступ 70, который оканчивается на торцевой поверхности 72, обточенной под квадрат относительно оси Х. Кольцевая прокладка 16 опирается на внутренний конус 32. На самом деле внутренний конус 32 и кольцевая прокладка 16 обращены друг к другу и контактируют вдоль своих соответствующих поверхностей 50 и 72. Подобно внутреннему конусу 32 кольцевая прокладка 16 имеет поднутрение 74 (фиг.2), которое на одном конце открыто на торцевой поверхности 72 с небольшим радиусом, а с другой стороны проходит к пазу 76. Поднутрение 74, которое образует конец расточки в кольцевой прокладке 16, имеет такой же диаметр, что и поднутрение 52 на внутреннем конусе 32, и выровнено с ним. Длина двух поднутрений 52 и 60 примерно одинаковая, и это расстояние по существу эквивалентно длине выступа 70. Паз 76, открывающийся к оси Х, имеет радиальную поверхность 78 на конце поднутрения 74 и сужающуюся поверхность 80, проходящую к меньшему концу конической поверхности 68. В основном паз 76 имеет такую же форму поперечного сечения, что и паз 54 внутреннего конуса 32.
Когда кольцевая прокладка 16 вдоль своей дугообразной поверхности 64 посажена на галтель 10 шейки 6, поднутрение 74 в кольцевой прокладке 16 окружает цилиндрический участок шейки 6 непосредственно перед галтелью 10. Паз 76, с другой стороны, открывается к галтели 10, где галтель 10 начинает расширяться наружу от цилиндрического участка. Радиальная поверхность 78 находится, по существу, на стыке цилиндрического участка и галтели 10 шейки 6.
Подшипник В и кольцевая прокладка 16 не занимают всю шейку 6. Короткая часть шейки 6 выступает за заднюю поверхность 50 внешнего конуса 32. Торцевая крышка 18 окружает (фиг.1) эту часть шейки 16 и также проходит поперек торцевой поверхности 8 шейки 6, все еще немного отстоящей от торцевой поверхности 8. Винты 20 проходят через торцевую крышку 18 параллельно оси Х и ввинчиваются в шейку 6. После завинчивания они обеспечивают плотное зажатие двух конусов 32 и распорного кольца 36 между кольцевой прокладкой 16 и торцевой крышкой 18. И, конечно, сужение дорожек 40 и 46 и роликов 34 предотвращает смещение наружного кольца 30 по оси относительно шейки 6.
Кольцевой фиксатор 22 объединяет (фиг.2) кольцевую прокладку 16 и внутренний конус 32 перед и во время установки подшипника В и кольцевой прокладки 16 на шейку 6. Он дополнительно образует кольцевой уплотняющий элемент, который обеспечивает статический барьер для текучей среды между внутренним конусом 32 и кольцевой прокладкой 16, и другой статический барьер для текучей среды между кольцевой прокладкой 16 и галтелью 10. Барьеры для текучей среды изолируют критическую область шейки 6 на стыке ее цилиндрического участка и галтели 10 от влаги, которая может в противном случае вызвать коррозию шейки 6 в критической области. Кольцевой фиксатор 22 вставляется в два паза 54 и 76 во внутреннем конусе 32 и кольцевой прокладке 16 соответственно и перекрывает область контакта между двумя этими элементами на их опорных поверхностях 50 и 72. Он имеет круговую или кольцевую форму и предпочтительно выполнен из полимера, который является достаточно жестким, при этом обладая достаточной гибкостью для соответствия более жесткой стальной поверхности и образования барьера для текучей среды с такой поверхностью. Доказано, что для кольцевого фиксатора 22, в частности, подходит полиуретан EL-72, поставляемый System Seals Inc. Независимо от вещества, из которого изготовлен кольцевой фиксатор 22, он является более мягким и гибким, чем сталь шейки 6, и является непрерывным в окружном направлении в том смысле, что в нем отсутствует осевой зазор, через который может протекать вода.
Кольцевой фиксатор 22 на каждом из своих концов имеет кольцевое ребро 84, направленное радиально наружу, при этом слегка меньшее, чем паз 54 внутреннего конуса 32 или паз 76 кольцевой прокладки 16. Каждое ребро 84 имеет радиально направленную внутреннюю поверхность 86 и скошенную наружную поверхность 88. Расстояние между внутренними поверхностями 86 равно или немного превосходит расстояние между радиальными поверхностями 56 и 78 пазов 54 и 76 внутреннего конуса 32 и кольцевой прокладки 16 соответственно.
Между внутренними поверхностями 86 двух ребер 84 проходит цилиндрическая наружная поверхность 90, диаметр которой немного превышает диаметр поднутрений 52 и 74 на внутреннем конусе 32 и кольцевой прокладке 16. Кольцевой фиксатор 22 также имеет цилиндрическую внутреннюю поверхность 92, которая простирается на всю длину фиксатора 84 от одной внешней поверхности 88 к другой. Диаметр внутренней поверхности 92 превышает диаметр цилиндрического участка шейки 6, по меньшей мере, на 0,005 дюйма. При этом диаметр не является настолько большим, чтобы внутренняя поверхность 92 открывала галтель 10. Тем не менее, кольцевой фиксатор 22 вдоль своей внутренней поверхности 92 по существу контактирует с галтелью 10 и отгибается наружу галтелью 10 непосредственно за ней, где галтель 10 выходит из цилиндрического участка шейки 6.
Перед установкой подшипника В и кольцевой прокладки 16 на шейку 6 уплотнения 38 удерживают два конуса 32 в двойном наружном кольце 30 и, вместе с роликами 34, поддерживают расточки 44 двух конусов 32 в выровненном положении. Кольцевой фиксатор 22 присоединяет кольцевую прокладку 16 ко внутреннему конусу 32, причем дугообразная поверхность 64 выровнена с расточками 44 конуса. С этой целью кольцевой фиксатор 22 сначала устанавливают во внутренний конус 32 путем выравнивания одной из его скошенных поверхностей 88 с поднутрением 52 конуса 32 и проталкивания кольцевого фиксатора 22 в конец конуса 32. Под действием силы, приложенной скошенной поверхностью 88 к конусу 32, его ребро прижимается внутрь, вынуждая ребро 84 контактировать с поднутрением 52 и проходить в него. После прохождения за поднутрение 52 ребро 84 защелкивается наружу в паз 54, при этом его внутренняя поверхность 86 лежит вдоль радиальной поверхности 56 паза 40. После того, как кольцевой фиксатор 22 был установлен во внутренний конус 32, поднутрение 74 кольцевой прокладки 16 выравнивают со скошенной поверхностью 88 на другом конце фиксатора 22 – конце, выступающем от внутреннего конуса 32. Затем кольцевую прокладку 16 подталкивают к конусу 32. Конец поднутрения 74 в кольцевой прокладке 16 перемещается по скошенной поверхности 88 открытого ребра 84 и блокирует это ребро 84 внутри. Ребро 84 сжимается достаточно, чтобы проходить через поднутрение 74, за которым оно расширяется наружу в паз 76 в кольцевой прокладке 16. При таком расположении кольцевого фиксатора 22 его внутренние поверхности 86 простираются вдоль радиальных поверхностей 56 и 78 пазов 54 и 76 и предотвращают отделение внутреннего конуса 32 и кольцевой прокладки 16. Наружная поверхность 90, проходящая между внутренними поверхностями 86 фиксатора 22, проходит вдоль поверхностей поднутрений 52 и 74 конуса 32 и кольцевой прокладки 16 вплотную к ним и сохраняет осевое выравнивание между конусом 32 и кольцевой прокладкой 16. Наружная поверхность 90 также обеспечивает статический барьер для текучей среды как с внутренним конусом 32, так и с кольцевой прокладкой 16 – барьер, предотвращающий дальнейшее проникновение воды, которая может просочиться между опорными поверхностями 50 и 72 конуса 32 и кольцевой прокладкой 16.
Подшипник В и кольцевая прокладка 16, соединенные друг с другом при помощи кольцевого фиксатора 22, устанавливают на шейку 6. С этой целью шейку 6, включающую в себя галтель 10, покрывают тяжелой смазкой для тугой посадки. После этого выровненные дугообразную поверхность 64 кольцевой прокладки 16 и расточку 44 конусов 32 выравнивают с шейкой 6, и, с кольцевой прокладкой 16 впереди, кольцевую прокладку 16 и подшипник В продвигают по шейке 6. Кольцевая прокладка 16 с легкостью проходит по концу шейки 6, так же как и кольцевой фиксатор 22, оставляя покрытие из смазки для тугой посадки нетронутым, благодаря тому, что оба этих элемента слегка шире, чем цилиндрический участок шейки 6. Однако, после того как пологое поднутрение 60 во внутреннем конусе 32 проходит по концу шейки 6, шейка 6 сталкивается с меньшей расточкой 44 внутреннего конуса 32. Затем прикладывают силу к задней поверхности внешнего конуса 32, и эта сила проводит два конуса 32, с распорным кольцом 36 между ними, по шейке 6 до тех пор, пока дугообразная поверхность 64 кольцевой прокладки 16 не сядет в галтель 10 шейки 6. На конечном участке продвижения передний конец кольцевого фиксатора 22, вдоль своей цилиндрической внутренней поверхности 92, контактирует с галтелью 10 непосредственно за местом, где галтель 10 расширяется наружу. Галтель 10 отклоняет конец внутренней поверхности 92 и окружающее ребро 84 наружу. Находясь в контакте с галтелью 10, фиксатор 22 вдоль своей внутренней поверхности 92 создает статический барьер для текучей среды вдоль галтели 10. Между ребром 84 и сужающейся поверхностью 80 паза 76 в кольцевой прокладке 16 существует достаточный зазор для вмещения ребра 84, отгибающегося наружу, но ребро 84 на своей внутренней поверхности 86 прижимается к радиальной поверхности 78 паза 76, создавая тем самым другой статический барьер для текучей среды.
Видоизмененный кольцевой фиксатор 94 (фиг.3) во многом похож на кольцевой фиксатор 22. Однако, вдоль своей цилиндрической наружной поверхности 90, посредине между двумя внутренними поверхностями 86, он имеет другое кольцевое ребро 96, которое меньше, чем ребра 84 на каждом конце, и имеет выпуклую форму. Ребро 96 имеет такую форму, чтобы помещаться в кольцевую полость, образованную радиусом, где соединяются задняя поверхность 50 и поднутрение 52 внутреннего конуса 32, и радиусом, где соединяются торцевая поверхность 72 и поднутрение 74 кольцевой прокладки 16. Ребро 96 образует статический барьер на двух радиусах и предотвращает дальнейшее просачивание воды, которая может протекать вдоль задней поверхности 50 и торцевой поверхности 72. Это обеспечивает дополнительное средство защиты при условии, если барьер вдоль радиальной поверхности 78 паза 76 в кольцевой прокладке 16 или вдоль поднутрения 52 во внутреннем конусе 32 и поднутрения 74 в кольцевой прокладке 16 неэффективен, что может быть вызвано трением вдоль задней поверхности 50 внутреннего конуса 32 и контакта с торцевой поверхностью 72 кольцевой прокладки 16.
Кольцевой фиксатор 22 также может быть использован в обычном подшипниковом узле С (фиг.4), выполненным с возможностью установки на шейке 100, которая длиннее, чем шейка 6, но в других отношениях такая же. Подобно шейке 6 шейка 100 имеет торцевую поверхность 8 и на противоположном конце галтель 10, которая проходит к диаметру 12 пылевой шайбы. Подшипниковый узел С включает в себя подшипник D, подобный подшипнику В, но отличающийся от последнего тем, что он имеет более короткие конусы 102, не имеющие поднутрения 52. Кроме того, подшипниковый узел С имеет кольцевую прокладку 104, которая установлена вокруг галтели 10 и посажена на нее, торцевую крышку 106, которая установлена на торцевой поверхности 8, и винты 20, которые ввинчиваются в шейку 100 и удерживают весь подшипниковый узел С на шейке 6. Также, в отличие от подшипникового узла А, подшипниковый узел С имеет компенсационные кольца 108, которые опираются на задние поверхности 50 двух конусов 102. В действительности, внутреннее компенсационное кольцо 108 зажато между внутренним конусом 102 и кольцевой прокладкой 104, при этом внешнее компенсационное кольцо 108 зажато между внешним конусом 102 и торцевой крышкой 106. Кроме того, подшипниковый узел С имеет уплотнения 110, которые вставляют в концы наружного кольца 30 и вокруг компенсационных колец 108 для образования динамических барьеров для текучей среды между наружным кольцом 30 и компенсационными кольцами 108. И, конечно, подшипниковый узел С имеет кольцевой фиксатор 22.
Для размещения внутреннего компенсационного кольца 108 кольцевая прокладка 104 имеет расточенное углубление 112 (фиг.5), которое вмещает конец компенсационного кольца 108 путем посадки с натягом. Этот конец компенсационных колец 108 имеет внутренний рельеф, так что некоторая его часть отдалена от цилиндрической поверхности шейки 100, а также от поверхности галтели 10, когда галтель 10 начинает расширяться наружу. Здесь, компенсационное кольцо 108 выполнено с поднутрением 114, которое соответствует поднутрению 52 внутреннего конуса 32 подшипника В. Более того, кольцевая прокладка 104 имеет поднутрение 116, которое соответствует поднутрению 74 в кольцевой прокладке 16 подшипникового узла А. Кольцевой фиксатор 22 устанавливается в два поднутрения 114 и 116 и опирается лишь на внутреннюю поверхность внутреннего компенсационного кольца 108 и внутреннюю поверхность кольцевой прокладки 104. Таким образом, он обеспечивает барьеры для текучей среды, которые предотвращают попадание жидкости на шейку 100, даже если посадка между внутренним компенсационным кольцом 108 и кольцевой прокладкой 106 ослабевает вследствие изгиба шейки 100 и трения, которое может быть вызвано изгибом на участке углубления 112.
Помимо этого, во время установки подшипникового узла С на шейку 100, на конечном участке продвижения, когда кольцевая прокладка 104 садится в галтель 10, внутренний конец кольцевого фиксатора 22 зажимается между кольцевой прокладкой 104 и галтелью 10. Это создает другой барьер для текучей среды, препятствующий дальнейшему просачиванию влаги, которая проникает вниз вдоль галтели 10.
Модифицированный кольцевой фиксатор 94 может заменить кольцевой фиксатор 22 в подшипниковом узле С.
Подшипниковые узлы А, объединенные либо кольцевым фиксатором 22, либо кольцевым буртиком 94, могут быть использованы на шейках, отличающихся от шеек осей железнодорожных вагонов, например на шейках на концах прокатных валков. Более того, подшипники В или D необязательно должны представлять собой двурядные конические роликовые подшипники, а могут также принимать любые формы, например, радиально-упорных шарикоподшипников, сферических роликоподшипников или цилиндрических роликоподшипников.
Формула изобретения
1. Подшипниковый узел, содействующий вращению вокруг оси, содержащий: подшипник, включающий в себя внутреннее кольцо, имеющее заднюю поверхность и расточку, которая открыта на задней поверхности; кольцевую прокладку, имеющую торцевую поверхность, обращенную к задней поверхности внутреннего кольца, и расточку, которая открыта на задней поверхности и выполнена с возможностью вмещения галтели на шейке, при этом кольцевая прокладка имеет паз, открытый в расточку и в направлении оси; причем во внутреннем кольце предусмотрен другой паз, также открытый в направлении оси; и кольцевой фиксатор, расположенный в кольцевой прокладке и во внутреннем кольце и перекрывающий пространство между пазами, при этом кольцевой фиксатор имеет ребра, выступающие в пазы, выполнен из эластичного материала и с возможностью отклонения к галтели, на которую устанавливается кольцевая прокладка для образования барьера для текучей среды с галтелью.
2. Подшипниковый узел по п.1 в комбинации с шейкой, имеющей галтель, при этом внутреннее кольцо подшипника окружает шейку, а кольцевая прокладка установлена на галтели, причем кольцевой фиксатор контактирует с галтелью и отклоняется наружу от оси галтелью для образования барьера для текучей среды вдоль галтели.
3. Подшипниковый узел, содействующий вращению вокруг оси, содержащий: подшипник, включающий в себя внутреннее кольцо, имеющее заднюю поверхность и расточку, которая открыта на задней поверхности; кольцевую прокладку, имеющую торцевую поверхность, обращенную к задней поверхности внутреннего кольца, и расточку, которая открыта на задней поверхности и выполнена с возможностью вмещения галтели на шейке, при этом кольцевая прокладка имеет паз, открытый в расточку и в направлении оси; причем в компенсационном кольце, расположенном между внутренним кольцом и кольцевой прокладкой, предусмотрен другой паз, также открытый в направлении оси; и кольцевой фиксатор, расположенный в кольцевой прокладке и в компенсационном кольце и перекрывающий пространство между пазами, при этом кольцевой фиксатор имеет ребра, выступающие в пазы, выполнен из эластичного материала и с возможностью отклонения к галтели, на которую устанавливается кольцевая прокладка для образования барьера для текучей среды с галтелью.
4. Подшипниковый узел по п.3 в комбинации с шейкой, имеющей галтель, при этом внутреннее кольцо подшипника окружает шейку, а кольцевая прокладка установлена на галтели, причем кольцевой фиксатор контактирует с галтелью и отклоняется наружу от оси галтелью для образования барьера для текучей среды вдоль галтели.
РИСУНКИ
|
|