|
|
(21), (22) Заявка: 2008137658/06, 21.02.2006
(24) Дата начала отсчета срока действия патента:
21.02.2006
(43) Дата публикации заявки: 27.03.2010
(46) Опубликовано: 27.07.2010
(56) Список документов, цитированных в отчете о поиске:
DE 3118764 A1, 17.03.1983. ЕР 0771396 A1, 07.05.1997. SU 1399527 A1, 30.05.1988. SU 909368 A, 28.02.1982. SU 1583670 A1, 07.08.1990.
(85) Дата перевода заявки PCT на национальную фазу:
22.09.2008
(86) Заявка PCT:
EP 2006/001538 20060221
(87) Публикация PCT:
WO 2007/095964 20070830
Адрес для переписки:
129090, Москва, ул.Б.Спасская, 25, стр.3, ООО “Юридическая фирма Городисский и Партнеры”, пат.пов. А.В.Мицу, рег. 364
|
(72) Автор(ы):
ХИРЛИНГ Ульрих (DE), КАЗИМИР Уте (DE)
(73) Патентообладатель(и):
ФЕСТО АГ УНД КО. (DE)
|
(54) ПНЕВМАТИЧЕСКАЯ СИСТЕМА ПРИВОДА
(57) Реферат:
Система предназначена для перемещения рабочего органа из одного положения в другое. В пневматической системе (1) привода движение ведомого узла (7) пневматического привода (2) управляется посредством распределительных клапанов (25, 26), подсоединенных к рабочим камерам (12, 13) пневматического привода (2). Распределительные клапаны (25, 26) содержат, по меньшей мере, одно положение (30) экономичного расхода воздуха и положение (29) большого усилия, задающее относительно предыдущего большее поперечное сечение потока. Благодаря средствам (36, 37) управления добиваются того, что распределительные клапаны (25, 26) в зависимости от давления воздуха, по меньшей мере, в одной рабочей камере (12, 13) переключаются из обычно занимаемого положения (30) экономичного расхода воздуха в положение (29) большого усилия, если выходная часть ведомого узла (7) механизма испытывает при своем движении повышенное сопротивление. Технический результат – экономия расхода воздуха. 14 з.п. ф-лы, 1 ил.
Изобретение относится к пневматической системе привода по меньшей мере с одним пневматическим приводом, имеющим корпус привода и ведомый узел, приводимый в движение относительно указанного корпуса посредством подачи сжатого воздуха, причем ведомый узел содержит ведомый поршень, отделяющий в корпусе привода друг от друга две рабочие камеры, одна из которых или обе для управления подачей сжатого воздуха подсоединены к распределительным клапанам, переключаемым между несколькими коммутационными положениями, среди которых имеется положение для экономичной подачи воздуха, задающее сечение дросселя.
Пневматическая система привода такого рода, известная из WO 02/14698 А1, используется в механизмах для пробивания корки при переработке алюминия. Она содержит пневматический привод, выполненный в виде цилиндра для пробивания корки, ведомый узел которого может выполнять колебательные рабочие движения, при которых он для пробивания возможно образовавшейся корки на время погружается в расплав алюминия. Отвечает за соответствующее рабочее движение клапан задания направления, управляющий подачей и удалением сжатого воздуха в двух рабочих камерах, разделяемых ведомым поршнем. Кроме того, в управлении подачей сжатого воздуха участвуют два распределительных клапана, включенных в соединение между клапаном задания направления и каждой из рабочих камер. Эти распределительные клапаны могут занимать различные коммутационные положения, причем одно коммутационное положение, разрешая прохождение воздуха, отвечает за рабочее движение. Для минимизации расхода воздуха это коммутационное положение выполнено как положение для экономной подачи воздуха, вследствие чего проход для среды имеет сечение дросселя, проток через который ограничен. Таким образом, степень заполнения подсоединенной рабочей камеры остается на минимально допустимом уровне. Если ведомый узел встречает алюминиевую корку и, следовательно, испытывает при своем движении повышенное сопротивление, в подсоединенной рабочей камере через сечение дросселя рабочее давление постепенно наращивается до тех пор, пока не будет достигнута необходимая пробивная сила. Наконец, т.е. в конце хода, для прекращения подачи сжатого воздуха в пневматический привод выходная часть механизма вызывает переключение распределительного клапана в запрещающее положение.
Из-за затрат времени, необходимого для наращивания давления в пневматическом приводе, в течение которого выходной части механизма приходится пробивать корку на поверхности расплава, в отдельных рабочих циклах время от времени возникают нерегулярные временные задержки.
Аналогичная установка описана в ЕР 0771396 В1. Правда, там в качестве альтернативной конструкции описывается также возможность отказа от установки дросселя в линиях управления. Однако это требует интенсивной подачи сжатого воздуха в рабочие камеры, что отрицательно сказывается на расходовании сжатого воздуха.
Важная задача данного изобретения состоит в том, чтобы предложить меры, допускающие сокращение временных циклов без чрезмерного перерасхода сжатого воздуха.
Для решения этой задачи предусмотрено, что распределительные клапаны в качестве дополнительного коммутационного положения имеют положение большого усилия, задающее большее поперечное сечение по сравнению с сечением дросселя, причем распределительные клапаны снабжены средствами управления, которые во время подачи сжатого воздуха в рабочие камеры управляют переключением распределительных клапанов, подсоединенных к этим рабочим камерам, в зависимости от давления воздуха по меньшей мере в одной рабочей камере таким образом, что происходит переключение из обычно занимаемого положения экономичного расхода воздуха в положение большого усилия, если и по меньшей мере пока ведомый узел испытывает при своем движении повышенное сопротивление.
Таким образом, ведомый узел работает в режиме экономии воздуха до тех пор, пока он не встретит при своем движении повышенного сопротивления. Благодаря действующему при этом сечению дросселя степень заполнения подсоединенных рабочих камер ограничивается минимумом, относящимся, следовательно, и к расходу воздуха. Однако как только намечается повышенное сопротивление движению выходной части механизма, распределительные клапаны, отвечающие за подачу давления в соответствующую рабочую камеру, в результате изменения давления в пневматическом приводе переключаются в положение большого усилия и благодаря увеличению поперечного сечения потока обеспечивают ускорение притока воздуха и тем самым быстрое повышение давления в подсоединенной рабочей камере. Это приводит к увеличению перестановочного усилия и к преодолению сопротивления движению ведомого узла. После уменьшения сопротивления движению распределительные клапаны могут снова возвратиться в положение экономичного расхода воздуха. Таким образом, увеличение расхода воздуха прекращается и происходит лишь в рабочей фазе, когда действительно требуется увеличение управляющего давления. В противном случае потребление воздуха остается на задросселированном нормальном уровне. Одновременно сокращается длительность циклов, поскольку время заполнения воздухом в положении большого усилия значительно короче, чем в положении экономии воздуха, постоянно выдерживаемом в соответствии с уровнем техники.
Описанные преимущества оказываются особенно существенными, если пневматическая система привода используется в качестве устройства для пробивания корки при изготовлении или переработке алюминия. Благодаря коротким рабочим циклам в этом случае экономия воздуха оказывается огромной. В то же время в случае необходимости лишь с небольшой временной задержкой оказывается возможным создание большего перестановочного усилия для того, чтобы, например, пробить алюминиевую корку или чтобы удалить налипший застывший алюминий. Кроме того, благодаря управлению посредством давления реализуется преимущество, заключающееся в том, что создание давления в рабочей камере, отвечающей за рабочее движение в данный момент, происходит с учетом изменчивости силы преодолеваемого сопротивления движению. Таким образом можно добиться того, что в фазе большого усилия в пневматический привод всегда подается столько сжатого воздуха, сколько его необходимо для преодоления сопротивления движению именно в данный момент.
Предпочтительные усовершенствованные варианты изобретения раскрываются в дополнительных пунктах формулы изобретения.
Хотя идея согласно изобретению может быть использована в приводах механизма вращения и поворота, особенно предпочтительной ее реализация является прежде всего в линейных приводах.
В случае по меньшей мере одного линейного привода речь идет, предпочтительно, о пневматическом цилиндре с поршневым штоком, используемом в качестве цилиндра устройства для пробивки корки. Однако его применение не ограничивается областью применения в качестве устройства для пробивки корки.
Средства управления распределительных клапанов, в частности, выполнены с возможностью управления процессом переключения в зависимости от того давления воздуха, которое действует в рабочей камере, подсоединенной к распределительным клапанам. При возникновении сопротивления движению это давление воздуха возрастает и вызывает переключение из положения экономичного расхода воздуха в положение большого усилия.
Коммутационное положение распределительных клапанов целесообразно задавать текущим положением элемента этих распределительных клапанов. На него в направлении положения экономичной подачи воздуха, предпочтительно, подается входное давление, имеющееся на входе распределительных клапанов. Выходное давление, имеющееся на выходе распределительных клапанов, т.е. со стороны подсоединенной рабочей камеры, действует на элемент распределительных клапанов противоположно в направлении положения большого усилия. Одновременно в этом же направлении действуют пружинные средства. Когда усилие пружин, а также перестановочное усилие под действием выходного давления в совокупности становятся больше перестановочного усилия под действием входного давления, происходит переключение в положение большого усилия. Если перестановочное усилие пружин регулируется, появляется возможность индивидуальной установки порога переключения.
Целесообразно, чтобы пружинные средства обеспечивали установку распределительных клапанов в положение большого усилия при отсутствии давления. Если, в частности, рабочее давление подается посредством предвключенного клапана задания направления, то посредством дросселя, включенного в канал подачи отводимого выходного давления, можно добиться временной задержки в создании усилия под действием выходного давления так, что распределительные клапаны сразу же займут положение экономичного расхода воздуха.
Другое преимущество может быть реализовано, если распределительные клапаны займут третье коммутационное положение, в котором поперечное сечение потока, предоставленное сжатому воздуху, будет меньше сечения дросселя. Назовем это коммутационное положение положением останова, поскольку оно действует в направлении надежного удержания ведомого узла в конце его хода. Положение останова распределительных клапанов действует в зависимости от позиции ведомого узла, когда он заканчивает или закончит свой ход. Переключение может осуществляться механически, например, посредством регулирующего органа в виде толкателя, взаимодействующего с ведомым узлом, а также электрически с использованием соответствующих позиционных датчиков. Сокращение поперечного сечения, имеющее место в положении останова, препятствует чрезмерному наполнению подсоединенной рабочей камеры и одновременно компенсирует возможные утечки так, что ведомый узел постоянно фиксируется и не выполняет никаких колебательных движений. Оптимальной считается форма выполнения, в которой поперечное сечение в положении останова имеет размер, который с учетом созданного рабочего давления устанавливает расход, по меньшей мере, по существу соответствующий утечке, происходящей в пневматическом приводе. Таким образом, степень заполнения подсоединенной рабочей камеры воздухом не повышается или повышается незначительно, хотя воздухопровод, как этого требует уровень техники, не запирается.
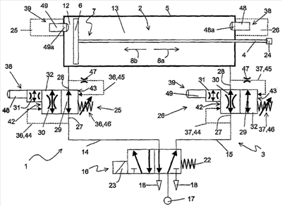
Ниже изобретение более подробно поясняется на основе приложенного чертежа. На чертеже изображена пневматическая система привода в виде упрощенной схемы предпочтительной формы выполнения, пригодной, в частности, для использования не только в устройстве для пробивки корки.
Пневматическая система привода, обозначенная в общем позицией 1, содержит по меньшей мере один пневматический привод 2, в случае которого речь идет, предпочтительно, о линейном приводе. Данный привод снабжен управляющим устройством, служащим для управления его работой, обозначенным в общем позицией 3.
Тип пневматического привода 2 в принципе может быть любым. Например, речь может идти о линейном приводе без поршневого штока. В качестве примера он выполнен в виде пневматического цилиндра, оснащенного поршневым штоком 4.
Пневматический привод 2 содержит корпус, обозначенный как корпус 5 привода и имеющий определенное продольное протяжение, причем внутри указанного корпуса расположен линейно перемещаемый ведомый поршень 6, который вместе с уже упоминавшимся поршневым штоком 4 объединен в подвижный узел, обозначенный как ведомый узел 7. Указанный ведомый узел 7 в ходе рабочего движения 8а, 8b выдвижения или задвижения линейно перемещается относительно корпуса 5 привода.
Ведомый поршень 6 делит внутреннее пространство корпуса 5 привода на заднюю первую рабочую камеру 12 и переднюю вторую рабочую камеру 13, через которую проходит поршневой шток 4.
Первая рабочая камера 12 соединена с первой линией 14 управления с текучей средой, а вторая рабочая камера 13 – со второй линией 15 управления с текучей средой. Обе эти линии 14, 15 управления с текучей средой также являются составной частью устройства 3 управления, как и клапан 16 задания направления, к которому обе линии управления 14, 15 присоединены своими концами, противолежащими относительно пневматического привода 2.
Для вызывания требуемого в момент времени рабочего движения 8а, 8b ведомого узла 7, посредством клапана 16 задания направления можно регулировать подачу сжатого воздуха в обе рабочие камеры 12, 13. Клапан 16 задания направления в зависимости от занимаемого им коммутационного положения может соединять одну (14) или другую линию (15) управления с источником 17 сжатого воздуха, в то время как по соответственно другой линии 15, 14 воздух одновременно удаляется в атмосферу 18. Источник 17 сжатого воздуха обеспечивает подачу сжатого воздуха под определенным рабочим давлением.
В случае клапана задания направления речь идет, например, о 5/2-ходовом клапане. За счет пружинного устройства 22 он устанавливается в исходное положение, показанное на чертеже, в котором вторая линия 15 управления присоединена к источнику 15 сжатого воздуха, а из первой линии 14 управления воздух удален. Посредством электрического или электромагнитного устройства 23 управления клапан 16 задания направления может переключаться в противоположное коммутационное положение.
В случае клапана 11 задания направления речь может идти о непосредственно управляемом клапане или клапане непрямого действия. Для реализации желательных функций он может состоять также из нескольких отдельных функционально связанных клапанов, например, из 3/2-ходовых клапанов.
В предпочтительном случае применения пневматический привод 2 выполнен в виде цилиндра устройства для пробивки корки. При этом в концевой части поршневого штока 4, расположенной за пределами корпуса 5 привода, установлен долбежный элемент 24, предназначенный для пробивки корки, образовавшейся на поверхности расплава алюминия или какого-либо другого металла. При этом пневматический привод 2 обычно встроен с вертикальным продольным расположением и с выступающим вниз поршневым штоком 4. При задвинутом ведомом узле 7 механизма – это состояние показано на чертеже – долбежный элемент 24 занимает положение над коркой материала на некотором удалении от нее. Для пробивки корки ведомый узел 7 для выполнения своего рабочего движения 8а приводится в действие в направлении выдвижения, при этом он, имея впереди долбежный элемент 24, погружается в расплав алюминия, пробивая при этом потенциально возможную корку.
К обеим рабочим камерам 12, 13 подсоединены первый и второй распределительные клапаны 25, 26, работающие независимо друг от друга. Первый распределительный клапан 25 включен в систему первой линии 14 управления, второй распределительный клапан 25 – в систему второй линии 15 управления. Они, в дополнение к клапану 16 задания направления, обеспечивают особо управляемую подачу сжатого воздуха в соответствующую подсоединенную рабочую камеру 12, 13.
Распределительные клапаны 25, 26 имеют входы 27, подсоединенные к клапану 16 задания направления, и выходы 28, подсоединенные к подлежащей управлению рабочей камере 12, 13.
Оба распределительных клапаны 25, 26 могут переключаться в различные коммутационные положения. При этом оба распределительных клапаны 25, 26 в порядке альтернативы могут занимать положение 29 большого усилия, положение 30 экономичного расхода воздуха и положение 31 останова. Показано рабочее состояние, при котором первый распределительный клапан 25 находится в положении большого усилия, а второй распределительный клапан 26 в положении экономичного расхода воздуха.
Предпочтительно оба распределительных клапаны 25, 26 выполнены каждый в виде распределительного клапаны, который имеет элемент 32 распределительного клапана, устанавливаемый по выбору в одно из трех коммутационных положений, изображенный на чертеже чисто символически. В случае элемента 32 распределительного клапана 32 речь может идти, например, о золотнике.
Общим для всех трех коммутационных положений является то, что они устанавливают пневматическую связь между клапаном 16 задания направления и подключаемыми рабочими камерами 12, 13. Отличие состоит лишь в величине открываемого поперечного сечения потока. Ни в одном коммутационном положении прохождение воздуха не перекрывается полностью.
Назовем поперечное сечение потока, открывающееся в положении 30 экономичного расхода воздуха, сечением дросселя. Оно меньше номинального поперечного сечения соответствующей подсоединенной линии 14, 15 управления и вызывает дросселирование проходящего через него сжатого воздуха. Если ведомый узел 7 может двигаться беспрепятственно, то на выходе 28 клапана появляется выходное давление, которое меньше подводимого рабочего давления и которое в качестве текущего рабочего давления действует также в подсоединенной рабочей камере 12, 13.
Поперечное сечение потока, открывающееся в положении 29 большого усилия, больше сечения дросселя. Оно обеспечивает, в частности, незадросселированное прохождение воздуха и, предпочтительно, соответствует номинальному поперечному сечению линий 14, 15 управления.
Наименьшее поперечное сечение потока имеет место в положении останова 31. Оно даже значительно меньше эффективного сечения дросселя в положении 30 экономичного расхода воздуха, о чем еще будет сказано ниже.
Оба распределительные клапаны 25, 26 снабжены первым и соответственно вторым средствами 36, 37 управления, работающими независимо друг от друга. Они отвечают за то, чтобы соответствующие распределительные клапаны 25, 26 занимали положение 29 большого усилия или положение 30 экономичного расхода воздуха. В то же время переключения в положение 31 останова они осуществить не могут.
За переключение в положение 31 останова ответственны первый и второй дополнительные средства 38, 39 управления, которые в отличие от первого и второго средств 36, 37 управления, работающих только в зависимости от давления, включаются и выключаются, предпочтительно, только в зависимости от линейного положения ведомого узла 7, причем они обладают приоритетом по отношению к первому и второму средствам 36, 37 управления. Когда ведомый узел 7 достигает положения, релевантного для переключения в положение 31 останова, процесс переключения происходит независимо от того, занимали ли распределительные клапаны 25, 26 до этого положение 29 большого усилия или положение 30 экономичного расхода воздуха.
Первое и второе средства 36, 37 управления могут управлять переключением соответствующих распределительных клапанов 25, 26 в зависимости от давления воздуха по меньшей мере в одной рабочей камере. Управление основывается, в частности, на том давлении, которое в данный момент действует в рабочей камере 12, 13, заполняемой сжатым воздухом, и которое в данном случае совпадает с давлением на выходе 28 клапана. Параметры, предпочтительно, определены таким образом, что обычно, если ведомый узел 7 может перемещаться беспрепятственно, действует положение 30 экономичного расхода воздуха, и благодаря этому происходит переключение в положение 29 большого усилия, если же ведомый узел 7 при своем рабочем движении 8а, 8b испытывает повышенное сопротивление, то тогда рабочее давление в рабочей камере 12, 13, заполняемой в данный момент сжатым воздухом, возрастает до заданного порогового значения переключения.
Для обеспечения процесса переключения особенно простым способом соответствующий элемент 32 распределительного клапана в примере осуществления снабжен двумя противоположно ориентированными поверхностями 42, 43 нагружения воздухом. Подача воздуха на первую поверхность 42 нагружения воздухом вызывает действие перестановочного усилия в направлении положения 30 экономичного расхода воздуха, подача воздуха на вторую поверхность 43 нагружения воздухом приводит к действию перестановочного усилия в направлении положения 29 большого усилия.
К первой поверхности 42 нагружения воздухом по первому каналу 44 подачи воздуха подводится входное давление, имеющееся на входе 27 клапана. По второму каналу 45 подачи воздуха ко второй поверхности 43 нагружения воздухом подводится выходное давление, имеющееся на выходе 28 клапана. Дополнительно предусмотрены пружинные средства 46, также оказывающие перестановочное усилие на элемент 32 распределительного клапана, действующее в направлении положения 29 большого усилия.
Перестановочное усилие пружинных средств 46 является, предпочтительно, регулируемым, что символически показано косой стрелкой.
В линию второго канала 45 подачи воздуха, предпочтительно, включен дросселирующий элемент 45, создающий на второй поверхности 43 нагружения воздухом усилие давления с временной задержкой.
Если вначале пренебречь положением 31 останова, то, в частности, возможен процесс работы пневматической системы 1 привода, показанный ниже.
Пояснение начинается с исходного положения при ведомом узле 7, максимально задвинутом в корпус 5 привода, и при системе без давления. Здесь оба распределительных клапана 25, 26, при отсутствии других средств 38, 39 управления, удерживаются усилием пружинных средств 46 в положении 29 большого усилия, обеспечивающем максимальный расход.
В результате клапан 16 задания направления при включенном источнике 17 сжатого воздуха переключается во второе коммутационное положение (не показано), так что в первую линию 14 управления подается сжатый воздух под рабочим давлением, в то время как из второй линии 15 управления воздух удаляется. Сжатый воздух, поступающий по первой линии 14 управления, проходит через первый распределительный клапан 25, находящийся в положении 29 большого усилия, и поступает на ведомый узел 7 для его выдвижения, так что он приводится в рабочее положение 8а для выдвижения. Сжатый воздух, выталкиваемый при этом из второй рабочей камеры 13 ведомым поршнем 6, поступает через второй распределительный клапан 26, удерживаемый пружинными средствами 26 в положении 29 большого усилия, обеспечивающем также полный расход, и через следующий за ним клапан 16 задания направления в атмосферу. Поскольку линия 15 управления находится под атмосферным давлением, коммутационное положение второго распределительного клапана 26 в фазе удаления воздуха не испытывает никакого воздействия.
Сразу же после подачи воздуха в первую линию 14 управления распределительный клапан 25 переключается в положение 30 экономичного расхода. Это происходит потому, что, несмотря на то, что рабочее давление, действующее до этого момента во всей первой линии 14 управления, может подводиться к первой поверхности 42 нагружения воздухом без ограничений, на вторую поверхность 43 нагружения воздухом из-за промежуточного включения дросселя 47 вначале действует лишь незначительное управляющее давление. Конструктивное исполнение рассчитано таким образом, что усилие сжатия, действующее на первую поверхность 42 нагружения воздухом в направлении положения экономичного расхода воздуха, оказывается больше суммы усилия сжатия, действующего на вторую поверхность 43 нагружения воздухом, и перестановочного усилия пружинных средств 46.
После переключения в положение 30 экономичного расхода воздуха под действием сечения дросселя устанавливается по сравнению с входным давлением незначительное выходное давление, которое действует также в подсоединенной первой рабочей камере 12, отвечая там за тяговое усилие ведомого узла 7.
Даже если через некоторое время во всем втором канале 45 нагружения воздухом устанавливается постоянное управляющее давление, первый распределительный клапан 25 продолжает оставаться в положении 30 экономичного расхода воздуха, поскольку параметры первого и второго средств 36, 37 управления выбраны таким образом, чтобы вышеупомянутое давление, максимально соответствующее выходному давлению клапана, вместе с пружинным средствами 46 в максимуме создавало перестановочное усилие, которое было бы меньше противодействующего усилия управления, основывающегося на входном давлении клапана.
Пока ведомый узел 7 не натолкнется на препятствие, он выдвигается при пониженном выходном давлении первого распределительного клапана 25, причем степень заполнения первой рабочей камеры 12 в соответствии с низким выходным давлением также относительно невелика.
Когда же ведомый узел 7 беспрепятственно достигает конца хода выдвижения, в результате переключения клапана 16 задания направления начинается движение в противоположном направлении, причем второй распределительный клапан 26 ведет себя так, как до этого вел себя первый распределительный клапан 25, а первый распределительный клапан 25 ведет себя так, как до этого вел себя второй распределительный клапан 26.
Однако режим работы изменяется, когда ведомому узлу 7 во время того или иного рабочего движения 8а, 8b противодействует повышенное сопротивление движению. При выдвижении это может быть обусловлено тем, что ведомый узел 7 своим долбежным элементом 24 наталкивается на пробиваемую корку материала. При задвижении такое сопротивление может быть обусловлено, например, застывшим материалом из тигеля, отложившимся на выдвинутом концевом участке поршневого штока 4.
В таком режиме рабочее давление в рабочей камере 12 или 13, в которую в данный момент подан сжатый воздух, поднимается. Скорость повышения давления зависит от величины поперечного сечения дросселя, открытого в положении 30 экономичного расхода воздуха.
Поскольку рабочее давление, поднимающееся в рабочей камере 12 или 13, к которой подводится сжатый воздух, через второй канал 45 подачи воздуха действует также на элемент 32 распределительного клапана, усилие пуска, действующее в направлении положения 29 большого усилия, в какой-то момент начинает превышать противоположно направленное исполнительное усилие, действующее на первую поверхность 42 нагружения воздухом. Пороговое значение переключения, определяющее момент переключения, поддается воздействию и задается путем взаимного согласования площадей обеих поверхностей 42, 43 нагружения воздухом, а также перестановочного усилия пружинных средств 46.
В типичном случае применения рабочее давление составляет 6 бар, из которого в положении 30 экономичного расхода давление в рабочей камере получается равным 2 барам, причем пороговое значение для переключения в положение 29 большого усилия составляет около 2,5 бара.
В результате переключения в положение 29 большого усилия подаваемому сжатому воздуху предоставляется существенно большее сечение потока. Вследствие этого рабочее давление в подсоединенной рабочей камере 12 или 13 за короткое время увеличивается до максимального рабочего давления, подводимого к распределительным клапанам 25, 26, так что к ведомому узлу 7 прикладывается значительно большее гидравлическое перестановочное усилие, благодаря чему он оказывается в состоянии преодолеть сопротивление движению, т.е., в данном случае, например, пробить корку материала.
Как только ведомый узел 7 при меньшем сопротивлении снова начинает двигаться, давление в рабочей камере в соответствии с динамикой системы, как правило, снова падает, так что в элементе 32 распределительных клапанов опять возникает результирующее исполнительное усилие, приводящее к переключению в положение 30 экономичного расхода воздуха, и происходит соответствующее обратное переключение в это положение.
Даже если распределительные клапаны 25, 26 после переключения в положение 29 большого усилия в ходе продолжающегося рабочего движения за счет динамики системы не могут более вернуться в положение 30 экономичного расхода воздуха, существенная выгода в смысле расхода воздуха продолжает оставаться, поскольку переключение в положение 30 экономичного расхода при отдельных рабочих движениях всегда происходит лишь в том случае, когда возникает повышенное сопротивление движению. Во многих случаях этого не происходит, так что здесь возможен режим в условиях полной реализации функции экономии расхода.
Другие преимущества вытекают из того, что распределительные клапаны 25, 26 обеспечивают уже упоминавшуюся дополнительную возможность переключения в положение 31 останова.
В этой связи другие средства 38, 39 управления выполнены таким образом, что они переводят распределительные клапаны 25 или 26, занятые в данные момент подачей сжатого воздуха в рабочую камеру 12 или 13, в положение 31 останова, обеспечивающее теперь существенное сокращение пропускной способности, когда ведомый узел 7 достигает конца хода или положения незадолго до его окончания. Этим переключением в зависимости от положения добиваются того, что в крайних положениях, когда ведомый узел 7 не может двигаться дальше, сжатый воздух может поступать в подсоединенную рабочую камеру 12 и 13 в еще более уменьшенных количествах до тех пор, пока не переключится клапан 16 задания направления.
Благодаря поддержанию подачи воздуха на постоянном уровне по сравнению с ее полным отключением может быть достигнуто большое преимущество, заключающееся в том, что возникающие в системе утечки компенсируются, а давление воздуха в заполняемой рабочей камере обычно никогда не опускается ниже порога, допускающего движения ведомого узла 7 относительно корпуса 5 привода.
Это особенно важно при работе в качестве цилиндра для пробивки корки, когда речь идет о надежном удержании задвинутого и, естественно, далеко выдвинутого ведомого узла 7 и о предотвращении даже самого минимального опускания.
Поперечное сечение распределительных клапанов 25, 26, открываемое в положении 31 останова, предпочтительно, выбирают с таким расчетом, чтобы допускаемый расход относительно действующего рабочего давления по меньшей мере по существу соответствовал утечке, происходящей в пневматическом приводе 2. Предпочтительно, чтобы допустимый расход был по меньшей мере равен расходу, происходящему за счет утечки, имеющей место, например, между ведомым поршнем 6 и корпусом 5 привода, или чтобы он был несколько больше него.
Для индикации того осевого положения ведомого узла 7, при котором должно произойти переключение распределительных клапанов 25, 26 в положение 31 останова, другие средства 38, 39 управления оснащены соответствующими пусковыми средствами 48, 49. Эти пусковые средства 48, 49, предпочтительно, находятся на корпусе 5 привода или внутри него, причем в примере осуществления они выполнены для осуществления чисто механического переключения распределительных клапанов 25, 26.
В целях механической активации они, предпочтительно, содержат по меньшей мере один соответствующий исполнительный элемент 48а, 49а в форме толкателя, который оказывается на пути движения ведомого узла 7, так что при достижении желательного положения переключения он подвергается воздействию и перемещается.
Предпочтительно, чтобы пусковые средства 48, 49 являлись непосредственными составными частями распределительных клапанов 25, 26. Это, особенно предпочтительно, позволяет устанавливать распределительные клапаны 25, 26 прямо на корпусе 5 привода или внутри него, как это показано штрихпунктиром на чертеже. Из соображений лучшей наглядности распределительные клапаны 25, 26 на чертеже изображены отдельно от корпуса 5 привода, а путем введения двух обозначений 48, 49 показано, какие пусковые средства 48, 49 к каким распределительным клапанам 25, 26 относятся.
Чисто механическое переключение имеет то преимущество, что можно отказаться от электрооборудования. Тем не менее, в качестве пусковых средств 48, 49 можно предусмотреть бесконтактные датчики, срабатывающие на индицируемое положение ведомого узла 7, которые при активации выдают электрически регистрируемый сигнал, на основании которого затем происходит электрическое переключение распределительных клапанов 25, 26 в положение 31 останова.
Здесь следует напомнить, что в принципе даже переключение между положением 29 большого усилия и положением 30 экономичного расхода воздуха может быть вызвано электрическими сигналами, если релевантные параметры давления будут восприниматься пневматическими выключателями или датчиками давления.
В сочетании с другими средствами 38, 39 управления даже при инициировании вышеописанного производственного процесса изменение происходит в том смысле, что ведомый узел 7 вначале некоторое время движется с пониженной скоростью, поскольку соответствующий распределительный клапан рабочей камеры, включенной на удаление воздуха, удерживается другими пусковыми средствами в положении 31 останова до тех пор, пока ведомый узел 7 не выйдет из диапазона срабатывания пусковых средств 48 или 49.
Пока ведомый узел 7 находится в диапазоне срабатывания пускового средства 48 или 49, соответствующие распределительные клапаны 25, 26 занимают положение 31 останова независимо от рабочих давлений в рабочих камерах 12, 13. Коммутационное положение в этом случае задается в зависимости от положения ведомого узла 7. Только за пределами этого диапазона срабатывания коммутационное положение распределительных клапанов 25, 26 управляется в зависимости от давления между положением 30 экономичного расхода воздуха и положением 29 большого усилия.
Как уже было показано, по меньшей мере оба распределительных клапана 25, 26 могут быть выполнены в качестве стандартных блоков с пневматическим приводом 2. Даже клапан 16 задания направления может быть составной частью этих стандартных блоков.
Пневматическая система 1 привода может содержать более одного пневматического привода 2, причем в этом случае каждый пневматический привод 2, предпочтительно, снабжен собственными первым и вторым распределительными клапанами 25, 26. В то же время клапан 16 задания направления в принципе может служить для одновременного управления несколькими пневматическими приводами 2, включенными параллельно.
В отличие от примера осуществления распределительные клапаны 25, 26, которыми снабжен пневматический привод 2, могут также просто присутствовать. В этом случае они, предпочтительно, включаются или в первую 14, или во вторую линию 15 управления в зависимости от того, какого направления движения потребует связанная с ними функциональность.
Формула изобретения
1. Пневматическая система привода, содержащая, по меньшей мере, один пневматический привод (2), имеющий корпус привода и ведомый узел (7), приводимый в движение относительно корпуса посредством подачи сжатого воздуха, причем ведомый узел (7) содержит ведомый поршень (6), отделяющий в корпусе (5) привода друг от друга две рабочие камеры (12, 13), одна из которых или обе подсоединены для управления подачей сжатого воздуха к распределительным клапанам (25, 26), выполненным с возможностью переключения в несколько коммутационных положений, среди которых имеется положение экономичной подачи воздуха, задающее сечение дросселя, отличающаяся тем, что распределительные клапаны (25, 26) в качестве дополнительного коммутационного положения имеют положение (29) большого усилия, задающее большее поперечное сечение потока по сравнению с указанным сечением дросселя, причем распределительные клапаны (25, 26) снабжены средствами (36, 37) управления, которые во время подачи сжатого воздуха в рабочие камеры (12, 13) управляют переключением распределительных клапанов (25, 26), подсоединенных к этим рабочим камерам (12, 13), в зависимости от давления воздуха, по меньшей мере, в одной рабочей камере (12, 13) таким образом, что происходит переключение из обычно занимаемого положения (30) экономичного расхода воздуха в положение (29) большого усилия, если и, по меньшей мере, пока ведомый узел (7) испытывает при своем движении повышенное сопротивление.
2. Система привода по п.1, отличающаяся тем, что, по меньшей мере, один пневматический привод (2) является линейным приводом.
3. Система привода по п.1 или 2, отличающаяся тем, что, по меньшей мере, один пневматический привод (2) представляет собой пневматический цилиндр, ведомый узел (7) которого содержит поршневой шток (4), выступающий из корпуса (5) привода с торцевой стороны.
4. Система привода по п.3, отличающаяся тем, что пневматический цилиндр представляет собой цилиндр для пробивки корки, на поршневом штоке (4) которого с торцевой стороны установлен долбежный элемент (24) для пробивки корки металлического расплава.
5. Система привода по одному из пп.1, 2 или 4, отличающаяся тем, что средства (36, 37) управления выполнены с возможностью управления переключением распределительных клапанов (25, 26) в зависимости от давления воздуха в рабочей камере (12, 13), подсоединенной к распределительным клапанам (25, 26).
6. Система привода по п.5, отличающаяся тем, что средства (36, 37) управления выполнены с возможностью переключения распределительных клапанов (25, 26) из занимаемого до этого положения (30) экономичного расхода воздуха в положение (29) большого усилия, если давление воздуха в рабочей камере (12, 13), подсоединенной к этим распределительным клапанам (25, 26), поднимется до заранее определенного порогового значения переключения.
7. Система привода по п.5, отличающаяся тем, что распределительные клапаны (25, 26) содержат элемент (32) распределительного клапана, определяющий своим положением, занимаемым в момент времени, коммутационное положение распределительных клапанов (25, 26), к которому подводится входное давление распределительных клапанов (25, 26) с воздействием в направлении положения (30) экономичного расхода воздуха, а их выходное давление с воздействием в направлении положения (29) большого усилия, и который в направлении положения (29) большого усилия дополнительно испытывает воздействие со стороны пружинных средств (46).
8. Система привода по п.7, отличающаяся тем, что пружинные средства (46) выполнены с возможностью регулирования их перестановочного усилия.
9. Система привода по п.7, отличающаяся тем, что в канал (45) подачи воздуха, подводящий к элементу (32) распределительных клапанов выходное давление, включен дроссель (47), создающий с временной задержкой усилие давления на элемент (32) распределительных клапанов.
10. Система привода по одному из пп.1, 2 или 4, отличающаяся тем, что распределительным клапанам (25, 26) со стороны входа предвключен клапан (16) задания направления, соединяемый или соединенный с источником (17) сжатого воздуха и выполненный, в частности, в виде 5/2-ходового клапана, выполненного с возможностью поочередного снабжения обеих рабочих камер (12, 13) в противоположных направлениях сжатым воздухом или удаления его из них.
11. Система привода по одному из пп.1, 2 или 4, отличающаяся тем, что распределительные клапаны (25, 26) в качестве дополнительного коммутационного положения имеют положение (31) останова, задающее по сравнению с указанным сечением дросселя (47) меньшее поперечное сечение, причем распределительные клапаны (25, 26) в зависимости от положения ведомого узла (7) снабжены дополнительными активируемыми средствами (38, 39) управления, выполненными с возможностью переключения в положение (31) останова, когда ведомый узел (7) при своем рабочем движении достигает конца хода или положения незадолго до его окончания.
12. Система привода по п.11, отличающаяся тем, что дополнительные средства (38, 39) управления содержат пусковые средства (48, 49), срабатывающие на заранее определенное положение ведомого узла (7) и вызывающие таким образом переключение в положение (31) останова.
13. Система привода по п.12, отличающаяся тем, что пусковые средства (48, 49) содержат, по меньшей мере, один исполнительный элемент (48а, 49а) предпочтительно в виде толкателя, который оказывается на пути движения ведомого узла (7).
14. Система привода по п.11, отличающаяся тем, что распределительные клапаны (25, 26) для задания своих коммутационных положений содержат элемент (32) распределительного клапана, устанавливаемый по выбору в одном из трех положений.
15. Система привода по п.11, отличающаяся тем, что поперечное сечение, открытое в положении (31) останова распределительных клапанов (25, 26), имеет размер, задающий расход, который, по меньшей мере, соответствует утечке, имеющей место в пневматическом приводе, и предпочтительно расположен в области этой утечки.
РИСУНКИ
|
|