|
|
(21), (22) Заявка: 2008148910/03, 12.12.2008
(24) Дата начала отсчета срока действия патента:
12.12.2008
(46) Опубликовано: 27.07.2010
(56) Список документов, цитированных в отчете о поиске:
RU 2220264 C1, 27.12.2003. RU 2327015 C2, 20.06.2008. RU 94045965 A1, 10.09.1996. RU 2225921 C1, 20.03.2004.
Адрес для переписки:
121108, Москва, ул. Кастанаевская, 42, кор.2, кв.27, В.В. Сеченову
|
(72) Автор(ы):
Сеченов Виталий Викторович (RU)
(73) Патентообладатель(и):
Сеченов Виталий Викторович (RU)
|
(54) НЕСЪЕМНАЯ ОПАЛУБКА
(57) Реферат:
Изобретение относится к наземному строительству, а именно к возведению железобетонных ограждений с использованием несъемной опалубки. Технический результат: простота конструкции, не требующая высокой квалификации рабочего, сокращение трудозатрат как на изготовление самой несъемной опалубки, так и на проведение работ по возведению ограждений из данной монолитной конструкции. Несъемная опалубка для возведения монолитных железобетонных ограждений содержит корпус, снабженный направляющими в виде рамы с центрирующим отверстием для установки на закрепляемую в фундаменте вертикальную трубу, размещенные на наружной поверхности корпуса соединительные элементы для установки двух оппозитно расположенных плит. В корпусе и между плит образовано пространство для дальнейшего размещения в нем арматуры и заполнения жидкотекучим материалом, способным к затвердеванию, при этом опалубка снабжена крышками, устанавливаемыми после заполнения образованного пространства поверх корпуса и двух оппозитно расположенных плит. 3 ил.
Несъемная опалубка относится к наземному строительству, а именно к возведению монолитных железобетонных ограждений с использованием несъемной опалубки.
Техническим результатом, достигаемым при реализации настоящего изобретения, является простота конструкции, сокращение трудозатрат на ее изготовление и возведение.
Наиболее близкие аналоги по совокупности существенных признаков к заявляемому изобретению неизвестны.
Указанный результат достигается тем, что несъемная опалубка содержит корпус, который устанавливается на заранее подготовленный фундамент с трубами (арматурой) при помощи направляющих, крышку для корпуса, две оппозитно расположенные плиты, которые крепятся к корпусу при помощи соединительных элементов, и крышку для плит. Внутреннее пространство корпуса и образующие между собой пространство плиты, заполняются арматурой и жидкотекучим материалом, способным к затвердеванию.
Элементы опалубки могут быть выполнены из материала устойчивого к воздействию климатических условий окружающей среды с возможным нанесением декоративной наружной отделки, не требующей дополнительной обработки.
Изобретение позволяет значительно расширить ассортимент конструкций, т.к. предлагаемая конструкция позволяет выпускать ограждения с широким диапазоном размеров и форм.
Внутреннее пространство опалубки можно использовать для установки инженерных коммуникаций (электропроводки освещения и охранных систем, водоснабжения). На наружную поверхность опалубки могут быть установлены инженерные и декоративные элементы (фонари, устройства полива, цветники).
Предлагаемая несъемная опалубка для возведения ограждений поясняется графически следующими чертежами:
на фиг.1 представлен корпус,
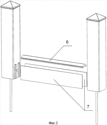
на фиг.2 показано соединение корпуса и плит,
на фиг.3 изображена опалубка в сборе.
Несъемная опалубка состоит из корпуса 1 и крышки для корпуса 2, направляющих для корпуса 3, плит 7, крышки для плит 6 и соединительных элементов 4 для монтажа корпуса и плит.
Корпус 1 выполнен в виде параллелепипеда, однако может быть выполнен любой формы. Направляющие 3 для корпуса сделаны в виде рамы с центрующим отверстием для установки на трубу 5. Крепление корпуса 1 и плит 7 осуществляется за счет соединительных элементов 4, которые устанавливаются на наружной поверхности корпуса.
Способ возведения железобетонных ограждений с использованием несъемной опалубки состоит в следующем. Вначале по общепринятой технологии заливают фундамент. В залитый фундамент устанавливают и закрепляют арматуру, в частности вертикальные трубы 5. Затем после застывания фундамента устанавливают корпус 1 при помощи направляющих 3. Затем на внешние поверхности корпусов крепят механическим путем (саморезами) соединительные элементы 4, на которые устанавливают две плиты 7. После установки корпусов 1 и плит 7, во внутреннее пространство которых устанавливают арматуру и заливают жидкотекучий материал (бетон), и после этого завершающим этапом является установка крышек 2 и 6. Таким образом, предлагаемая конструкция опалубки представляет собой несъемную опалубку.
В некоторых случаях внутреннее пространство опалубки может быть заполнено сыпучим материалом. В этом случае ограждение будет представлять собой сборно-разборную конструкцию, что позволит использовать опалубку многократно.
Приведенные положительные свойства свидетельствуют о достижении технического эффекта от реализации изобретения, т.к. предлагаемая несъемная опалубка позволит уменьшить трудозатраты и себестоимость ее производства и монтажа, упростить собственно сам монтаж, использовать при строительстве низкоквалифицированную рабочую силу.
Формула изобретения
Несъемная опалубка для возведения монолитных железобетонных ограждений, содержащая корпус, снабженный направляющими в виде рамы с центрирующим отверстием для установки на закрепляемую в фундаменте вертикальную трубу, размещенные на наружной поверхности корпуса соединительные элементы для установки двух оппозитно расположенных плит, при этом в корпусе и между плит образовано пространство для дальнейшего размещения в нем арматуры и заполнения жидкотекучим материалом, способным к затвердеванию, при этом опалубка снабжена крышками, устанавливаемыми после заполнения образованного пространства поверх корпуса и двух оппозитно расположенных плит.
РИСУНКИ
|
|