|
|
(21), (22) Заявка: 2008103035/03, 29.06.2006
(24) Дата начала отсчета срока действия патента:
29.06.2006
(30) Конвенционный приоритет:
01.07.2005 FR 0507021 05.10.2005 FR 0510173
(43) Дата публикации заявки: 10.08.2009
(46) Опубликовано: 27.07.2010
(56) Список документов, цитированных в отчете о поиске:
US 2726406 A, 13.12.1955. RU 2003117796 A, 10.12.2004. US 3229854 A, 18.01.1966.
(85) Дата перевода заявки PCT на национальную фазу:
01.02.2008
(86) Заявка PCT:
FR 2006/001528 20060629
(87) Публикация PCT:
WO 2007/003772 20070111
Адрес для переписки:
191036, Санкт-Петербург, а/я 24, “НЕВИНПАТ”, пат.пов. А.В.Поликарпову
|
(72) Автор(ы):
АЛЛАР Жиль (FR), СОЛЛЬ Мишель (FR)
(73) Патентообладатель(и):
АЛЛАР Жиль (FR), СОЛЛЬ Мишель (FR)
|
(54) ДОЗАТОР ОЧИЩАЮЩЕГО ВЕЩЕСТВА ДЛЯ СМЫВНОГО БАЧКА
(57) Реферат:
Изобретение относится к области санитарной техники. Устройство для дозирования заданного количества жидкого очищающего вещества в резервуар смывного устройства туалета во время срабатывания последнего содержит: дозирующую полость, объем (V) которой близок к объему (V+v) подлежащего выдаче вещества, первое средство для обеспечения связи этой полости с контейнером для хранения упомянутого вещества, второе средство для обеспечения контролируемой связи этой полости с резервуаром смывного устройства туалета. Причем перепад давлений на первом средстве по меньшей мере в пять раз больше перепада давления на втором средстве. Кроме того, устройство содержит: вентиляционное отверстие для обеспечения связи упомянутой полости с внешней средой, перекрывающие элементы второго средства, управляемые устройством, которое установлено таким образом, что оно плавает на поверхности воды, содержащейся в резервуаре смывного устройства, и которое предназначено для их перекрывания во время фазы ожидания смывного устройства туалета и для их открывания во время срабатывания смывного устройства. Технический результат заключается в повышении точности дозирования очищающего вещества. 14 з.п. ф-лы, 7 ил.
Изобретение относится к устройству или конструкции, предназначенной для осуществления дозирования заданного количества жидкого очищающего вещества в смывной бачок.
Известно, что смывное устройство туалета, а также бачок, в котором оно служит для подачи смывной воды, представляют собой место образования различных загрязняющих веществ, таких как, в частности, известковое отложение и различные микроорганизмы.
Также было установлено, что в зависимости от жесткости используемой воды количество минеральных отложений, образующихся в смывном устройстве и в бачке, изменяется и что в некоторых случаях после длительной эксплуатации эти отложения становятся весьма нежелательными, приводя иногда просто к полному засорению смывных устройств. Кроме того, образование минеральных отложений в бачке, во-первых, отрицательно сказывается на внешнем виде последнего, а во-вторых, в частности, из-за пористости известкового отложения способствует задерживанию в упомянутом бачке элементов органических веществ, которые могут проходить через последний.
В отношении микроорганизмов, которые появляются как в бачке, так и в резервуаре самого смывного устройства туалета, следует помнить, что их появление может быть источником многочисленных неудобств, в частности неприятных запахов.
Поэтому были предложены различные средства для осуществления очистки как бачка, так и резервуара смывного устройства туалета. Для этого были предложены очищающие вещества в твердом виде, у которых при каждом срабатывании смывного устройства в промывочной воде последнего растворяется определенное количество этого вещества. Установлено, что такие устройства имеют невысокую эффективность и что их эффективность к тому же уменьшается по мере растворения твердого вещества.
Также были предложены жидкие очищающие вещества, подаваемые устройствами, установленными либо внутри резервуара смывного устройства туалета, либо внутри самого бачка, и которые при каждом срабатывании последнего подают определенное количество очищающей жидкости внутрь последнего вместе с водой, сбрасываемой смывным устройством, также очищая внутреннюю полость бачка.
В патенте Франции FR 2808897 предложено устройство, содержащее контейнер для хранения очищающего вещества, нижняя часть которого заканчивается трубчатым элементом, выходящим в полость, внутри которой установлен подвижный сферический перекрывающий элемент, прикрепленный к поплавку, установленному таким образом, что он плавает на поверхности воды в смывном устройстве. Таким образом, когда резервуар последнего заполнен, поплавок прижимает сферический перекрывающий элемент к основанию трубчатого элемента, тем самым перекрывая выход очищающему веществу. И наоборот, когда смывное устройство срабатывает, то уровень воды в резервуаре смывного устройства снижается, вследствие чего сферический перекрывающий элемент позволяет веществу вытекать внутрь полости и перекрывает основание последней таким образом, что упомянутая полость при этом заполняется некоторым количеством очищающего вещества. Когда резервуар смывного устройства заполняется, поплавок поднимает сферический перекрывающий элемент, тем самым позволяя веществу, содержащемуся в полости внутри резервуара, вытекать, и через определенное время, когда уровень воды в последнем становится достаточным, сферический перекрывающий элемент перекрывает поток очищающего вещества. Недостаток этого типа устройства состоит в том, что в промежуточном положении сферического перекрывающего элемента очищающее вещество не имеет препятствий для вытекания непосредственно из контейнера для хранения в резервуар смывного устройства. При этом количество очищающего вещества, поданного таким образом, зависит в основном от времени поднятия сферического перекрывающего элемента из своего нижнего положения в свое верхнее положение, а не от объема полости контейнера для хранения. Здесь же случается, что время поднятия не является фиксированным, поскольку оно зависит от состояния определенного количества деталей устройства, от давления воды, подаваемой смывным устройством, от высоты уровня вещества в его контейнере для хранения и так далее.
Таким образом, при помощи устройств такого типа невозможно обеспечить точность подачи и повторяемость отмеривания очищающего вещества при каждом срабатывании смывного устройства.
Были также предложены устройства наподобие выдвижного ящика, такие как описаны в патенте Франции FR 2618470, в которых очищающее вещество содержится в контейнере для хранения, снизу которого расположен подвижный перекрывающий элемент, который скользит вертикально под действием поплавка, который управляется уровнем воды, содержащейся в смывном устройстве. Когда смывное устройство заполнено, поплавок перемещает перекрывающий элемент в верхнее положение, а когда смывное устройство опорожняется, поплавок перемещает перекрывающий элемент вниз в нижнее положение. Этот перекрывающий элемент сконструирован таким образом, что в верхнем положении хранимая жидкость имеет возможность поступать в полость последней, а ее нижняя часть перекрыта, тогда как в нижнем положении нижняя часть перекрывающего элемента сообщается с внутренней полостью резервуара смывного устройства, а верхняя часть перекрыта. Таким образом, когда перекрывающий элемент находится в верхней части, то жидкость из контейнера для хранения поступает в перекрывающий элемент, и когда поплавок находится в нижнем положении, то объем содержащегося в перекрывающем элементе вещества не имеет препятствий для вытекания в резервуар смывного устройства. Однако устройства этого типа, подобно упомянутым выше, имеют недостаток, который состоит в том, что в промежуточном положении перекрывающего элемента контейнер для хранения, содержащий очищающую жидкость, напрямую соединен с внутренней полостью резервуара смывного устройства, а время этого соединения напрямую зависит от времени, необходимого для заполнения последнего.
Устройство, предложенное в патенте США 2726406, содержит контейнер для хранения, содержащий подлежащее дозированию дезинфицирующее вещество и прикрепленный у своего основания к выходному отверстию, которое может перекрываться клапаном, прикрепленным к поплавку. Таким образом, на первой стадии, когда срабатывает смывное устройство, уровень воды в резервуаре снижается и становится недостаточным для поднятия поплавка таким образом, чтобы клапан при этом перекрыл выход из контейнера для хранения. Затем – на второй стадии – вода поднимается в резервуаре и поднимает поплавок, таким образом перемещая клапан со своего посадочного места и позволяя дезинфицирующему веществу вытекать в резервуар. И наконец – на третьей стадии – уровень воды в резервуаре продолжает подниматься таким образом, что – в соответствии с утверждениями заявителя – когда уровень воды достигает клапана, то вода сама по себе осуществляет перекрывание потока вещества. Очевидно, что такое устройство также имеет недостатки, наблюдаемые в других упомянутых устройствах, известных в данной области техники, а именно – количество подаваемого вещества зависит от времени заполнения смывного резервуара.
Целью настоящего изобретения является создание устройства, которое предназначено для подачи точного количества очищающих веществ и в котором время заполнения резервуара смывного устройства туалета очень мало зависит от количества подаваемого жидкого вещества.
Исходя из этого предметом настоящего изобретения является устройство для дозирования заданного количества жидкого очищающего вещества в резервуар смывного устройства туалета во время срабатывания последнего, отличающееся тем, что оно содержит:
– по меньшей мере одну дозирующую полость, объем которой близок к объему подлежащего выдаче вещества;
– первое средство для обеспечения связи этой полости с контейнером для хранения упомянутого вещества;
– второе средство для обеспечения контролируемой связи этой полости с резервуаром смывного устройства туалета, причем перепад давлений на первом средстве по меньшей мере в пять раз больше перепада давления на втором средстве;
– вентиляционное отверстие для обеспечения связи упомянутой полости с внешней средой;
– перекрывающие элементы второго средства, управляемые устройством, которое установлено таким образом, что оно плавает на поверхности воды, содержащейся в резервуаре смывного устройства, и которое предназначено для их перекрывания во время фазы ожидания смывного устройства туалета и для их открывания во время срабатывания последнего.
В одном из вариантов осуществления настоящего изобретения дозирующая полость расположена внутри вертикального цилиндрического стержня, проходящего через контейнер для хранения вещества. Дозирующая полость предпочтительно расположена ниже контейнера для хранения, таким образом предоставляя возможность использования полного объема последнего.
По данному изобретению первое средство для обеспечения связи дозирующей полости с контейнером для хранения может быть выполнено в виде заборного отверстия.
В одном из вариантов осуществления дозирующая полость закрыта в своей нижней части пробкой, сквозь которую проходит выходной канал, поперечное сечение которого по меньшей мере в пять раз больше заборного отверстия.
Перекрывающие элементы могут быть выполнены в виде клапана, работа которого управляется упомянутым устройством, плавающим на поверхности воды, содержащейся в резервуаре смывного устройства. Этот клапан может быть установлен таким образом, что он осуществляет поступательное или вращательное перемещение.
По данному изобретению также возможно предусмотреть средства, предназначенные для обеспечения связи дополнительного резервуара с дозирующей полостью таким образом, что объем (V+V’+v) подаваемого вещества увеличивается.
И наконец, для повышения равномерности подачи вещества упомянутое устройство, прикрепленное к поплавку, может быть выполнено пустотелым в своей верхней части, с полостью, предназначенной для помещения вещества, выдаваемого при помощи перекрывающих элементов, и от которой простираются каналы, предназначенные для распространения упомянутого вещества по поверхности поплавка.
Для облегчения наполнения контейнера для хранения верхняя часть последнего может сообщаться с внешним заправочным бачком, выполненным с возможностью закрывания крышкой.
Резервуар смывного устройства туалета может содержать по меньшей мере два отверстия для подачи воды, одно из которых использовано для закрепления контейнера для хранения в резервуаре, причем это отверстие также используется для обеспечения сообщения контейнера для хранения с внешним заправочным бачком.
Далее описаны различные варианты осуществления данного изобретения, представляющие собой примеры, не ограничивающие объем настоящего изобретения, со ссылками на прилагаемые фигуры, на которых:
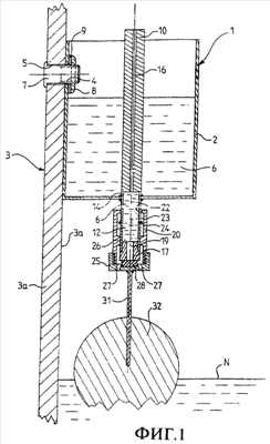
Фиг.1 представляет собой местный вертикальный разрез устройства по данному изобретению, прикрепленного к внутренней стенке резервуара смывного устройства туалета и показанного в положении, готовом к выполнению смывания.
Фиг.2 представляет собой местный вертикальный разрез устройства по данному изобретению, показанного на Фиг.1, в положении во время срабатывания смывного устройства.
Фиг.3а и Фиг.3b представляют собой местный разрез одного из вариантов осуществления закупоривающего средства, показанного на Фиг.1 и Фиг.2.
Фиг.4 и Фиг.5 представляют собой местные разрезы двух вариантов осуществления данного изобретения.
Фиг.6 представляет собой местный вертикальный разрез средства внешнего управления заполнением устройства по данному изобретению очищающим веществом.
Фиг.7 представляет собой местный вертикальный разрез средства, предназначенного для обеспечения равномерности подачи очищающего вещества внутрь резервуара смывного механизма.
На Фиг.1 и Фиг.2 показано устройство 1 по данному изобретению, которое содержит цилиндрический контейнер 2 для хранения, который прикреплен к внутренней поверхности стенки 3а резервуара 3 смывного устройства туалета. При этом в боковой стенке контейнера 2 для хранения выполнено отверстие 4, причем через это отверстие, а также через соответствующее отверстие 5 в стенке 3а проходит винтовой крепежный элемент 7, закрепленный гайкой 8 с уплотнительной шайбой 9.
В осевом направлении через контейнер 2 для хранения проходит трубчатый цилиндрический стержень 10, нижняя часть которого заканчивается полостью 12, объем V которой приблизительно соответствует объему вещества 6, содержащемуся в контейнере 2. Полость 12 закрыта в своей нижней части пробкой 17, сквозь которую проходит осевой продольный канал 19 диаметром D. Полость 12 сообщается с внутренней полостью контейнера 2 для хранения через отверстие 14, диаметр которого d значительно меньше, чем диаметр D. Этот диаметр предпочтительно является таким, что объем жидкого вещества 6, проходящего через отверстие 14 за время, необходимое для заполнения резервуара смывного устройства, невелик по сравнению с объемом V полости 12. Таким образом, для объема V=2 см3 можно иметь диаметр d=0,6 мм при диаметре выходного отверстия полости 12 D=6 мм.
Через трубчатый стержень 10 проходит продольный канал 16, обеспечивающий связь внутреннего объема V полости 12 с атмосферой, таким образом выполняя функцию вентиляционного отверстия.
Выходное отверстие канала 19 закрывается перекрывающим устройством, управляемым поплавком, установленным с возможностью плавания на поверхности воды внутри резервуара 3 смывного устройства.
Точнее, это перекрывающее устройство содержит цилиндр 20, в котором со стороны верхней части выполнено отверстие 22, расширяющееся внутри в виде полости 23, причем диаметры последней и отверстия 22 таковы, что цилиндр 20 может быть надет на уплотнительное кольцо 24, которое размещено в кольцевой канавке цилиндрического стержня 10 и которое имеет упор. Полость 23 имеет кольцевую контактную часть 26, которая выполняет функцию направляющей для скольжения цилиндра 20 на цилиндрическом стержне 10. Нижняя часть цилиндра 20 имеет внешнюю резьбу, на которую навинчена цилиндрическая крышка 25, внутренняя поверхность которой имеет углубление для размещения перекрывающего клапана 28. Кроме того, снизу крышки 25 выполнены несколько выходных отверстий 27, общая площадь которых значительно больше, чем отверстия канала 19. Крышка 25 продолжается вниз в осевом направлении рычагом 31, соединенным с поплавком 32.
При этом работа устройства по данному изобретению осуществляется так, как описано ниже.
Когда устройство находится в положении, показанном на Фиг.1, уровень N воды внутри резервуара 3 смывного устройства таков, что поплавок 32 прижимает клапан 28 к выходу канала 19, таким образом перекрывая последний. В этом положении жидкое очищающее вещество, содержащееся в контейнере 2 для хранения, вытекает через отверстие 14, выполненное в цилиндрическом стержне 10, в полость 12, выдавливая воздух, содержащийся в последней, через вентиляционное отверстие 16. Поскольку диаметр d отверстия 14 невелик и составляет, например, порядка 0,6 мм, то время заполнения полости 12 относительно велико, что фактически не является ограничением при условии, если оно соответствует периоду, в течение которого смывным устройством туалета не пользуются.
Когда пользуются смывным устройством туалета, то уровень воды в резервуаре смывного устройства резко падает, из-за чего поплавок 32 и цилиндр 20 опускаются под действием собственного веса, открывая выходное отверстие канала 19. В результате жидкое очищающее вещество, содержащееся в полости 12 объема V, быстро вытекает сначала через канал 19, а затем через выходные отверстия 27, которые благодаря своей относительно большой площади (порядка 20 мм2) позволяют быстрое опорожнение упомянутой полости.
Таким образом, например, если полость 12 имеет объем 2 см3, а отверстие 14 имеет диаметр d, равный 0,6 мм, и при времени заполнения резервуара смывного устройства туалета 12 с (это время фактически соответствует времени, необходимому для того, чтобы уровень N воды в резервуаре смывного устройства достиг поплавка 32), что является средней величиной, то объем v, проходящий через отверстие 14, составит приблизительно 0,1 см3, что является малой величиной по сравнению с объемом V полости 12, а общий объем подаваемого вещества V+v при этом равен 2+0,1 см3. Очевидно, что при этих условиях изменение начальных факторов, под воздействием которых время заполнения резервуара смывного устройства изменяется лишь до такой степени, что они действуют только в пределах объема v, который невелик по сравнению с объемом полости V, имеет только незначительное влияние на общий объем подаваемого вещества.
Разумеется, что могут быть использованы и другие устройства, которые могут быть в равной степени пригодны для перекрывания выходного отверстия канала 19, выполненного в цилиндрическом стержне 10.
Как показано на Фиг.3а и Фиг.3b, к пробке 17 прикреплены два опорных кронштейна 36, на которых шарнирно закреплена пластина 37 с возможностью поворачивания вокруг оси 38. Пластина 37 имеет углубление для размещения клапана 39 таким образом, что клапан может перекрывать выход канала 19, когда он прижат к пробке 17 (Фиг.3а), а с другой стороны – может открывать его, когда пластина поворачивается вниз (Фиг.3b). Положение пластины 37 управляется поплавком 40, который присоединен снизу к ней при помощи рычага 41. Очевидно, что при этих условиях в зависимости от уровня N воды, содержащейся в резервуаре смывного устройства, поплавок 40 управляет закрыванием или открыванием выхода канала 19.
Для того чтобы обеспечить возможность изменения объема V дозирующей полости 12 по желанию, возможно добавление к ней дополнительных объемов V, V” и так далее.
Для этого на Фиг.4 в элементе 12а стенки полости 12 выполнены два резьбовых отверстия, которые при нормальной эксплуатации закрыты пробками. Когда же необходимо увеличить объем V+v подаваемого вещества, эти пробки удаляют и вместо них при помощи крепежных элементов, не показанных на фигурах, устанавливают наконечники 42а и 42b, расположенные соответственно в верхней и нижней частях дополнительного резервуара 44 объемом V. При этом объем подаваемого средства будет составлять V+V’+v.
Для обеспечения равномерности подачи очищающего вещества 6, подаваемого в воду, содержащуюся в резервуаре смывного устройства, также возможно, как показано на Фиг.5, выполнить пустотелой верхнюю часть поплавка 32 объемом 45 для помещения подаваемого вещества, а также выполнить каналы 46, простирающиеся вниз от этой полости, тем самым распространяя поданное вещество по всей поверхности вокруг упомянутого поплавка.
В случае, если действие перекрывания осуществляется несимметричным механизмом, как показано на Фиг.3а, Фиг.3b и Фиг.7, также возможно наклонить ось zz’ поплавка 32 таким образом, что пластина 37 направляет очищающее вещество из выходного отверстия канала 19 в полость 45.
Также возможно обеспечить заполнение контейнера 2 для хранения без необходимости сначала поднимать крышку 3b резервуара 3 смывного устройства. При этом в варианте осуществления изобретения, показанном на Фиг.6, с одной из сторон резервуара 3 расположен внешний контейнер 50, образующий воронку, закрытую крышкой 51. В этом варианте осуществления в вертикальной стенке выполнено отверстие 54, в которое проходит трубка 55 с резьбой, которая также проходит через отверстие 5 резервуара 3 и отверстие 4 контейнера 2 для хранения, причем этот узел закреплен гайками 56 с использованием соответствующих уплотнительных прокладок. Видно, что для заполнения контейнера 2 для хранения достаточно поднять крышку 51 и залить очищающее вещество в контейнер 50, образующий воронку.
Если резервуар смывного устройства туалета имеет отверстия для подачи воды, расположенные таким образом, что они не совпадают с креплениями дозирующего устройства по данному изобретению внутри резервуара, то возможно использовать средства, которые предоставляют возможность его прикрепления к внутренним стенкам резервуара. Эти средства прикрепления могут, в частности, быть выполнены в виде двух прижимных механизмов, действующих в разных направлениях и закрепленных на противоположных стенках резервуара смывного механизма, а контакт между прижимными механизмами и упомянутыми стенками предпочтительно осуществляется при помощи вакуумных присосок.
Формула изобретения
1. Устройство для дозирования заданного количества жидкого очищающего вещества (6) в резервуар (3) смывного устройства туалета во время срабатывания последнего, отличающееся тем, что оно содержит: по меньшей мере одну дозирующую полость (12), объем (V) которой близок к объему (V+v) подлежащего выдаче вещества, первое средство (14) для обеспечения связи этой полости (12) с контейнером (2) для хранения упомянутого вещества (6), второе средство (19) для обеспечения контролируемой связи этой полости (12) с резервуаром (3) смывного устройства туалета, причем перепад давлений на первом средстве (14) по меньшей мере в пять раз больше перепада давления на втором средстве (19), вентиляционное отверстие (16) для обеспечения связи упомянутой полости (12) с внешней средой, перекрывающие элементы (28, 39) второго средства (19), управляемые устройством (32), которое установлено таким образом, что оно плавает на поверхности (N) воды, содержащейся в резервуаре (3) смывного устройства, и которое предназначено для их перекрывания во время фазы ожидания смывного устройства туалета и для их открывания во время срабатывания смывного устройства.
2. Устройство по п.1, отличающееся тем, что дозирующая полость (12) расположена внутри вертикального цилиндрического стержня (10), проходящего через контейнер (2) для хранения.
3. Устройство по п.1, отличающееся тем, что дозирующая полость (12) расположена ниже контейнера (2) для хранения.
4. Устройство по п.1, отличающееся тем, что первое средство для обеспечения связи дозирующей полости (12) с контейнером (2) для хранения выполнено в виде заборного отверстия (14).
5. Устройство по п.1, отличающееся тем, что дозирующая полость (12) закрыта в своей нижней части пробкой (17), сквозь которую проходит выходной канал (19), поперечное сечение которого по меньшей мере в пять раз больше заборного отверстия (14).
6. Устройство по п.1, отличающееся тем, что перекрывающие элементы выполнены в виде клапана (28, 39), работа которого управляется упомянутым плавающим устройством (32).
7. Устройство по п.6, отличающееся тем, что клапан (28, 39) установлен таким образом, что он осуществляет поступательное перемещение.
8. Устройство по п.6, отличающееся тем, что клапан (28, 39) установлен таким образом, что он осуществляет вращательное перемещение.
9. Устройство по п.1, отличающееся тем, что оно содержит средства, предназначенные для обеспечения связи дополнительного резервуара (44) с дозирующей полостью (12) таким образом, что объем (V+V’+v) подаваемого вещества (6) увеличивается.
10. Устройство по п.1, отличающееся тем, что упомянутое устройство, прикрепленное к поплавку (32), выполнено пустотелым в своей верхней части с полостью (45), которая предназначена для помещения вещества, выдаваемого при помощи перекрывающих элементов (28, 39), и от которой простираются каналы (46), предназначенные для распространения упомянутого вещества по поверхности поплавка.
11. Устройство по п.1, отличающееся тем, что верхняя часть контейнера (2) для хранения сообщается с внешним заправочным бачком (50), выполненным с возможностью закрывания крышкой (51).
12. Устройство по п.1, отличающееся тем, что резервуар (3) смывного устройства туалета содержит по меньшей мере два отверстия для подачи воды, одно из которых использовано для закрепления контейнера (2) для хранения в резервуаре.
13. Устройство по п.12, отличающееся тем, что отверстия для подачи воды, использованные для закрепления контейнера (2) для хранения также выполнены с возможностью обеспечения сообщения контейнера для хранения с внешним заправочным бачком (50).
14. Устройство по п.1, отличающееся тем, что оно содержит средства для прикрепления к внутренним стенкам резервуара (3) смывного устройства.
15. Устройство по п.14, отличающееся тем, что элементы для прикрепления выполнены в виде двух гидравлических цилиндров, действующих в разных направлениях и закрепленных на противоположных стенках смывного резервуара, а контакт между гидравлическими цилиндрами и упомянутыми стенками осуществляется при помощи вакуумной присоски.
РИСУНКИ
|
|