|
|
(21), (22) Заявка: 2007138037/09, 15.03.2006
(24) Дата начала отсчета срока действия патента:
15.03.2006
(30) Конвенционный приоритет:
15.03.2005 US 60/662,176 21.06.2005 US 11/158,584
(43) Дата публикации заявки: 20.04.2009
(46) Опубликовано: 20.07.2010
(56) Список документов, цитированных в отчете о поиске:
US 2001/053695 A1, 20.12.2001. RU 2120183 C1, 10.10.1998. RU 2003113325 A1, 20.11.2004. EP 1320276 A1, 18.06.2003. EP 0889663 A1, 07.01.1999. US 2003/123425 A1, 03.07.2003. GB 2378858 A, 19.02.2003.
(85) Дата перевода заявки PCT на национальную фазу:
15.10.2007
(86) Заявка PCT:
US 2006/009550 20060315
(87) Публикация PCT:
WO 2006/099547 20060921
Адрес для переписки:
129090, Москва, ул. Б.Спасская, 25, стр.3, ООО “Юридическая фирма Городисский и Партнеры”, пат.пов. Ю.Д.Кузнецову, рег. 595
|
(72) Автор(ы):
МЕСЕ Мурат (US), СУТИВОНГ Арак (TH), ДЖУЛИАН Дэвид Джонатан (US)
(73) Патентообладатель(и):
КВЭЛКОММ ИНКОРПОРЕЙТЕД (US)
|
(54) УПРАВЛЕНИЕ ПОМЕХОЙ В СИСТЕМЕ БЕСПРОВОДНОЙ СВЯЗИ
(57) Реферат:
Изобретение относится к технике связи и может быть использовано в системах беспроводной связи для управления помехой. Устройство для управления помехой в системе связи содержит средство оценки помехи, обнаруживаемой сектором вследствие передач с терминалов в соседних секторах, и обеспечения оценки помехи, средство формирования отчета о помехе на основании оценки помехи, при этом отчет о помехе указывает один из множественных возможных уровней помехи, обнаруживаемых сектором, и средство рассылки отчета о помехе терминам в соседние секторы. Терминалы в соседних секторах могут регулировать свои передаваемые мощности на основании отчета о помехе. Устройство для управления помехой дополнительно может содержать средство управления вводом терминалов, а также средство блокировки доступа или отмены назначения терминалов и средство диспетчеризации терминалов. Технический результат – снижение помехи для соседних секторов. 3 н. и 36 з.п. ф-лы, 7 ил.
Данная заявка притязает на приоритет предварительной патентной заявки 60/662,176, поданной 15 марта 2005 г., и включена сюда посредством ссылки в полном объеме.
Область техники, к которой относится изобретение
Настоящее изобретение относится, в целом, к области связи и, в частности, к управлению помехой в системе беспроводной связи.
Уровень техники
Система беспроводной связи с множественным доступом может одновременно осуществлять связь с множественными терминалами на прямой и обратной линиях связи. Прямая линия связи (или нисходящая линия связи) – это линия связи от базовых станций к терминалам, и обратная линия связи (или восходящая линия связи) – это линия связи от терминалов к базовым станциям. Множественные терминалы могут одновременно передавать данные по обратной линии связи и/или принимать данные по прямой линии связи. Это часто достигается за счет мультиплексирования передач на каждой линии связи, ортогональных друг другу во временном, частотном и/или кодовом измерении.
На обратной линии связи передачи с терминалов, осуществляющих связь с разными базовыми станциями, обычно не ортогональны друг другу. Поэтому каждый терминал может создавать помеху для других терминалов, осуществляющих связь с ближайшими базовыми станциями, а также может принимать помеху от этих других терминалов. Производительность каждого терминала снижается за счет помехи от других терминалов, осуществляющих связь с другими базовыми станциями.
Поэтому в технике существует необходимость в ослаблении помехи в системе беспроводной связи.
Сущность изобретения
Здесь описаны техники управления помехой, воспринимаемые каждым сектором из соседних секторов в системе беспроводной связи. Термин “сектор” может означать базовую станцию или зону покрытия базовой станции. Сектор m оценивает воспринимаемую помеху от терминалов в соседних секторах и получает оценку помехи. Для пользовательского управления помехой сектор m генерирует отчет для передачи в эфире (OTA) о помехе от другого сектора (OSI) на основании оценки помехи и рассылает отчет OTA OSI на терминалы в соседних секторах. Эти терминалы могут, при необходимости, автономно регулировать свои передаваемые мощности на основании отчета OTA OSI из сектора m для снижения величины помехи, воспринимаемой сектором m. Отчет OTA OSI может указывать один из множественных возможных уровней помехи, воспринимаемых сектором m. Терминалы в соседних секторах могут регулировать свои передаваемые мощности в разной степени и/или в разных темпах в зависимости от уровня помехи, воспринимаемого сектором m.
Для сетевого управления помехой сектор m генерирует межсекторный (IS) отчет OSI на основании оценки помехи и отправляет отчет IS OSI в соседние секторы. Отчет IS OSI может быть таким же, как отчет OTA OSI, или может быть более полным. Сектор m также принимает отчеты IS OSI из соседних секторов и регулирует передачи данных для терминалов в секторе m на основании принятых отчетов IS OSI. Сектор m может регулировать передачи данных путем (1) управления вводом новых терминалов в сектор m, (2) отмены назначения ранее введенных терминалов, (3) диспетчеризации терминалов в секторе m таким образом, чтобы снизить помеху для соседних секторов, и/или (4) назначения терминалам в секторе m каналов трафика, которые обуславливают уменьшение помехи для соседних секторов.
Различные аспекты и варианты осуществления изобретения более подробно описаны ниже.
Краткое описание чертежей
Признаки и характер настоящего изобретения явствуют из подробного описания, приведенного ниже совместно с чертежами, снабженными сквозной системой обозначений.
Фиг.1 – система связи, имеющая базовые станции и терминалы.
Фиг.2 – процесс, осуществляемый одним сектором, для управления помехой.
Фиг.3 – процесс, осуществляемый одним терминалом, для управления помехой.
Фиг.4 – процесс регулировки передаваемой мощности детерминистическим способом.
Фиг.5 – процесс регулировки передаваемой мощности вероятностным способом.
Фиг.6 – механизм управления мощностью, пригодный для управления помехой.
Фиг.7 – блок-схема терминала и двух базовых станций.
Подробное описание
Слово “иллюстративный” используется здесь в смысле “служащий примером, вариантом или иллюстрацией”. Любой вариант осуществления, описанный здесь как “иллюстративный”, не обязательно рассматривать как предпочтительный или имеющий преимущество над другими вариантами осуществления или конструкциями.
На фиг.1 показана система беспроводной связи 100, имеющая множественные базовые станции 110 и множественные терминалы 120. Базовая станция, в общем случае, является фиксированной станцией, которая осуществляет связь с терминалами, и также может называться точкой доступа, узлом B или каким-либо другим термином. Каждая базовая станция 110 обеспечивает покрытие услуги связи для конкретной географической области 102. Термин “сота” может относиться к базовой станции и/или ее зоне покрытия в зависимости от контекста использования термина. Для повышения емкости системы зону покрытия базовой станции можно разделить на множественные подобласти, например три подобласти 104a, 104b и 104c. Каждая подобласть обслуживается соответствующей базовой приемопередающей подсистемой (BTS). Термин “сектор” может относиться к BTS и/или ее зоне покрытия в зависимости от контекста использования термина. Для секторизованной соты BTS для всех секторов этой соты обычно совмещены на базовой станции соты. Системный контроллер 130 подключен к базовым станциям 110 и обеспечивает координацию и контроль для этих базовых станций.
Терминал может быть фиксированным или мобильным и также может называться мобильной станцией, беспроводным устройством, пользовательским оборудованием или каким-либо другим термином. Каждый терминал может осуществлять связь ни с одной, с одной или с множественными базовыми станциями в любой данный момент времени.
Описанные здесь техники управления помехой можно использовать для системы с секторизованными сотами и системы с несекторизованными сотами. В нижеследующем описании термин “сектор” означает (1) традиционную BTS и/или ее зону покрытия для системы с секторизованными сотами и (2) традиционную базовую станцию и/или ее зону покрытия для системы с несекторизованными сотами. Термины “терминал” и “пользователь” используются взаимозаменяемо, и термины “сектор” и “базовая станция” также используются взаимозаменяемо. Обслуживающая/ий базовая станция/сектор – это базовая станция/сектор, с которой/ым терминал осуществляет связь. Соседняя/ий базовая станция/сектор – это базовая станция/сектор, с которой/ым терминал не осуществляет связь.
Техники управления помехой также можно использовать для различных систем связи множественного доступа. Например, эти техники можно использовать для системы множественного доступа с кодовым разделением (CDMA), системы множественного доступа с частотным разделением (FDMA), системы множественного доступа с временным разделением (TDMA), системы множественного доступа с ортогональным частотным разделением (OFDMA), системы с перемежением (IFDMA), локализованной системы FDMA (LFDMA), системы множественного доступа с пространственным разделением (SDMA), системы квазиортогонального множественного доступа и пр. IFDMA также называется распределенной FDMA, и LFDMA также называется узкополосной FDMA или классической FDMA. Система OFDMA использует мультиплексирование с ортогональным частотным разделением (OFDM). OFDM, IFDMA и LFDMA эффективно производят разбиение общей полосы систем на множественные (K) ортогональные частотные поддиапазоны. Эти поддиапазоны также называются тонами, поднесущими, бункерами и т.п. Каждый поддиапазон связан с соответствующей поднесущей, которую можно модулировать данными. OFDM передает символы модуляции в частотном измерении во всех или некоторых из K поддиапазонов. IFDMA передает символы модуляции во временном измерении в поддиапазонах, равномерно распределенных по K поддиапазонам. LFDMA передает символы модуляции во временном измерении и обычно в соседних поддиапазонах.
Согласно фиг.1 каждый сектор может принимать “полезные” передачи с терминалов в секторе, а также “помеховые” передачи с терминалов в других секторах. Полная помеха, воспринимаемая в каждом секторе, состоит из (1) внутрисекторной помехи от терминалов в том же секторе и (2) межсекторной помехи от терминалов в других секторах. Межсекторная помеха, которая также называется помехой от другого сектора (OSI), обусловлена тем, что передачи в каждом секторе не ортогональны передачам в других секторах. Межсекторная помеха и внутрисекторная помеха оказывают большое влияние на производительность и подлежат ослаблению, которое описано ниже.
Межсекторной помехой можно управлять с использованием различных механизмов, например пользовательского управления помехой и сетевого управления помехой. Для пользовательского управления помехой терминалы получают информацию о межсекторной помехе, воспринимаемой соседними секторами, и соответственно регулируют свои передаваемые мощности, чтобы поддерживать межсекторную помеху на приемлемых уровнях. Для сетевого управления помехой каждый сектор получает информацию о межсекторной помехе, воспринимаемой соседними секторами, и регулирует передачи данных для своих терминалов таким образом, чтобы поддерживать межсекторную помеху на приемлемых уровнях. Система может использовать только пользовательское управление помехой, или только сетевое управление помехой, или оба механизма управления. Каждый механизм управления помехой можно реализовать различными способами, которые описаны ниже.
На фиг.2 показан процесс 200, осуществляемый одним сектором m для управления межсекторной помехой. Сектор m оценивает воспринимаемую помеху от терминалов в других секторах и получает оценку помехи (блок 210).
Для пользовательского управления помехой сектор m генерирует отчет для передачи в эфире (OTA) OSI на основании оценки помехи (блок 212). Отчет OTA OSI отражает величину межсекторной помехи, воспринимаемой сектором m, и может быть задан в различных формах, как описано ниже. Сектор m рассылает отчет OTA OSI на терминалы в соседних секторах (блок 214). Эти терминалы могут, при необходимости, регулировать свои передаваемые мощности на основании отчета OTA OSI из сектора m для снижения величины межсекторной помехи, воспринимаемой сектором m.
Для сетевого управления помехой сектор m генерирует межсекторный (IS) отчет OSI на основании оценки помехи (блок 222). Отчет IS OSI и отчет OTA OSI представляют собой два отчета о помехе, которые могут иметь одинаковые или разные форматы. Например, отчет IS OSI может быть идентичен отчету OTA OSI. Альтернативно, сектор m может рассылать простой отчет OTA OSI на терминалы в соседних секторах и может отправлять более подробный отчет IS OSI в соседние секторы. Сектор m может отправлять отчет IS OSI в соседние секторы периодически или только, если сектор m воспринимает чрезмерную помеху (блок 224). Сектор m также принимает отчеты IS OSI от соседних секторов (блок 226). Скорость обмена отчетами IS OSI между секторами может равняться или отличаться от скорости рассылки отчетов OTA OSI на терминалы. Сектор m регулирует передачи данных для терминалов в секторе m на основании отчетов IS OSI, полученных от соседних секторов (блок 228). Блоки, показанные на фиг.2, более подробно описаны ниже.
Сектор m может оценивать межсекторную помеху различными способами. Для системы, использующей ортогональное мультиплексирование, один терминал может передавать данные или пилот-сигнал в каждом поддиапазоне в каждый период символа. Пилот-сигнал – это передача символов, которые заранее известны передатчику и приемнику. Символ данных – это символ модуляции для данных, символ пилот-сигнала – это символ модуляции для пилот-сигнала, и символ модуляции является комплексным значением точки векторной диаграммы сигнала, например, для M-PSK, M-QAM и пр.
Сектор m может оценивать помеху в данном поддиапазоне k в данный период символа n на основании пилот-сигнала, принятого от терминала u, следующим образом:

где Pu(k,n) – символ пилот-сигнала, переданный терминалом u в поддиапазоне k в период символа n;
– оценка коэффициента усиления канала между сектором m и терминалом u;
Rm,u(k,n) – принятый символ, полученный сектором m с терминала u; и
Im(k,n) – оценка помехи, воспринимаемой сектором m.
Все величины в этом уравнении (1) являются скалярами.
Сектор m также может оценивать помеху на основании данных, принятых с терминала u, следующим образом:

где – оценка символа данных, переданного терминалом u в поддиапазоне k в период символа n. Сектор m может выводить оценки символов данных , (1) осуществляя детектирование данных на принятых символах Rm,u(k,n) с помощью оценки канала для получения детектированных символов, (2) осуществляя жесткое принятие решения на основании детектированных символов и (3) используя результаты жесткого принятия решений в качестве оценок символов данных. Альтернативно, сектор m может выводить оценки символов данных, (1) осуществляя детектирование данных на принятых символах, (2) декодируя детектированные символы для получения декодированных данных и (3) осуществляя повторное кодирование и символьное отображение декодированных данных для получения оценок символов данных.
Сектор m также может осуществлять совместную оценку канала и помехи для получения оценочных характеристик канала и оценок помехи.
Оценка помехи Im(k,n), полученная из уравнения (1) или (2), включает в себя как межсекторную помеху, так и внутрисекторную помеху. Внутрисекторную помеху можно поддерживать на приемлемых уровнях посредством управления мощностью, описанного ниже, и таким образом делать пренебрежимо малой по сравнению с межсекторной помехой.
Сектор m может усреднять оценки помехи в частотном, пространственном и/или временном измерении. Например, сектор m может усреднять оценки помехи по множественным приемным антеннам. Сектор m может усреднять оценки помехи для всех поддиапазонов с использованием любой из следующих схем измерения:



где Im(n) – средняя мощность помехи для сектора m в период символа n и Pnom обозначает номинальную принимаемую мощность для каждого поддиапазона. Im(k,n) и Im(n) выражены в линейных единицах в уравнениях (3)-(5). Уравнение (3) выражает взятие среднего арифметического, уравнение (4) выражает взятие среднего геометрического и уравнение (5) выражает усреднение на основе SNR. При вычислении среднего арифметического небольшое число высоких оценок помехи может перекашивать среднюю мощность помехи. Вычисление среднего геометрического и усреднение на основе SNR могут подавлять высокие оценки помехи для небольшого числа поддиапазонов.
Сектор m может также фильтровать среднюю мощность помехи по множественным периодам символа для повышения качества оценки помехи. Фильтрацию можно производить с помощью фильтра с конечной импульсной характеристикой (КИХ), фильтра с бесконечной импульсной характеристикой (БИХ) или фильтра какого-либо другого типа. Сектор m получает измеренную помеху Imeas,m для каждого периода измерения, который может охватывать один или множественные периоды символа.
Сектор m генерирует отчет OTA OSI на основании измеренной помехи. Согласно варианту осуществления измеренная помеха квантуется до заранее определенного количества битов, которые включаются в отчет OTA OSI. Согласно другому варианту осуществления отчет OTA OSI включает в себя один бит, который указывает, превышает ли измеренная помеха порог помехи. Согласно еще одному варианту осуществления отчет OTA OSI включает в себя множественные биты, которые выражают измеренную помеху относительно множественных порогов помехи. Для простоты в нижеследующем описании приведен вариант осуществления, согласно которому отчет OTA OSI отражает измеренную помеху относительно двух порогов помехи.
Согласно варианту осуществления отчет OTA OSI включает в себя два бита OSI, которые называются битом OSI 1 и битом OSI 2. Эти биты OSI можно задать следующим образом:
(6а)
(6b)
где Inom_th – номинальный порог помехи, Ihigh_th – верхний порог помехи, и Ihigh_th>Inom_th. Бит OSI 1 указывает, выше или ниже измеренная помеха номинального порога помехи. Бит OSI 2 указывает выше или ниже измеренная помеха верхнего порога помехи. В этом варианте осуществления предполагается, что сектор m воспринимает низкую помеху, если измеренная помеха ниже Inom_th, высокую помеху, если измеренная помеха находится между Inom_th и Ihigh_th, и чрезмерную помеху, если измеренная помеха больше или равна Ihigh_th. Бит OSI 2 можно использовать для индикации чрезмерной помехи, воспринимаемой сектором.
Согласно другому варианту осуществления отчет OTA OSI включает в себя одно значение OSI, имеющее три уровня. Значение OSI можно задать следующим образом:
(7)
Трехуровневое значение OSI можно передавать с использованием векторной диаграммы сигнала, имеющей три точки сигнала. Например, значение OSI ‘0’ можно передавать посредством символа 1+j0 или ej0, значение OSI ‘1’ можно передавать посредством символа 0+j1 или ej /2 и значение OSI ‘2’ можно передавать посредством символа -1+j0 или ej .
Альтернативно, сектор m может получать измеренную помеху относительно теплового шума (IOT), т.е. отношение полной мощности помехи, воспринимаемой сектором m, к мощности теплового шума. Полную мощность помехи можно вычислить, как описано выше. Мощность теплового шума можно оценивать, выключая передатчик и измеряя шум на приемнике. Для системы можно выбрать конкретную рабочую точку. Более высокая рабочая точка позволяет терминалам передавать в среднем на более высоких уровнях мощности. Однако высокая рабочая точка отрицательно влияет на энергетический баланс линии связи и может быть нежелательной. Для данной максимальной передаваемой мощности и данной скорости передачи данных допустимые максимальные потери на трассе уменьшаются с увеличением IOT. Очень высокая рабочая точка также нежелательна, поскольку система может приобрести ограничение на помеху и в этом случае увеличение передаваемой мощности не приводит к увеличению SNR приема. Кроме того, очень высокая рабочая точка увеличивает вероятность дестабилизации системы. В любом случае сектор m может задать свое трехуровневое значение OSI следующим образом:
(8)
где IOTnom_th – номинальный порог IOT и IOThigh_th верхний порог IOT.
Биты/значения OSI также можно генерировать с использованием гистерезиса, чтобы индикация чрезмерной помехи не включалась слишком часто. Например, бит OSI 2 можно задавать равным ‘1’ только, если измеренная помеха превышает верхний порог в течение первого промежутка времени TW1 (например, 50 миллисекунд), и можно задавать равным ‘0’ только, если измеренная помеха ниже верхнего порога в течение второго промежутка времени TW2. В порядке другого примера, бит OSI 2 можно задавать равным ‘1’ только, если измеренная помеха превышает первый верхний порог Ihigh_th1, и затем можно задавать равным ‘0’ только, если измеренная помеха падает ниже второго верхнего порога Ihigh_th2, где Ihigh_th1 > Ihigh_th2.
Сектор m рассылает свой отчет OTA OSI, который может содержать два бита OSI или трехуровневое значение OSI, для пользовательского управления помехой. Сектор m может рассылать отчет OTA OSI различными способами. Согласно варианту осуществления сектор m рассылает отчет OTA OSI в каждый период измерения. Согласно другому варианту осуществления сектор m рассылает бит OSI 1 в каждый период измерения и рассылает бит OSI 2 только, если этот бит задан равным ‘1’. Сектор m также может рассылать OSI отчеты из других секторов на терминалы в секторе m для улучшения покрытия OSI.
Сектор m также отправляет свой отчет IS OSI в соседние секторы для сетевого управления помехой. Отчет IS OSI может содержать два бита OSI, трехуровневое значение OSI, измеренную помеху, квантованную до заранее определенного количества битов, или какую-либо иную информацию. Сектор m может отправлять отчет IS OSI в каждый период измерения или только, если воспринимается чрезмерная помеха или если выполняется какой-либо другой критерий. Другой сектор q также может запрашивать у сектора m отчет IS OSI, если терминалы в секторе q указывают, что они не могут принять биты OSI из сектора m. Каждый сектор использует отчеты IS OSI из соседних секторов для управления передачами данных с терминалов в своем секторе для ослабления межсекторной помехи в соседних секторах.
Сетевое управление помехой можно обеспечивать различными способами. Некоторые варианты осуществления сетевого управления помехой описаны ниже.
В одном варианте осуществления сектор m осуществляет диспетчеризацию терминалов в секторе на основании отчетов IS OSI, полученных от соседних секторов. Например, если в одном или нескольких соседних секторах наблюдается чрезмерная помеха, то сектор m может снижать передаваемые мощности, используемые терминалами, лишенными преимуществ, в секторе m, чтобы эти терминалы создавали меньшую помеху для других секторов. Терминал, лишенный преимуществ, имеет малый коэффициент усиления канала (или большие потери на трассе) для обслуживающего сектора и вынужден передавать на высоком уровне мощности, чтобы достичь данного отношения сигнал/шум+помеха (SNR) в обслуживающем секторе. Терминал, лишенный преимуществ, обычно располагается ближе к соседнему сектору, и высокий уровень передаваемой мощности приводит к высокой межсекторной помехе для этого соседнего сектора.
Сектор m может идентифицировать терминалы, лишенные преимуществ, на основании различных метрик качества, например коэффициента усиления канала, интенсивности пилот-сигнала, отношения сигнал/шум (C/N), отношения коэффициентов усиления канала и т.п. Эти метрики качества можно оценивать на основании пилот-сигнала и/или других сигналов, передаваемых терминалами. Например, оценочный коэффициент усиления канала для терминала можно сравнивать с пороговым коэффициентом усиления канала, и терминал можно считать терминалом, лишенным преимуществ, если его коэффициент усиления канала ниже порогового коэффициента усиления канала. Сектор m может снижать передаваемые мощности, используемые терминалами, лишенными преимуществ, (1) уменьшая верхний предел передаваемой мощности, который применим к терминалам, (2) уменьшая нижний предел передаваемой мощности, который применим к терминалам, (3) назначая терминалам, лишенным преимуществ, более низкие скорости передачи данных, которые требуют более низких SNR и, следовательно, более низких передаваемых мощностей, (4) не внося терминалы, лишенные преимуществ, в график передачи данных или (5) используя какой-либо другой метод или комбинацию методов.
Согласно другому варианту осуществления сектор m использует управление вводом для ослабления межсекторной помехи, воспринимаемой соседними секторами. Например, если в одном или нескольких соседних секторах наблюдается чрезмерная помеха, то сектор m может снижать количество активных терминалов в секторе, (1) блокируя доступ к новым терминалам, запрашивающим передачу по обратной линии связи, (2) блокируя доступ к терминалам, лишенным преимуществ, (3) отменяя назначение терминалов, которым уже был предоставлен доступ, (4) отменяя назначение терминалов, лишенных преимуществ, или (5) используя какие-либо другие методы управления вводом. Частота отмены назначения терминалов также можно сделать функцией отчетов IS OSI от соседних секторов (например, воспринимаемых уровней помехи), количества соседних секторов, воспринимающих чрезмерную помеху, и/или других факторов. Таким образом, сектор m может регулировать нагрузку сектора на основании отчетов IS OSI от соседних секторов.
Согласно еще одному варианту осуществления сектор m назначает каналы трафика терминалам в секторе таким образом, чтобы ослаблять межсекторную помеху, воспринимаемую соседними секторами. Например, каждому сектору может быть назначен набор каналов трафика, которые могут по очереди назначаться терминалам в секторе. Соседние секторы также могут совместно использовать общий набор каналов трафика, ортогональный набору каналов трафика, назначенных каждому сектору. Если в одном или нескольких соседних секторах наблюдается чрезмерная помеха, то сектор m может назначить терминалам, лишенным преимуществ, в секторе m каналы трафика в общем наборе. В таком случае эти терминалы, лишенные преимуществ, не будут создавать помеху для соседних секторов, поскольку каналы трафика в общем наборе ортогональны каналам трафика, назначенным соседним секторам. В порядке другого примера, каждому сектору может быть назначен набор каналов трафика, которые могут назначаться мощным терминалам, для которых допустимы высокие уровни помехи. Если в одном или нескольких соседних секторах наблюдается чрезмерная помеха, то сектор m может назначать терминалам, лишенным преимуществ, в секторе m каналы трафика, назначенные мощным терминалам в соседних секторах.
Для простоты, вышеприведенное описание относится, в основном, к одному сектору m. Каждый сектор в системе может осуществлять вышеописанное управление помехой для сектора m.
Пользовательское управление помехой также можно обеспечивать различными способами. Согласно варианту осуществления пользовательское управление помехой осуществляется, когда терминалам разрешено автономно регулировать свои передаваемые мощности на основании отчетов OTA OSI, полученных от соседних секторов.
На фиг.3 показан процесс 300, осуществляемый одним терминалом u для управления помехой. Терминал u принимает отчет OTA OSI от соседнего сектора (блок 312). Затем производится определение, воспринимает ли соседний сектор чрезмерную помеху, например равен ли бит OSI 2 ‘1’ (блок 314). Если ответ ‘Да’, терминал u снижает свою передаваемую мощность с увеличенным шагом уменьшения и/или в более высоком темпе (блок 316). В противном случае производится определение, воспринимает ли соседний сектор высокую помеху, например равны ли бит OSI 1 ‘1’ и бит OSI 2 ‘0’ соответственно (блок 318). Если ответ ‘Да’, терминал u снижает свою передаваемую мощность с номинальным шагом уменьшения и/или в номинальном темпе (блок 320). В противном случае терминал u увеличивает свою передаваемую мощность с номинальным шагом увеличения и/или в номинальном темпе (блок 322).
На фиг.3 показан вариант осуществления, согласно которому отчет OTA OSI отражает межсекторную помеху, воспринимаемую соседним сектором, посредством одного из трех возможных уровней – низкого, высокого и чрезмерного. Процесс 300 можно распространить на любое количество уровней помехи. В общем случае, передаваемую мощность для терминала u можно (1) снижать с шагом уменьшения, имеющим прямую зависимость от величины помехи, воспринимаемой соседним сектором (например, чем больше помеха, тем больше шаг уменьшения), когда измеренная помеха выше данного порога, и/или (2) увеличивать с шагом увеличения, который имеет обратную зависимость от величины помехи, воспринимаемой соседним сектором (например, чем меньше помеха, тем больше шаг увеличения), когда измеренная помеха ниже данного порога. Величину шага и/или темп регулировки также можно определять на основании других параметров, например текущего уровня передаваемой мощности для терминала, коэффициент усиления канала для соседнего сектора относительно коэффициента усиления канала для обслуживающего сектора, предыдущих отчетов OTA OSI и т.д.
Терминал u может регулировать свою передаваемую мощность на основании отчета OTA OSI от одного или множественных соседних секторов. Терминал u может оценивать коэффициент усиления канала для каждого сектора на основании пилот-сигнала, принятого от сектора. Затем терминал u может выводить отношение коэффициентов усиления канала для каждого соседнего сектора следующим образом:

где gns,i(n) – коэффициент усиления канала между терминалом u и соседним сектором i;
gss(n) – коэффициент усиления канала между терминалом u и обслуживающим сектором; и
ri(n) – отношение коэффициентов усиления канала для соседнего сектора i.
В одном варианте осуществления терминал u идентифицирует самый мощный соседний сектор с наибольшим отношением коэффициентов усиления канала. Затем терминал u регулирует свою передаваемую мощность на основании отчета OTA OSI только от этого самого мощного соседнего сектора. Согласно другому варианту осуществления терминал u регулирует свою передаваемую мощность на основании отчетов OTA OSI от всех секторов в наборе OSI. Этот набор OSI может содержать (1) T самых мощных соседних секторов, где T 1, (2) соседние секторы с отношением коэффициентов усиления канала, превышающим пороговое отношение коэффициентов усиления канала, (3) соседние секторы с коэффициентами усиления канала, превышающими пороговый коэффициент усиления канала, (4) соседние секторы, включенные в список соседей, рассылаемый обслуживающим сектором, или (5) какую-либо другую группу соседних секторов. Терминал u может регулировать свою передаваемую мощность различными способами на основании отчетов OTA OSI от множественных соседних секторов из набора OSI. Например, терминал u может снижать свою передаваемую мощность, если какой-либо соседний сектор из набора OSI воспринимает высокую или чрезмерную помеху. В порядке другого примера, терминал u может определять регулировку передаваемой мощности для каждого соседнего сектора из набора OSI и затем может объединять регулировки для всех соседних секторов из набора OSI для получения общей регулировки передаваемой мощности.
В общем случае регулировку передаваемой мощности для управления помехой можно осуществлять совместно с различными схемами управления мощностью. Для простоты конкретная схема управления мощностью описана ниже. Для этой схемы управления мощностью передаваемую мощность канала трафика, назначенного терминалу u, можно выразить в виде:

где Pdch(n) – передаваемая мощность канала трафика для интервала обновления n;
Pref(n) – опорный уровень мощности для интервала обновления n; и
P(n) – дельта передаваемой мощности для интервала обновления n.
Уровни передаваемой мощности Pdch(n) и Pref(n) и дельта передаваемой мощности P(n) заданы в децибелах (дБ).
Опорный уровень мощности Pref(n) – это величина передаваемой мощности, необходимая для получения целевого SNR для указанной передачи, которая может представлять собой сигнализацию, передаваемую терминалом u по каналу управления, или какую-либо другую передачу. Опорный уровень мощности и целевое SNR можно регулировать для достижения нужного уровня производительности для указанной передачи, например 1% уровня пакетной ошибки (PER). Если передача данных по каналу трафика и указанная передача находятся в сходных условиях шума и помехи, то SNR приема для передачи данных, SNRdch(n), можно оценивать следующим образом:
(11)
Дельту передаваемой мощности P(n) можно регулировать детерминистическим способом, вероятностным способом или каким-либо другим способом на основании отчетов OTA OSI от соседних секторов. Передаваемую мощность можно регулировать (1) в разной степени для разных уровней помехи с использованием детерминистической регулировки или (2) в разных темпах для разных уровней помехи с использованием вероятностной регулировки. Иллюстративные детерминистическая и вероятностная схемы регулировки передаваемой мощности описаны ниже. Для простоты нижеследующее описание относится к регулировке передаваемой мощности для бита OSI, принимаемого от одного соседнего сектора. Этот бит OSI может быть битом OSI 1 или 2.
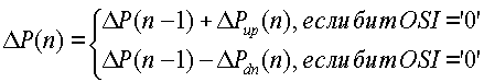
На фиг.4 показан процесс 400 регулировки передаваемой мощности терминала u детерминистическим способом. Первоначально терминал u обрабатывает отчет OTA OSI от соседнего сектора (блок 412) и определяет, равен ли бит OSI ‘1’ или ‘0’ (блок 414). Если бит OSI равен ‘1’, что указывает, что воспринимаемая помеха превышает порог помехи, терминал u определяет величину снижения передаваемой мощности или шаг уменьшения Pdn(n) (блок 422). Pdn(n) можно определить на основании дельты передаваемой мощности для предыдущего интервала обновления, P(n-1), и отношения коэффициентов усиления канала для соседнего сектора, rns(n). Затем терминал u уменьшает дельту передаваемой мощности на Pdn(n) (блок 424). Если же бит OSI равен ‘0’, терминал u определяет величину повышения передаваемой мощности или шаг увеличения Pup(n) (блок 432). Pup(n) также можно определять на основании P(n-1) и rns(n). Затем терминал u увеличивает дельту передаваемой мощности на Pup(n) (блок 434). Регулировки передаваемой мощности в блоках 424 и 434 можно выразить следующим образом:
(12)
После блоков 424 и 434 терминал u ограничивает дельту передаваемой мощности P(n) в пределах допустимых значений дельты передаваемой мощности (блок 442) следующим образом:
(13)
где Pmin – минимальная дельта передаваемой мощности, допустимая для канала трафика, и
Pmax – максимальная дельта передаваемой мощности, допустимая для канала трафика.
Ограничивая значения дельты передаваемой мощности для всех терминалов в секторе в диапазоне дельты передаваемой мощности согласно уравнению (13), можно поддерживать внутрисекторную помеху на приемлемых уровнях. Минимальную дельту передаваемой мощности Pmin можно регулировать посредством контура управления, чтобы гарантировать, что каждый терминал может отвечать требованиям класса качества обслуживания (QoS), которому принадлежит терминал. Pmin для разных классов QoS можно регулировать в разных темпах и/или с разным шагом.
Затем терминал u вычисляет передаваемую мощность Pdch(n) канала трафика на основании дельты передаваемой мощности P(n) и опорного уровня мощности Pref(n) согласно уравнению (10) (блок 444). Терминал u может ограничивать передаваемую мощность Pdch(n) максимальным уровнем мощности Pmax (блок 446) следующим образом:

Терминал u использует передаваемую мощность Pdch(n) для передачи данных по каналу трафика.
Согласно варианту осуществления величины шага Pdn(n) и Pup(n) можно вычислить следующим образом:
(15a)

где Pdn,min и Pup,min – минимальные значения для Pdn(n) и Pup(n) соответственно;
kdn и kup – масштабные коэффициенты для Pdn(n) и Pup(n) соответственно; и
fdn() и fup() – функции для вычисления Pdn(n) и Pup(n) соответственно.
Функцию fdn() можно задать так, чтобы Pdn(n) находился в прямой зависимости от P(n-1) и rns(n). Если соседний сектор воспринимает высокую или чрезмерную помеху, то (1) увеличение коэффициента усиления канала для соседнего сектора приводит к увеличению Pdn(n), и (2) увеличение значения P(n-1) приводит к увеличению Pdn(n). Функцию fup() можно задать так, чтобы Pup(n) находился в обратной зависимости от P(n-1) и rns(n). Если соседний сектор воспринимает низкую помеху, то (1) увеличение коэффициента усиления канала для соседнего сектора приводит к уменьшению Pup(n) и (2) увеличение значения P(n-1) приводит к уменьшению Pup(n).
На фиг.4 показана обработка для одного бита OSI от одного соседнего сектора. Когда соседний сектор воспринимает чрезмерную помеху, можно использовать большее значение Pdn(n). Когда соседний сектор воспринимает высокую помеху, можно использовать меньшее значение Pdn(n). Разные величины шага уменьшения можно получать, например, используя разные масштабные коэффициенты kdn1 и kdn2 для высокой и чрезмерной помехи соответственно.
На фиг.5 показан процесс 500 регулировки передаваемой мощности терминала u вероятностным способом. Первоначально терминал u обрабатывает отчет OTA OSI от соседнего сектора (блок 512) и определяет, равен ли бит OSI ‘1’ или ‘0’ (блок 514). Если бит OSI равен ‘1’, терминал u определяет вероятность снижения передаваемой мощности, Prdn(n), например, на основании P(n-1) и rns(n) (блок 522). Затем терминал u произвольно выбирает значение x между 0,0 и 1,0, где x – это случайная переменная, равномерно распределенная между 0,0 и 1,0 (блок 524). Если в блоке 526 определено, что x меньше или равно Prdn(n), терминал u уменьшает свою дельту передаваемой мощности на Pdn (блок 528). Если же x больше Prdn(n), терминал u поддерживает дельту передаваемой мощности на текущем уровне (блок 530).
Если в блоке 514 определено, что OSI равен ‘0’, терминал u определяет вероятность увеличения передаваемой мощности, Prup(n), например, на основании P(n-1) и rns(n) (блок 532). Затем терминал u произвольно выбирает значение x между 0,0 и 1,0 (блок 534). Если в блоке 536 определено, что x меньше или равен Prup(n), терминал u увеличивает свою дельту передаваемой мощности на Pup (блок 538). Если же x больше чем Prup(n), терминал u поддерживает дельту передаваемой мощности на текущем уровне (блок 530). Регулировки передаваемой мощности в блоках 528, 530 и 538 можно выразить следующим образом:
(16)
Pdn и Pup могут иметь одинаковые значения (например, 0,25 дБ, 0,5 дБ, 1,0 дБ и т.д.) или разные значения.
После блоков 528, 530 и 538 терминал u ограничивает дельту передаваемой мощности согласно уравнению (13) (блок 542). Затем терминал u вычисляет передаваемую мощность Pdch(n) на основании дельты передаваемой мощности P(n) и опорного уровня мощности Pref(n) согласно уравнению (10) (блок 544) и дополнительно ограничивает передаваемую мощность Pdch(n) максимальным уровнем мощности согласно уравнению (14) (блок 546). Терминал u использует передаваемую мощность Pdch(n) для передачи данных по каналу трафика. Согласно варианту осуществления вероятности вычисляются следующим образом:
(17a)
(17b)
где Prdn,min и Prup,min – минимальные значения Prdn(n) и Prup(n) соответственно; и
f dn() и f up() – функции для вычисления Prdn(n) и Prup(n) соответственно.
Функцию f dn() можно задать так, чтобы Prdn(n) находилась в прямой зависимости от P(n-1) и rns(n). Если соседний сектор воспринимает высокую или чрезмерную помеху, то (1) увеличение коэффициента усиления канала для соседнего сектора приводит к увеличению Prdn(n) и (2) увеличение значения P(n-1) приводит к увеличению Prdn(n). Увеличение Prdn(n) приводит к увеличению вероятности снижения передаваемой мощности. Функцию f up() можно задать так, чтобы Prup(n) находилась в обратной зависимости от P(n-1) и rns(n). Если соседний сектор воспринимает низкую помеху, то (1) увеличение коэффициента усиления канала для соседнего сектора приводит к уменьшению Prup(n) и (2) увеличение значения P(n-1) приводит к уменьшению Prup(n). Уменьшение Prup(n) приводит к уменьшению вероятности повышения передаваемой мощности.
На фиг.5 показана обработка для одного бита OSI от одного соседнего сектора. Когда соседний сектор воспринимает чрезмерную помеху, можно использовать большее значение Prdn(n). Когда соседний сектор воспринимает высокую помеху, можно использовать меньшее значение Prdn(n). Разные вероятности снижения и, следовательно, разные темпы регулировки мощности можно получать, например, используя разные масштабные коэффициенты kdn1 и kdn2 для высокой и чрезмерной помехи соответственно.
В общем случае, различные функции можно использовать для вычисления величин шага Pdn(n) и Pup(n) и вероятностей Prdn(n) и Prup(n). Функцию можно задавать на основании различных параметров, например текущей передаваемой мощности, текущей дельты передаваемой мощности, текущего отчета OTA OSI, предыдущих отчетов OTA OSI, коэффициентов усиления канала и т.д. Разные функции могут по-разному влиять на различные характеристики управления мощностью, например скорость схождения регулировки передаваемой мощности и распределение значений дельты передаваемой мощности для терминалов в системе. Величины шага и вероятности также можно определять на основании поисковых таблиц или иными средствами.
Вышеописанные регулировку передаваемой мощности и/или управление вводом также можно осуществлять на основании класса QoS, класса приоритета пользователя и пр. Например, терминал, использующий экстренную связь, и полицейский терминал могут иметь более высокий приоритет и могут иметь возможность регулировать передаваемую мощность в более высоком темпе и/или с шагом большего размера, чем пользователь с нормальным приоритетом. В порядке другого примера, терминал, передающий речевой трафик, может регулировать передаваемую мощность в более медленном темпе и/или с шагом меньшего размера.
Терминал u также может изменять режим регулировки передаваемой мощности на основании предыдущих отчетов OTA OSI, полученных из соседних секторов. Например, терминал u может снижать свою передаваемую мощность с конкретным шагом уменьшения и/или в конкретном темпе, если соседний сектор сообщает о чрезмерной помехе, и может снижать передаваемую мощность с шагом уменьшения большего размера и/или в более высоком темпе, если соседний сектор продолжает сообщать о чрезмерной помехе. Альтернативно или дополнительно, терминал u может игнорировать Pmin в уравнении (13), если соседний сектор сообщает о чрезмерной помехе или если соседний сектор продолжает сообщать о чрезмерной помехе.
Различные варианты осуществления управления мощностью для ослабления межсекторной помехи были описаны выше. Управление помехой и мощностью также можно осуществлять другими способами, не выходя за рамки объема изобретения.
Согласно варианту осуществления каждый сектор рассылает свой отчет OTA OSI на терминалы в соседних секторах, как описано выше. Отчет OTA OSI можно рассылать с достаточной передаваемой мощностью для достижения нужного покрытия в соседних секторах. Каждый терминал может принимать отчеты OTA OSI от соседних секторов и обрабатывать эти отчеты OTA OSI таким образом, чтобы добиваться достаточно низкой частоты неверного детектирования и достаточно низкой вероятности ложного предупреждения. Неверное детектирование означает неудачное детектирование переданного бита или значения OSI. Ложное предупреждение означает ошибочное детектирование принятого бита OSI или значения. Например, если бит OSI передается с использованием BPSK, терминал может декларировать принятый бит OSI равным (1) ‘0’, если детектированный бит OSI ниже первого порога, бит OSI<-Bth, (2) ‘1’, если детектированный бит OSI превышает второй порог, бит OSI>+Bth, и (3) пустой бит в противном случае, +Bth бит OSI -Bth. Терминал обычно может достигать компромисса между частотой неверного детектирования с вероятностью ложного предупреждения, регулируя пороги, используемые для детектирования.
Согласно другому варианту осуществления каждый сектор также рассылает отчеты OTA OSI, генерируемые соседними секторами, на терминалы в этом секторе. Таким образом, каждый сектор играет роли посредника для соседних секторов. Этот вариант осуществления может гарантировать, что каждый терминал может надежно принимать отчеты OTA OSI, генерируемые соседними секторами, поскольку терминал может принимать эти отчеты OTA OSI от обслуживающего сектора. Этот вариант осуществления хорошо подходит для построения асимметричной сети, в которой зоны покрытия сектора имеют разные размеры. Секторы меньшего размера обычно передают на более низких уровнях мощности, и отчеты OTA OSI, рассылаемые этими секторами меньшего размера, не могут надежно приниматься терминалами в соседних секторах. Тогда секторы меньшего размера будут пользоваться отчетами OTA OSI, рассылаемыми соседними секторами.
В общем случае, данный сектор m может рассылать отчеты OTA OSI, генерируемые любым количеством и любым из других секторов. Согласно варианту осуществления сектор m рассылает отчеты OTA OSI, генерируемые секторами из списка соседей для сектора m. Список соседей может формироваться оператором сети или каким-либо другим способом. Согласно другому варианту осуществления сектор m рассылает отчеты OTA OSI, генерируемые всеми секторами, включенными в активные наборы терминалов в секторе m. Каждый терминал может поддерживать активный набор, который включает в себя все секторы, с которыми терминал осуществляет связь. Секторы можно добавлять в активный набор или удалять из него при осуществлении хэндовера терминала из одного сектора в другой. Согласно еще одному варианту осуществления сектор m рассылает отчеты OTA OSI, генерируемые всеми секторами, включенными в наборы кандидатов терминалов в секторе m. Каждый терминал может поддерживать набор кандидатов, который включает в себя все секторы, с которыми терминал может осуществлять связь. Секторы можно добавлять в набор кандидатов или удалять из него, например, на основании коэффициента усиления канала и/или какого-либо другого параметра. Согласно еще одному варианту осуществления сектор m рассылает отчеты OTA OSI, генерируемые всеми секторами, включенными в наборы OSI терминалов в секторе m. Набор OSI для каждого терминала можно задать вышеописанным образом.
Как отмечено выше, система может использовать только пользовательское управление помехой или только сетевое управление помехой. Пользовательское управление помехой может иметь более простую реализацию, поскольку каждый сектор и каждый терминал может действовать автономно. Сетевое управление помехой может обеспечивать повышение производительности, поскольку управление помехой осуществляется в координации друг с другом. Система также может использовать как пользовательское, так и сетевое управление помехой одновременно. Система также может использовать пользовательское управление помехой в любое время и может привлекать сетевое управление помехой только, если воспринимается чрезмерная помеха. Система также может привлекать любой тип управления помехой для разных условий работы.
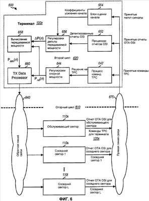
На фиг.6 показан механизм 600 управления мощностью, который можно использовать для регулировки передаваемой мощности для терминала 120x в системе 100. Терминал 120x осуществляет связь с обслуживающим сектором 110x и может создавать помеху для соседних секторов 110a-110l. Механизм 600 управления мощностью включает в себя (1) опорный контур 610, который действует между терминалом 120x и обслуживающим сектором 110x, и (2) второй контур 620, который действует между терминалом 120x и соседними секторами 110a-110l. Опорный контур 610 и второй контур 620 могут действовать одновременно, но могут обновляться в разных темпах, причем опорный контур 610 является более быстрым контуром, чем второй контур 620. Для простоты, на фиг.6 показана только часть контуров 610 и 620, размещенных на терминале 120x.
Опорный контур 610 регулирует опорный уровень мощности Pref(n), чтобы SNR приема для указанной передачи, измеряемое в обслуживающем секторе 110x, было как можно ближе к целевому SNR. Для опорного контура 610 обслуживающий сектор 110x оценивает SNR приема для указанной передачи, сравнивает SNR приема с целевым SNR и генерирует команды управления передаваемой мощностью (TPC) на основании результатов сравнения. Каждая команда TPC может представлять собой либо (1) команду UP, предписывающую повысить опорный уровень мощности, либо (2) команду DOWN, предписывающую снизить опорный уровень мощности. Обслуживающий сектор 110x передает команды TPC по прямой линии связи (облако 670) на терминал 120x.
На терминале 120x, процессор 642 команд TPC детектирует команды TPC, передаваемые обслуживающим сектором 110x, и выдает решения на TPC. Каждое решение на TPC может представлять собой решение на повышение, если полученная команда TPC распознается как команда UP, или решение на снижение, если полученная команда TPC распознается как команда DOWN. Блок 644 регулировки опорной мощности регулирует опорный уровень мощности на основании решений на TPC. Блок 644 может повышать Pref(n) на шаг увеличения для каждого решения на повышение и снижать Pref(n) на шаг уменьшения для каждого решения на снижение. Процессор 660 данных передачи масштабирует (TX) указанную передачу для достижения опорного уровня мощности. Терминал 120x направляет указанную передачу в обслуживающий сектор 110x.
Вследствие эффектов потерь на трассе, замирания и многолучевого распространения на обратной линии связи (облако 640), которые обычно изменяются со временем и особенно для мобильного терминала, SNR приема для указанной передачи непрерывно флуктуирует. Опорный контур 610 пытается поддерживать SNR приема для указанной передачи равным или близким целевому SNR при наличии изменений условий канала обратной линии связи.
Второй контур 620 регулирует передаваемую мощность Pdch(n) для канала трафика, назначенного терминалу 120x, чтобы использовать как можно более высокий уровень мощности для канала трафика, в то же время поддерживая межсекторную помеху на приемлемых уровнях. Для второго контура 620 каждый соседний сектор 110 принимает передачи по обратной линии связи, оценивает межсекторную помеху, воспринимаемую соседним сектором от терминалов в других секторах, генерирует отчет OTA OSI на основании оценки помехи и рассылает отчет OTA OSI на терминалы в других секторах.
На терминале 120x процессор 652 отчетов OSI принимает отчеты OTA OSI, рассылаемые соседними секторами, и выдает детектированные OSI отчеты на блок 656 вычисления дельты передаваемой мощности. Блок 654 оценки канала принимает пилот-сигналы от обслуживающих и соседних секторов, оценивает коэффициент усиления канала для каждого сектора и выдает оценочные коэффициенты усиления канала для всех секторов на блок 656. Блок 656 определяет отношения коэффициентов усиления канала для соседних секторов и дополнительно регулирует дельту передаваемой мощности P(n) на основании детектированных отчетов OSI и отношений коэффициентов усиления канала, как описано выше. Блок 656 может осуществлять процессы 300, 400 и/или 500, показанные на фиг.3-5. Блок 658 вычисления передаваемой мощности вычисляет передаваемую мощность Pdch(n) на основании опорного уровня передаваемой мощности Pref(n), полученного от блока 644, дельты передаваемой мощности P(n), полученной от блока 656, и, возможно, других факторов. Процессор 660 данных TX использует передаваемую мощность Pdch(n) для передачи данных в обслуживающий сектор 110x.
На фиг.6 показан иллюстративный механизм управления мощностью, который можно использовать для управления помехой. Управление помехой также можно осуществлять другими способами и/или с параметрами, отличными от вышеописанных.
На фиг.7 показана блок-схема варианта осуществления терминала 120x обслуживающей базовой станции 110x и соседней базовой станции 110y. Для простоты в нижеследующем описании предполагается использование механизма 600 управления мощностью, показанного на фиг.6.
На обратной линии связи, на терминале 120x, процессор 710 данных TX осуществляет декодирование, перемежение и символьное отображение данных трафика и данных управления обратной линии связи (RL) и выдает символы данных. Модулятор (Mod) 712 отображает символы данных и символы пилот-сигнала в надлежащих поддиапазонах и периодах символа, осуществляет модуляцию OFDM, если применима, и выдает последовательность чипов с комплексными значениями. Передающий блок (TMTR) 714 производит обработку (например, преобразование к аналоговому виду, усиление, фильтрацию и преобразование с повышением частоты) последовательности чипов и генерирует сигнал обратной линии связи, который передается через антенну 716.
На обслуживающей базовой станции 110x множественные антенны 752xa-752xt принимают сигналы обратной линии связи с терминала 120x и других терминалов. Каждая антенна 752x выдает принятый сигнал на соответствующий приемный блок (RCVR) 754x. Каждый приемный блок 754x производит обработку (например, фильтрацию, усиление, преобразование с понижением частоты и оцифровку) принятого сигнала, осуществляет демодуляцию OFDM, если применима, и выдает принятые символы. Пространственный процессор 758 RX осуществляет пространственную обработку приемника на символах, принятых от всех приемных блоков, и выдает оценки символов данных, которые являются оценками переданных символов данных. Процессор 760x данных RX снимает отображение, снимает перемежение, декодирует оценки символов данных и выдает декодированные данные для терминала 120x и других терминалов, обслуживаемых в данный момент базовой станцией 110x.
Обработку передачи прямой линии связи можно осуществлять аналогично описанному выше для обратной линии связи. Обработка передач на прямой и обратной линиях связи обычно определяется системой.
Для управления помехой и мощностью на обслуживающей базовой станции 110x пространственный процессор 758x RX оценивает SNR приема для терминала 120x, оценивает межсекторную помеху, воспринимаемую базовой станцией 110x, и выдает оценочное SNR для терминала 110x и оценку помехи (например, измеренную помеху Imeas,m) на контроллер 770x. Контроллер 770x генерирует команды TPC для терминала 120x на основании оценочного SNR для терминала и целевого SNR. Контроллер 770x может генерировать отчет OTA OSI и/или отчет IS OSI на основании оценки помехи. Контроллер 770x также может принимать отчеты IS OSI от соседних секторов через блок 774x связи (Comm). Команды TPC, отчет OTA OSI для базовой станции 110x и, возможно, отчеты OTA OSI для других секторов обрабатываются процессором 782x данных TX и пространственным процессором 784x TX, обрабатываются передающими блоками 754xa-754xt и передаются через антенны 752xa-752xt. Отчет IS OSI от базовой станции 110x можно передавать в соседние секторы через блок 774x связи.
На соседней базовой станции 110y пространственный процессор 758y RX оценивает межсекторную помеху, воспринимаемую базовой станцией 110y, и выдает оценку помехи на контроллер 770y. Контроллер 770y может генерировать отчет OTA OSI и/или отчет IS OSI на основании оценки помехи. Отчет OTA OSI обрабатывается и рассылается на терминалы в системе. Отчет IS OSI можно передавать в соседние секторы через блок 774y связи.
На терминале 120x антенна 716 принимает сигналы прямой линии связи от обслуживающих и соседних базовых станций и выдает принятый сигнал на приемный блок 714. Принятый сигнал обрабатывается и цифруется приемным блоком 714 и дополнительно обрабатывается демодулятором (Demod) 742 и процессором 744 данных RX. Процессор 744 выдает команды TPC, передаваемые обслуживающей базовой станцией 110x для терминала 120x, и отчеты OTA OSI, рассылаемые соседними базовыми станциями. Блок оценки канала в демодуляторе 742 оценивает коэффициент усиления канала для каждой базовой станции. Контроллер 720 детектирует полученные команды TPC и обновляет опорный уровень мощности на основании решений на TPC. Контроллер 720 также регулирует передаваемую мощность для канала трафика на основании отчетов OTA OSI, полученных от соседних базовых станций, и коэффициентов усиления канала для обслуживающих и соседних базовых станций. Контроллер 720 обеспечивает передаваемую мощность для канала трафика, назначенного терминалу 120x. Процессор 710 и/или модулятор 712 масштабирует символы данных на основании передаваемой мощности, обеспечиваемой контроллером 720.
Контроллеры 720, 770x и 770y управляют операциями различных блоков обработки на терминале 120x и базовой станции 110x и 110y соответственно. Эти контроллеры также могут осуществлять различные функции для управления помехой и мощностью. Например, в контроллере 720 могут быть реализованы любые или все блоки 642-658, показанные на фиг.6, и/или процессы 300, 400 и/или 500, показанные на фиг.3-5. В контроллере 770 для каждой базовой станции 110 может быть полностью или частично реализован процесс 200, показанный на фиг.2. В блоках памяти 722, 772x и 772y хранятся данные и программные коды для контроллеров 720, 770x, и 770y соответственно. Диспетчер 780x осуществляет диспетчеризацию терминалов для связи с базовой станцией 110x, а также назначает каналы трафика запланированным терминалам, например, на основании отчетов IS OSI от соседних базовых станций.
Описанные здесь техники управления помехой можно реализовать различными средствами. Например, эти техники можно реализовать аппаратными средствами, программными средствами или комбинированными средствами. Для аппаратной реализации блоки обработки, используемые для осуществления управления помехой на базовой станции можно реализовать в виде одного/й или нескольких специализированных интегральных схем (СИС), цифровых сигнальных процессоров (ЦСП), устройств цифровой обработки сигналов (УЦОС), программируемых логических устройств (ПЛУ), программируемых пользователем вентильных матриц (ППВМ), процессоров, контроллеров, микроконтроллеров, микропроцессоров, электронных устройств, других электронных блоков, предназначенных для осуществления описанных здесь функций, или их комбинации. Блоки обработки, используемые для осуществления управления помехой на терминале, также могут быть реализованы в виде одного/й или нескольких СИС, ЦСП, процессоров, электронных устройств и т.д.
Для программной реализации техники управления помехой можно реализовать в виде модулей (например, процедур, функций и т.д.), которые осуществляют описанные здесь функции. Программные коды могут храниться в блоке памяти (например, блоке памяти 722, 772x или 772y, показанном на фиг.7) и выполняться процессором (например, контроллером 720, 770x или 770y). Блок памяти можно реализовать внутри процессора или вне процессора.
Вышеприведенное описание раскрытых вариантов осуществления предоставлено, чтобы специалист в данной области мог использовать настоящее изобретение. Специалисту в данной области должны быть очевидны различные модификации этих вариантов осуществления, и раскрытые здесь общие принципы можно применять к другим вариантам осуществления, не выходя за рамки сущности и объема изобретения. Таким образом, настоящее изобретение не ограничивается показанными здесь вариантами осуществления, но подлежит рассмотрению в самом широком объеме, согласующемся с раскрытыми здесь принципами и признаками новизны.
Формула изобретения
1. Устройство для управления помехой в системе связи, содержащее средство оценки помехи, обнаруживаемой сектором, вследствие передач с терминалов в соседних секторах, и обеспечения оценки помехи; и средство формирования отчета о помехе на основании оценки помехи, при этом отчет о помехе указывает один из множественных возможных уровней помехи, обнаруживаемых сектором; и средство рассылки отчета о помехе терминалам в соседние сектора.
2. Устройство по п.1, в котором отчет о помехе отражает помеху, обнаруживаемую сектором, относительно, по меньшей мере, двух порогов.
3. Устройство по п.1, в котором отчет о помехе указывает, ниже ли помеха, обнаруживаемая сектором, первого порога, находится ли она между первым порогом и вторым порогом или же она превышает второй порог.
4. Устройство по п.1, дополнительно содержащее средство формирования второго отчета о помехе на основании оценки помехи и при этом второй отчет о помехе содержит более подробную информацию о помехе, обнаруживаемой сектором, чем отчет о помехе.
5. Устройство по п.4, дополнительно содержащее средство отправки второго отчета о помехе в, по меньшей мере, один из соседних секторов и средство формирования передач данных терминалам в секторе, который принимает второй отчет о помехе.
6. Устройство по п.4, дополнительно содержащее средство формирования второго отчета о помехе, если оценка помехи выше заранее определенного порога или если, по меньшей мере, один из соседних секторов запрашивает второй отчет о помехе.
7. Устройство по п.1, дополнительно содержащее средство регулировки передаваемой мощности на основании разосланного отчета о помехе.
8. Устройство по п.7, в котором средство регулировки дополнительно регулирует передаваемую мощность в разной степени для разных обнаруживаемых уровней помехи.
9. Устройство по п.7, в котором средство регулировки дополнительно регулирует передаваемую мощность в разных темпах для разных обнаруживаемых уровней помехи.
10. Устройство по п.7, дополнительно содержащее средство определения темпа регулировки передаваемой мощности на основании класса приоритета пользователя или класса качества обслуживания (QoS) и регулировки передаваемой мощности в определенном темпе.
11. Устройство по п.7, дополнительно содержащее средство идентификации соседнего сектора, вносящего самую мощную помеху, и средство регулировки передаваемой мощности на основании разосланного отчета о помехе, принятого от соседнего сектора, вносящего самую мощную помеху.
12. Устройство по п.7, дополнительно содержащее средство регулировки передаваемой мощности дополнительно на основании отчетов о помехе, ранее принятых от, по меньшей мере, одного соседнего сектора.
13. Устройство по п.7, дополнительно содержащее средство избирательного применения нижнего предела передаваемой мощности к передаваемой мощности на основании разосланного отчета о помехе.
14. Устройство по п.4, дополнительно содержащее средство управления вводом терминалов на основании, по меньшей мере, одного, выбранного из группы, состоящей из принятого второго отчета о помехе, класса приоритета пользователя, класса качеств обслуживания (QoS).
15. Устройство по п.4, дополнительно содержащее средство блокировки доступа или отмены назначения терминалов, которым уже предоставлен доступ к сектору, на основании принятого второго отчета о помехе.
16. Устройство по п.4, дополнительно содержащее средство управления нагрузкой сектора на основании принятого второго отчета о помехе.
17. Устройство по п.4, дополнительно содержащее средство диспетчеризации терминалов доступа в секторе для передачи данных на основании принятого второго отчета о помехе.
18. Устройство по п.4, дополнительно содержащее средство снижения скорости передачи данных для, по меньшей мере, одного из терминалов в секторе, который принимает второй отчет о помехе, если какой-нибудь из соседних секторов обнаруживает чрезмерную помеху.
19. Устройство по п.4, дополнительно содержащее средство назначения каналов трафика терминалам в секторе на основании принятого второго отчета о помехе.
20. Способ управления помехой в беспроводной системе связи, содержащий этапы, на которых оценивают помеху, обнаруживаемую сектором, вследствие передач с терминалов в соседних секторах и обеспечивают оценку помехи; формируют отчет о помехе на основании оценки помехи, при этом отчет о помехе указывает один из множественных возможных уровней помехи, обнаруживаемых сектором; и рассылают отчет о помехе терминалам в соседние сектора.
21. Способ по п.20, в котором отчет о помехе отражает помеху, обнаруживаемую сектором, относительно, по меньшей мере, двух порогов.
22. Способ по п.20, в котором отчет о помехе указывает, ниже ли помеха, обнаруживаемая сектором, первого порога, находится ли она между первым порогом и вторым порогом или же она превышает второй порог.
23. Способ по п.20, дополнительно содержащий этап, на котором регулируют передаваемую мощность на основании разосланного отчета о помехе.
24. Способ по п.23, в котором передаваемая мощность регулируется в разной степени для разных обнаруживаемых уровней помехи.
25. Способ по п.23, в котором передаваемая мощность регулируется в разных темпах для разных обнаруживаемых уровней помехи.
26. Способ по п.23, дополнительно содержащий этап, на котором определяют темп регулировки передаваемой мощности на основании класса приоритета пользователя или класса качества обслуживания (QoS) и регулируют передаваемую мощность в определенном темпе.
27. Способ по п.23, дополнительно содержащий этап, на котором идентифицируют соседний сектор, вносящий самую мощную помеху, и при этом регулировка передаваемой мощности основана на разосланном отчете о помехе, принятом от соседнего сектора, вносящего самую мощную помеху.
28. Способ по п.23, дополнительно содержащий этап, на котором регулируют передаваемую мощность на основании ранее принятых разосланных отчетов о помехе.
29. Способ по п.23, дополнительно содержащий этап, на котором избирательно применяют нижний предел передаваемой мощности к передаваемой мощности на основании разосланного отчета о помехе.
30. Способ по п.20, дополнительно содержащий этап, на котором формируют второй отчет о помехе на основании оценки помехи и при этом второй отчет о помехе содержит более подробную информацию о помехе, обнаруживаемой сектором, чем отчет о помехе.
31. Способ по п.30, дополнительно содержащий этап, на котором формируют второй отчет о помехе, если оценка помехи выше заранее определенного порога или если, по меньшей мере, один из соседних секторов запрашивает второй отчет о помехе.
32. Способ по п.30, дополнительно содержащий этапы, на которых: отправляют второй отчет о помехе в, по меньшей мере, один из соседних секторов и регулируют передачи данных для терминалов в секторе, который принимает второй отчет о помехе.
33. Способ по п.32, дополнительно содержащий этап, на котором вводят терминалы на основании, по меньшей мере, одного, выбранного из группы, состоящей из принятого второго отчета о помехе, класса приоритета пользователя, класса качества обслуживания (QoS).
34. Способ по п.32, дополнительно содержащий этап, на котором блокируют доступ или отменяют назначение терминалов, которым уже предоставлен доступ к сектору, на основании принятого второго отчета о помехе.
35. Способ по п.32, дополнительно содержащий этап, на котором управляют нагрузкой сектора на основании принятого второго отчета о помехе.
36. Способ по п.32, дополнительно содержащий этап, на котором осуществляют диспетчеризацию терминалов в секторе для передачи данных на основании принятого второго отчета о помехе.
37. Способ по п.32, дополнительно содержащий этап, на котором снижают скорость передачи данных для, по меньшей мере, одного из терминалов в секторе, который принимает второй отчет о помехе, если какой-нибудь из соседних секторов обнаруживает чрезмерную помеху.
38. Способ по п.32, дополнительно содержащий этап, на котором назначают каналы трафика терминалам в секторе на основании принятого второго отчета о помехе.
39. Машиночитаемый носитель, содержащий код для побуждения компьютера осуществлять способ по любому из пп.20-38.
РИСУНКИ
|
|