|
(21), (22) Заявка: 2009124735/09, 29.06.2009
(24) Дата начала отсчета срока действия патента:
29.06.2009
(46) Опубликовано: 20.07.2010
(56) Список документов, цитированных в отчете о поиске:
RU 2310954 С1, 20.11.2007. RU 2298268 С1, 20.04.2007. RU 2182392 C1, 10.05.2002. GB 1601441 A, 28.10.1981. DE 3215323 A, 28.07.1983. US 201029368 A1, 11.10.2001.
Адрес для переписки:
634045, г.Томск, ул. Вершинина, 47, ЗАО “НПФ “Микран”
|
(72) Автор(ы):
Орлов Александр Борисович (RU), Бацула Александр Пантелеевич (RU), Волков Константин Михайлович (RU), Вуколов Алексей Эрнестович (RU), Гюнтер Виктор Яковлевич (RU), Крылов Алексей Николаевич (RU)
(73) Патентообладатель(и):
Закрытое акционерное общество “Научно-производственная фирма “Микран” (RU)
|
(54) АНТЕННА
(57) Реферат:
Изобретение относится к области радиотехники, в частности к сверхширокополосным антеннам СВЧ диапазона. Техническим результатом является создание широкополосной антенны, излучающей продольные электромагнитные волны с низким уровнем неравномерности характеристики согласования, уменьшение габаритов, простота и высокотехнологичность конструкции. Антенна содержит металлический рефлектор (1), выполненный расширяющейся формы и состоящий из двух идентичных осесимметричных металлических пластин (11), соединенных с противоположными сторонами (14) наружного проводника (3) отрезка линии передачи (2) волны типа ТЕМ, выполненного в виде прямоугольного экрана, а внутренний проводник (4) отрезка линии передачи (2) выполнен в виде двух идентичных ленточных проводников (8), при этом с одной стороны ленточные проводники (7) соединены с возбудителем (6), выполненным в виде двух идентичных плоских проводников (8), расположенных в области рефлектора (1), причем ленточные проводники (7) и плоские проводники (8) возбудителя расположены симметрично на разных сторонах диэлектрического основания (9), соответственно, а с другой стороны ленточные проводники (9) гальванически соединены между собой контактным элементом (10), который по центру соединен с канализирующей линией передачи (6), причем продольная ось внутреннего проводника (4) отрезка линии передачи (2) волны типа ТЕМ, продольная ось возбудителя (6) и продольная ось рефлектора (1) соосны и являются продольной осью антенны. 43 з.п. ф-лы, 58 ил.
Данное изобретение относится к области радиотехники, в частности к сверхширокополосным антеннам СВЧ диапазона, и может найти применение в метрологии, в системах связи, в радиодефектоскопии, в задачах радиомониторинга, в задачах электромагнитной совместимости (ЭМС), в составе фазированных антенных решеток.
Известна широкополосная антенна (патент РФ 2298268, МПК6 H01Q 9/00, опубл. 27.04.2007 г.), выполненная на основе печатной антиподальной щелевой линии (АПЩЛ). Апертура антенны образована отрезком АПЩЛ без перекрытия и содержит две одинаковые металлические пластины, расположенные на разных сторонах диэлектрической подложки, одна из которых сигнальная, другая земляная. В излучающей части антенны металлические пластины АПЩЛ выполнены экспоненциально расширяющимися по внутренней боковой кромке от области нулевого перекрытия АПЩЛ до области максимального раскрыва апертуры, при этом в области апертуры антенны по внутренней боковой кромке сигнальной и земляной металлических пластин от области нулевого перекрытия до области максимального раскрыва апертуры антенны установлены перпендикулярно плоскости диэлектрической подложки металлические излучающие поверхности. Запитывающий сигнальный проводник отрезка несимметричной полосковой линии передачи торцом гальванически подключен к внутренней боковой кромке сигнальной металлической пластины АПЩЛ в области нулевого перекрытия, а его земляная плоскость размещена с земляной металлической пластиной на одной поверхности диэлектрической подложки в области нулевого перекрытия АПЩЛ и гальванически соединена с торцевой боковой кромкой земляной металлической пластины.
Недостатком известного технического решения является невозможность формирования и излучения продольных электромагнитных волн.
Наиболее близким техническим решением-прототипом является антенна продольных электромагнитных волн (патент РФ 2310954, МПК6 H01Q 13/00, опубл. 20.11.2007 г.), выполненная на основе металлического рефлектора в форме конусообразной поверхности, отрезка коаксиальной линии, выполненного из наружного и внутреннего проводника, возбудителя, выполненного цилиндрическим и установленным внутри рефлектора, при этом наружный проводник отрезка коаксиальной линии подсоединен к рефлектору, а внутренний проводник – к возбудителю с образованием продольного зазора вдоль продольной оси рефлектора между торцом наружного проводника отрезка коаксиальной линии и торцом возбудителя, обращенным к нему, по меньшей мере, один элемент для компенсации реактивностей, установленный на возбудителе. Как вариант, возможна со стороны наибольшего диаметра конусообразной поверхности рефлектора установка цилиндрической бленды, а также со стороны наибольшего диаметра конусообразной поверхности рефлектора установка, по меньшей мере, одного дискового директора.
Недостатками известного технического решения являются узкополосность, сложность конструкции, значительные габариты антенны.
Основной технической задачей данного изобретения является создание широкополосной антенны, излучающей продольные электромагнитные волны с низким уровнем неравномерности характеристики согласования во всем диапазоне частот антенны, с уменьшенными габаритами, простой и высокотехнологичной конструкцией.
Основная техническая задача достигается тем, что в антенне, содержащей рефлектор, отрезок линии передачи волны типа ТЕМ, состоящий из наружного и внутреннего проводников, возбудитель, который установлен внутри рефлектора, причем с одной стороны наружный проводник отрезка линии передачи волны типа ТЕМ соединен с рефлектором, а внутренний проводник отрезка линии передачи волны типа ТЕМ соединен с возбудителем, а с другой стороны отрезок линии передачи волны типа ТЕМ соединен с каналом передач, причем продольная ось внутреннего проводника отрезка линии передачи волны типа ТЕМ, продольная ось возбудителя и продольная ось рефлектора соосны и являются продольной осью антенны, при этом рефлектор в области апертуры антенны в направлении от области соединения с внешним проводником отрезка линии передачи волны типа ТЕМ к области его максимального раскрыва выполнен расширяющимся, согласно предложенному решению, наружный проводник отрезка линии передачи волны типа ТЕМ выполнен в виде экрана прямоугольной формы, а внутренний проводник отрезка линии передачи волны типа ТЕМ выполнен в виде двух идентичных ленточных проводников, соединенных гальванически между собой контактным элементом со стороны соединения с каналом передач, при этом возбудитель выполнен в виде двух идентичных плоских проводников, которые расположены на разных сторонах диэлектрического основания симметрично относительно координатной плоскости, проходящей через середину диэлектрического основания и продольную ось антенны, причем рефлектор состоит из двух идентичных осесимметричных металлических пластин, соединенных с двумя противоположными сторонами наружного проводника отрезка линии передачи волны типа ТЕМ, которые параллельны диэлектрическому основанию соответственно, а продольная ось симметрии металлических пластин рефлектора расположена на второй координатной плоскости, которая ортогональна координатной плоскости и они пересекаются по координатной линии, совпадающей с продольной осью антенны.
Целесообразно ленточные проводники внутреннего проводника отрезка линии передачи волны типа ТЕМ и плоские проводники возбудителя располагать параллельно координатной плоскости, при этом плоский проводник возбудителя выполнен осесимметричным и соединен соосно с соответствующим ленточным проводником внутреннего проводника отрезка линии передачи волны типа ТЕМ.
Кроме того, целесообразно ленточные проводники внутреннего проводника отрезка линии передачи волны типа ТЕМ и плоские проводники возбудителя плоскостями располагать перпендикулярно координатной плоскости, при этом одной боковой кромкой каждый из них расположен на диэлектрическом основании.
Каждая металлическая пластина рефлектора в области апертуры антенны может быть выполнена в форме прямоугольника.
Каждая металлическая пластина рефлектора в области апертуры антенны в направлении от области соединения с внешним проводником отрезка линии передачи волны типа ТЕМ к области максимального раскрыва апертуры может быть выполнена расширяющейся формы, причем закон расширения описывается линейной или нелинейной функцией.
Закон расширения металлической пластины рефлектора может описываться функцией
y=ax±m/n,
где: a – коэффициент, задается действительным числом;
m, n – целые положительные взаимно простые числа, причем n>m;
x – координата, соответствующая продольной оси антенны.
Закон расширения металлических пластин рефлектора может также описываться функцией
y=aebx+cedx ,
где: a, b, c, d – коэффициенты, которые задаются действительными числами;
x – координата, соответствующая продольной оси антенны.
Профиль металлических пластин рефлектора в области апертуры вдоль продольной оси антенны относительно координатной плоскости может быть выполнен прямолинейным.
Профиль металлических пластин рефлектора в области апертуры вдоль продольной оси антенны относительно координатной плоскости может быть также выполнен нелинейным.
Нелинейный профиль металлических пластин рефлектора может описываться функцией
y=ax±m/n,
где: a – коэффициент, задается действительным числом;
m, n – целые положительные взаимно простые числа, причем n>m;
x – координата, соответствующая продольной оси антенны.
Нелинейный профиль металлических пластин рефлектора может описываться функцией
y=aebx+cedx,
где: a, b, c, d – коэффициенты, задаются действительными числами;
x – координата, соответствующая продольной оси антенны.
Плоский проводник возбудителя может быть выполнен в виде пластины в форме прямоугольника.
Плоский проводник возбудителя может быть выполнен в виде пластины, которая по двум внешним боковым кромкам в направлении от области соединения с ленточным проводником внутреннего проводника отрезка линии передачи волны типа ТЕМ к области максимального раскрыва апертуры антенны выполнена идентично расширяющейся, при этом закон расширения внешних боковых кромок пластины описывается линейной или нелинейной функцией.
Закон расширения пластины возбудителя по внешним боковым кромкам пластины может описываться функцией
y=ax±m/n,
где: a – коэффициент, задается действительным числом;
m, n – целые положительные взаимно простые числа, причем n>m;
x – координата, соответствующая продольной оси антенны.
Закон расширения пластины возбудителя по внешним боковым кромкам также может описываться функцией
y=aebx+cedx,
где: a, b, c, d – коэффициенты, задаются действительными числами;
x – координата, соответствующая продольной оси антенны.
Плоский проводник возбудителя может быть выполнен в виде пластины в форме прямоугольника.
Диэлектрическая проницаемость диэлектрического основания равна или больше единицы.
На две противоположные внутренние поверхности внешнего проводника отрезка линии передачи волны типа ТЕМ, параллельные диэлектрическому основанию, может быть установлено идентичное диэлектрическое покрытие.
Диэлектрическое покрытие может быть выполнено с постоянной толщиной.
Толщина диэлектрического покрытия может быть выполнена увеличивающейся или уменьшающейся в направлении от области подключения контактного элемента к внутренним проводникам отрезка линии передачи волны типа ТЕМ к области подключения металлических пластин рефлектора к внешнему проводнику отрезка линии передачи волны типа ТЕМ, при этом закон увеличения или уменьшения описывается линейной или нелинейной функцией.
Закон увеличения или уменьшения толщины диэлектрического покрытия может описываться функцией
y=ax±m/n,
где: a – коэффициент, задается действительным числом;
m, n – целые положительные взаимно простые числа, причем n>m;
x – координата, соответствующая продольной оси антенны.
Закон увеличения или уменьшения толщины диэлектрического покрытия может описываться функцией
y=aebx+cedx,
где: a, b, c, d – коэффициенты, задаются действительными числами;
x – координата, соответствующая продольной оси антенны.
На поверхность каждой металлической пластины рефлектора со стороны апертуры антенны может быть установлена диэлектрическая пластина с относительной диэлектрической проницаемостью больше единицы.
Диэлектрическая пластина может быть выполнена с постоянной толщиной.
Толщина диэлектрической пластины может быть выполнена увеличивающейся или уменьшающейся в направлении от области соединения с внешним проводником отрезка линии передачи волны тина ТЕМ к области максимального раскрыва апертуры антенны, при этом закон увеличения или уменьшения толщины диэлектрической пластины описываются линейной или нелинейной функцией.
Закон увеличения или уменьшения толщины диэлектрической пластины может описываться функцией
y=ax±m/n,
где: a – коэффициент, задается действительным числом;
m, n – целые положительные взаимно простые числа, причем n>m.
Закон увеличения или уменьшения толщины диэлектрической пластины может также описываться нелинейной функцией
y=aebx+cedx,
где: a, b, c, d – коэффициенты, задаются действительными числами;
x – координата, соответствующая продольной оси антенны.
Дополнительно может быть введено два диэлектрических клина, установленных на ленточные проводники внутреннего проводника отрезка линии передачи волны типа ТЕМ и на плоские проводники возбудителя соответственно, при этом относительная диэлектрическая проницаемость диэлектрического клина больше единицы.
Ленточные проводники внутреннего проводника отрезка линии передачи волны типа ТЕМ и плоские проводники возбудителя могут быть выполнены постоянной толщины.
Между каждым ленточным проводником внутреннего отрезка линии передачи волны типа ТЕМ и соответствующим плоским проводником возбудителя может быть включено переходное устройство.
Переходное устройство может быть выполнено в виде ленточного проводника и расположено с ленточным проводником внутреннего отрезка линии передачи волны ТЕМ в одной плоскости.
Переходное устройство может быть выполнено в виде емкостного зазора между ленточным проводником внутреннего отрезка линии передачи волны типа ТЕМ и плоским проводником возбудителя.
Переходное устройство может быть выполнено в виде полупроводникового элемента с регулируемой емкостью.
Дополнительно может быть введено, по меньшей мере, по одной паре идентичных согласующих элементов на каждый плоский проводник возбудителя, которые соединены с ними идентично, причем согласующий элемент на каждый плоский проводник возбудителя устанавливается симметрично относительно второй координатной плоскости.
Согласующий элемент может быть выполнен в виде, по крайней мере, одной пары идентичных импедансных шлейфов, которые выполнены в виде ленточных проводников и соединены гальванически с плоскими проводниками возбудителя.
Согласующий элемент может быть выполнен в виде, по крайней мере, одной пары идентичных неоднородных импедансных шлейфов.
Неоднородные импедансные шлейфы могут быть соединены с плоскими проводниками возбудителя гальванически или электромагнитно.
Дополнительно может быть введено, по меньшей мере, по одному идентичному согласующему элементу на каждый плоский проводник возбудителя, при этом согласующий элемент на каждый плоский проводник возбудителя устанавливается симметрично относительно координатной плоскости.
Согласующий элемент может быть выполнен в виде, по крайней мере, одной пары импедансных шлейфов, которые выполнены в виде ленточных проводников и соединены гальванически с плоскими проводниками возбудителя.
Согласующий элемент может быть выполнен в виде, по крайней мере, одной пары идентичных неоднородных импедансных шлейфов.
Неоднородные импедансные шлейфы могут быть соединены с плоскими проводниками возбудителя гальванически или электромагнитно.
Дополнительно может быть введен, по меньшей мере, один директор, установленный со стороны наибольшего размера рефлектора параллельно координатной плоскости.
К торцевой боковой кромке каждой металлической пластины рефлектора в области максимального раскрыва апертуры антенны может быть установлена и гальванически соединена корректирующая металлическая пластина, которая расположена параллельно координатной плоскости.
Ширина корректирующей металлической пластины может быть равна или больше ширины металлической пластины рефлектора в области соединения.
Антенна, излучающая или принимающая продольные электромагнитные волны, структурно состоит из трех основных частей: отрезка линии передачи волны типа ТЕМ, возбудителя, излучающей части – рефлектора.
Отрезок линии передачи волны типа ТЕМ образован прямоугольным экраном – внешний проводник, и парой идентичных ленточных проводника – внутренний проводник, которые расположены на разных сторонах диэлектрического основания, при этом ленточные проводники закорочены контактным элементом в месте подключения центрального проводника канализирующей линии передачи или коаксиального соединителя, причем подключение центрального проводника должно быть строго по центру контактного элемента, расположенного на продольной оси антенны. Возбудитель также состоит из пары идентичных плоских проводников, каждый из которых подключен к соответствующему ленточному проводнику и расположен в области рефлектора. Рефлектор образован двумя идентичными сторонами прямоугольного экрана внешнего проводника линии передачи волны типа ТЕМ соответственно.
Таким образом, прямоугольный экран с соединенными с ним двумя металлическими пластинами рефлектора, если не рассматривать тип возбуждаемой волны и принцип возбуждения, идентичны прямоугольной рупорной антенне без боковых стенок, запитываемой прямоугольным волноводом.
В данной антенне контактный элемент, закорачивающий ленточные проводники на одном конце в месте подключения канализирующей линии передачи, обеспечивает синфазное и равноамплитудное возбуждение каждого ленточного проводника и соответствующего возбудителя – это соответствует режиму четного возбуждения. Четное возбуждение ленточных проводников эквивалентно расположено на координатной плоскости, проходящей через середину диэлектрического основания электрической стенки (Дж.Л.Альтман. Устройства сверхвысоких частот. Пер. с англ. Под редакцией И.В.Лебедева, изд. “Мир”, М., 1968 г.). В этом случае имеют место две синфазные равноамплитудные линии передачи волны ТЕМ, каждая из которых нагружена на свой возбудитель. Таким образом, каждый возбудитель и соответствующая ему металлическая пластина рефлектора формируют поперечную электромагнитную волну внутри рефлектора. В результате этого электромагнитное поле поперечной электромагнитной волны на внутренних поверхностях металлических пластин рефлектора формирует продольную электромагнитную волну, которая излучается в направлении максимального раскрыва рефлектора.
В двух вариантах расположения ленточных проводников внутреннего проводника отрезка линии передачи волны типа ТЕМ и плоских проводников возбудителя обеспечивается полная симметрия относительно координатной и второй координатной плоскостей соответственно.
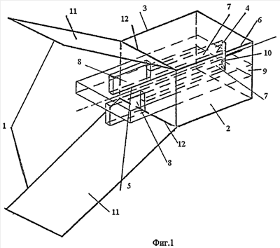
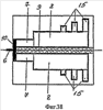
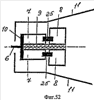
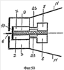
На фиг.1 изображена конструкция антенны, в которой ленточные проводники внутреннего проводника отрезка линии передачи волны ТЕМ и плоские проводники возбудителя расположены перпендикулярно диэлектрическому основанию; на фиг.2 – продольное сечение антенны (фиг.1); на фиг.3 – вид на антенну (фиг.1) со стороны апертуры; на фиг.4 – конструкция антенны, в которой ленточные проводники внутреннего проводника отрезка линии передачи волны и плоские проводники возбудителя расположены параллельно диэлектрическому основанию; на фиг.5 – продольное сечение антенны (фиг.4); на фиг.6 – вид на антенну (фиг.4) со стороны апертуры, на фиг.7-9 – варианты выполнения металлической пластины рефлектора; на фиг.10-11 – продольное сечение антенны (фиг.4) с вогнутым и выпуклым профилем металлических пластин рефлектора в области апертуры вдоль продольной оси; на фиг.12 – вариант выполнения плоского проводника возбудителя антенны (фиг.1) прямоугольной формы, на фиг.13-15 – варианты выполнения плоского проводника возбудителя антенны (фиг.1) расширяющейся формы с внешней боковой кромкой линейной формы, вогнутой формы и выпуклой формы; на фиг.16 – вариант выполнения плоского проводника возбудителя антенны (фиг.4) прямоугольной формы, на фиг.17-19 – варианты выполнения плоского проводника возбудителя антенны (фиг.4) расширяющейся формы с внешней боковой кромкой линейной формы, вогнутой формы и выпуклой формы; на фиг.20 – продольное сечение антенны (фиг.1) с диэлектрическим покрытием постоянной толщины, установленным на внутреннюю поверхность каждого внешнего проводника отрезка линии передачи параллельно диэлектрическому основанию; на фиг.21-26 – варианты выполнения диэлектрического покрытия внутренней поверхности каждого внешнего проводника отрезка линии передачи антенны (фиг.1), на фиг.27 – продольное сечение антенны (фиг.4) с установленной на поверхность каждой металлической пластины рефлектора, со стороны апертуры антенны, диэлектрической пластины постоянной толщины; на фиг.28-33 – варианты выполнения диэлектрической пластины антенны, установленной на поверхность каждой металлической пластины рефлектора, со стороны апертуры антенны, на фиг.34 – пример выполнения антенны с диэлектрическим покрытием внутренней поверхности внешнего проводника, отрезка линии передачи волны и с установленной на поверхность каждой металлической пластины рефлектора диэлектрической пластины; на фиг.35 – пример выполнения антенны (фиг.4) с диэлектрическими клиньями, установленными на часть внутреннего проводника отрезка линии передачи волны типа ТЕМ и металлические пластины рефлектора; на фиг.36 – вид на антенну (фиг.35) со стороны апертуры, на фиг.37 – пример выполнения антенны (фиг.4) с полным диэлектрическим покрытием внутренней поверхности между внутренним и внешним проводником отрезка линии передачи волны ТЕМ и установкой на поверхность каждой металлической пластины рефлектора диэлектрической пластины выпуклого профиля; на фиг.38-43 – варианты выполнения согласующего элемента антенны (фиг.1) и его соединения с плоскими проводниками возбудителя; на фиг.44-49 – варианты выполнения согласующего элемента (фиг.4) и его соединения с плоскими проводниками возбудителя; на фиг.50-52 – варианты выполнения переходного устройства антенны (фиг.1), на фиг.53-55 – варианты выполнения переходного устройства антенны (фиг.4); на фиг.56 – антенна (фиг.1), выполненная с двумя директорами, на фиг.57 – антенна (фиг.4), выполненная с тремя директорами, на фиг.58 – антенна (фиг.4), выполненная с корректирующими металлическими пластинами.
Антенна (фиг.1) содержит металлический рефлектор 1, отрезок линии передачи 2 волны типа ТЕМ, содержащий наружный 3 и внутренний 4 проводники, возбудитель 5, который установлен внутри рефлектора 1. С одной стороны наружный проводник 3 отрезка линии передачи 2 соединен с рефлектором 1, а внутренний проводник 4 отрезка линии передачи 2 соединен с возбудителем 5, а с другой стороны наружный 3 и внутренний 4 проводники отрезка линии передачи 2 соединены с каналом передачи 6, причем продольная ось внутреннего проводника 4 отрезка линии передачи 2, продольная ось возбудителя 5 и продольная ось рефлектора 1 соосны и являются продольной осью антенны, при этом рефлектор 1 в области апертуры антенны в направлении от области соединения с внешним проводником 3 отрезка линии передачи 2 к области максимального раскрыва апертуры выполнен расширяющимся, внутренний проводник 4 отрезка линии передачи 2 выполнен в виде двух идентичных ленточных проводников 7, а возбудитель 5 выполнен в виде двух идентичных плоских проводников 8, которые расположены на разных сторонах диэлектрического основания 9, соответственно, симметрично относительно координатной плоскости, проходящей через середину диэлектрического основания 9, и на котором расположена продольная ось антенны. Ленточные проводники 7 внутреннего отрезка линии передачи 2 со стороны соединения с каналом передачи 6 гальванически соединены между собой контактным элементом 10. Рефлектор 1 состоит из двух идентичных осесимметричных металлических пластин 11, соединенных с двумя противоположными сторонами наружного проводника 3 отрезка линии передачи 2, которые параллельны диэлектрическому основанию 9, соответственно, а продольная ось симметрии металлических пластин 11 рефлектора 1 расположена на второй координатной плоскости, которая ортогональна координатной плоскости, и они взаимно пересекаются по координатной линии, совпадающей с продольной осью антенны.
Антенна может выполняться в двух вариантах расположения внутреннего проводника 4 отрезка линии передачи 2 и плоских проводников 8 возбудителя 5.
В антенне (фиг.1) ленточные проводники 7 внутреннего проводника 4, отрезка линии передачи 2 и плоские проводники 8 возбудителя 5 расположены перпендикулярно координатной плоскости и одной боковой кромкой расположены на диэлектрическом основании 9. В антенне (фиг.4) ленточные проводники 7 внутреннего проводника 4, отрезка линии передачи 2 и плоские проводники 8 возбудителя 5 расположены параллельно координатной плоскости. Металлические пластины 11 рефлектора 1 в области апертуры могут быть выполнены линейно расширяющейся формы, например выпуклой формы (фиг.7), вогнутой формы (фиг.8) или в виде равнобокой трапеции (фиг.9).
Плоский проводник 8 возбудителя 5 антенны (фиг.1) может быть прямоугольной формы с шириной больше ширины ленточного проводника 7 (фиг.12), расширяющимся по одной внешней боковой кромке линейной формы (фиг.13), вогнутой формы для антенны (фиг.14), выпуклой формы (фиг.15). Плоский проводник 8 возбудителя 5 антенны 9 (фиг.4) выполнен идентично (фиг.16-19).
Диэлектрическое покрытие 12, установленное на внутреннюю поверхность внешнего проводника 3 отрезка линии передач 2, выполнено как для антенны (фиг.1), так и для антенны (фиг.4) с постоянной толщиной (фиг.20).
Диэлектрическое покрытие 12 может быть выполнено с толщиной, увеличивающейся линейно (фиг.21), или толщиной, имеющей выпуклый профиль (фиг.22) или вогнутый профиль (фиг.23) в направлении от области подключения контактного элемента 10 к ленточным проводникам 7 внутреннего проводника 4 к области подключения металлических пластин 11 рефлектора 1 к внешнему проводнику 3, отрезка линии передачи 2.
Также диэлектрическое покрытие 12 может быть выполнено с линейно уменьшающейся толщиной (фиг.24) или толщиной, имеющей выпуклый профиль (фиг.25), или вогнутого профиля (фиг.26) в направлении от области подключения контактного элемента 10 к внутренним проводникам 7 к области подключения металлических пластин 11 рефлектора 1 к внешнему проводнику 3.
На поверхность каждой металлической пластины 11 рефлектора 1, со стороны апертуры установлена диэлектрическая пластина 13, например, постоянной толщины (фиг.27) или линейно уменьшающейся толщины (фиг.28), или уменьшающейся толщины выпуклого профиля (фиг.29), или уменьшающейся толщины вогнутого профиля (фиг.30) в направлении от области соединения с внешним проводником 3 к области максимального раскрыва апертуры для антенны.
Также на поверхность каждой металлической пластины 11 рефлектора 1, со стороны апертуры, диэлектрической пластины 15, например линейно увеличивающейся толщины, в направлении от области соединения с внешним проводником 4, отрезка линии передачи 3 волны типа ТЕМ, к области максимального раскрыва апертуры для антенны 1 (фиг.4).
Антенна 1 (фиг.32) выполнена с установленной на поверхность каждой металлической пластины 13 рефлектора 2, со стороны апертуры, диэлектрической пластины 15, например, увеличивающейся толщины выпуклого профиля, в направлении от области соединения с внешним проводником 4 к области максимального раскрыва апертуры для антенны 1 (фиг.4).
Антенна 1 (фиг.33) выполнена с установленной на поверхность каждой металлической пластины 13 рефлектора 2, со стороны апертуры, диэлектрической пластины 15, например, увеличивающейся толщины вогнутого профиля, в направлении от области соединения с внешним проводником 4 к области максимального раскрыва апертуры для антенны 1 (фиг.4).
Антенна 1 (фиг.34) – пример выполнения антенны с диэлектрическим покрытием 14 внутренней поверхности внешнего проводника 4 и с установленной на поверхность каждой металлической пластины 13 рефлектора 2 диэлектрической пластины 15.
Диэлектрические клинья 14 (фиг.35) установлены на часть ленточного проводника 7, отрезка линии передачи 2 и на металлические пластины возбудителя 8, при этом одной боковой поверхностью диэлектрический клин 14 расположен на части поверхности ленточных проводников 7 внутреннего проводника 4, на пластине возбудителя 8, а другой боковой поверхностью – на пластине 11 рефлектора 1 (антенна 2). На фиг.36 показан вид со стороны апертуры антенны (фиг.35) с диэлектрическим клином 14 и шириной клина, например, равной ширине пластины возбудителя 8.
Диэлектрическое покрытие 13 (фиг.37) может быть выполнено с полным заполнением внутренней поверхности отрезка линии передачи 2 и с установленной на поверхность каждой металлической пластины 11 рефлектора 1 диэлектрической пластины 13 для антенны 1 (фиг.4).
Согласующий элемент для антенны (фиг.1) может быть выполнен из трех пар идентичных импедансных шлейфов (фиг.38) в форме ленточных проводников 15, из пары идентичных неоднородных импедансных шлейфов(фиг.39) или и двух пар идентичных неоднородных импедансных шлейфов, выполненных в форме треугольного проводника 16 (фиг.40), которые соединены гальванически с плоскими проводниками возбудителя 8. Согласующий элемент для антенны (фиг.1) состоит из пары идентичных неоднородных импедансных шлейфов в форме равнобедренного треугольного проводника 17, который соединен гальванически ленточной перемычкой 18 с торцевыми кромками плоского проводника возбудителя 8 (фиг.41).
Согласующий элемент для антенны (фиг.1), состоящий из пары идентичных неоднородных импедансных шлейфов 19 (фиг.42), соединен через зазор 20 и обеспечивает однородную электромагнитную связь с плоскими проводниками возбудителя 8.
Согласующий элемент, состоящий из пары идентичных неоднородных импедансных шлейфов 21 (фиг.43), соединенных через зазор 18, также обеспечивает неоднородную электромагнитную связь с плоскими проводниками возбудителя 8.
На фиг.44-49 представлен согласующий элемент для антенны (фиг.4), выполненный аналогично.
Переходное устройство для антенны (фиг.1) включено между каждым ленточным проводником 7 и плоским проводником возбудителя 8 и выполнено в виде ленточного проводника 23 (фиг.50). Переходное устройство может быть выполнено, например, в виде зазора 24 между каждым ленточным проводником 7 и плоским проводником возбудителя 8 (фиг.51).
Переходное устройство может быть так же выполнено в виде полупроводникового диода 25, включенного в зазор между каждым ленточным проводником 7 и плоским проводником возбудителя 8 (фиг.52).
Переходное устройство для антенны (фиг.4) включено между каждым ленточным проводником 7 и плоским проводником возбудителя 8 и выполнено в виде ленточного проводника 23(фиг.53).
Переходное устройство может быть в виде зазора 24 между каждым ленточным проводником 7 и плоским проводником возбудителя 8 (фиг.54). Переходное устройство может быть так же выполнено в виде полупроводникового диода 25, включенного в зазор между каждым ленточным проводником 7 и плоским проводником возбудителя 8 (фиг.55).
Антенна (фиг.1) выполнена с двумя директорами 26, которые расположены со стороны максимального раскрыва апертуры симметрично относительно продольной оси антенны и перпендикулярно диэлектрическому основанию 9 (фиг.56).
Антенна (фиг.4) выполнена с тремя директорами 26, которые расположены со стороны максимального раскрыва апертуры симметрично относительно продольной оси антенны и параллельно диэлектрическому основанию 9. Антенна (фиг.4) выполнена с корректирующими пластинами 27.
Антенна работает следующим образом.
В режиме излучения антенны (фиг.1 и фиг.4) входной СВЧ сигнал через канал передач 6 поступает на контактный элемент 10, который закорачивает пару идентичных ленточных проводников 7 внутреннего проводника 4 отрезка линии передачи 2, внешним проводником 3 является прямоугольный экран. Ленточные проводники 7, разделенные диэлектрическим основанием 9, возбуждены синфазно и равноамплитудно, что соответствует режиму четного возбуждения для полосковых линий передачи с лицевой связью. В результате этого образуются две идентичные линии передачи волны типа ТЕМ, образованные одним ленточным проводником 7 и внешним проводником 3. К каждому ленточному проводнику 7 подключен возбудитель 8, расположенный в области рефлектора 1.
Возбужденные двумя идентичными возбудителями 8 поперечные электромагнитные волны в области рефлектора 1 возбуждают на соответствующих поверхностях металлических пластин 11 рефлектора 1 поверхностные токи проводимости. Возбуждаемый поверхностный ток проводимости на поверхности каждой металлической пластины 11 рефлектора 1 порождает вектор электрического поля E, который характеризуется двумя составляющими электрического поля E и E . Первая из них параллельна продольной оси антенны, а вторая ортогональна оси антенны. В силу симметрии антенны относительно координатной плоскости, проходящей через середину диэлектрического основания 9 и параллельно ему, составляющие электрического поля E ориентированы одинаково и соответственно суммируются в апертуре, а составляющие электрического поля E ориентированы встречно и соответственно взаимно компенсируются в апертуре. В результате суммирования всех составляющих электрического поля E на металлических пластинах 11 рефлектора 1 на апертуре происходит формирование и излучение продольной электромагнитной волны. Таким образом, происходит трансформация поперечной электромагнитной волны во вторичную продольную электромагнитную волну, излучаемую в свободное пространство.
Угол раскрыва металлических пластин 11 рефлектора 1 выбирается в интервале (36°-118°).
В конкретных конструкциях антенн могут использоваться различные:
– формы металлических пластин 11 рефлектора 2 (фиг.7-фиг.9) и профиля (фиг.10, фиг.11);
– формы возбудителей 10 (фиг.12-фиг.19);
– профили диэлектрического покрытия 12 внутренней поверхности внешнего проводника 3 (фиг.20-фиг.26);
– профили диэлектрических пластин 13 на внутренней поверхности металлических пластин 11 рефлектора 1;
– варианты согласующих устройств для согласования возбудителя 8 (фиг.38-фиг.49);
– варианты переходных устройств соединения отрезков внутренних проводников 7 с возбудителями 8 (фиг.50-фиг.55).
Для сужения диаграммы направленности используются директоры 26 (фиг.56 и фиг.57), корректирующая металлическая пластина 27 (фиг.58) шириной, равной или больше ширины металлической пластины 11 рефлектора 1.
Таким образом, за счет выбора формы и профиля металлических пластин 11 рефлектора 1, конструкции возбудителя 8, диэлектрических материалов с соответствующей относительной диэлектрической проницаемостью, достигается значительная широкополосность.
Конструкция антенны достаточно простая, имеет небольшие габариты и обладает высокой степенью механической надежности. Для сужения диаграммы направленности используются директоры 27 (фиг.56 и фиг.57), корректирующая металлическая пластина 28 (фиг.58) шириной, равной или больше ширины металлической пластины 11 рефлектора 1.
Формула изобретения
1. Антенна, содержащая рефлектор, отрезок линии передачи волны типа ТЕМ, состоящий из наружного и внутреннего проводников, возбудитель, который установлен внутри рефлектора, причем с одной стороны наружный проводник отрезка линии передачи волны типа ТЕМ соединен с рефлектором, а внутренний проводник отрезка линии передачи волны типа ТЕМ соединен с возбудителем, а с другой стороны отрезок линии передачи волны типа ТЕМ соединен с каналом передач, причем продольная ось внутреннего проводника отрезка линии передачи волны типа ТЕМ, продольная ось возбудителя и продольная ось рефлектора соосны и являются продольной осью антенны, при этом рефлектор в области апертуры антенны в направлении от области соединения с внешним проводником отрезка линии передачи волны типа ТЕМ к области его максимального раскрыва выполнен расширяющимся, отличающаяся тем, что наружный проводник отрезка линии передачи волны типа ТЕМ выполнен в виде экрана прямоугольной формы, а внутренний проводник отрезка линии передачи волны типа ТЕМ выполнен в виде двух идентичных ленточных проводников, соединенных гальванически между собой контактным элементом со стороны соединения с каналом передач, при этом возбудитель выполнен в виде двух идентичных плоских проводников, которые расположены на разных сторонах диэлектрического основания симметрично относительно координатной плоскости, проходящей через середину диэлектрического основания и продольную ось антенны, причем рефлектор состоит из двух идентичных осесимметричных металлических пластин, соединенных с двумя противоположными сторонами наружного проводника отрезка линии передачи волны типа ТЕМ, которые параллельны диэлектрическому основанию соответственно, а продольная ось симметрии металлических пластин рефлектора расположена на второй координатной плоскости, которая ортогональна координатной плоскости, и они пересекаются по координатной линии, совпадающей с продольной осью антенны.
2. Антенна по п.1, отличающаяся тем, что ленточные проводники внутреннего проводника отрезка линии передачи волны типа ТЕМ и плоские проводники возбудителя расположены параллельно координатной плоскости, при этом плоский проводник возбудителя выполнен осесимметричным и соединен соосно с соответствующим ленточным проводником внутреннего проводника отрезка линии передачи волны типа ТЕМ.
3. Антенна по п.1, отличающаяся тем, что ленточные проводники внутреннего проводника отрезка линии передачи волны типа ТЕМ и плоские проводники возбудителя плоскостями расположены перпендикулярно координатной плоскости, при этом одной боковой кромкой каждый из них расположен на диэлектрическом основании.
4. Антенна по п.1, отличающаяся тем, что каждая металлическая пластина рефлектора в области апертуры антенны выполнена в форме прямоугольника.
5. Антенна по п.1, отличающаяся тем, что каждая металлическая пластина рефлектора в области апертуры антенны в направлении от области соединения с внешним проводником отрезка линии передачи волны тина ТЕМ к области максимального раскрыва апертуры выполнена расширяющейся формы, причем закон расширения описывается линейной или нелинейной функцией.
6. Антенна по п.5, отличающаяся тем, что закон расширения металлической пластины рефлектора описывается нелинейной функцией y=ax±m/n, где a – коэффициент, задается действительным числом; m, n – целые положительные взаимно простые числа, причем n>m; х – координата, соответствующая продольной оси антенны.
7. Антенна по п.5, отличающаяся тем, что закон расширения металлических пластин рефлектора описывается нелинейной функцией y=aebx+cedx, где а, b, с, d – коэффициенты, которые задаются действительными числами; х – координата, соответствующая продольной оси антенны.
8. Антенна по п.1, отличающаяся тем, что профиль металлических пластин рефлектора в области апертуры вдоль продольной оси антенны относительно координатной плоскости выполнен прямолинейным.
9. Антенна по п.1, отличающаяся тем, что профиль металлических пластин рефлектора в области апертуры вдоль продольной оси антенны относительно координатной плоскости выполнен нелинейным.
10. Антенна по п.9 отличающаяся тем, что нелинейный профиль металлических пластин рефлектора описывается нелинейной функцией y=ах±m/n, где а – коэффициент, задается действительным числом; m, n – целые положительные взаимно простые числа, причем n>m; х – координата, соответствующая продольной оси антенны.
11. Антенна по п.9, отличающаяся тем, что нелинейный профиль металлических пластин рефлектора описывается функцией y=aebx+cedx, где а, b, с, d – коэффициенты, задаются действительными числами; х – координата, соответствующая продольной оси антенны.
12. Антенна по п.2, отличающаяся тем, что плоский проводник возбудителя выполнен в виде пластины в форме прямоугольника.
13. Антенна по п.2, отличающаяся тем, что плоский проводник возбудителя выполнен в виде пластины, которая по двум внешним боковым кромкам в направлении от области соединения с ленточным проводником внутреннего проводника отрезка линии передачи волны типа ТЕМ к области максимального раскрыва апертуры антенны выполнена идентично расширяющейся, при этом закон расширения внешних боковых кромок пластины описывается линейной или нелинейной функцией.
14. Антенна по п.13, отличающаяся тем, что закон расширения пластины возбудителя по внешним боковым кромкам пластины описывается нелинейной функцией у=ах±m/n, где а – коэффициент, задается действительным числом; m, n – целые положительные взаимно простые числа, причем n>m; х – координата, соответствующая продольной оси антенны.
15. Антенна по п.13 отличающаяся тем, что закон расширения пластины возбудителя по внешним боковым кромкам описывается нелинейной функцией y=aebx+cedx, где а, b, с, d – коэффициенты, задаются действительными числами; х – координата, соответствующая продольной оси антенны.
16. Антенна по п.3, отличающаяся тем, что плоский проводник возбудителя выполнен в виде пластины в форме прямоугольника.
17. Антенна по любому из пп.1-3, отличающаяся тем, что диэлектрическая проницаемость диэлектрического основания равна или больше единицы.
18. Антенна по п.1, отличающаяся тем, что на две противоположные внутренние поверхности внешнего проводника отрезка линии передачи волны типа ТЕМ, параллельные диэлектрическому основанию, установлено идентичное диэлектрическое покрытие.
19. Антенна по п.18, отличающаяся тем, что диэлектрическое покрытие выполнено с постоянной толщиной.
20. Антенна по п.18, отличающаяся тем, что толщина диэлектрического покрытия выполнена увеличивающейся или уменьшающейся в направлении от области подключения контактного элемента к внутренним проводникам отрезка линии передачи волны типа ТЕМ к области подключения металлических пластин рефлектора к внешнему проводнику отрезка линии передачи волны типа ТЕМ, при этом закон увеличения или уменьшения описывается линейной или нелинейной функцией.
21. Антенна по п.20, отличающаяся тем, что закон увеличения или уменьшения толщины диэлектрического покрытия описывается нелинейной функцией y=ах±m/n, где a – коэффициент, задается действительным числом; m, n – целые положительные взаимно простые числа, причем n>m; x – координата, соответствующая продольной оси антенны.
22. Антенна по п.20, отличающаяся тем, что закон увеличения или уменьшения толщины диэлектрического покрытия описывается нелинейной функцией y=aebx+cedx, где а, b, с, d – коэффициенты, задаются действительными числами; х – координата, соответствующая продольной оси антенны
23. Антенна по любому из пп.1-3, отличающаяся тем, что на поверхность каждой металлической пластины рефлектора со стороны апертуры антенны установлена диэлектрическая пластина с относительной диэлектрической проницаемостью больше единицы.
24. Антенна по п.23, отличающаяся тем, что диэлектрическая пластина выполнена с постоянной толщиной.
25. Антенна по п.23, отличающаяся тем, что толщина диэлектрической пластины выполнена увеличивающейся или уменьшающейся в направлении от области соединения с внешним проводником отрезка линии передачи волны типа ТЕМ к области максимального раскрыва апертуры антенны, при этом закон увеличения или уменьшения толщины диэлектрической пластины описываются линейной или нелинейной фунцией.
26. Антенна по п.25, отличающаяся тем, что закон увеличения или уменьшения толщины диэлектрической пластины описывается нелинейной функцией y=ах±m/n, где а – коэффициент, задается действительным числом; m, n – целые положительные взаимно простые числа, причем n>m.
27. Антенна по п.25, отличающаяся тем, что закон увеличения или уменьшения толщины диэлектрической пластины описывается нелинейной функцией y=aebx+cedx, где а, b, с, d – коэффициенты, задаются действительными числами; х – координата, соответствующая продольной оси антенны.
28. Антенна по любому из пп.1-3, отличающаяся тем, что дополнительно введено два диэлектрических клина, установленных на ленточные проводники внутреннего проводника отрезка линии передачи волны типа ТЕМ и на плоские проводники возбудителя соответственно, при этом относительная диэлектрическая проницаемость диэлектрического клина больше единицы.
29. Антенна по п.1, отличающаяся тем, что ленточные проводники внутреннего проводника отрезка линии передачи волны типа ТЕМ и плоские проводники возбудителя выполнены постоянной толщины.
30. Антенна по п.1, отличающаяся тем, что между каждым ленточным проводником внутреннего отрезка линии передачи волны типа ТЕМ и соответствующим плоским проводником возбудителя включено переходное устройство.
31. Антенна по п.30, отличающаяся тем, что переходное устройство выполнено в виде ленточного проводника и расположено с ленточным проводником внутреннего отрезка линии передачи волны ТЕМ в одной плоскости.
32. Антенна по п.30, отличающаяся тем, что переходное устройство выполнено в виде емкостного зазора между ленточным проводником внутреннего отрезка линии передачи волны типа ТЕМ и плоским проводником возбудителя.
33. Антенна по п.30, отличающаяся тем, что переходное устройство выполнено в виде полупроводникового элемента с регулируемой емкостью.
34. Антенна по п.2, отличающаяся тем, что дополнительно введено, по меньшей мере, по одной паре идентичных согласующих элементов на каждый плоский проводник возбудителя, которые соединены с ними идентично, причем согласующий элемент на каждый плоский проводник возбудителя устанавливается симметрично относительно второй координатной плоскости.
35. Антенна по п.34, отличающаяся тем, что согласующий элемент выполнен в виде, по крайней мере, одной пары идентичных импедансных шлейфов, которые выполнены в виде ленточных проводников и соединены гальванически с плоскими проводниками возбудителя.
36. Антенна по п.34, отличающаяся тем, что согласующий элемент выполнен в виде, по крайней мере, одной пары идентичных неоднородных импедансных шлейфов.
37. Антенна по п.36, отличающаяся тем, что неоднородные импедансные шлейфы соединены с плоскими проводниками возбудителя гальванически или электромагнитно.
38. Антенна по п.3, отличающаяся тем, что дополнительно введено, по меньшей мере, по одному идентичному согласующему элементу на каждый плоский проводник возбудителя, при этом согласующий элемент на каждый плоский проводник возбудителя устанавливается симметрично относительно координатной плоскости.
39. Антенна по п.38, отличающаяся тем, что согласующий элемент выполнен в виде, по крайней мере, одной пары импедансных шлейфов, которые выполнены в виде ленточных проводников и соединены гальванически с плоскими проводниками возбудителя.
40. Антенна по п.38, отличающаяся тем, что согласующий элемент выполнен в виде, по крайней мере, одной пары идентичных неоднородных импедансных шлейфов.
41. Антенна по п.40, отличающаяся тем, что неоднородные импедансные шлейфы соединены с плоскими проводниками возбудителя гальванически или электромагнитно.
42. Антенна по любому из пп.2 и 3, отличающаяся тем, что дополнительно введен, по меньшей мере, один директор, установленный со стороны наибольшего размера рефлектора параллельно координатной плоскости.
43. Антенна по п.1, отличающаяся тем, что к торцевой боковой кромке каждой металлической пластины рефлектора в области максимального раскрыва апертуры антенны установлена и гальванически соединена корректирующая металлическая пластина, которая расположена параллельно координатной плоскости.
44. Антенна по п.43, отличающаяся тем, что ширина корректирующей металлической пластины равна или больше ширины металлической пластины рефлектора в области соединения.
РИСУНКИ
|