|
|
(21), (22) Заявка: 2009108238/09, 06.03.2009
(24) Дата начала отсчета срока действия патента:
06.03.2009
(46) Опубликовано: 20.07.2010
(56) Список документов, цитированных в отчете о поиске:
ФРОЛОВ О.П. Антенны и фидерные тракты для радиорелейных линий связи. – М.: Радио и связь, 2001, с.264-273. RU 2231871 С2, 27.06.2004. RU 2225056 С2, 27.02.2004. SU 1370688 А1, 30.01.1988. SU 243769 А, 22.10.1969. US 2004119551 А, 24.06.2003. JP 05-275906 А, 22.10.1993. JP 01-236920 А, 21.09.1989.
Адрес для переписки:
662972, Красноярский край, ЗАТО Железногорск, г. Железногорск, ул. Ленина, 52, ОАО “ИСС”, Р.П. Туркеничу
|
(72) Автор(ы):
Синиченко Михаил Иванович (RU), Овечкин Геннадий Иванович (RU), Смирнов Василий Васильевич (RU), Леканов Анатолий Васильевич (RU), Рубцов Юрий Николаевич (RU), Кораблев Александр Васильевич (RU), Длоуги Александр Иосифович (RU)
(73) Патентообладатель(и):
Открытое акционерное общество “Информационные спутниковые системы” имени академика М.Ф. Решетнева” (RU)
|
(54) СПОСОБ И УСТРОЙСТВО ОСУШЕНИЯ ВОЗДУХА ДЛЯ ДЕГИДРАЦИИ ВОЛНОВОДА АНТЕННЫ
(57) Реферат:
Предлагаемое изобретение относится к радиотехнике и предназначено для защиты волновода антенны от воздействия факторов окружающей среды, в частности от влаги и пыли, путем подачи в защищаемые полости осушенного воздуха под избыточным давлением. Согласно изобретению устройство содержит воздушную магистраль для подачи осушенного воздуха к волноводу антенны, два абсорбера, выполненные с продуваемыми поглотителями влаги и со своими входами и выходами для воздуха, соответственно для влажного и осушенного, два электронагревателя, установленные с равномерным распределением их поверхностей в массе поглотителя влаги, два насоса, выполненными соответственно в выходных магистралях абсорберов, подключенных к волноводу антенны. Поглотитель влаги каждого абсорбера расположен на сетке, над днищем корпуса абсорбера с образованием полости, а выход абсорбера подключен в центральной части указанного днища. В устройстве осуществляется поочередное включение одного и другого абсорберов, соответственно в режим поглощения влаги из продуваемого воздуха и в режим осушения поглотителя влаги путем его нагрева. Техническим результатом изобретения является упрощение способа и устройства для его осуществления, повышение надежности работы устройства, снижение его энергопотребления. 2 н. и 1 з.п. ф-лы, 1 ил.
Предлагаемое изобретение относится к радиотехнике и предназначено для защиты волновода антенны от воздействия факторов окружающей среды (влаги, пыли) путем подачи в защищаемые полости осушенного воздуха под избыточным давлением в защищаемые полости.
Известно устройство климатической защиты телескопического волноводного тракта (Traeger A. Aufbau von Hohlkabel über tragungs wegen. Der Fermelde-Ingenieur, Zeitschrift für Ausbildung und Fortbildung. ISSN 0015-01x, 1976, Мау, 5, v/30, s/10), складной гофрированный воздухонепроницаемый кожух вокруг телескопической волноводной секции, снабженной фланцами, источник осушенного воздуха.
Недостаток названного устройства заключается в сложности его конструкции и изготовления из-за применения в нем сильфонов и телескопических деталей, а также из-за того, что оно требует обеспечения его источником осушенного воздуха. Как следствие этого, обеспечить достаточную надежность данного устройства сложно как с точки зрения изготовления, так и в процессе его эксплуатации.
Известна «Установка для осушки сжатого воздуха» (а.с. СССР 243769, М. кл. F25В 21/02, опубл. 22.10.1969), содержащая регенеративный теплообменник для предварительного охлаждения воздуха и одновременного выделения капельной влаги, охладитель-вымораживатель для окончательной сушки воздуха, выполненный в виде термоэлектрического холодильника. В устройстве осуществлен способ, включающий сжатие воздуха, предварительное охлаждение его в регенеративном теплообменнике при одновременном отделении капельной влаги, окончательную сушку воздуха вымораживанием влаги в термоэлектрическом холодильнике.
Недостаток описанного устройства заключается в его сложности, ненадежности и повышенном энергопотреблении. Причиной этому служит то что, в его состав входят сложные по конструкции и в изготовлении составные элементы. Термоэлектрический холодильник имеет низкий коэффициент полезного действия, что приводит к значительному увеличению энергопотребления устройства.
В качестве прототипа способа и устройства выбран «Способ осушения воздуха для дегидрации волновода антенны и устройство для его осуществления» (патент РФ 2231871, М. кл. 7 Н01Р 1/30). Указанный способ включает поочередное включение одного и другого абсорберов, соответственно в режим поглощения влаги из продуваемого воздуха и в режим осушения поглотителя влаги путем его нагрева, при этом осушение поглотителя одного абсорбера осуществляют частью осушенного другим абсорбером потока с предварительным его подогревом.
Данное техническое решение содержит два перепускных клапана, каждый из которых выполнен с одним входом и двумя выходами, один электронагреватель воздуха, который поочередно подключается для подогрева воздуха для просушки поглотителей влаги абсорберов. Это приводит к увеличению длины магистралей и увеличению сопротивления потокам воздуха, увеличивает энергопотребление воздушных насосов и дополнительно за счет переключений перепускных клапанов. Увеличение энергопотребления происходит также за счет того, что нагрев поглотителей влаги осуществляется не непосредственно от поверхности электронагревателя, а посредством воздуха. Наличие перепускных клапанов как активных электромеханических элементов с вероятностью безотказной работы ниже единицы существенно снижают надежность работы в целом. И таким образом недостаток данного технического решения заключается в его сложности, недостаточной надежности и в повышенном энергопотреблении.
Задача изобретения – упрощение способа и устройства для его осуществления, повышение надежности работы устройства, снижение его энергопотребления.
Поставленная цель достигнута за счет того, что поочередную подачу осушенного воздуха от одного и другого абсорберов в волновод антенны осуществляют поочередным включением в работу автономных для каждого из абсорберов нагнетателей воздуха, а нагрев поглотителя влаги осуществляют путем равномерного распределения поверхности источника тепла в массе поглотителя влаги с отводом от него влаги путем естественной конвекции; вход каждого абсорбера для влажного воздуха выполнен в верхней его части с проходным сечением по всему периметру его корпуса над верхним слоем поглотителя влаги, а электронагреватель с дополнительно введенным нагревателем установлены с равномерным распределением их поверхностей в массе поглотителя влаги соответственно каждого абсорбера, воздушный насос с дополнительно введенным воздушным насосом, выполненными соответственно в выходных магистралях абсорберов, подключенных к волноводу антенны; поглотитель влаги каждого абсорбера выполнен лежащим на сетке, расположенной над днищем корпуса абсорбера с образованием между ними полости, а выход абсорбера подключен в центральной части указанного днища.
Суть технического решения заключается в том, что поочередную подачу осушенного воздуха от одного и другого абсорберов в волновод антенны осуществляют поочередным включением в работу автономных для каждого из абсорберов нагнетателей воздуха, а нагрев поглотителя влаги осуществляют путем равномерного распределения поверхности источника тепла в массе поглотителя влаги с отводом от него влаги путем естественной конвекции. Это позволило обеспечить упрощение способа и устройства для его осуществления, повышение надежности работы устройства, снижение его энергопотребления.
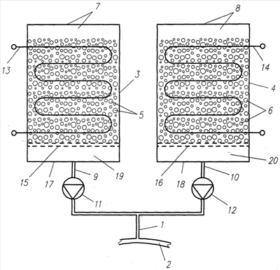
Предложенное изобретение проиллюстрировано на чертеже, на котором показан общий вид устройства.
Предложенное устройство содержит: воздушную магистраль 1 для подачи осушенного воздуха к волноводу антенны 2, первый 3 и второй 4 абсорберы, выполненные с продуваемыми поглотителями влаги соответственно 5 и 6 и со своими входами 7 и 8, выполненными в верхних их, с проходными сечениями по всему периметру их корпусов над верхними слоями поглотителей влаги 5 и 6, и выходами 9 и 10, соединенными через основной 11 и дополнительный 12 воздушные насосы с воздушной магистралью 1, основной 13 и дополнительный 14 электронагреватели, установлены с равномерным распределением их поверхностей соответственно в массах поглотителей влаги 5 и 6, удерживаемых сетками 15 и 16, расположенными над днищами 17 и 18 корпусов абсорберов 3 и 4 с образованием между ними полостей 19 и 20, а выходы 9 и 10 абсорберов 3 и 4 подключены к центральным частям их днищ 17 и 18.
Способ осушения воздуха для дегидрации волновода антенны реализуется при помощи описанного выше устройства следующим образом. Перед началом включения устройства в режим подачи сухого воздуха в волновод 2 антенны включают в работу основной электронагреватель 13. При этом поглотитель влаги 5 будет прогреваться с выделением влаги из него, которая будет испаряться через вход 7 в окружающую среду. Интенсивность испарения влаги в окружающую среду обеспечивается тем, что вход абсорбера 3 (как и абсорбера 4) выполнен в верхней его части с проходным сечением по всему периметру его корпуса. По истечении определенного времени поглотитель влаги 5 осушится, при этом основной электронагреватель 13 выключается, а дополнительный электронагреватель 14 и основной воздушный насос 11 включаются в работу. При этом основной воздушный насос 11 осуществляет осушающую продувку наружного воздуха через поглотитель влаги 5 и подачу одной его части под избыточным давлением по воздушной магистрали 1 в волновод 2 антенны, а другой его части через неработающий дополнительный насос 12 и выход 10 – на осушающую продувку поглотителя влаги 6 абсорбера 4. При этом эффективность осушения поглотителя влаги 6 дополнительно интенсифицируется за счет нагрева его электронагревателем 14 и испарением нагретой влаги в окружающую среду через вход 8 за счет естественной конвекции.
По истечении определенного времени, когда поглотитель влаги 5 увлажнится и перестанет осушать проходящий через него воздух, то выключают электронагреватель 13 и основной воздушный насос 11, а в работу включают дополнительный электронагреватель 14 и дополнительный воздушный насос 12. При этом дополнительный воздушный насос 12 осуществляет осушающую продувку наружного воздуха через поглотитель влаги 6 и подачу одной его части под избыточным давлением по воздушной магистрали 1 в волновод 2 антенны, а другой его части через неработающий основной насос 11 и выход 9 – на осушающую продувку поглотителя влаги 5 абсорбера. Поочередность смены описанных режимов осуществляется на протяжении всей работы устройства. Продолжительность того или иного режима определяется в зависимости от влажности окружающего воздуха, автоматически устанавливается и осуществляется блоком управления устройства (на чертеже не показан).
Полости 19 и 20 обеспечивают равномерную продувку поглотителей влаги 5 и 6 по всему их поперечному сечению и тем самым повышают эффективность их работы.
В настоящее время устройство проходит испытания перед запуском в серийное производство.
Из известных заявителю патентно-информационных источников не известна совокупность признаков, схожая с совокупностью признаков заявляемого решения.
Формула изобретения
1. Способ осушения воздуха для дегидрации волновода антенны, включающий поочередное включение одного и другого абсорберов соответственно в режим поглощения влаги из продуваемого воздуха и в режим осушения поглотителя влаги путем его нагрева, отличающийся тем, что поочередную подачу осушенного воздуха от одного и другого абсорберов в волновод антенны осуществляют поочередным включением в работу автономных для каждого из абсорберов воздушных насосов, а нагрев поглотителя влаги осуществляют путем равномерного распределения поверхности источника тепла в массе поглотителя влаги с отводом от него влаги путем естественной конвекции.
2. Устройство осушения воздуха для дегидрации волновода антенны, содержащее воздушную магистраль для подачи осушенного воздуха к волноводу антенны и включающую воздушный насос, два абсорбера, выполненные с продуваемыми поглотителями влаги и со своими входами и выходами соответственно для воздуха влажного и осушенного, электронагреватель, отличающееся тем, что вход каждого абсорбера для влажного воздуха выполнен в верхней его части с проходным сечением по всему периметру его корпуса, дополнительно введен электронагреватель, который, как и основной электронагреватель установлен с равномерным распределением его поверхности в массе поглотителя влаги своего абсорбера, дополнительно введен воздушный насос, который, как и основной воздушный насос, установлен в выходную магистраль своего абсорбера, подключенную, как и выходная магистраль другого абсорбера, к волноводу антенны.
3. Устройство по п.2, отличающееся тем, что поглотитель влаги каждого абсорбера выполнен лежащим на сетке, расположенной над днищем корпуса абсорбера с образованием между ними полости, а выход каждого абсорбера подключен в центральной части указанного днища.
РИСУНКИ
|
|