|
|
(21), (22) Заявка: 2009119599/09, 26.05.2009
(24) Дата начала отсчета срока действия патента:
26.05.2009
(46) Опубликовано: 20.06.2010
(56) Список документов, цитированных в отчете о поиске:
RU 2155461 C1, 27.08.2000. RU 2046552 C1, 20.10.1995. US 5423452 A, 06.06.1995. US 3349359 А, 24.10.1967.
Адрес для переписки:
141371, Московская обл., Сергиево-Посадский р-н, г. Хотьково, ул. Ак. Королева, 7, корп.2, кв.36, В.И. Безукладову
|
(72) Автор(ы):
Безукладов Владимир Иванович (RU), Безукладов Алексей Владимирович (RU), Костенко Валерий Иванович (RU), Милентьев Артем Андреевич (RU)
(73) Патентообладатель(и):
Безукладов Владимир Иванович (RU)
|
(54) ЭЛЕКТРОНАГРЕВАТЕЛЬ ДЛЯ ТЕРМОЧЕХЛА
(57) Реферат:
Изобретение относится к области электротехники, а именно к гибким нагревательным элементам на тканой основе, которые могут быть использованы в быту, медицине, сельском хозяйстве и различных отраслях промышленности. Электронагреватель содержит нагревательный элемент, выполненный из токопроводящей ткани и помещенный между полимерными слоями покрытия, выполненными из электроизоляционного материала, по краям токопроводящей ткани расположены электрически соединенные с ней краевые электроды, соединенные с электрическим шнуром, причем в месте подсоединения последнего к краевым электродам на полимерном слое покрытия выполнен термовывод. Нагревательный элемент выполнен прямоугольной формы, один из краевых электродов выполнен в виде плоской полосы, а другой в виде Г-образной полосы, причем в последнем на участке полосы, находящемся за пределами токопроводящей ткани выполнен разрыв, в который подключен термоограничитсль или терморегулятор, закрепленный на наружной поверхности электронагревателя, например приклеенный, а на полимерном покрытии закреплен элемент заземления, выполненный в виде металлической сетки, или металлической фольги, или в виде покрытия из токопроводящего (резистивного) материала. Техническим результатом является повышение надежности работы электронагревателя. 1 з.п. ф-лы, 3 ил.
Изобретение относится к области электротехники, а именно к гибким нагревательным элементам на тканой основе, которые могут быть использованы в быту, медицине, сельском хозяйстве и различных отраслях промышленности.
Известен тканый электронагреватель из полимерных материалов, который содержит плоский резистивный слой из ткани на основе электропроводных и неэлектропроводных нитей с электродами вдоль основы и покрывающие его с обеих сторон электроизоляционные слои, причем объемное соотношение неэлектропроводных и электропроводных нитей основы составляет от 1:1 до 1:1,5, а объемное соотношение токопроводящих нитей основы и утка – от 0,1:1,5 до 1:10. Электроды снабжены скрепленными с ними тоководами из медной фольги с образованием клемм электроразъема, размещенных вне резистивного элемента в зоне электроизоляционных слоев (см. патент RU 2046552, кл. Н05В 3/34, 20.10.1995).
Основным недостатком известных нагревательных элементов является то, что при обрыве электропроводящей нити, размещенной между краевыми электродами, произойдет перераспределение электрического тока между соседними с ней электропроводящими нитями, т.е. электрический ток I0, текущий по электропроводящим нитям, расположенным перпендикулярно электродам, из-за наличия сопротивления Rn электропроводящих нитей, расположенных параллельно краевым электродам, распределится в двух ближайших направлениях, увеличивая при этом силу тока в 1,5-2 раза. Указанное обстоятельство приведет к обрыву соседних электропроводящих нитей утка резистивного слоя и очередному перераспределению электрического тока с образованием новых обрывов. Описываемый процесс будет носить необратимый характер, вовлекая в себя все новые и новые электропроводящие нити, вплоть до выхода из строя всего нагревательного элемента.
Наиболее близким к изобретению по технической сущности и достигаемому результату является электронагреватель, содержащий нагревательный элемент, выполненный из токопроводящей ткани и помещенный между полимерными слоями покрытия, выполненными из электроизоляционного материала, при этом по краям токопроводящей ткани расположены электрически соединенные с ней краевые электроды, соединенные с электрическим шнуром, причем в месте подсоединения последнего к краевым электродам на полимерном слое покрытия выполнен термовывод (см. патент RU 2155461, кл. Н05В 3/34, 27.08.2000).
Однако в данном электронагревателе отсутствуют какие-либо устройства контроля нагрева электронагревателя, что не исключает возможности выхода из строя электронагревателя в результате его перегрева. Кроме того, в силу использования пластиков в качестве изоляционных материалов, возможно накопление электростатического электричества и, как следствие, выход электронагревателя из строя в силу пробоя изоляционного слоя.
Задачей, на решение которой направлено настоящее изобретение, является обеспечение контроля за величиной нагрева электронагревателя, предотвращение накопления статического электричества и повышение безопасности эксплуатации электронагревателя.
Технический результат заключается в повышении надежности работы электронагревателя.
Указанная задача решается, а технический результат достигается за счет того, что электронагреватель для термочехла содержит нагревательный элемент, выполненный из токопроводящей ткани и помещенный между полимерными слоями покрытия, выполненными из электроизоляционного материала, при этом по краям токопроводящей ткани расположены электрически соединенные с ней краевые электроды, соединенные с электрическим шнуром, причем в месте подсоединения последнего к краевым электродам на полимерном слое покрытия выполнен термовывод, при этом нагревательный элемент выполнен прямоугольной формы, один из краевых электродов выполнен в виде плоской полосы, а другой в виде Г-образной полосы, причем в последнем на участке полосы, находящемся за пределами токопроводящей ткани выполнен разрыв, в который подключен термоограничитель или терморегулятор, закрепленный на наружной поверхности электронагревателя, например приклеенный, а на полимерном покрытии закреплен элемент заземления, выполненный в виде металлической (2) сетки или металлической фольги или в виде покрытия из токопроводящего (резистивного) материала.
Толщина полимерного слоя покрытия составляет предпочтительно от 2 до 6 мм, при этом последнее выполнено из водоотталкивающего материала.
В ходе проведенного исследования была выявлена необходимость изготовления электронагревателей с повышенными требованиями к эксплуатации, в частности во взрывозащищенном исполнении. Было выявлено, что для предотвращения создания взрывоопасной ситуации необходимо предотвратить возможность повреждения образованной полимерным покрытием защитной оболочки нагревательного элемента электронагревателя. Для этого электронагреватель снабжен термоограничителем или терморегулятором, закрепленным на электронагревателе и включенным в разрыв одного из электродов, вынесенный за пределы токопроводящей ткани, причем одновременно решается вопрос накопления на электронагревателе статического электричества, принимая по внимание большое количество полимерных материалов в конструкции электронагревателя. Выполнение на полимерном покрытии элемента заземления, выполненного в виде металлической сетки, или металлической фольги, или в виде покрытия их токопроводящего (резистивного) материала позволяет решить две задачи: предотвратить накопление статического электричества и обеспечить заземление электронагревателя, что в конечном итоге позволяет повысить взрывобезопасность использования электронагревателя.
Важно отметить, что в ходе проведенных работ удалость с одной стороны повысить безопасность использования электронагревателя, а с другой стороны сохранить его положительные свойства, связанные с использованием полимерных материалов, а именно гибкость и упругие свойства электронагревателя, что особенно важно при использовании электронагревателя в термочехле защищаемого оборудования, например приборов КиПА, задвижек, клапанов магистральных нефте- и газопроводов, что удалось сделать за счет выполнения оптимальной толщины полимерного слоя покрытия, составляющей от 2 до 6 мм, при этом последнее выполнено из водоотталкивающего материала.
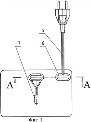
На фиг.1 представлен внешний вид электронагревателя в сборе.
На фиг.2 представлен внешний вид электронагревателя без подключенных к нему термоограничителя и электрического шнура.
На фиг.3 представлен продольный разрез А-А электронагревателя на фиг.1 (в разрезе А-А условно показана заклепка для фиксации полосы из полимерного материала).
Электронагреватель для термочехла содержит нагревательный элемент 1, выполненный из токопроводящей ткани и помещенный между полимерными слоями 2 покрытия, выполненными из электроизоляционного материала. По краям токопроводящей ткани, образующей нагревательный элемент 1, расположены электрически соединенные с ней краевые электроды 3 и 4, соединенные с электрическим шнуром 5. В месте подсоединения последнего к краевым электродам 3 и 4 на полимерном слое 2 покрытия выполнен термовывод 6. Нагревательный элемент 1 выполнен прямоугольной формы, один из краевых электродов 3 выполнен в виде плоской полосы, а другой – 4 в виде Г-образной полосы, причем в последнем на участке полосы, находящемся за пределами токопроводящей ткани, образующей нагревательный элемент 1, выполнен разрыв, в который подключен термоограничитель или терморегулятор 7, закрепленный, например приклеенный к наружной поверхности 9. Место подключения термоограничителя или терморегулятора 7 к электроду 4 покрыто термовыводом, аналогичным термовыводу 6. На полимерном покрытии, образованном полимерными слоями 2, закреплен элемент заземления 8, выполненный в виде металлической сетки, или металлической фольги, или в виде покрытия их токопроводящего (резистивного) материала. Управление работой электронагревателя осуществляется через блок управления (на чертеже не показан), который позволяет осуществлять включение и отключение электронагревателя при определенных температурах. Например: включение при 0°С и выключение при +10°С или включение при -25°С и выключение при -15°С, либо какие-то другие варианты. Количество электронагревателей в одном термочехле определяется техническими расчетами и может составлять две, три, четыре штуки. Электрообогрев обеспечивает безаварийную эксплуатацию объектов и оборудования нефтегазового комплекса в условиях низких температур до минус 60°С, что позволило расширить температурный режим работы приборов и оборудования от -40 до -60°С.
При работе электронагревателя последний посредством электрического шнура 5 через блок управления подключают к источнику электрической энергии. Блок управления задает необходимый режим работы электронагревателя, а проходящий через нагревательный элемент 1 электрический ток вызывает его нагрев, необходимый для обогрева расположенного в термочехле оборудования.
Настоящее изобретение может быть использовано в нефтяной, газовой и других отраслях промышленности, где требуется обеспечить и поддержать в некоторой локальной зоне, например в термочехле, надетом на защищаемое от переохлаждения оборудование, требуемую температуру.
Формула изобретения
1. Электронагреватель для термочехла, содержащий нагревательный элемент, выполненный из токопроводящей ткани и помещенный между полимерными слоями покрытия, выполненными из электроизоляционного материала, при этом по краям токопроводящей ткани расположены электрически соединенные с ней краевые электроды, соединенные с электрическим шнуром, причем в месте подсоединения последнего к краевым электродам на полимерном слое покрытия выполнен термовывод, отличающийся тем, что нагревательный элемент выполнен прямоугольной формы, один из краевых электродов выполнен в виде плоской полосы, а другой – в виде Г-образной полосы, причем в последнем на участке полосы, находящемся за пределами токопроводящей ткани, выполнен разрыв, в который подключен термоограничитель или терморегулятор, закрепленный на наружной поверхности электронагревателя, например приклеенный, а на полимерном покрытии закреплен элемент заземления, выполненный в виде металлической сетки или металлической фольги или в виде покрытия из токопроводящего (резистивного) материала.
2. Электронагреватель по п.1, отличающийся тем, что толщина полимерного слоя покрытия составляет от 2 до 6 мм, при этом последнее выполнено из водоотталкивающего материала.
РИСУНКИ
|
|