|
|
(21), (22) Заявка: 2008121461/09, 29.05.2008
(24) Дата начала отсчета срока действия патента:
29.05.2008
(43) Дата публикации заявки: 10.12.2009
(46) Опубликовано: 20.06.2010
(56) Список документов, цитированных в отчете о поиске:
RU 2319232 C1, 10.03.2008. US 7149275 B1, 12.12.2006. EP 1865601 A1, 12.12.2007. SU 434601, 30.06.1974.
Адрес для переписки:
119333, Москва, ул. Вавилова, 44, к.2, Институт проблем информатики Российской академии наук (ИПИ РАН)
|
(72) Автор(ы):
Степченков Юрий Афанасьевич (RU), Плеханов Леонид Петрович (RU), Дьяченко Юрий Георгиевич (RU)
(73) Патентообладатель(и):
Институт проблем информатики Российской академии наук (ИПИ РАН) (RU)
|
(54) ДВОИЧНЫЙ САМОСИНХРОННЫЙ СЧЕТЧИК С ПРЕДУСТАНОВКОЙ
(57) Реферат:
Изобретение относится к импульсной и вычислительной технике и может использоваться при построении самосинхронных триггерных, регистровых и вычислительных устройств, систем цифровой обработки информации. Достигаемый технический результат – обеспечение самосинхронной предустановки счетчика в заданное состояние. Двоичный самосинхронный счетчик содержит n однотипных разрядов, схемы поразрядной индикации готовности входов начальной установки и окончания предустановки, выходы которых объединяются на гистерезисных триггерах, формирующих сигнал окончания предустановки в счетчике. 2 н. и 1 з.п ф-лы, 5 ил.
Двоичный самосинхронный счетчик с предустановкой относится к импульсной и вычислительной технике и может использоваться при построении самосинхронных счетных, регистрирующих устройств, систем цифровой обработки информации.
Известен двоичный самосинхронный счетчик [1], содержащий n разрядов на элементах И-НЕ и индикатор.
Недостаток известного устройства – отсутствие предустановки нуля и единицы.
Более близким к предлагаемому решению по технической сущности и принятым в качестве прототипа является самосинхронный двоичный счетчик с произвольным коэффициентом пересчета [2], содержащий n счетных триггеров без предустановки, каждый из которых состоит из семи элементов И-НЕ, и схему индикации окончания переходных процессов при переключении счетчика.
Недостаток прототипа – отсутствие средств начальной установки счетчика в требуемое состояние.
Задача, решаемая в изобретении, заключается в обеспечении самосинхронной предустановки счетчика в заданное состояние.
Это достигается тем, что в двоичном самосинхронном n разрядном счетчике, содержащем счетный вход, прямые и инверсные поразрядные информационные выходы, счетный выход, индикаторный выход, схему индикации окончания процесса переключения счетчика и n разрядов, каждый из которых состоит из шести элементов И-НЕ, первый и второй входы первого элемента И-НЕ подключены к выходам пятого и второго элементов И-НЕ соответственно, первый и второй входы второго элемента И-НЕ подключены к выходам первого и шестого элементов И-НЕ соответственно, первый и второй входы третьего элемента И-НЕ подключены к выходам первого и пятого элементов И-НЕ соответственно, первый и второй входы четвертого элемента И-НЕ подключены к выходам второго и шестого элементов И-НЕ соответственно, первый и второй входы пятого элемента И-НЕ подключены к выходам третьего и шестого элементов И-НЕ соответственно, третий вход пятого элемента И-НЕ подключен к счетному входу разряда счетчика, первый и второй входы шестого элемента И-НЕ подключены к выходам четвертого и пятого элементов И-НЕ соответственно, третий вход пятого элемента И-НЕ подключен к счетному входу разряда счетчика, счетный вход первого разряда подсоединен к счетному входу счетчика, а счетный вход второго и последующих разрядов подключен к выходу четвертого элемента И-НЕ предыдущего разряда, входы схемы индикации подключены к выходам третьих элементов И-НЕ всех разрядов и выходу четвертого элемента n-го разряда, прямые информационные выходы счетчика соединены с выходами вторых элементов И-НЕ соответствующих разрядов, инверсные информационные выходы счетчика соединены с выходами первых элементов И-НЕ соответствующих разрядов, счетный выход счетчика соединен с выходом четвертого элемента И-НЕ n-го разряда счетчика, индикаторный выход подключен к выходу схемы индикации окончания процесса переключения счетчика, введены схема индикации готовности входов начальной установки счетчика, схема индикации окончания начальной установки счетчика, поразрядные входы установки единицы и нуля, вход разрешения предустановки, выход индикации окончания предустановки и новые конструктивные связи – третий вход четвертого элемента И-НЕ и четвертый вход шестого элемента И-НЕ в каждом разряде подключены к входу установки нуля соответствующего разряда, третий вход третьего и четвертый вход пятого элементов И-НЕ в каждом разряде подключены к входу установки единицы соответствующего разряда, входы схемы индикации готовности входов начальной установки счетчика подключены к источникам информации, записываемой в счетчик в качестве начального состояния, и сигналу разрешения начальной установки, а ее выходы соединены со входами установки нуля и единицы разрядов счетчика и входом схемы индикации окончания начальной установки счетчика, входы схемы индикации окончания начальной установки счетчика соединены со входами установки нуля и единицы разрядов счетчика и прямым и инверсным выходами разрядов счетчика, а ее выход подключен к выходу индикации окончания предустановки счетчика.
Предлагаемое устройство удовлетворяет критерий “существенные отличия”. Использование схем индикации в двоичных самосинхронных счетчиках известно. Однако использование их в данном случае позволило достичь эффекта, выраженного целью изобретения.
Поскольку введенные конструктивные связи в аналогичных технических решениях не известны, устройство может считаться имеющим существенные отличия.
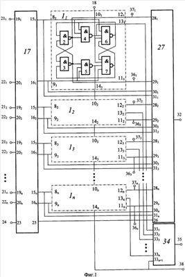
На фиг.1 изображена схема двоичного самосинхронного счетчика с предустановкой; на фиг.2 – схема индикации готовности входов начальной установки счетчика; на фиг.3 – схема индикации окончания начальной установки счетчика; на фиг.4 – схема индикации окончания переходных процессов при переключении счетчика.
Схема двоичного самосинхронного счетчика (фиг.1) содержит n однотипных разрядов 11 – 1n счетчика, каждый из которых состоит из шести элементов И-НЕ 2-7, причем в каждом i-ом разряде, i=1, , n, первый и второй входы первого элемента И-НЕ 2 подключены к выходам второго 3 и пятого 6 элементов И-НЕ соответственно, первый и второй входы второго элемента И-НЕ 3 подключены к выходам первого 2 и шестого 7 элементов И-НЕ соответственно, первый и второй входы третьего элемента И-НЕ 4 подключены к выходам первого 2 и пятого 6 элементов И-НЕ соответственно, третий вход третьего элемента И-НЕ 4 подключен к входу установки единицы 8i, первый и второй входы четвертого элемента И-НЕ 5 подключены к выходам второго 3 и шестого 7 элементов И-НЕ соответственно, третий вход четвертого элемента И-НЕ 5 подключен к входу установки нуля 9i, первый и второй входы пятого элемента И-НЕ 6 подключены к выходам третьего 4 и шестого 7 элементов И-НЕ соответственно, третий и четвертый входы пятого элемента И-НЕ 6 подключены к счетному входу 10i разряда и входу установки единицы 8i соответственно, первый и второй входы шестого элемента И-НЕ 7 подключены к выходам четвертого 5 и пятого 6 элементов И-НЕ соответственно, третий и четвертый входы шестого элемента И-НЕ 7 подключены к счетному входу 10i и входу установки нуля 9i соответственно, выход второго элемента И-НЕ 3 подключен к прямому информационному выходу 11i разряда, выход первого элемента И-НЕ 2 подключен к инверсному информационному выходу 12i разряда, выход третьего элемента И-НЕ 4 соединен с индикаторным выходом 13i разряда, выход четвертого элемента И-НЕ 5 соединен со счетным выходом 14i разряда, входы установки нуля 9i и единицы 8i всех разрядов счетчика подключены к соответствующим выходам 15i и 16i, i=1, , n, схемы 17 индикации готовности входов начальной установки счетчика, счетный вход 101 первого разряда счетчика соединен со счетным входом 18 счетчика, счетный вход 10i каждого из разрядов счетчика 12-1n соединен со счетным выходом 14i предыдущего разряда, входы 19i и 20i, i=1, , n, схемы индикации 17 готовности входов начальной установки счетчика подключены к источникам сигналов установки единицы 21i и нуля 22i, i=1, , n соответственно, записываемых в счетчик в качестве начального состояния, вход 23 схемы индикации 17 – к входу разрешения начальной установки 24, а ее индикаторный выход 25 соединен со входом 26 схемы индикации 27 окончания начальной установки счетчика, входы 281-28n подключены к инверсным информационным выходам 12i соответствующих разрядов счетчика, входы 291-29n подключены к прямым информационным выходам 11i соответствующих разрядов счетчика, входы 301-30n подключены к входам установки нуля 9i соответствующих разрядов счетчика, входы 311-31n подключены к входам установки единицы 8i соответствующих разрядов счетчика, а выход подключен к первому индикаторному выходу 32 счетчика, входы 331-33n схемы индикации 34 окончания переходных процессов при переключении счетчика подключены к индикаторным выходам 13i соответствующих разрядов счетчика, вход 33n+1 схемы индикации 34 окончания переходных процессов при переключении счетчика подключен к счетному выходу 14n n-го разряда счетчика 1n, а выход схемы индикации 34 окончания переходных процессов при переключении счетчика подключен ко второму индикаторному выходу 35 счетчика, прямые 11i и инверсные 12i информационные выходы разрядов счетчика соединены с соответствующими прямыми 361-36n и инверсными 371-37n информационными выходами счетчика, счетный выход 14n разряда 1n счетчика подключен к счетному выходу 38 счетчика.
Схема индикации готовности входов начальной установки счетчика (фиг.2) состоит из 2n элементов 2ИЛИ 391-39n и 401-40n, n элементов 2И-НЕ 411-41n и n-входового гистерезисного триггера 42, первые входы элементов 2ИЛИ 391-39n подключены к соответствующим источникам сигналов установки единицы 21i, первые входы элементов 2ИЛИ 401-40n подключены к соответствующим источникам сигналов установки нуля 22i, вторые входы элементов 2ИЛИ 391-39n и 401-40n соединены со входом разрешения начальной установки 23, выходы элементов 2ИЛИ 39i подключены к первым входам соответствующих элементов 2И-НЕ 41i и к соответствующим выходам установки единицы 15i, выходы элементов 2ИЛИ 40i подключены ко вторым входам соответствующих элементов 2И-НЕ 41i и к соответствующим выходам установки нуля 16i, выходы элементов 2И-НЕ 41i подключены к соответствующим входам гистерезисного триггера 42, выход которого соединен с индикаторным выходом 25.
Схема индикации окончания начальной установки счетчика (фиг.3) состоит из элементов 2ИЛИ-2И-НЕ 431-43n и (n+1)-входового гистерезисного триггера 44, первый, второй, третий и четвертый входы элемента 2ИЛИ-2И-НЕ 43i, i=1, , n, соединены со входами 29i, 30i, 28i и 31i соответственно, а его выход подключен к i-му, i=1, , n, входу гистерезисного триггера 44, (n+1)-ый вход которого соединен со входом 26, а выход – с выходом 45.
Схема индикации окончания переходных процессов при переключении счетчика (фиг.4) состоит из (n+1)-входового элемента И-НЕ, входы которого подключены к входам 331-33n+1, а выход – к выходу 46.
Гистерезисный n-входовой триггер выполняет логическую функцию
G=I1I2 In+G(I1+I2+ +In),
где I1, I2, , In – входы триггера, a G – его выход, n-входовой гистерезисный триггер допускает декомпозицию на произвольное количество гистерезисных триггеров с меньшим числом входов, объединение которых осуществляется также с помощью гистерезисного триггера. Например, 7-входовой гистерезисный триггер, имеющий логическую формулу:
G=I1I2I3I4I5I6I7+G(I1+I2+I3+I4+I5+I6+I7),
может быть реализован совокупностью из гистерезисных триггеров, описываемых формулами:
G1=I1I2I3I4+G1(I1+I2+I3+I4),
G2=I5I6I7+G2(I5+I6+I7),
G=G1G2+G(G1+G2),
Схема индикации окончания переходных процессов при переключении счетчика также допускает произвольную функциональную декомпозицию для реализации на более простых логических элементах без потери свойства самосинхронности.
Особенности данной схемы по сравнению с прототипом следующие.
Каждый разряд 1i, i=1, , n, счетчика помимо счетного входа, прямого и инверсного информационных выходов, индикаторного выхода и счетного выхода имеет входы начальной установки нуля и единицы, что позволяет записывать в счетчик требуемое начальное состояние перед началом или в процессе работы, а схемы индикации готовности входов начальной установки счетчика и индикации окончания начальной установки счетчика обеспечивают самосинхронность начальной установки счетчика. При этом для успешной записи начального состояния счетный вход счетчика должен находиться в состоянии логической единицы, а на вход разрешения предустановки счетчика нужно подать логический нуль.
Предустановка счетчика выполняется следующим образом. Работа счетчика в составе самосинхронного устройства обеспечивается некоторой схемой управления, формирующей счетный входной сигнал, входы предустановки и сигнал разрешения предустановки в соответствии с временной диаграммой, представленной на фиг.5 для двухразрядного варианта счетчика с установкой единицы в первом разряде и нуля во втором разряде. Линиями со стрелкой на конце показаны причинно-следственные зависимости между сигналами.
Предустановка выполняется после того, как счетный вход Т счетчика перейдет в состояние логической единицы (высокий уровень). До получения подтверждения успешного окончания предустановки схема управления должна поддерживать на счетном входе уровень логической единицы. Активным уровнем для сигналов предустановки единицы Si и нуля Ri, i=1, 2, и разрешения предустановки Е является уровень логического нуля. Сигналы установки единицы Si и нуля Ri формируются некоторым внешним устройством и время появления их активных уровней не регламентируется. Они могут поступать на входы схемы индикации готовности входов начальной установки счетчика в произвольный момент времени. Необходимым условием самосинхронности процесса установки является отсутствие изменения активного входа установки (Si или Ri) в одном разряде после подачи активного уровня на вход разрешения Е начальной установки. Появление нулей на входах установки нуля и единицы одного разряда одновременно также запрещено. Схема управления инициирует начало предустановки подачей на вход разрешения Е низкого уровня. При этом на входах установки разрядов счетчика 8i и 9i формируются уровни сигналов, соответствующие входам предустановки единицы Si и нуля Ri. В соответствии с заданными сигналами установки прямой и инверсный информационные выходы в каждом разряде счетчика устанавливаются в надлежащее состояние. Причем схема разряда счетчика построена таким образом, что последним по очереди переключается тот выход в каждом разряде, который должен принять значение логического нуля. Успешное завершение предустановки фиксируется индикатором счетчика – блоком 27 на фиг.1. Появление на его выходе Y32 уровня логической единицы свидетельствует об окончании установки всех разрядов счетчика в требуемое состояние. Именно благодаря этому счетчик реализует самосинхронную предустановку. После этого схема управления снимает активный уровень с входа разрешения установки Е и разрешает продолжение работы счетчика в счетном режиме: вход Т может переключаться в состояние логического нуля. Одновременно схема управления разрешает устройству-источнику сигналов предустановки снимать активные уровни с входов предустановки единицы Si и нуля Ri.
Таким образом, предлагаемое устройство обеспечивает самосинхронную предустановку заданного состояния счетчика. Цель изобретения достигнута.
Схема управления не является предметом заявки и может быть реализована произвольным образом.
Источники информации
[2] А.С. СССР  3.
Формула изобретения
1. Разряд двоичного самосинхронного счетчика, содержащий шесть элементов И-НЕ, счетный вход, прямой и инверсный информационные выходы, индикаторный выход и выход счетного сигнала, причем первый и второй входы первого элемента И-НЕ подключены к выходам второго и пятого элементов И-НЕ соответственно, первый и второй входы второго элемента И-НЕ подключены к выходам первого и шестого элементов И-НЕ соответственно, первый и второй входы третьего элемента И-НЕ подключены к выходам первого и пятого элементов И-НЕ соответственно, первый и второй входы четвертого элемента И-НЕ подключены к выходам второго и шестого элементов И-НЕ соответственно, первый и второй входы пятого элемента И-НЕ подключены к выходам третьего и шестого элементов И-НЕ соответственно, третий вход пятого элемента И-НЕ подключен к счетному входу разряда счетчика, первый и второй входы шестого элемента И-НЕ подключены к выходам четвертого и пятого элементов И-НЕ соответственно, третий вход шестого элемента И-НЕ подключен к счетному входу разряда счетчика, прямой и инверсный информационные выходы подключены к выходам второго и первого элементов И-НЕ соответственно, индикаторный выход разряда подключен к выходу третьего элемента И-НЕ, а счетный выход подключен к выходу четвертого элемента И-НЕ, отличающийся тем, что в схему введены входы установки разряда в нуль и единицу и добавлены новые конструктивные связи – третий вход четвертого элемента И-НЕ и четвертый вход шестого элемента И-НЕ подключены к входу установки нуля, третий вход третьего и четвертый вход пятого элементов И-НЕ подключены к входу установки единицы.
2. Разряд двоичного самосинхронного счетчика по п.1, отличающийся тем, что в него введены вход разрешения предустановки, внешние входы установки единицы и нуля, выход индикации готовности входов установки, выход индикации окончания предустановки, два элемента ИЛИ, элемент И-НЕ и элемент ИЛИ-И-НЕ, причем первые входы первого и второго элементов ИЛИ подключены к внешним входам установки единицы и нуля соответственно, вторые входы элементов ИЛИ соединены со входом разрешения начальной установки, выход первого элемента ИЛИ подключен к входу установки единицы разряда и первому входу элемента И-НЕ, выход второго элемента ИЛИ подключен к входу установки нуля разряда и второму входу элемента И-НЕ, выход которого соединен с выходом индикации готовности входов установки разряда, первый и второй входы первой группы входов ИЛИ элемента ИЛИ-И-НЕ подключены ко входу установки нуля и прямому информационному выходу разряда соответственно, первый и второй входы второй группы входов ИЛИ элемента ИЛИ-И-НЕ соединены со входом установки единицы и инверсным информационным выходом разряда соответственно, а выход элемента ИЛИ-И-НЕ соединен с выходом индикации окончания предустановки разряда.
3. Двоичный n-разрядный самосинхронный счетчик, построенный на однотипных разрядах и имеющий счетный вход, счетный выход, прямые и инверсные информационные выходы и выход индикации окончания переходных процессов при переключении счетчика, причем счетный вход счетчика подключен к счетному входу первого разряда, счетный выход счетчика соединен со счетным выходом последнего разряда, счетный вход каждого разряда, начиная со второго, подключен к счетному выходу предыдущего разряда, прямые и инверсные информационные выходы счетчика соединены с соответствующими информационными выходами разрядов счетчика, отличающийся тем, что в него введены входы поразрядной начальной установки нуля и единицы, вход разрешения предустановки, выход индикации окончания начальной установки счетчика, два гистерезисных триггера и элемент И-НЕ, а каждый разряд счетчика реализован по п.2, причем внешние входы установки нуля и единицы разрядов счетчика соединены с соответствующими поразрядными входами установки, вход разрешения предустановки счетчика соединен с входами разрешения предустановки всех разрядов счетчика, входы первого гистерезисного триггера подключены к выходам индикации готовности входов установки разрядов счетчика, входы второго гистерезисного триггера соединены с выходами индикации окончания предустановки разрядов счетчика и выходом первого гистерезисного триггера, а его выход – с выходом индикации окончания начальной установки счетчика, входы элемента И-НЕ подключены к индикаторным выходам всех разрядов счетчика и счетному выходу последнего разряда счетчика, а его выход – к выходу индикации окончания переходных процессов при переключении счетчика.
РИСУНКИ
|
|