|
|
(21), (22) Заявка: 2009102695/09, 27.01.2009
(24) Дата начала отсчета срока действия патента:
27.01.2009
(46) Опубликовано: 20.06.2010
(56) Список документов, цитированных в отчете о поиске:
Электронная техника, серия 1 СВЧ-техника, вып.2(486), 2005, с.52-53. RU 2033686 C1, 20.04.1995. RU 2296416 C1, 27.03.2007. RU 2069448 C1, 20.11.1996. US 6163221 A, 19.12.2000. US 2006267684 A1, 30.11.2006. EP 1244210 A, 25.09.2002.
Адрес для переписки:
141190, Московская обл., г. Фрязино, ул. Вокзальная, 2А, Федеральное государственное унитарное предприятие “Научно-производственное предприятие “Исток”, патентный отдел
|
(72) Автор(ы):
Балыко Александр Карпович (RU), Королев Александр Николаевич (RU), Мальцев Валентин Алексеевич (RU), Ююкина Наталья Ивановна (RU)
(73) Патентообладатель(и):
Федеральное государственное унитарное предприятие “Научно-производственное предприятие “Исток” (ФГУП НПП “Исток”) (RU)
|
(54) СВЕРХШИРОКОПОЛОСНЫЙ УСИЛИТЕЛЬ СВЧ
(57) Реферат:
Изобретение относится к электронной технике СВЧ. Сверхширокополосный усилитель СВЧ содержит две одинаковые линии передачи, предназначенные одна для входа, другая для выхода сигнала СВЧ, полевой транзистор с барьером Шотки, соединенный по схеме с общим истоком, источник постоянного положительного напряжения, соединенный со стоком полевого транзистора с барьером Шотки через индуктивность. В усилитель дополнительно введены, по крайней мере, два полевых транзистора с барьером Шотки и, по крайней мере, шесть индуктивностей, при этом, по крайней мере, три из них предназначены для соединения стоков трех полевых транзисторов с барьером Шотки и, по крайней мере, три другие – для заземления общих точек смежных двух полевых транзисторов с барьером Шотки, при этом затвор первого полевого транзистора с барьером Шотки соединен с линией передачи на входе, а его сток соединен со стоком второго полевого транзистора с барьером Шотки через одну из упомянутых индуктивностей и со стоком третьего либо последующего полевого транзистора с барьером Шотки через одну из упомянутых индуктивностей, сток третьего либо последнего полевого транзистора с барьером Шотки соединен с линией передачи на выходе через одну из упомянутых индуктивностей, исток первого полевого транзистора с барьером Шотки соединен с затвором второго полевого транзистора с барьером Шотки и их общая точка соединения заземлена через одну из упомянутых индуктивностей, исток второго полевого транзистора с барьером Шотки соединен с затвором третьего либо последующего полевого транзистора с барьером Шотки и их общая точка соединения заземлена через одну из упомянутых индуктивностей, исток третьего либо последнего полевого транзистора с барьером Шотки заземлен через одну из упомянутых индуктивностей. Технический результат – расширение рабочей полосы частот усилителя СВЧ при достаточном уровне коэффициента усиления. 2 з.п. ф-лы, 3 ил.
Изобретение относится к электронной технике, а именно к усилителям сверхвысокой частоты на полупроводниковых приборах, которые широко используются в электронной технике СВЧ, в частности радиоэлектронной бортовой аппаратуре.
В последние годы наибольшее применение находят усилители сверхвысокой частоты (СВЧ), выполненные на транзисторах. При этом в области сверхвысоких частот на основе полевых транзисторов с барьером Шотки (ПТШ) в длинноволновой части СВЧ-диапазона серьезную конкуренцию усилителям на полевых транзисторах с барьером Шотки составляют усилители на основе биполярных транзисторов.
Особое место среди них занимают широкополосные и сверхширокополосные усилители СВЧ, далее просто усилитель.
Известен широкополосный усилитель СВЧ, содержащий транзистор, включенный по схеме с общим эмиттером, база которого соединена с выходом источника возбуждения, эмиттер через катушку индуктивности соединен с общей шиной, а коллектор – с нагрузкой и первым выводом конденсатора обратной связи.
С целью расширения рабочей полосы частот в данном усилителе второй вывод конденсатора обратной связи подключен к эмиттеру транзистора [1].
Известен многокаскадный сверхширокополосный усилитель СВЧ,содержащий, как минимум, два аналогичных транзисторных усилительных каскада и межкаскадную согласующую цепь.
С целью расширения рабочей полосы частот усилительный каскад данного усилителя содержит четырехполюсник. При этом первый вывод первого резистора подключен к первому входу четырехполюсника, а второй вывод первого резистора подключен к точке соединения первых выводов второго и третьего резисторов, первого конденсатора и первой микрополосковой линии, второй вывод второго резистора подключен к корпусу, вторые выводы третьего резистора и первого конденсатора и первой микрополосковой линии соединены вместе и подключены ко второму выходу четырехполюсника. Первый вход четырехполюсника является входом усилительного каскада и подключен к выводу базы транзистора, второй выход четырехполюсника подключен к выводу коллектора транзистора и является выходом усилительного каскада.
Межкаскадная согласующая цепь содержит второй отрезок микрополосковой линии, первый вывод которого является входом межкаскадной согласующей цепи, а второй вывод подключен к первому выводу второго конденсатора, а второй вывод второго конденсатора подключен к первому выводу третьего отрезка микрополосковой линии, второй вывод которого является выходом межкаскадной согласующей цепи. При этом второй и третий отрезки микрополосковых линий имеют равную длину и расположены параллельно друг другу, а второй конденсатор установлен в зазоре между вторым выводом второго отрезка микрополосковой линии и первым выводом третьего отрезка микрополосковой линии [2].
Оба названные усилители выполнены на биполярном транзисторе на основе полупроводникового материала кремния, который обладает низкой подвижностью электронов, что соответственно ограничивает рабочую полосу частот данных усилителей не более 5-7 ГГц, что соответствует длинноволновой части СВЧ-диапазона.
Известен усилитель СВЧ, содержащий первую усилительную цепь на полевом транзисторе, исток которого соединен с параллельно соединенными первым резистором и конденсатором, а сток соединен с вторым резистором, при этом свободный вывод параллельно соединенных первого резистора и конденсатора соединен с общим выводом источника питания, другой вывод которого соединен со свободным выводом второго резистора, а затвор полевого транзистора через конденсатор соединен с выводом для подключения входного сигнала.
С целью увеличения коэффициента усиления в усилитель введена вторая усилительная цепь, аналогичная первой и подключенная аналогичным путем к выводам общего источника питания. Причем затворы полевых транзисторов у первой и второй усилительных цепей соединены, один вывод для подключения входного сигнала подключен к затворам полевых транзисторов через конденсатор, общий для обеих усилительных цепей, а второй соединен с общим выводом источника питания, выход усилителя выполнен между стоками полевых транзисторов.
В качестве полевых транзисторов использованы транзисторы с затворами в виде р-n-переходов или барьеров Шотки с различными напряжениями отсечки каналов.
Данный усилитель по сравнению с предыдущими усилителями, поскольку выполнен на полевом транзисторе с барьером Шотки на основе полупроводникового материала арсенида галлия, который имеет более высокую подвижность электронов по сравнению с полупроводниковым материалом кремнием, позволил увеличить верхнюю границу рабочей полосы частот и соответственно несколько расширить рабочую полосу частот.
Однако, с другой стороны, поскольку данный усилитель выполнен на двух усилительных цепях на полевых транзисторах с барьером Шотки, то, соответственно, их суммарная общая внутренняя емкость приводит к сужению рабочей полосы частот.
Известен усилитель СВЧ так же на полевом транзисторе с барьером Шотки, содержащий две одинаковые линии передачи, одна – на входе, другая – на выходе, два одинаковых разделительных конденсатора, каждый из которых расположен на одном из концов соответствующей линии передачи, полевой транзистор с барьером Шотки, соединенный по схеме с общим истоком, источник постоянного положительного напряжения, соединенный со стоком полевого транзистора с барьером Шотки через индуктивность, входную и выходную согласующие цепи [4 – прототип].
В данном усилителе по сравнению с предыдущим благодаря оптимизации входной и выходной согласующих цепей увеличена верхняя граница рабочей полосы частот и соответственно расширена рабочая полоса частот.
Однако дальнейшее увеличение верхней границы рабочей полосы частот и соответственно расширение рабочей полосы частот ограничено сравнительно большой величиной общей внутренней емкости полевого транзистора с барьером Шотки порядка одной пикофарады.
Техническим результатом заявленного изобретения является значительное расширение рабочей полосы частот усилителя СВЧ при достаточном уровне коэффициента усиления.
Указанный технический результат достигается заявленным сверхширокополосным усилителем СВЧ, содержащим две одинаковые линии передачи, одна предназначена для входа, другая – для выхода сигнала СВЧ, полевой транзистор с барьером Шотки, соединенный по схеме с общим истоком, источник постоянного положительного напряжения, соединенный со стоком полевого транзистора с барьером Шотки через индуктивность, в который дополнительно введены, по крайней мере, два полевых транзистора с барьером Шотки и, по крайней мере, шесть индуктивностей, при этом, по крайней мере, три из них предназначены для соединения стоков трех полевых транзисторов с барьером Шотки и, по крайней мере, три другие – для заземления общих точек соединения смежных двух полевых транзисторов с барьером Шотки.
При этом затвор первого полевого транзистора с барьером Шотки соединен с линией передачи на входе, а его сток соединен со стоком второго полевого транзистора с барьером Шотки через одну из упомянутых индуктивностей и со стоком третьего либо последующего полевого транзистора с барьером Шотки через одну из упомянутых индуктивностей, сток третьего либо последнего полевого транзистора с барьером Шотки соединен с линией передачи на выходе через одну из упомянутых индуктивностей, исток первого полевого транзистора с барьером Шотки соединен с затвором второго полевого транзистора с барьером Шотки и их общая точка соединения заземлена через одну из упомянутых индуктивностей, исток второго полевого транзистора с барьером Шотки соединен с затвором третьего либо последующего полевого транзистора с барьером Шотки и их общая точка соединения заземлена через одну из упомянутых индуктивностей, исток третьего либо последнего полевого транзистора с барьером Шотки заземлен через одну из упомянутых индуктивностей.
При этом величину первой индуктивности определяют исходя из выражения:
L1=2Z0/(2 f0),
где Z0 – волновое сопротивление линии передачи,
– постоянное число, равное 3,14,
f0 – центральная частота рабочей полосы частот,
а величина каждой, по крайней мере, из шести индуктивностей относительно величины первой индуктивности равна либо меньше.
В случае выполнения первого и, по крайней мере, двух дополнительных полевых транзисторов с барьером Шотки одинаковыми, величины каждой из, по крайней мере, шести индуктивностей определяют исходя из выражения:
Ln=L1/2n-2,
где n – порядковый номер индуктивности больше первого.
В случае выполнения первого и, по крайней мере, двух дополнительных полевых транзисторов с барьером Шотки разными, величины каждой из, по крайней мере, шести индуктивностей, которые введены дополнительно, могут быть определены вычислительными методами, например, путем оптимизации посредством электронной вычислительной машины.
Раскрытие сущности изобретения
Согласно теореме Фано произведение ширины рабочей полосы частот на уровень коэффициента усиления обратно пропорционально величине общей внутренней емкости полупроводникового прибора.
Таким образом, для данного полупроводникового прибора это произведение есть величина постоянная и, следовательно, расширение рабочей полосы частот приводит к снижению уровня коэффициента усиления.
Заявленный сверхширокополосный усилитель СВЧ, его существенные признаки, а именно введение дополнительно, по крайней мере, двух полевых транзисторов с барьером Шотки и, по крайней мере, шести индуктивностей, а также в совокупности с известными признаками, а также в совокупности с предложенным соединением всех элементов усилителя обеспечит, а именно:
во-первых, наличие, по крайней мере, дополнительных двух полевых транзисторов с барьером Шотки и, по крайней мере, шести индуктивностей, предложенное соединение их затворов с истоками полевых транзисторов с барьером Шотки и предложенное заземление истоков полевых транзисторов с барьером Шотки через индуктивности обеспечивает, по меньшей мере, уменьшение вдвое общей внутренней емкости всех полевых транзисторов с барьером Шотки и тем самым обеспечивает увеличение верхней границы рабочего диапазона частот и, как следствие, значительное расширение рабочей полосы частот усилителя СВЧ,
во-вторых, наличие, по крайней мере, трех полевых транзисторов с барьером Шотки и предложенное соединение стоков всех полевых транзисторов с барьером Шотки через индуктивности обеспечивает в зависимости от их оптимальной величины частичную либо полную компенсацию общей внутренней емкости всех полевых транзисторов с барьером Шотки и тем самым обеспечивает значительное уменьшение общей внутренней емкости всех полевых транзисторов с барьером Шотки, тем самым обеспечивает значительное увеличение верхней границы рабочей полосы частот и, как следствие, значительное расширение рабочего диапазона частот усилителя СВЧ,
в-третьих, наличие, по крайней мере, трех полевых транзисторов с барьером Шотки и предложенное соединение затворов всех полевых транзисторов с барьером Шотки с их истоками и при том, что их общие точки соединения заземлены через индуктивности, обеспечивает совместно с общей внутренней емкостью всех полевых транзисторов с барьером Шотки образование в схеме усилителя делителей напряжения согласно числу полевых транзисторов с барьером Шотки и как результат этого – значительное увеличение верхней границы рабочей полосы частот и, как следствие, значительное расширение рабочей полосы частот усилителя СВЧ.
Более того, предложенная совокупность всех существенных признаков практически не влияет на величину общей внутренней емкости всех полевых транзисторов с барьером Шотки, которые определяют нижнюю границу рабочей полосы частот и тем самым сохраняют ее неизменной.
Более того, предложенная совокупность всех существенных признаков не влияет на крутизну вольтамперных характеристик полевых транзисторов с барьером Шотки и в силу этого уровень коэффициента усиления изменяется незначительно.
Итак, незначительное изменение коэффициента усиления и в сочетании с существенным снижением общей внутренней емкости полевых транзисторов с барьером Шотки обеспечивает значительное расширение рабочей полосы частот усилителя СВЧ.
Итак, заявленная совокупность существенных признаков реализует указанный технический результат, а именно значительное расширение рабочей полосы частот усилителя СВЧ при достаточном уровне коэффициента усиления.
Изобретение поясняется чертежами.
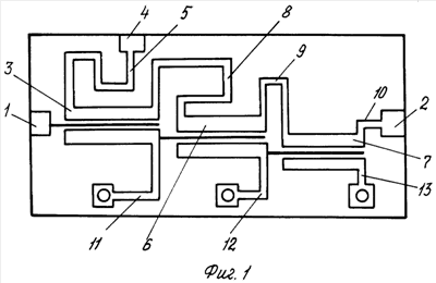
На фиг.1 дана топология заявленного сверхширокополосного усилителя СВЧ, где
– две одинаковые линии передачи, одна предназначена для входа сигнала СВЧ – 1, другая – для выхода – 2,
– первый полевой транзистор с барьером Шотки – 3,
– источник постоянного управляющего напряжения – 4,
– первая индуктивность – 5,
– по крайней мере, второй и третий полевые транзисторы с барьером Шотки – 6 и 7 соответственно,
– по крайней мере, шесть индуктивностей – 8, 9, 10, 11, 12, 13 соответственно.
На фиг.2 дана его электрическая схема.
На фиг.3 дана зависимость коэффициента усиления от частоты в пределах рабочей полосы частот.
Пример конкретного выполнения заявленного сверхширокополосного усилителя СВЧ.
Усилитель СВЧ выполнен в монолитно интегральном исполнении на полупроводниковой подложке из арсенида галлия толщиной, равной 0,1 мм, с использованием классической тонкопленочной технологии.
Две одинаковые линии передачи, предназначенные для входа 1 и для выхода 2 сигнала СВЧ, выполнены с одинаковыми волновыми сопротивлениями, равными 50 Ом, что соответствует ширине проводников 0,08 мм.
Первый, второй и третий полевые транзисторы с барьером Шотки 3, 6 и 7 выполнены одинаковыми, каждый с длиной затвора, равной 0,4 мкм, шириной затвора, равной 300 мкм, одинаковыми длинами стока и истока, равными 20 мкм, имеют напряжение отсечки Uотс, равное -2,0 В.
Индуктивности – первая 5 и вторая 8 выполнены одинаковыми по величине в виде меандров шириной и длиной, равной 10 и 400 мкм соответственно,
Индуктивность третья 11 выполнена в виде меандра шириной и длиной, равной 10 и 200 мкм соответственно.
Индуктивность четвертая 9 выполнена в виде меандра шириной и длиной, равной 10 и 100 мкм.
Индуктивность пятая 12 выполнена в виде отрезка линии передачи шириной и длиной, равной 10 и 50 мкм соответственно.
Индуктивность шестая 10 выполнена в виде отрезка линии передачи шириной и длиной, равной 10 и 25 мкм соответственно.
Индуктивность седьмая 13 выполнена в виде отрезка линии передачи шириной и длиной, равной 10 и 12,5 мкм соответственно.
Величины индуктивностей уменьшаются от входа к выходу усилителя СВЧ согласно выражению, указанному в формуле изобретения.
При этом затвор первого полевого транзистора с барьером Шотки 3 соединен с линией передачи на входе 1, его сток соединен с источником постоянного положительного напряжения 4 через первую индуктивность 5 и со стоком второго полевого транзистора с барьером Шотки 6 через вторую индуктивность 8 и со стоком третьего полевого транзистора с барьером Шотки 7 через четвертую индуктивность 9, сток третьего полевого транзистора с барьером Шотки 7 соединен с линией передачи на выходе 2 через шестую индуктивность 10, исток первого полевого транзистора с барьером Шотки 3 соединен с затвором второго полевого транзистора с барьером Шотки 6 и их общая точка соединения заземлена через третью индуктивность 11, исток второго полевого транзистора с барьером Шотки 6 соединен с затвором третьего полевого транзистора с барьером Шотки 7 и их общая точка соединения заземлена через пятую индуктивность 12, исток третьего полевого транзистора с барьером Шотки 7 заземлен через седьмую индуктивность 13.
Заявленный усилитель СВЧ работает следующим образом.
При подаче на затвор первого полевого транзистора с барьером Шотки 3 переменного напряжения с частотой 2 ГГц с амплитудой 1 В, а на его сток напряжения 5 В от источника постоянного напряжения 4 через первый, второй и третий полевые транзисторы с барьером Шотки 3, 6 и 7 будет протекать постоянный и переменный токи одновременно.
Вследствие нелинейной вольтамперной характеристики в каждом полевом транзисторе с барьером Шотки энергия постоянного напряжения будет преобразовываться в энергию переменного напряжения и происходит наращивание напряжения от входа к выходу усилителя СВЧ.
В результате на выходе усилителя СВЧ суммарное переменное напряжение будет больше, чем напряжение на его входе, то есть произойдет усиление напряжения и, следовательно, усиление мощности СВЧ, поскольку мощность СВЧ пропорциональна квадрату напряжения.
Если изменять частоту входного сигнала СВЧ в пределах рабочей полосы частот, то процессы в усилителе будут протекать аналогично описанным выше и на этих частотах.
На образцах заявленного усилителя СВЧ была измерена зависимость величины коэффициента усиления от рабочей частоты, изменяющейся в пределах от 0,5 до 55 ГГц.
Результаты представлены на фиг.3.
Из представленной зависимости коэффициента усиления от частоты в пределах рабочей полосы частот видно, что
– рабочая полоса частот изменяется от 2 до 52 ГГц, что примерно в 4 раза больше, чем в прототипе,
– уровень коэффициента усиления в рабочей полосе частот изменяется от 8 до 10 дБ, что соответствует уровню прототипа.
Таким образом, заявленный усилитель СВЧ позволит по сравнению с прототипом значительно расширить рабочую полосу частот примерно в 4 раза.
Указанные преимущества заявленного усилителя СВЧ особенно актуальны при создании миниатюрных как отдельных изделий техники СВЧ, так и радиоэлектронных устройств СВЧ различного назначения и, особенно, в монолитно интегральном исполнении.
Источники информации
1. Патент РФ 2033686, МПК H03F 3/60, приоритет 1990.11.21, опубл. 1995.04.20.
2. Патент РФ 2296416, МПК H03F 3/19, 3/60, приоритет 2005.07.29, опубл. 2007.03.27.
3. Патент РФ 2069448, МПК H03F 3/45, приоритет 1994.06.29, опубл. 1996.11.20.
4. Научно-технический сборник. Электронная техника, серия 1, СВЧ-техника, выпуск 2 (486) 2005 г., с.52-53 – прототип.
Формула изобретения
1. Сверхширокополосный усилитель СВЧ, содержащий две одинаковые линии передачи, одна предназначена для входа, другая – для выхода сигнала СВЧ, полевой транзистор с барьером Шотки, соединенный по схеме с общим истоком, источник постоянного положительного напряжения, соединенный со стоком полевого транзистора с барьером Шотки через индуктивность, отличающийся тем, что в усилитель дополнительно введены, по крайней мере, два полевых транзистора с барьером Шотки – и, по крайней мере, шесть индуктивностей, при этом, по крайней мере, три из них предназначены для соединения стоков трех полевых транзисторов с барьером Шотки, и, по крайней мере, три другие – для заземления общих точек соединения смежных двух полевых транзисторов с барьером Шотки, при этом затвор первого полевого транзистора с барьером Шотки соединен с линией передачи на входе, а его сток соединен со стоком второго полевого транзистора с барьером Шотки через одну из упомянутых индуктивностей и со стоком третьего либо последующего полевого транзистора с барьером Шотки через одну из упомянутых индуктивностей, сток третьего либо последнего полевого транзистора с барьером Шотки соединен с линией передачи на выходе через одну из упомянутых индуктивностей, исток первого полевого транзистора с барьером Шотки соединен с затвором второго полевого транзистора с барьером Шотки и их общая точка соединения заземлена через одну из упомянутых индуктивностей, исток второго полевого транзистора с барьером Шотки соединен с затвором третьего либо последующего полевого транзистора с барьером Шотки и их общая точка соединения заземлена через одну из упомянутых индуктивностей, исток третьего либо последнего полевого транзистора с барьером Шотки заземлен через одну из упомянутых индуктивностей, при этом величину первой индуктивности определяют исходя из выражения: L1=2Z0/(2 f0), где Z0 – волновое сопротивление линии передачи,
– постоянное число, равное 3,14, f0 – центральная частота рабочей полосы частот, а величина каждой из, по крайней мере, шести индуктивностей относительно величины первой индуктивности равна либо меньше.
2. Сверхширокополосный усилитель СВЧ по п.1, отличающийся тем, что в случае выполнения первого и, по крайней мере, двух дополнительных полевых транзисторов с барьером Шотки одинаковыми, величины каждой из, по крайней мере, шести индуктивностей, определяют исходя из выражения: Ln=L1/2n-2, где n – порядковый номер индуктивности больше первого.
3. Сверхширокополосный усилитель СВЧ по п.1, отличающийся тем, что в случае выполнения первого и, по крайней мере, двух дополнительных полевых транзисторов с барьером Шотки разными, величины каждой, по крайней мере, из шести индуктивностей, которые введены дополнительно, могут быть определены вычислительными методами, например, путем оптимизации посредством электронной вычислительной машины.
РИСУНКИ
|
|