|
(21), (22) Заявка: 2009120126/09, 28.05.2009
(24) Дата начала отсчета срока действия патента:
28.05.2009
(46) Опубликовано: 20.06.2010
(56) Список документов, цитированных в отчете о поиске:
ИЛЬИН С.Н. и др. Многофункциональный сумматор СВЧ мощности: Сб. тезисы докладов Всесоюзная VI научно-практическая конференция «Применение СВЧ энергии в технологических процессах и научных исследованиях». – Саратов, 11-13 июня 1991 г., с.113-114. SU 1617633 А1, 30.12.1990. RU 2109373 C1, 20.04.1998. JP 9274998 A, 21.10.1997.
Адрес для переписки:
105118, Москва, пр-кт Буденного, 16, ФГУП “Московское машиностроительное производственное предприятие “Салют”, Правовое управление, Т.Е. Гордеевой
|
(72) Автор(ы):
Артамонов Владимир Иванович (RU), Алексеева Надежда Ивановна (RU), Вартанян Валерий Артаваздович (RU), Егоров Юрий Михайлович (RU), Маевский Владимир Александрович (RU), Собченко Юрий Александрович (RU)
(73) Патентообладатель(и):
Федеральное государственное унитарное предприятие “Московское машиностроительное производственное предприятие “Салют” (RU)
|
(54) УСТРОЙСТВО ДЛЯ СЛОЖЕНИЯ МОЩНОСТЕЙ ДВУХ СВЧ ГЕНЕРАТОРОВ НА МАГНЕТРОНАХ
(57) Реферат:
Изобретение относится к технике сверхвысоких частот (СВЧ), а конкретно к сложению мощностей нескольких генераторов. Техническим результатом, на достижение которого направлено заявляемое изобретение, является повышение надежности заявляемого устройства при одновременном упрощения его конструкции. Указанный результат достигается за счет того, что в устройстве сложения мощностей двух СВЧ генераторов на магнетронах, содержащем блоки питания, магнетроны и короткозамкнутый волновод, вывод энергии второго магнетрона вводится в волновод через противоположную широкую стенку на расстоянии А от вывода первого магнетрона, причем вывод энергии второго магнетрона расположен на расстоянии L от короткозамкнутого конца волновода, а величины А и L выбираются из соотношения 4,2
Изобретение относится к технике сверхвысоких частот (СВЧ), а конкретно – к сложению мощностей нескольких генераторов.
Сложение мощностей СВЧ генераторов в настоящее время является весьма актуальной задачей с точки зрения снижения стоимости СВЧ генераторных устройств. В связи с массовым производством магнетронов для бытовых СВЧ печей их цена существенно ниже цены генераторов для технологических целей. Так, если цена магнетрона с системой питания для бытовой печи мощностью 1 кВт составляет ~3000 руб., то генератор мощностью 5 кВт предлагается отечественными предприятиями по цене ~450000 руб.
Однако сложение излучения магнетронов с целью увеличения мощности связано с серьезными трудностями из-за естественного различия частот и фаз индивидуальных магнетронов.
Известно сложение мощностей СВЧ генераторов на основе полупроводниковых приборов (транзисторы, диоды Ганна и т.п.), а также на основе электровакуумных приборов (отражательные клистроны, магнетроны и т.п.).
В частности, в принятой за прототип работе (Ильин С.Н., Ильин B.C., Лобанов В.Г., Хоркина А.А. “Многофункциональный сумматор СВЧ мощности”. Всесоюзная VI научно-практическая конференция «Применение СВЧ энергии в технологических процессах и научных исследованиях», Саратов, 11-13 июня 1991 г. Тезисы докладов, с.113-114) описано устройство «Многофункциональный сумматор СВЧ мощности», работающий на 3-х магнетронах.
В описанном устройстве мощности 3-х генераторов складываются с использованием двойного волноводного тройника и шестигранного волновода, к тому же применяются фазовращатели в прямоугольных волноводах, обеспечивающие поляризационную развязку между генераторами. Устройство обеспечивает КПД суммирования 95% в режиме взаимной синхронизации и одночастотных колебаний, а также в режиме многочастотных колебаний с некоторым увеличением частоты.
Недостатком этого устройства является наличие большого числа СВЧ элементов: двойного волноводного тройника, шестигранного волновода и фазовращателей, с помощью которых достигается результат.
Эти дополнительные к СВЧ генераторам элементы снижают надежность работы, а также приводят к увеличению материалоемкости всего устройства – повышается вес, увеличиваются габаритные размеры всего устройства и, как следствие, его стоимость.
В предлагаемом устройстве осуществляется сложение мощностей 2-х СВЧ генераторов на магнетронах с применением стандартного прямоугольного волновода.
Техническим результатом, на достижение которого направлено заявляемое изобретение, является повышение надежности заявляемого устройства при одновременном упрощения его конструкции.
Указанный результат достигается тем, что в устройстве сложения мощностей двух СВЧ генераторов на магнетронах, содержащем блоки питания, магнетроны и короткозамкнутый волновод, вывод энергии второго магнетрона вводится в волновод через противоположную широкую стенку на расстоянии А от вывода первого магнетрона, причем вывод энергии второго магнетрона расположен на расстоянии L от короткозамкнутого конца волновода, а величины А и L выбираются из соотношения 4,2
В устройстве между магнетронами и волноводом могут быть установлены проставки.
В устройстве блоки питания СВЧ генераторов могут быть подключены к электросети с возможностью обеспечения их запитывания одинаковыми фазами напряжения.
В устройстве блоки питания СВЧ генераторов могут быть подключены к электросети с возможностью обеспечения их запитывания противоположными фазами напряжения.
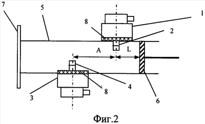
Сущность изобретения проиллюстрирована на фиг.1-14, где: на фиг.1 представлен известный классический вариант устройства для передачи СВЧ мощности от одного магнетрона в волновод; на фиг.2 – принципиальная схема заявляемого устройства; на фиг.3 – принципиальная схема СВЧ генератора (М – магнетрон), на фиг.4-8 приведены осциллограммы измерения напряжений блока питания, токи магнетрона и импульсов СВЧ мощности одного СВЧ генератора, запитываемого по схеме удвоения напряжения, на фиг.9-13 – осциллограммы изменений напряжения блока питания и тока двух магнетронов при их противофазном включении; на фиг.14 – импульсы СВЧ мощности в волноводном тракте при синфазном включении двух магнетронов.
Представленная на фиг.3 принципиальная схема СВЧ генератора (М – магнетрон) предназначена для генерирования СВЧ мощности частотой 2450 МГц. На элементах С4, VD1 собрана схема удвоения напряжения обмотки III трансформатора Т2 с 2 кВ до 4 кВ, а на на фиг.4-8 приведены осциллограммы измерения напряжений блока питания, токи магнетрона и импульсов СВЧ мощности одного СВЧ генератора, запитываемого по схеме удвоения напряжения, где
U – напряжение на высоковольтной обмотке трансформатора Т2;
Uc – напряжение на конденсаторе С4;
Ua – напряжение (высоковольтное) на катоде магнетрона;
Ia – ток магнетрона;
РСВЧ – импульсы СВЧ мощности в волноводном тракте.
Устройство состоит из магнетрона 1 с выводом энергии 2 и магнетрона 3 с выводом энергии 4. Магнетроны 1 и 3 размещены на противоположных широких (на двух противоположных стенках наибольшего размера) стенках волновода 5, в одном из торцов которого размещен короткозамкнутый поршень 6, другой торец соединен с нагрузкой через фланец 7. В качестве нагрузки может использоваться волноводная водяная нагрузка, согласованный щелевой излучатель, рупорная антенна или безэховая камера.
В предлагаемом устройстве второй магнетрон 3 устанавливается на волновод 5 таким образом, что вывод энергии 4 этого магнетрона вводится в волновод 5 через противоположную широкую стенку на расстоянии А от оси вывода энергии 2 первого магнетрона. Оба магнетрона имеют возможность перемещаться вдоль оси волновода для изменения величины А.
Перемещение магнетрона может осуществляться любым известным способом, например за счет перемещения вывода энергии внутри продольного паза. Фиксация положения магнетрона и его крепление осуществляется, например, с помощью хомута, охватывающего волновод 5.
Величина расстояния А между выводами энергий магнетронов и расстояния L между поршнем 6 и выводом энергии 2 первого магнетрона выбираются из условий максимальной отдачи суммарной СВЧ мощности обоих магнетронов в волноводный тракт, оптимальных температурных режимов их работы и варианта запитки каждого генератора от сети, а величины А и L выбираются из соотношения 4,2
При синфазном включении магнетронов, когда они работают в одни и те же промежутки времени, каждый из них воздействует друг на друга в рабочем режиме. К уменьшению взаимного влияния до величин, обеспечивающих устойчивую работу, приводит оптимизация положения вывода энергии в волноводе, которая осуществляется за счет установки дополнительных проставок 8 между магнетроном и волноводом. Это позволяет обеспечить синхронизацию работы магнетронов на одной частоте при синфазном включении.
На фиг.4-8 приведены осциллограммы измерения напряжений БП, токи магнетрона и импульсов СВЧ мощности одного СВЧ генератора, запитываемого по схеме удвоения напряжения.
При противофазном питании магнетроны в устройстве работают по очереди, так как заряд конденсаторов С4 в БП происходит от разных фаз напряжения сети (т.е. от полуволн напряжения питающей сети противоположной полярности). Осциллограммы приведены на фиг.9-13.
При синфазном питании магнетроны работают одновременно в режиме взаимной синхронизации, так как заряд конденсаторов С4 в БП происходит от полуволн напряжения питающей сети одинаковой полярности. Осциллограммы в этом случае такие же, как на фиг.4-8, но отличающиеся от них только тем, что импульсы СВЧ мощности по амплитуде примерно в два раза больше (фиг.14).
Проверка работы устройства на 2-х магнетронах фирмы Daewoo M 218 показала, что в режиме противофазного питания выходная СВЧ мощность составляет 95-98% от суммы номинальных мощностей каждого магнетрона, а в режиме синфазного питания (режиме взаимной синхронизации) – 75-82%. Температурный режим магнетронов в случае синфазного питания на 50°С выше температурного режима противофазного питания, но магнетроны работают в устойчивом режиме длительное время (Непрерывный режим работы составлял не менее 5-ти часов).
Такие режимы получены при соотношении A/L=5,7. У этих магнетронов сдвиг соотношения A/L к границам интервала 4,2÷7,2 приводит к снижению КПД до 55%, а температура магнетронов возрастает до 190°С, что очень критично для дальнейшей работоспособности магнетронов.
Работоспособность заявляемого устройства в различных режимах питания генераторов (синфазное и противофазное) проверялась при излучении СВЧ мощности от щелевого излучателя в свободное пространство безэховой камеры, а также на водяную нагрузку ваттметра М3-46. Во всех случаях контролировался температурный режим работы магнетронов и проводилась наработка по времени. В таблице приведены данные по измерению СВЧ мощности и температурные режимы магнетронов предлагаемого устройства при различных режимах питания генераторов (синфазное и противофазное).
| Режим питания магнетронов |
Измеренная СВЧ мощность, Вт |
Температурный режим магнетронов, °С |
| Синфазный – на излучатель |
1350 |
157 |
| Противофазный – на излучатель |
1500 |
125 |
| Синфазный – на М3-46 |
1100 |
168 |
| Противофазный – на М3-46 |
1500 |
120 |
Измеренные мощности используемых магнетронов фирмы Daewoo составляют 756 Вт и 764 Вт. Арифметическая суммарная мощность – 1520 Вт.
Формула изобретения
1. Устройство сложения мощностей двух СВЧ генераторов на магнетронах, содержащее блоки питания, магнетроны и короткозамкнутый волновод, отличающееся тем, что вывод энергии второго магнетрона вводится в волновод через противоположную широкую стенку на расстоянии А от вывода первого магнетрона, причем вывод энергии второго магнетрона расположен на расстоянии L от короткозамкнутого конца волновода, а величины А и L выбираются из соотношения 4,2
2. Устройство по п.1, отличающееся тем, что между магнетронами и волноводом установлены проставки.
3. Устройство по п.1, отличающееся тем, что блоки питания СВЧ генераторов подключены к электросети с возможностью обеспечения их запитывания одинаковыми фазами напряжения.
4. Устройство по п.1, отличающееся тем, что блоки питания СВЧ генераторов подключены к электросети с возможностью обеспечения их запитывания противоположными фазами напряжения.
РИСУНКИ
|