|
(21), (22) Заявка: 2009115065/28, 20.04.2009
(24) Дата начала отсчета срока действия патента:
20.04.2009
(46) Опубликовано: 20.06.2010
(56) Список документов, цитированных в отчете о поиске:
RU 2245558 С2, 27.05.2005. RU 2222816 С1, 10.06.2002. US 4492924 A, 08.01.1985. DE 2419128 A, 21.11.1974.
Адрес для переписки:
644046, г.Омск, пр-кт Маркса, 35, ГОУ ВПО Омский государственный университет путей сообщения
|
(72) Автор(ы):
Кандаев Василий Андреевич (RU), Авдеева Ксения Васильевна (RU), Иванова Анастасия Олеговна (RU)
(73) Патентообладатель(и):
Государственное образовательное учреждение высшего профессионального образования Омский государственный университет путей сообщения (RU)
|
(54) СПОСОБ ОПРЕДЕЛЕНИЯ НАЛИЧИЯ СОЕДИНЕНИЯ В МЕСТЕ ПЕРЕСЕЧЕНИЯ ГОРИЗОНТАЛЬНЫХ ЭЛЕМЕНТОВ ЗАЗЕМЛЯЮЩЕГО УСТРОЙСТВА
(57) Реферат:
Изобретение относится к контрольно-измерительной технике и может быть использовано для определения наличия соединения в месте пересечения горизонтальных элементов заземляющего устройства. Над горизонтальным элементом до и после места пересечения размещаются датчики напряженности магнитного поля, с помощью которых определяются значения напряженности магнитного поля от токов в горизонтальном элементе. По известным значениям напряженности магнитного поля и глубины залегания горизонтального элемента определяются значение и направление тока в нем. По результату вычитания токов в горизонтальном элементе до и после места пересечения (с учетом направления) можно судить о наличии соединения в месте пересечения горизонтальных элементов. Технический результат заключается в снижении трудоемкости определения наличия соединения в месте пересечения горизонтальных элементов. 1 ил.
Изобретение относится к контрольно-измерительной технике и может быть использовано для определения наличия соединения в месте пересечения горизонтальных элементов заземляющего устройства объектов энергоснабжения и тяговых подстанций железнодорожного транспорта.
Известен визуальный способ определения наличия соединения в месте пересечения горизонтальных элементов, согласно которому наличие соединения в месте пересечения горизонтальных элементов определяется с помощью вскрытия грунта (Инструкция по заземлению устройств электроснабжения на электрифицированных железных дорогах ЦЭ-191 от 10.06.1993 г.).
Недостатком данного способа является то, что для определения соединения в месте пересечения горизонтальных элементов необходимо производить вскрытие грунта в месте расположения каждого соединения, в месте пересечения горизонтальных элементов, что связано с большими временными и трудовыми затратами.
Наиболее близким к предлагаемому изобретению является способ определения связи между технологическим оборудованием и заземляющим устройством, согласно которому источник переменного тока подключается между проводником, заземляющим корпус оборудования, и другой точкой заземляющего устройства, определяется суммарная напряженность Н на соединительном проводе, определяется доля суммарного магнитного поля Н от токов, протекающих вниз в искусственный заземлитель, по оболочкам силовых и измерительных кабелей, по трубам или каркасам порталов и других металлоконструкций, по значению которой делается вывод о наличии связи оборудования с контуром заземления (Методические указания по контролю состояния заземляющих устройств электроустановок. РД 153-34.0-20.525-00, Российское акционерное общество энергетики и электрификации “ЕЭС России”. – М., 2000 г.).
Недостатком этого способа является отсутствие возможности определения наличия соединения в месте пересечения горизонтальных элементов заземляющего устройства.
Цель изобретения – снижение трудоемкости определения наличия соединения в месте пересечения горизонтальных элементов.
Для достижения этой цели в предлагаемом способе определения наличия соединения в месте пересечения горизонтальных элементов необходимо подключить источник переменного тока между заземляющим устройством и вспомогательным заземлителем. Далее определяется трасса прокладки горизонтальных элементов заземляющего устройства. Для определения наличия соединения в месте пересечения горизонтальных элементов над горизонтальным элементом до и после места пересечения размещаются датчики напряженности магнитного поля, с помощью которых определяются значения напряженности магнитного поля от тока в горизонтальном элементе.
По известным значениям напряженности магнитного поля и глубины залегания горизонтального элемента определяются значение и направление тока в нем. По результату вычитания токов в горизонтальном элементе до и после места пересечения (с учетом направления) можно судить о наличии соединения в месте пересечения горизонтальных элементов. Если разность токов равна нулю, то это свидетельствует об отсутствии соединения в месте пересечения горизонтальных элементов.
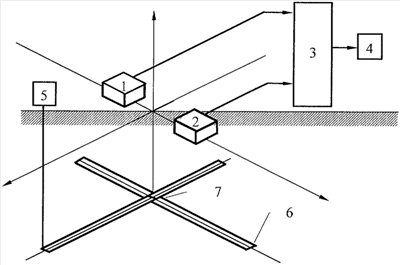
Нa чертеже представлена функциональная схема устройства, реализующая измерения по данному способу.
Устройство содержит датчики напряженности магнитного поля 1 и 2, вычитающее устройство 3, индикатор 4, генератор 5.
Наличие соединения в месте пересечения горизонтальных элементов заземляющего устройства определяется следующим образом. При подключении генератора 5 к заземляющему устройству 6 и расположении предлагаемого устройства над узлом 7 на выходе 1 и 2 датчиков появляются сигналы, пропорциональные току в соответствующих элементах заземляющего устройства с учетом направления (направление тока, входящего в узел, принимается положительным, выходящего из узла – отрицательным), в вычитающем устройстве 3 производится их вычитание. С выхода вычитающего устройства 3 сигнал подается на индикатор 4.
Признаком отсутствия соединения в месте пересечения горизонтальных элементов является равенство токов в горизонтальном элементе до и после рассматриваемого узла.
Формула изобретения
Способ определения наличия соединения в месте пересечения горизонтальных элементов заземляющего устройства, включающий подключение источника переменного тока между заземляющим устройством и вспомогательным заземлителем, определение трассы прокладки элементов заземляющего устройства, отличающийся тем, что над горизонтальным элементом до и после места пересечения размещаются датчики напряженности магнитного поля, с помощью которых определяются значения напряженности магнитного поля от тока в горизонтальном элементе, затем по известным значениям напряженности магнитного поля и глубины залегания горизонтального элемента определяются значение и направление тока в нем, по результату вычитания токов в горизонтальном элементе до и после места пересечения (с учетом направления) судят о наличии соединения в месте пересечения горизонтальных элементов.
РИСУНКИ
|