|
|
(21), (22) Заявка: 2008113891/02, 08.04.2008
(24) Дата начала отсчета срока действия патента:
08.04.2008
(43) Дата публикации заявки: 20.10.2009
(46) Опубликовано: 20.06.2010
(56) Список документов, цитированных в отчете о поиске:
GB 479908 A, 11.02.1938. RU 68115 U1, 10.11.2007. RU 1059987 C, 20.08.1995. GB 2025007 A, 16.01.1980. US 4413546 A, 08.11.1983.
Адрес для переписки:
426006, Удмуртская Республика, г.Ижевск, пр-д Дерябина, 3, Открытое акционерное общество “Концерн “Ижмаш”, отдел новой техники, патентов и информации
|
(72) Автор(ы):
Широбоков Юрий Алексеевич (RU), Башаров Айрат Шамилевич (RU)
(73) Патентообладатель(и):
Открытое акционерное общество “Концерн “Ижмаш” (RU)
|
(54) МАГАЗИН СТРЕЛКОВОГО ОРУЖИЯ (ВАРИАНТЫ)
(57) Реферат:
Изобретение относится к магазинам для боеприпасов. Магазин по первому варианту, в котором патроны расположены радиально в несколько рядов, содержит устройство подачи патронов с подавателем и центральную ось. Устройство приводится в действие с помощью пружины. Магазин снабжен платформой, выполненной с поверхностью, обеспечивающей спиралеобразное расположение патронов на ней. На центральной оси выполнен спиральный канал для перемещения платформы, а подаватель патронов закреплен на платформе. Магазин по второму варианту, в котором патроны расположены радиально в несколько рядов, содержит устройство подачи патронов с подавателем и центральную ось. Магазин снабжен платформой и механизмом отключения устройства подачи патронов. Поверхность платформы обеспечивает спиралеобразное расположение патронов на ней. Механизм отключения устройства подачи патронов выполнен в виде храпового механизма, оснащенного подпружиненным стопором. На центральной оси выполнен спиральный канал для перемещения платформы, а подаватель патронов закреплен на платформе. Технический результат заключается в повышении удобства снаряжения магазина стрелкового оружия и надежности его эксплуатации после длительного хранения в снаряженном патронами состоянии 2 н. и 1 з.п. ф-лы, 4 ил.
Изобретение относится к магазинам для боеприпасов.
Из уровня техники известны магазины барабанного типа, оснащенные устройством подачи патронов, приводимых в действие пружиной, например барабанный магазин к пистолету-пулемету Шпагина (ППШ) (см. «Материальная часть стрелкового оружия», книга 1, под ред. Благонравова А.А., Оборонгиз НКАП, М., 1945, стр.399-401). Магазин содержит подающий механизм, приводимый в действие предварительно поджатой спиральной пружиной. Перед снаряжением магазина такой конструкции необходимо отделить крышку магазина и вращением барабана завести спиральную пружину.
Недостатком данного технического решения является высокая трудоемкость снаряжения магазина, так как необходимо отделять и присоединять крышку магазина. Кроме этого длительное хранение такого магазина в снаряженном состоянии приводит к «усталости» спиральной пружины, что приводит к снижению его надежности.
Из уровня техники известны магазины барабанного типа, в которых патроны размещались бы радиально в один или несколько рядов (например, магазин пулемета системы ДА – см. «Материальная часть стрелкового оружия» книга 2, под ред. Благонравова А.А. Оборонгиз НКАП, М., 1946, стр.691). Они, как правило, содержат перемещаемую под действием пружины деталь, несущую элементы для установки патронов, а также цилиндр, внешняя часть которого выполнена в форме спиралевидного направляющего канала. Способ подачи патронов при помощи спиралевидного канала имеет недостаток, заключающийся в потере скорости подачи патронов при эксплуатации магазина.
Известен модернизированный магазин барабанного типа для автоматического оружия (патент Великобритании 479908 с приоритетом от 11.08.1936 года), выбранный в качестве прототипа, в котором проблема потери скорости подачи патронов при эксплуатации магазина решена введением элемента, осуществляющего давление на патроны в магазине таким образом, чтобы патроны нижнего слоя входили в контакт с внутренней поверхностью магазина и затем вытеснялись в горловину магазина.
В данном магазине элемент, осуществляющий давление на патроны, выполнен в виде подпружиненной круглой детали, перемещающейся вдоль закрепленного в корпусе цилиндра, что позволяет уйти от использования спиралеобразного направляющего канала.
Недостатком данной конструкции является то, что при установке такого магазина на оружие снизу его эффективность неизбежно упадет, что ограничивает его надежность при использовании. Кроме этого в данной конструкции не решена проблема высокой трудоемкости снаряжения магазина и надежности его эксплуатации после длительного хранения в снаряженном патронами состоянии.
Задачей, решаемой изобретением по первому варианту, является надежное поджатие патронов к внутренней поверхности магазина с последующим их вытеснением в горловину при любом расположении магазина на оружии, а также повышение удобства снаряжения магазина.
Для этого магазин стрелкового оружия, в котором патроны расположены радиально в несколько рядов, содержащий устройство подачи патронов с подавателем, приводимое в действие с помощью пружины, и центральную ось, содержит платформу, выполненную с поверхностью, обеспечивающей спиралеобразное расположение патронов на ней, на центральной оси выполнен спиральный канал для перемещения платформы, а подаватель патронов закреплен на платформе. При этом платформа выполнена с поверхностью, обеспечивающей расположение патронов на ней с шагом, равным шагу спирального канала.
Задачей изобретения по второму варианту является повышение удобства снаряжения магазина стрелкового оружия, повышение надежности эксплуатации магазина стрелкового оружия после длительного хранения в снаряженном патронами состоянии.
Для этого магазин стрелкового оружия, содержащий устройство подачи патронов с подавателем, приводимое в действие с помощью пружины, и центральную ось, снабжен механизмом отключения устройства подачи патронов, выполненным в виде храпового механизма, оснащенного подпружиненным стопором.
Сущность изобретения поясняется чертежами, где изображены:
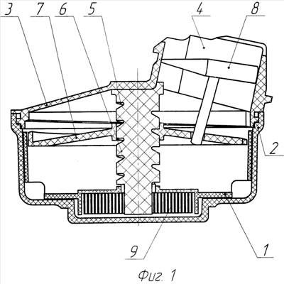
Фиг.1 – патронный магазин по варианту 1 в продольном разрезе;
Фиг.2 – патронный магазин по варианту 2 в продольном разрезе;
Фиг.3 – механизм отключения устройства подачи патронов;
фиг.4 – патронный магазин; вид сверху, крышка с горловиной не показаны.
По варианту 1 патронный магазин содержит корпус 1, установленный внутри кожуха 2, крышку 3 с горловиной 4, спиральный канал 5, выполненный на центральной оси 6, закрепленной на крышке 3, платформу 7, выполненную с поверхностью, обеспечивающей спиралеобразное расположение патронов на ней, навинченную на центральную ось 6 и взаимодействующую выступом с корпусом 1, который выполнен с возможностью вращения на центральной оси 6, подаватель 8, закрепленный на платформе 7, пружину 9. В данном конкретном случае в целях минимизации габаритов патронного магазина применена спиралевидная пружина сжатия, расположенная в специальном гнезде в нижней части корпуса 1. Наружный конец пружины 9 прикреплен к стенке корпуса 1, а внутренний – к оси 6.
Снаряжение магазина производится следующим образом.
Патроны вводятся через горловину 4 и, воздействуя на подаватель 8, закрепленный на платформе 7, поворачивают платформу 7 и корпус 1 на оси 6 и поочередно размещаются на платформе 7. При этом поверхность платформы 7 обеспечивает спиралеобразное расположение на ней патронов в несколько рядов. Одновременно с этим происходит взведение пружины 9. При полном снаряжении магазина платформа 7, двигаясь по спиральному каналу 5, входит в соприкосновение с внутренней поверхностью корпуса 1. После присоединения магазина к оружию в ходе выполнения стрельбы патроны один за другим покидают горловину 4. Под действием пружины 9 происходит вращение корпуса 1 и платформы 7. Платформа 7 перемещается по спиральному каналу 5, поджимая патроны к горловине 4. Последние патроны выдавливаются из горловины 4 подавателем патронов 8. В полезной модели может быть использована пружина любой конструкции и любого вида воспринимаемой нагрузки: пружина сжатия, пружина растяжения, пружина кручения, пружина изгиба. Для облегчения конструкции платформа 7 может быть выполнена с одной или несколькими полостями внутри, заедино, либо из составных сегментов, любой формы, позволяющей ей разместиться на центральной оси 6 внутри корпуса 1.
Использование в конструкции магазина платформы 7 с закрепленным на ней подавателем 8, выполненной с поверхностью, обеспечивающей спиралеобразное расположение патронов на ней, а также выполнение на центральной оси 6 спирального канала 5 для перемещения платформы 7 позволяет обеспечить надежное поджатие патронов к внутренней поверхности магазина с последующим их вытеснением в горловину 4 при любом расположении магазина, а также позволяет снаряжать магазин через горловину 4 без снятия крышки 3, что повышает удобство снаряжения.
По варианту 2 патронный магазин содержит корпус 1, установленный внутри кожуха 2, крышку 3 с горловиной 4, спиральный канал 5, выполненный на центральной оси 6, закрепленной на крышке 3, платформу 7, поверхность которой обеспечивает спиралеобразное размещение патронов, навинченную на центральную ось 6 и взаимодействующую с корпусом 1, который выполнен с возможностью вращения на центральной оси 6, подаватель 8, закрепленный на платформе 7, пружину 9. В данном конкретном случае в целях минимизации объема патронного магазина применена спиралевидная пружина сжатия, расположенная в специальном гнезде в нижней части корпуса 1. Наружный конец пружины 9 прикреплен к стенке корпуса 1, а внутренний – к барабану 10, размещенному с возможностью вращения в отверстии кожуха 2 и удерживаемому там опорным выступом 11. Наружная поверхность барабана 10 выполнена с ребрами 12 для удобства его вращения рукой. Магазин оснащен механизмом отключения устройства подачи патронов, выполненным в виде храпового механизма, содержащим подпружиненный стопор 13, взаимодействующий с зубчатой поверхностью 14. Стопор 13 выполнен в виде пластины. Зубчатая поверхность 14 может быть выполнена на торце центральной оси 6 или на торце втулки 15, установленной в барабане 10. В зависимости от этого стопор 13 может быть размещен соответственно во втулке 15 или в центральной оси 6. Стопор 13 связан с тягой 16, которая в зависимости от размещения стопора размещается либо внутри центральной оси 6, либо внутри втулки 15. Тяга оснащена кольцом 17. На чертеже представлен вариант исполнения, при котором зубчатая поверхность 14 выполнена на торце втулки 15, а стопор 13 размещен в центральной оси 6. При этом тяга 16 помещена внутрь центральной оси 6.
Снаряжение магазина производится следующим образом.
Перед снаряжением магазина патронами стопор 13 посредством тяги 16 выводится из сцепления с зубчатой поверхностью 14 и фиксируется в таком положении, например, патроном, вставленным в кольцо 17. При таком положении стопора 13 снаряжение магазина будет происходить без взведения пружины 9, что значительно ускорит и облегчит процесс снаряжения магазина. Дальнейшее снаряжение магазина производится аналогично варианту 1. После снаряжения магазина патронами кольцо 17 освобождается, и магазин может храниться в снаряженном состоянии нужное время. Для обеспечения работоспособности магазина вращением барабана 10 взводится пружина 9. При этом стопор 13 во взаимодействии с зубчатой поверхностью 14 обеспечивает фиксацию барабана 10 при взведенном положении пружины 9, а находящиеся в магазине патроны обеспечивают неподвижность корпуса 1 и платформы 7. После взведения пружины 9 магазин может быть присоединен к оружию для произведения стрельбы. Барабан 10 может быть выполнен с различного вида неровностями на внешней поверхности для удобства взведения пружины 9. Барабан 10 может быть заменен крышкой, установленной на корпусе 1, оснащенной отверстием для втулки 15. Взведение пружины 9 в этом случае осуществляется вращением втулки 15. В полезной модели может быть использована пружина любой конструкции и любого вида воспринимаемой нагрузки: пружина сжатия, пружина растяжения, пружина кручения, пружина изгиба.
Для облегчения конструкции платформа 7 может быть выполнена с одной или несколькими полостями внутри, заедино, либо из составных сегментов, любой формы, позволяющей ей разместиться на центральной оси 6 внутри корпуса 1.
Использование в конструкции магазина механизма отключения подачи патронов позволяет разделить процессы снаряжения магазина и взведения пружины 9. Тем самым повышается удобство снаряжения магазина, сокращается время снаряжения, обеспечивается возможность снаряжения из патронных обойм, так как оно производится без преодоления сопротивления пружины 9.
Длительное хранение снаряженного магазина не приводит к усталости пружины 9, что повышает надежность эксплуатации магазина.
Формула изобретения
1. Магазин для стрелкового оружия, в котором патроны расположены радиально в несколько рядов, содержащий устройство подачи патронов с подавателем, приводимое в действие с помощью пружины, и центральную ось, отличающийся тем, что он снабжен платформой, выполненной с поверхностью, обеспечивающей спиралеобразное расположение патронов на ней, на центральной оси выполнен спиральный канал для перемещения платформы, а подаватель патронов закреплен на платформе.
2. Магазин по п.1, отличающийся тем, что платформа выполнена с поверхностью, обеспечивающей расположение патронов на ней с шагом, равным шагу спирального канала.
3. Магазин для стрелкового оружия, в котором патроны расположены радиально в несколько рядов, содержащий устройство подачи патронов с подавателем, приводимое в действие с помощью пружины, и центральную ось, отличающийся тем, что он снабжен платформой, выполненной с поверхностью, обеспечивающей спиралеобразное расположение патронов на ней, и механизмом отключения устройства подачи патронов, выполненным в виде храпового механизма, оснащенного подпружиненным стопором, на центральной оси выполнен спиральный канал для перемещения платформы, а подаватель патронов закреплен на платформе.
РИСУНКИ
|
|