|
|
(21), (22) Заявка: 2008137351/06, 23.02.2007
(24) Дата начала отсчета срока действия патента:
23.02.2007
(30) Конвенционный приоритет:
24.02.2006 DE 102006008678.3
(46) Опубликовано: 20.06.2010
(56) Список документов, цитированных в отчете о поиске:
FR 2533656 A1, 30.03.1984. RU 2268429 C2, 20.01.2006. DE 4330149 A1, 09.03.1995. DE 10349925 A1, 02.06.2005. DE 1139707 В, 15.11.1962. ЕР 1217270 А2, 26.06.2002. ЕР 1193432 А2, 03.04.2002. ЕР 1205698 А2, 15.05.2002.
(85) Дата перевода заявки PCT на национальную фазу:
24.09.2008
(86) Заявка PCT:
DK 2007/000087 20070223
(87) Публикация PCT:
WO 2007/095952 20070830
Адрес для переписки:
191002, Санкт-Петербург, а/я 5, ООО “Ляпунов и партнеры”, пат.пов. Е.Г.Ильмер, рег. 1144
|
(72) Автор(ы):
СЕРЕНСЕН Серен Хольм (DK)
(73) Патентообладатель(и):
ДАНФОСС А/С (DK)
|
(54) КЛАПАН, В ЧАСТНОСТИ РАДИАТОРНЫЙ КЛАПАН, И ВСТАВКА ДЛЯ ТАКОГО КЛАПАНА
(57) Реферат:
Группа изобретений относится к запорной арматуре и предназначена для использования в качестве клапана, например радиаторного клапана, в системах отопления. Первый объект изобретения – клапан (1). Он содержит корпус (2) клапана, имеющий первый канал (3), второй канал (4) и проточную часть с седлом (5) клапана. Запирающий элемент (11) выполнен с возможностью возвратно-поступательного перемещения к седлу (5) и от него и расположен в корпусе (10) привода. Корпус (10) установлен на корпусе (2) клапана. Первый канал (3) сообщается с седлом (5) клапана с той стороны седла, которая обращена от запирающего элемента. В корпусе (2) клапана помещена перекрывающая проточную часть вставка (7). Вставка (7) содержит дополнительное седло (20) клапана. Дополнительное седло (20) с той своей стороны, которая обращена к запирающему элементу (11), сообщается с первой камерой (21). Первая камера (21) соединена с первым каналом (3) через седло (5). Со стороны, обращенной от запирающего элемента (11), дополнительное седло (20) сообщается со второй камерой (22). Вторая камера (22) соединена со вторым каналом (4). Второй объект изобретения – вставка (7) для клапана. Группа изобретений направлена на упрощение монтажа клапана. 2 н. и 14 з.п. ф-лы, 4 ил.
Изобретение относится к клапану, в частности к радиаторному клапану, содержащему корпус клапана, имеющий первый канал, второй канал и расположенную между ними проточную часть с седлом клапана, запирающий элемент, выполненный с возможностью перемещения к седлу клапана и в противоположном направлении и закрепленный в корпусе привода, установленном на корпусе клапана, причем первый канал сообщается с седлом клапана с той стороны седла, которая обращена от запирающего элемента. Изобретение также относится к вставке для такого клапана.
Подобный клапан известен, например, из патентного документа DE 1139707 В2. Если запирающий элемент подводится близко к седлу клапана, происходит дросселирование потока через клапан. При удалении запирающего элемента от седла клапана освобождается большее проходное сечение.
В таком клапане запирающий элемент должен обтекаться со стороны седла. Для этого на наружной стороне корпуса клапана обычно наносят стрелку, указывающую правильное направление потока среды в клапане. Тем не менее на практике клапан зачастую устанавливают таким образом, что направление проходящего через клапан потока оказывается неправильным. Это объясняется различными причинами: от недостаточной квалификации осуществляющего монтаж персонала до отсутствия информации о том, в каком направлении течет регулируемая клапаном среда, в частности вода в системе отопления старых домов.
Установка клапана в положении с неправильным направлением потока может привести к гидравлическому удару. Если запирающий элемент сильно дросселирует поток текучей среды, то есть относительно близко придвинут к седлу клапана, то при возникновении определенных соотношений между давлениями, запирающий элемент моментально прижимается к седлу. Это является причиной возникновения гидравлического удара. Помимо того что гидравлический удар проявляется акустически, он может привести к повреждениям в системе отопления, в которой установлен клапан.
Устранение такого дефекта требует сравнительно больших затрат. Для этого приходится демонтировать клапан, а затем снова устанавливать его в трубопровод таким образом, чтобы обеспечить правильное направление потока.
Задачей изобретения является обеспечение простого решения, предусматривающего возможность устранения ошибок, допущенных при монтаже клапана.
Указанная задача решается посредством размещения в корпусе клапана вышеописанного типа вставки, перекрывающей проточную часть и имеющей дополнительное седло клапана, причем та сторона дополнительного седла, которая обращена к запирающему элементу, соединена с первой камерой через седло клапана, соединенное с первым каналом, а сторона, обращенная от запирающего элемента, соединена со второй камерой, соединенной со вторым каналом.
Если обнаруживают, что корпус клапана установлен неправильно, то есть направление потока в системе отопления не совпадает с направлением потока, указанным на клапане, то достаточно лишь вынуть вставку. В этом случае запирающий элемент взаимодействует уже не с дополнительным седлом, а с основным седлом клапана в корпусе клапана. Напротив, если обнаруживают, что клапан, не содержащий вставку, смонтирован в положении с неправильным направлением потока, то достаточно установить в корпусе клапана вставку, чтобы запирающий элемент снова обтекался через седло клапана, а именно через дополнительное седло. В простейшем случае вставку помещают между запирающим элементом и седлом клапана.
Предпочтительно вставка имеет первую зону крепления, посредством которой она соединена с корпусом клапана, и вторую зону крепления, при помощи которой вставка соединена с корпусом привода, причем первая и вторая зоны выполнены комплементарными. Такая конструкция позволяет простейшим способом обеспечить возможность использования одного и того же корпуса привода как при наличии вставки, так и без нее. При использовании вставки корпус привода крепится во вставке, а вставка – в корпусе клапана. Если вставка не используется, то корпус привода может быть закреплен прямо в корпусе клапана. При использовании вставки наблюдается лишь незначительное увеличение конструктивного размера.
При этом предпочтительно, чтобы каждая из зон крепления имела винтовую резьбу. Зона крепления в виде винтовой резьбы реализуется сравнительно просто. При помощи резьбы вставка легко крепится в корпусе клапана, а корпус привода – во вставке. Для уплотнения можно использовать обычные средства. В частности, вставку можно ввинтить в корпус клапана настолько, чтобы она вместе с седлом клапана, расположенным в корпусе клапана, образовала зону уплотнения.
Предпочтительно, вставка выступает из корпуса клапана и имеет поверхность для приложения крутящего момента. Благодаря этому вставку можно захватить инструментом и ввинтить в корпус клапана с соответствующим крутящим моментом. Таким образом, несложно обеспечить герметичность конструкции.
Предпочтительно, первая камера сообщается с первым каналом посредством по меньшей мере одного аксиального канала, проходящего параллельно направлению движения запирающего элемента. Это простое решение позволяет обеспечить такой путь потока, что при прохождении через клапан поток, так сказать, меняет направление относительно запирающего элемента.
Предпочтительно, вторая камера посредством по меньшей мере одного радиального канала, сообщается с кольцевой камерой, образованной между вставкой и корпусом клапана. В этом случае радиальный канал также образует часть канала, по которому рабочая среда протекает через клапан в противоположном направлении.
Длина второй камеры в направлении движения запирающего элемента, по меньшей мере, равна диаметру второй камеры. При этом радиальный канал переходит во вторую камеру предпочтительно в позиции, наиболее удаленной от дополнительного седла клапана. В результате поток среды, обтекающий запирающий элемент через дополнительное седло клапана, имеет сильную аксиальную составляющую. Благодаря этому уменьшается вибрация запирающего элемента.
Предпочтительно, по периметру вставки, по меньшей мере, между двумя аксиальными каналами помещен по меньшей мере один радиальный канал. Другими словами, радиальные и аксиальные каналы расположены вперемежку, причем вполне возможно такое расположение, когда между каждыми двумя радиальными каналами помещают два аксиальных канала, и наоборот. Благодаря этому наличие вставки не уменьшает сечение потока, которое имеет клапан в положении максимального открытия.
Предпочтительно, вставка прилегает с торца к перегородке корпуса клапана, охватывающей седло клапана. Можно сказать, что вставка выступает в роли прилегающего к седлу клапана запирающего элемента, перекрывающего сообщение между первым и вторым каналом. В этом случае среда, протекающая через клапан, течет через вставку и поэтому запирающий элемент обтекается с соответствующей стороны, то есть через дополнительное седло клапана.
Предпочтительно, между перегородкой и вставкой расположено металлическое уплотнение. Металлическое уплотнение может выдерживать большие нагрузки, не подвергаясь при этом разрушению. Таким образом, посредством металлического уплотнения можно обеспечить надежную герметичность, в частности, если вставка ввинчивается в корпус клапана с соответствующим крутящим моментом.
Поставленная задача решается благодаря тому, что вышеописанная вставка содержит дополнительное седло клапана, которое с одной стороны соединено с первой камерой, через которую может перемещаться запирающий элемент, а с другой стороны, обращенной от первой стороны, – со второй камерой, причем первая камера соединена с торцом, обращенным от первой стороны дополнительного седла, а вторая камера – с периферийной стенкой вставки.
При помощи такой вставки можно несложным способом менять направление потока среды через корпус клапана. Для этого нужно всего лишь вынуть из корпуса клапана корпус привода, установить вставку, и затем снова установить корпус привода. В этом случае среда, протекающая через клапан, направлена так, что запирающий элемент может обтекаться с соответствующей стороны, то есть через дополнительное седло клапана. Благодаря этому обеспечивается надежное предотвращение гидравлического удара.
Предпочтительно, вставка имеет первую зону крепления, посредством которой ее соединяют с корпусом клапана, и вторую зону крепления, при помощи которой вставку соединяют с корпусом привода, причем первая и вторая зоны выполнены так, что они соответствуют друг другу. При этом, в частности, предпочтительно, чтобы каждая из зон крепления имела винтовую резьбу. Применение соответствующих друг другу зон крепления имеет несколько преимуществ. Во-первых, это позволяет компактно хранить и перевозить несколько вставок. Вставки можно вставить одна в другую посредством соединения первой зоны крепления одной вставки со второй зоной крепления другой вставки. Соединенные таким образом вставки занимают меньше места. Во-вторых, независимо от того, установлена вставка или нет, к корпусу клапана можно подсоединять один и тот же привод.
Предпочтительно, предусмотрен по меньшей мере один аксиальный канал, проходящий к первой камере с торца, который в остальной части закрыт. Выполнить аксиальный канал несложно. В данном случае он образует путь, через который может течь протекающая через вставку среда.
Также предпочтительно, чтобы вторая камера посредством по меньшей мере одного радиального канала была соединена с периферийной поверхностью вставки. Выполнить радиальный канал также несложно. В этом случае он образует путь для притока среды.
Предпочтительно, радиальный канал начинается у той стороны второй камеры, которая обращена от дополнительного седла клапана. В этом случае среда, текущая во вторую камеру через радиальный канал, проходит достаточное расстояние для того, чтобы прийти в спокойное состояние, прежде чем она достигнет запирающего элемента через дополнительное седло клапана. Благодаря этому уменьшается вибрация запирающего элемента.
Предпочтительно, по меньшей мере, между двумя аксиальными каналами, помещен по меньшей мере один радиальный канал. Таким образом, аксиальные и радиальные каналы могут чередоваться по периметру по одному или попарно.
Далее изобретение описано на основе предпочтительного примера реализации. Описание сопровождается чертежами, на которых:
на Фиг.1 показан вид клапана сбоку;
на Фиг.2 показан вид клапана сверху;
на Фиг.3 показан разрез по линии III-III, показанной на Фиг.2;
на Фиг.4 показан разрез по линии IV-IV, показанной на фиг.2.
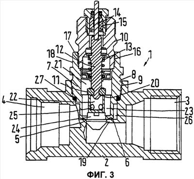
Клапан 1, представляющий собой радиаторный клапан, содержит корпус 2 клапана. Корпус 2 клапана имеет первый канал 3 и второй канал 4. Между первым каналом 3 и вторым каналом 4 помещено седло 5 клапана. К седлу 5 через промежуточное подробно не показанное металлическое уплотнение прилегает торец 6 вставки 7, ввинченной в корпус 2 клапана. Для закрепления в корпусе клапана вставка 7 имеет наружную резьбу 8, представляющую собой первую зону крепления. Эта резьба сцеплена с внутренней резьбой 9, имеющейся в корпусе 2.
Во вставку 7 ввинчен корпус 10 привода. В корпусе 10 привода имеется запирающий элемент 11, закрепленный на штоке 12 клапана, шток посредством пружины 13 нагружен в направлении от седла 5 клапана. Если необходимо, чтобы шток 12 клапана, а вместе с ним и запирающий элемент 11 двигались в противоположном направлении, то воздействуют давлением на приводной шток 14, проходящий через сальник 15. Для приведения в действие приводного штока 14 обычно предусмотрена терморегулирующая насадка, здесь она подробно не показана.
Для соединения с корпусом 10 привода вставка 7 имеет внутреннюю резьбу 16, представляющую собой вторую зону крепления, в которую ввинчена наружная резьба 17 корпуса 10 привода.
Наружная резьба 8 и внутренняя резьба 16 выполнены комплементарными, то есть обе резьбы 8,16 имеют одинаковый шаг и одинаковый диаметр.
Чтобы вставку 7 можно было ввинтить в корпус 2 клапана, вставка 7 имеет поверхность 18 для приложения крутящего момента, на которую можно воздействовать инструментом. Благодаря этому вставку 7 можно ввинтить в корпус 2 с достаточным крутящим моментом, так что торец 6 вставки 7 уплотнен седлом 5 корпуса 2 клапана. Под седлом понимается также зона расположения седла 5 клапана, то есть область перегородки 19 корпуса 2 клапана, к которой прилегает вставка 7.
Во вставке 7 образовано дополнительное седло 20 клапана, отделяющее первую камеру 21 от второй камеры 22. С дополнительным седлом 20 клапана взаимодействует запирающий элемент 11.
Первая камера 21 посредством аксиальных каналов 23, проходящих параллельно направлению движения запирающего элемента 11, соединена с выемкой 24 в торце 6 вставки 7, причем выемка 24 открыта в сторону первого канала 3. Таким образом, при помощи аксиальных каналов 23 первая камера 21 соединена с первым каналом 3.
Вторая камера 22 посредством радиальных каналов 25, оканчивающихся периферийной стенкой вставки 7, соединена с кольцевой камерой 26, образованной между вставкой 7 и корпусом 2 клапана. Кольцевая камера 26 соединена со вторым каналом 4. Радиальные каналы 25 переходят во вторую камеру 22 в позиции, наиболее удаленной от дополнительного седла 20 клапана. Аксиальная длина второй камеры 22, по меньшей мере, равна диаметру второй камеры 22. Благодаря этому можно достичь того, чтобы жидкость, поступающая во вторую камеру 22, доходила до дополнительного седла 20 клапана со сравнительно незначительной турбулентностью.
Такая конструкция клапана 1 позволяет относительно просто устранить ошибку, допущенную при монтаже клапана 1, т.е. при его установке в системе отопления в положении с неправильным направлением потока.
Клапан 1, показанный на Фиг.3 и 4, следует монтировать так, чтобы жидкость поступала через второй канал 4. Жидкость, поступающая через канал 4, попадает в кольцевую камеру 26, а оттуда через радиальные каналы 25 – во вторую камеру 22. Итак, поступающая жидкость обтекает запирающий элемент 11 через дополнительное седло 20 клапана, поэтому при таком монтажном положении можно избежать гидравлического удара. Жидкость, которая через зазор, имеющийся между запирающим элементом 11 и дополнительным седлом 20 клапана, переходит в первую камеру 21, посредством аксиальных каналов 23 и выемки 24 попадает в первый канал 3 и вытекает из него.
Для обеспечения достаточного сечения потока по периметру могут попеременно размещать аксиальный канал 23 и радиальный канал 25.
Если возникает гидравлический удар, значит, клапан 1 смонтирован в положении с неправильным направлением потока. В этом случае жидкость, поступающая через первый канал 3, через канал 25 и аксиальные каналы 23 попадает в первую камеру 21. Если запирающий элемент 11 находится сравнительно близко от дополнительного седла 20 клапана, то может возникнуть ситуация, когда запирающий элемент 11 под действием энергии течения, преодолевая силу пружины 13, моментально прижимается к дополнительному седлу 20, и в системе возникнет гидравлический удар.
В такой ситуации ошибка монтажа может быть весьма просто устранена следующим образом: из вставки 7 вывинчивают корпус 10 привода, а из корпуса 2 клапана – вставку 7. Затем в корпус 2 клапана ввинчивают корпус 10 привода. После этого запирающий элемент 11 может взаимодействовать непосредственно с седлом 5 клапана. В этом случае запирающий элемент снова обтекается с соответствующей стороны, то есть со стороны первого канала 3 через седло 5 корпуса 2 клапана.
Между вставкой 7 и корпусом 2 клапана также может быть предусмотрено кольцевое уплотнение 27, показанное схематично. Могут также использоваться дополнительные уплотнения, не показанные на чертежах по соображениям наглядности иллюстрации конструкции клапана.
Формула изобретения
1. Клапан, в частности радиаторный клапан, содержащий корпус клапана, имеющий первый канал, второй канал и расположенную между ними проточную часть с седлом клапана, запирающий элемент, выполненный с возможностью перемещения к седлу клапана и в противоположном направлении и закрепленный в корпусе привода, установленном на корпусе клапана, причем первый канал сообщается с седлом клапана с той стороны седла, которая обращена от запирающего элемента, отличающийся тем, что в корпус (2) клапана помещена перекрывающая проточную часть вставка (7), содержащая дополнительное седло (20) клапана, причем с той своей стороны, которая обращена к запирающему элементу (11), дополнительное седло сообщается с первой камерой (21), соединенной с первым каналом (3) через седло (5) клапана, а со стороны, обращенной от запирающего элемента (11), дополнительное седло сообщается со второй камерой (22), соединенной со вторым каналом (4).
2. Клапан по п.1, отличающийся тем, что указанная вставка (7) имеет первую зону (8) крепления, предусматривающую возможность соединения вставки с корпусом (2) клапана, и вторую зону (16) крепления, предусматривающую возможность соединения вставки с корпусом (10) привода, причем первая зона (8) крепления и вторая зона (16) крепления выполнены комплементарными.
3. Клапан по п.2, отличающийся тем, что каждая из зон (8, 16) крепления имеет винтовую резьбу.
4. Клапан по любому из пп.1-3, отличающийся тем, что вставка (7) выступает из корпуса (2) клапана и имеет поверхность (18), к которой можно приложить крутящий момент.
5. Клапан по любому из пп.1-3, отличающийся тем, что первая камера (21) сообщается с первым каналом (3) посредством по меньшей мере одного аксиального канала (23), проходящего параллельно направлению движения запирающего элемента (11).
6. Клапан по любому из пп.1-3, отличающийся тем, что вторая камера (22) сообщается с кольцевой камерой (26), образованной между вставкой (7) и корпусом (2) клапана, посредством по меньшей мере одного радиального канала (25).
7. Клапан по любому из пп.1-3, отличающийся тем, что длина второй камеры (22), измеряемая в направлении движения запирающего элемента, (11) не меньше диаметра второй камеры (22).
8. Клапан по п.6, отличающийся тем, что по периметру вставки (7) между, по меньшей мере, двумя аксиальными каналами (23) расположен по меньшей мере один радиальный канал (25).
9. Клапан по любому из пп.1-3 и 8, отличающийся тем, что с торца вставка (7) прилегает к перегородке (19) корпуса (2) клапана, охватывающей седло (5) клапана.
10. Клапан по п.9, отличающийся тем, что между перегородкой (19) и вставкой (7) расположено металлическое уплотнение.
11. Вставка для клапана, в частности для радиаторного клапана, содержащего корпус клапана, имеющий первый канал, второй канал и проточную часть с седлом клапана, запирающий элемент, выполненный с возможностью перемещения к седлу клапана и в противоположном направлении и закрепленный в корпусе привода, установленном на корпусе клапана, причем первый канал сообщается с седлом с той стороны седла, которая обращена в направлении от запирающего элемента, отличающаяся тем, что она содержит дополнительное седло (20) клапана, которое с первой своей стороны сообщается с первой камерой (21), через которую перемещается запирающий элемент (11), а со второй стороны, обращенной от первой стороны, сообщается со второй камерой (22), причем первая камера (21) соединена с торцом (6), обращенным от первой стороны дополнительного седла (20), а вторая камера (22) соединена с периферийной стенкой вставки (7).
12. Вставка по п.11, отличающаяся тем, что она содержит первую зону (8) крепления, предусматривающую возможность соединения вставки с корпусом (2) клапана и вторую зону (16) крепления, предусматривающую возможность соединения вставки с корпусом (10) привода, причем первая зона (8) крепления и вторая зона (16) крепления выполнены комплементарными.
13. Вставка по п.11 или 12, отличающаяся тем, что в ней предусмотрен по меньшей мере один аксиальный канал (23), выходящий из первой камеры (21) на торец (6), который в остальной части закрыт.
14. Вставка по п.11 или 12, отличающаяся тем, что вторая камера (22) посредством по меньшей мере одного радиального канала (25) соединена с периферийной поверхностью вставки (7).
15. Вставка по п.14, отличающаяся тем, что начало радиального канала (25) расположено у того конца второй камеры (22), которая обращена от дополнительного седла (20) клапана.
16. Вставка по п.14, отличающаяся тем, что между двумя аксиальными каналами (23) расположен по меньшей мере один радиальный канал (25).
РИСУНКИ
|
|