|
|
(21), (22) Заявка: 2007144086/11, 28.04.2006
(24) Дата начала отсчета срока действия патента:
28.04.2006
(30) Конвенционный приоритет:
28.04.2005 AT GM2005/0277
(43) Дата публикации заявки: 10.06.2009
(46) Опубликовано: 20.06.2010
(56) Список документов, цитированных в отчете о поиске:
ЕР 0548853 А1, 30.06.1993. RU 2192972 С2, 20.11.2002. SU 1430302 А1, 15.10.1988. SU 350684 А1, 13.09.1972.
(85) Дата перевода заявки PCT на национальную фазу:
28.11.2007
(86) Заявка PCT:
EP 2006/004018 20060428
(87) Публикация PCT:
WO 2006/114331 20061102
Адрес для переписки:
129090, Москва, ул. Б.Спасская, 25, стр.3, ООО “Юридическая фирма Городисский и Партнеры”, пат.пов. С.А.Дорофееву, рег. 146
|
(72) Автор(ы):
ЗАКЛ Вальтер (AT), РАМ Манфред (AT), ШРАНЦ Юрген (AT)
(73) Патентообладатель(и):
МАГНА ПАУЭРТРЕЙН АГ УНД КО. КГ (AT)
|
(54) БЛОК ДИФФЕРЕНЦИАЛА С АКТИВНЫМ УПРАВЛЕНИЕМ РАСПРЕДЕЛЕНИЯ МОМЕНТОВ
(57) Реферат:
Изобретение относится к дифференциалам с активным управлением распределения моментов. Блок дифференциала состоит из дифференциала (4) с двумя выходными валами (6, 7), коробка которого образует входное звено и управляемой фрикционной муфты (22, 26). Первичная часть (22) муфты активно связана с входным звеном (5), а вторичная часть (26) муфты сопряжена с выходным валом (6, 7). Одно из приводных соединений имеет повышающее или понижающее передаточное отношение. Средняя ось (13) муфты (22, 26) смещена относительно средней оси (12) сопряженного выходного вала (6, 7). Окружающая сопряженный выходной вал (6, 7) вторичная часть (26) муфты имеет зубчатый венец (30) с внутренним зацеплением, который сцепляется с зубчатым колесом (31), установленным на выходном валу. Достигается упрощение конструкции. 8 з.п. ф-лы, 8 ил.
Изобретение относится к блоку дифференциала с активным управлением распределения моментов, состоящему из дифференциала с двумя выходными валами, коробка которого образует входное звено, и сопряженной с соответствующим выходным валом управляемой фрикционной муфты, причем первичная часть муфты активно соединена со входным звеном, а вторичная часть муфты – с сопряженным выходным валом, и по меньшей мере одно из активных соединений имеет повышающее или соответственно понижающее передаточное отношение.
Обычный дифференциал уравновешивает различия частот вращения между обоими выходными валами, причем распределение крутящих моментов получается из геометрии, в частности из чисел зубьев зубчатых колес в дифференциальном механизме. Блок дифференциала с активной вариацией распределения крутящего момента, сверх того, делает возможным целенаправленное влияние на распределение крутящего момента. Таким образом, например, при применении в качестве осевого дифференциала может подводиться дополнительная приводная сила к быстрее вращающемуся на повороте внешнему колесу. При этом воздействуют на динамику транспортного средства. Поэтому говорят также о “векторизации крутящего момента”.
Такие блоки дифференциала могут быть расположены как осевой дифференциал (между колесами одного моста), так и как промежуточный осевой дифференциал (между двумя ведомыми мостами). Выполнение в виде осевого дифференциала известно из DE 3900638 C2. Там муфты расположены на промежуточном валу, который приведен в действие от входного звена через первое приводное соединение. От обеих муфт второе приводное соединение ведет соответственно к полуосям. Для приводного соединения служат зубчатые колеса, которые производят в целом небольшое повышающее передаточное отношение, вследствие чего при более или менее закрытой муфте к соответствующей полуоси подводится дополнительный крутящий момент. Небольшое повышающее передаточное отношение обуславливает приблизительно одинаковые по размеру зубчатые колеса, из-за чего в первом приводном соединении они должны быть рассчитаны на очень высокий крутящий момент. Вследствие этого, а также из-за параллельно расположенного на некотором расстоянии промежуточного вала, этот блок дифференциала становится тяжелым и громоздким. Таким образом он значительно повышает вес автомобиля и не может быть размещен в ограниченном расчетном объеме в области моста.
Таким образом задачей изобретения является – выполнить блок дифференциала так, чтобы он был выполнен облегченным и занимал небольшой объем. Согласно изобретению, этого достигают посредством отличительных признаков пункта 1 формулы изобретения.
Окружающие сопряженный выходной вал муфты хотя и имеют больший сопряженный диаметр, так как они расположены приблизительно соосно с большим колесом, однако, корпус вследствие этого почти увеличивается. Кроме того, поверхность трения фрикционного диска растет квадратично радиусу, так что обходятся меньшим количеством дисков. Незначительный сдвиг их средней оси относительно средней оси сопряженного выходного вала не наносит ему никакого вреда. Наоборот это позволяет использование зубчатых колес с внутренним зацеплением, которые за счет достигаемого при этом высокого коэффициента перекрытия (одновременно много зубцов находятся в зацеплении) можно рассчитывать значительно меньшими по размерам и, кроме того, они лучше подходят для передаточных отношений, только немного отличающихся от отношения один к одному. В целом они нуждаются в намного меньшем конструктивном объеме, так как одно зубчатое колесо находится в пределах другого. Вследствие этого может оставаться маленьким также внутренний диаметр вторичной части муфты, окружающей сопряженный выходной вал.
Поскольку (второе) приводное соединение имеется между муфтой и полуосью, то для первого приводного соединения, которое расположено между входным звеном и муфтой, имеются в рамках изобретения различные возможности. Для всех них является общим, что они также должны позволять тот же осевой сдвиг.
В первом варианте это приводное соединение произведено посредством связанного с первичной частью муфты колеса с внутренними зубьями и находящегося с колесом с внутренними зубьями зубчатого колеса с внешним зацеплением, связанного с входным звеном (пункт 2 формулы изобретения). Во втором варианте это приводное соединение произведено посредством связанного с первичной частью муфты зубчатого колеса с внешним зацеплением и связанным со входным звеном колесом с внутренними зубьями, которое сцепляется с зубчатым колесом с внешним зацеплением (пункт 3 формулы изобретения). В обоих вариантах полностью используются преимущества внутреннего зацепления. Какой из обоих вариантов является предпочтительным, зависит от желаемого передаточного отношения и от заданных конструктивных параметров.
В особенно выгодном выполнении вторичная часть муфты установлена в корпусе блока дифференциала, а первичная часть центрирована на вторичной части (пункт 4 формулы изобретения). Это экономит пространство и дает благоприятные условия монтажа и короткие цепи допусков.
В третьем варианте первое приводное соединение, которое имеется между входным звеном и первичной частью муфты, произведено посредством синхронной муфты со смещенными осями (пункт 5 формулы изобретения). Такая муфта, хотя и не позволяет никакого отклоняющегося от отношения один к одному передаточного отношения, но оно может производиться во втором приводном соединении, которое имеет, во всяком случае, внутреннее зацепление. Преимущественно, синхронная муфта со смещенными осями состоит из двух дисков со смещенными осями и по меньшей мере трех соединяющих эти диски на равных радиусах накладок, причем первый диск без возможности проворота связан со входным звеном, а второй диск – с первичной частью муфты (пункт 6 формулы изобретения). Это имеет то преимущество, что силы реакции взаимно уничтожаются, так что вследствие этого меньше нагружаются подшипники вращающихся частей.
В другом варианте синхронная муфта со смещенными осями состоит из двух дисков со смещенными осями, которые взаимодействуют через промежуточный диск в виде муфты Ольдгема (пункт 7 формулы изобретения).
Преимущественно упомянутая вторичная часть муфты является внутренней частью муфты. Для всех упомянутых вариантов также возможно альтернативно к этому, чтобы вторичная часть муфты являлась ее наружной частью, в частности, если должно реализоваться понижающее передаточное число.
В дальнейшем изобретение описывается и разъясняется при помощи чертежей, на которых представлено:
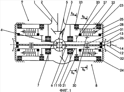
Фиг.1: соответствующий изобретению блок дифференциала в первом варианте, схематично,
Фиг.2: поперечные сечения согласно IIa и IIb на фиг.1,
Фиг.3: соответствующий изобретению блок дифференциала во втором варианте, схематично,
Фиг.4: соответствующий изобретению блок дифференциала в третьем варианте,
Фиг.5: поперечные сечения согласно V на фиг.4,
Фиг.6: практическое выполнение второго варианта в продольном разрезе,
Фиг.7: поперечное сечение согласно VII на фиг.6,
Фиг.8: модификация первого варианта согласно фиг.1.
На фиг.1 обозначен корпус блока дифференциала и указан цифрой 1. Здесь это осевой дифференциал автомобиля с проходящей в продольном направлении трансмиссией, которая кончается в корпусе 1 ведущей шестерней 2, которая сцепляется с ведомым коническим зубчатым колесом 3. В транспортном средстве с установленным поперек двигателем или если в случае блока дифференциала речь идет о межосевом дифференциале, то вместо ведущей шестерни 2 и ведомого конического зубчатого колеса 3 была бы ступень из цилиндрических зубчатых колес.
Ведомое коническое зубчатое колесо 3 окружает дифференциал 4 и без возможности проворота связано с его коробкой 5 дифференциала. Она образует входное звено блока дифференциала. На обоих противоположных сторонах корпуса 1 здесь предусмотрены правая полуось 6 и левая полуось 7. Весь блок дифференциала делится таким образом на дифференциал 4 и на два блока 8, 9 наложения моментов, на каждой стороне один. Они (8, 9) зеркально одинаковы, поэтому в дальнейшем описывается только одна сторона.
Коробка 5 дифференциала переходит в полый вал 10, который установлен посредством подшипника 11 в корпусе 1 и концентричен с полуосью 6 и соответственно ее средней линией 12. Он несет первое зубчатое колесо 20, которое сцепляется с первым колесом 21 с внутренними зубьями. Первое колесо 21 жестко связано здесь с первичной частью 22 муфты и вращается с нею вокруг оси 13, которая смещена по отношению к средней линии 12 на величину 14. Первичная часть 22 муфты является здесь ее наружной частью и установлена посредством подшипников 23 в корпусе 1. Вторичная часть 26 муфты – это внутренняя часть, между ней и первичной частью 22 муфты находится пакет 24 фрикционных дисков, который состоит из чередующихся друг с другом внешних дисков и внутренних дисков с кольцевым контуром. Вторичная часть 26 муфты установлена с возможностью вращения посредством подшипника 27 во внешней части 22 муфты, а посредством подшипника 28 – в корпусе. Для приведения муфты в действие предусмотрена нажимная пластина 25.
Внутри вторичной части 26 муфты закреплено второе колесо 30 с внутренними зубьями. Оно сцепляется со вторым зубчатым колесом 31, которое без возможности проворота связано с правой полуосью 6 и ось которого лежит таким образом снова на средней линии 12. Полуось 6 выступает из корпуса 1 и образует там фланец 32 (см. фиг.6), который производит приводное соединение с колесом.
На фиг.2 схематически представлены зацепления обоих приводных соединений в поперечном сечении. Вращающееся вокруг оси 12 первое зубчатое колесо 20 сцепляется с вращающимся вокруг оси 13 колесом 21 с внутренними зубьями, а второе колесо 30 – с внутренними зубьями, котороя вращается вокруг оси 13, сцепляется со вторым зубчатым колесом 31, которое вращается снова вокруг оси 12. Таким образом, посредством наружных размеров только одного единственного зубчатого колеса являются легко достижимыми передаточные числа, приближающиеся к отношению 1:1. Для таких передаточных чисел были бы необходимы наружно зацепленные зубчатые колеса приблизительно такой же величины и требовали бы вдвое больше конструктивного объема в плоскости поперек к их оси.
Вариант на фиг.3 отличается от формы из фиг.1 только конструктивным выполнением первого приводного соединения. Здесь связанный без возможности проворота с коробкой 5 дифференциала полый вал 10 вместо зубчатого колеса с внешним зацеплением несет первое колесо 40 с внутренними зубьями, которое сцепляется с первым зубчатым колесом 41. Следовательно, первое колесо 40 вращается вокруг первой оси 12, а первое зубчатое колесо 41 – вокруг смещенной от нее на величину 14 второй оси 13. Второе приводное соединение между вторым колесом 30 с внутренними зубьями и вторым зубчатым колесом 31 не изменено.
Вариант на фиг.4 отличается от варианта на фиг.1 снова только в первом приводом соединении между полым валом 10 и первичной частью 22 муфты. На полом валу 10 закреплен первый диск 50, а на первичной части 22 муфты – второй диск 51. Оба диска имеют таким образом снова смещенные на величину 14 друг относительно друга оси вращения. Для синхронной передачи вращательного движения предусмотрены три накладки 52, один конец которых может поворачиваться вокруг поворотной цапфы 53 во втором диске, а их другой конец – вокруг поворотной цапфы 54 в первом диске 50. Кинематические отношения можно лучше понять из фиг.5.
Фиг.6 и 7 показывают предпочтительное выполнение варианта на фиг.3. Он в значительной мере соответствует описанию фиг.1 и 2, поэтому использованы такие же обозначения. Он отличается только в конструкции подшипников вращающихся частей. Так, вал 6 колеса посредством подшипника 33 установлен в корпусе 1 и таким образом центрирован по отношению к нему. Между связанным с ним без возможности проворота вторым зубчатым колесом 31 и диском 35 первого колеса 40 с внутренними зубьями определен игольчатый подшипник 34 для центрирования полого вала и жестко связанного с ним первого колеса 40 по отношению ко второму зубчатому колесу 31. Второе колесо 30 с внутренними зубьями с осью вращения 13 установлено посредством подшипников 28 в корпусе 1 и центрировано со своей стороны посредством игольчатого подшипника 27 к первичной части 22 муфты. На них действует с одной стороны гидравлический кольцевой поршень 36 через игольчатый подшипник 37 на нажимную пластину 25, причем контропора 38 принимает произведенное от кольцевого поршня 36 усилие.
Фиг.8 показывает вариант блока дифференциала согласно фиг.1 (только правую сторону с полуосью 6 и блоком 8 наложения моментов). Также здесь первое колесо 21 с внутренними зубьями, которое сцепляется с первым зубчатым колесом 20 полого вала 10, жестко связано с первичной частью 22 муфты. Первое колесо 21 с внутренними зубьями вращается с муфтой вокруг оси 13, которая смещена по отношению к средней линии 12. На вторичной части 26 муфты закреплено второе колесо 30 с внутренними зубьями. Она сцепляется со вторым зубчатым колесом 31, которое без возможности проворота связано с полуосью 6 и ось которого лежит таким образом снова на средней линии 12. Первое колесо 21 (с первичной частью 22 муфты) установлено с возможностью вращения посредством подшипника 60 на втором колесе 30 (с вторичной частью 26 муфты), которое, в свою очередь, установлено посредством подшипника 28 в корпусе 1 с возможностью вращения.
В отличие от описанных выше вариантов, в варианте согласно фиг.8 первичная часть 22 муфты является ее внутренней частью, а вторичная часть 26 муфты – это ее внешняя часть.
Ко всем упомянутым в связи с изобретением вариантам еще нужно отметить, наконец, что вместо сферического дифференциала также может использоваться цилиндрический дифференциал, с расположением обеих муфт и блоков наложения моментов асимметрично на одной стороне дифференциала, причем коробка (корпус) дифференциала образует входное звено.
Формула изобретения
1. Блок дифференциала с активным управлением распределения моментов, состоящий: из дифференциала (4) с двумя выходными валами (6, 7), коробка (5) которого образует входное звено, из сопряженной с соответствующим выходным валом управляемой фрикционной муфты (22, 26), причем первичная часть (22) муфты активно связана с входным звеном (5), а вторичная часть (26) муфты – с сопряженным выходным валом (6, 7) и, по меньшей мере, одно из приводных соединений имеет повышающее или соответственно понижающее передаточное отношение, отличающийся тем, что муфта (22, 26) окружает сопряженный выходной вал (6, 7) и ее средняя ось (13) смещена относительно средней оси (12) сопряженного выходного вала (6, 7), и что окружающая сопряженный выходной вал (6, 7) вторичная часть (26) муфты имеет зубчатый венец (30) с внутренним зацеплением, который сцепляется с зубчатым колесом (31) с внешним зацеплением на сопряженном выходном валу.
2. Блок дифференциала по п.1, отличающийся тем, что приводное соединение между входным звеном (5) и первичной частью (22) муфты произведено посредством связанного с ней первого колеса (21) с внутренними зубьями и связанного с входным звеном (5) и сцепляющегося с колесом (21) с внутренними зубьями первого зубчатого колеса (20) с внешним зацеплением.
3. Блок дифференциала по п.1, отличающийся тем, что приводное соединение между входным звеном (5) и первичной части (22) муфты произведено посредством связанного с ней первого зубчатого колеса (41) с внешним зацеплением и связанного с входным звеном (5) первого колеса (40) с внутренними зубьями, которое сцепляется с зубчатым колесом (41) с внешним зацеплением.
4. Блок дифференциала по п.3, отличающийся тем, что вторичная часть (26) муфты установлена в корпусе (1) блока дифференциала, а первичная часть (22) центрирована на вторичной части (26).
5. Блок дифференциала по п.1, отличающийся тем, что приводное соединение между входным звеном (5) и первичной частью (22) муфты произведено через синхронную муфту (50-54) со смещенными осями.
6. Блок дифференциала по п.5, отличающийся тем, что синхронная муфта (50-54) со смещенными осями состоит из двух дисков (50, 51) со смещенными осями и, по меньшей мере, трех соединяющих эти диски на равных радиусах накладок (52), причем первый диск (50) без возможности проворота связан со входным звеном (5), а второй диск (51) – с первичной частью (22) муфты.
7. Блок дифференциала по п.5, отличающийся тем, что синхронная муфта (50-54) со смещенными осями состоит из двух дисков со смещенными осями, которые взаимодействуют по типу муфты Ольдгема.
8. Блок дифференциала по любому из пп.1-7, отличающийся тем, что вторичная часть (26) муфты является ее внутренней частью.
9. Блок дифференциала по любому из пп.1-7, отличающийся тем, что вторичная часть (26) муфты является ее внешней частью.
РИСУНКИ
|
|