|
| На основании пункта 1 статьи 1366 части четвертой Гражданского кодекса Российской Федерации патентообладатель обязуется заключить договор об отчуждении патента на условиях, соответствующих установившейся практике, с любым гражданином Российской Федерации или российским юридическим лицом, кто первым изъявил такое желание и уведомил об этом патентообладателя и федеральный орган исполнительной власти по интеллектуальной собственности. |
|
(21), (22) Заявка: 2009106526/11, 24.02.2009
(24) Дата начала отсчета срока действия патента:
24.02.2009
(46) Опубликовано: 20.06.2010
(56) Список документов, цитированных в отчете о поиске:
RU 2336449 C1, 20.10.2008. SU 1585577 A1, 15.08.1990. EP 0155497 A1, 25.09.1985.
Адрес для переписки:
445028, Самарская обл., г. Тольятти, Московский пр-кт, 63, кв.66, В.А. Мухину
|
(72) Автор(ы):
Мухин Валерий Александрович (RU)
(73) Патентообладатель(и):
Мухин Валерий Александрович (RU)
|
(54) РЕДУКТОР ОРБИТАЛЬНЫЙ (ВАРИАНТЫ)
(57) Реферат:
Изобретение относится к машиностроению, в частности к редуктору орбитальному. Редуктор орбитальный содержит корпус, быстроходный (5) и тихоходный (6) валы, диск (7), связанный с тихоходным валом (6), и невращающийся диск (15). Группа роликов (19) установлена в отверстиях диска (7), равномерно расположенных по окружности с центром на оси (4). Вторая группа роликов (20) размещена в отверстиях невращающегося диска (15). Третья группа роликов (19) установлена в венце (16), который скреплен с диском (7). Невращающийся диск (15) посажен на эксцентрик (8), а его ролики (20) зацеплены с роликами (19). Во втором варианте в невращающемся диске выполнены дополнительные отверстия, и в них вставлены ролики четвертой группы, которые зацеплены с роликами, установленными в отверстиях венца. Изобретение позволяет повысить надежность и КПД редуктора за счет применения трения качения. 2 н. и 4 з.п. ф-лы, 5 ил.
Изобретение относится к машиностроению, в частности к редуктору орбитальному, и может быть использовано для замены применяемых в промышленности большого количества разных типов редукторов с передаточными отношениями от 5:1 до 40:1.
Наиболее близким к изобретению по технической сущности является редуктор орбитальный, содержащий входной вал с соосным ведущим кривошипом, установленным в корпусе с возможностью вращения и выполненным в виде стакана с внутренним отверстием; палец, установленный во внутреннем отверстии кривошипа и связанный с невращающимся ведущим колесом, которое находится в зацеплении с ведомым колесом, соосно соединенным с выходным валом, при этом ведущее колесо имеет возможность орбитального движения вокруг оси, совпадающей с осью ведущего и ведомого валов; ось кривошипа не пересекается с осью внутреннего отверстия кривошипа, а ведущее колесо снабжено штифтами, каждый из которых своим вторым концом входит в отверстие, выполненное с эксцентриситетом в соответствующей шайбе, установленной с возможностью вращения в корпусе, причем величина эксцентриситета равна расстоянию между центрами ведущего и ведомого колес (RU 2229046 C1, F16H 13/02, 21/48).
Основным недостатком указанного редуктора является использование в зацеплении зубчатых колес, для изготовления которых требуются специальные станки и к ним специнструмент.
Задачей настоящего изобретения является упрощение конструкции редуктора, повышение КПД и надежности его работы.
Поставленная задача решается тем, что в редукторе орбитальном, содержащем соосно установленные в корпусе быстроходный и тихоходный валы, диск, связанный с тихоходным валом, невращающийся диск, установленный на шейке эксцентрика быстроходного вала, относительно оси которого ось шейки эксцентрика параллельно смещена, две группы роликов, зацепленных между собой, одна из которых размещена в отверстиях диска, связанного с тихоходным валом, равномерно расположенных по окружности с центром на оси последнего, а другая группа роликов установлена в соответствующих отверстиях невращающегося диска, при этом на диске тихоходного вала закреплен венец, в котором выполнены отверстия, попарно соосные отверстиям диска тихоходного вала, согласно изобретению в отверстия венца вставлены ролики третьей группы, которые зацеплены с выступающими концами роликов, установленных в невращающемся диске.
Поставленная задача решается также тем, что делительные окружности зацепленных роликов – не касательные.
Поставленная задача решается также тем, что разность количества роликов у венца и невращающегося диска равна двум единицам.
Поставленная задача решается также тем, что ролики, размещенные в невращающемся диске и зацепленные с роликами венца и диска тихоходного вала, установлены в подшипниках качения.
Поставленная задача решается также тем, что в редукторе орбитальном, содержащем соосно установленные в корпусе быстроходный и тихоходный валы, диск, связанный с тихоходным валом, невращающийся диск, установленный на шейке эксцентрика быстроходного вала, относительного оси которого ось шейки эксцентрика параллельно смещена, две группы роликов, зацепленных между собой, одна из которых размещена в отверстиях диска, связанного с тихоходным валом, равномерно расположенных по окружности с центром на оси последнего, а вторая группа роликов установлена в соответствующих отверстиях невращающегося диска, при этом на диске тихоходного вала закреплен венец, в котором выполнены отверстия для роликов третьей группы, согласно изобретению в невращающемся диске выполнены дополнительные отверстия, расположенные между роликами второй группы на одной с ними окружности, в которые вставлены ролики четвертой группы и зацеплены с роликами, установленными в отверстиях венца.
Поставленная задача решается также тем, что ролики, установленные в невращающемся диске, выполнены двухступенчатыми и вставлены в его отверстия ступенями меньшего диаметра.
Сущность изобретения поясняется чертежами.
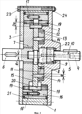
На фиг.1 изображен редуктор орбитальный в разрезе.
На фиг.2 изображен вариант (фрагмент) редуктора с системой смазки.
На фиг.3 изображен вариант невращающегося диска редуктора.
На фиг.4 и 5 изображены варианты выполнения того же диска (на фиг.5 изображение не в масштабе).
В корпусе, состоящем из кольца 1 и двух боковых крышек 2 и 3, соосно оси 4 установлены быстроходный вал 5 и тихоходный вал 6. Последний связан (скреплен) с диском 7. Эксцентрик 8 закреплен на быстроходном валу 5 штифтами 9 и винтом 10. В боковой крышке 2 выполнены отверстия 11, в которых установлены игольчатые роликоподшипники 12, а внутри них – шайбы 13. Штифты 14 вставлены в отверстия невращающегося диска 15, а вторым своим концом каждый штифт 14 вставлен в отверстие 13, которое выполнено с эксцентриситетом e относительно оси вращения шайбы. Величина указанного эксцентриситета равна расстоянию e1 от оси 4 редуктора до оси эксцентрика 8. На диске 7 тихоходного вала 6 закреплен венец 16 посредством штифтов 17 и винтов 18. В венце и диске выполнены отверстия, попарно соосные, равномерно расположенные по окружности с центром на оси 4. В указанные отверстия вставлены ролики 19, которые зацеплены с роликами 20, установленными в отверстиях невращающегося диска 15. Радиальный подшипник редуктора состоит из кольца 1, диска 7, венца 16 и игольчатых роликов 21. Из антифрикционных материалов изготовлены эксцентрик 8 и кольцо 22. Редуктор стянут (скреплен) вдоль его оси 4 болтами 23 и гайками 24. В боковой крышке 25 (фиг.2) выполнена полость 26 для масла, сообщающаяся с резьбовым отверстием 27, которое закрыто пробкой 28. Манжета 29 предотвращает утечку масла. Штифты 14 вторым концом установлены в игольчатом роликоподшипнике 30.
Невращающийся диск может быть выполнен из двух половин 31 (фиг.3). Внутри каждой из них расточены отверстия, в которых установлены шарикоподшипник 32 и игольчатые подшипники 30. Данный диск посажен на шейку эксцентрика 8, а ролики 20 вставлены в подшипники 30. Вследствие этого в редукторе трение скольжения заменено на трение качения, что приводит к уменьшению работы трения приблизительно в 30 раз. Выступающие с двух сторон концы 33 роликов 20 зацеплены с роликами 19 диска и венца тихоходного вала.
В ответственных конструкциях редукторов, в которых передают большие крутящие моменты, невращающийся диск 34 (фиг.4) выполняют увеличенным по ширине, а ролики 20 устанавливают каждый на двух подшипниках 35.
Передаточное отношение i для редукторов с невращающимся диском подсчитывают по формуле
;
где
Z1 – количество роликов у диска тихоходного вала;
Z2 – количество роликов у невращающегося диска.
Если принять Z1-Z2=2, то

Для редуктора с наименьшим передаточным отношением, например 6:1, Z1 должно быть равным 12, a Z2=10. Чтобы такой редуктор работал без вибраций в невращающемся диске 36 (фиг.5), ролики делают двухступенчатыми и размещают следующим образом: ступень 37 выступает с одной стороны диска 36, а ступень 38 выступает с другой стороны. Ступень 39 меньшего диаметра ролика установлена в отверстие диска 36. В венце и диске тихоходного вала отверстия для роликов располагают не попарно соосно, а в шахматном порядке. Создается эффект удвоения роликов в одном ряду, что приводит к более плавной и бесшумной работе редуктора.
Технический результат заключается в упрощении конструкции редуктора за счет неприменения зубчатых колес, в повышении КПД за счет использования трения качения, в более надежной работе редуктора.
Формула изобретения
1. Редуктор орбитальный, содержащий соосно установленные в корпусе быстроходный и тихоходный валы, диск, связанный с тихоходным валом, невращающийся диск, установленный на шейке эксцентрика быстроходного вала, относительно оси которого ось шейки эксцентрика параллельно смещена, две группы роликов, зацепленных между собой, одна из которых размещена в отверстиях диска, связанного с тихоходным валом, равномерно расположенных по окружности с центром на оси последнего, а другая группа роликов установлена в соответствующих отверстиях невращающегося диска, при этом на диске тихоходного вала закреплен венец, в котором выполнены отверстия попарно соосные отверстиям диска тихоходного вала, отличающийся тем, что в отверстия венца вставлены ролики третьей группы, которые зацеплены с выступающими концами роликов, установленных в невращающемся диске.
2. Редуктор по п.1, отличающийся тем, что делительные окружности зацепленных роликов – не касательные.
3. Редуктор по п.1 или 2, отличающийся тем, что разность количества роликов у венца и невращающегося диска равна двум единицам.
4. Редуктор по п.1, отличающийся тем, что ролики, размещенные в невращающемся диске и зацепленные с роликами венца и диска тихоходного вала, установлены в подшипниках качения.
5. Редуктор орбитальный, содержащий соосно установленные в корпусе быстроходный и тихоходный валы, диск, связанный с тихоходным валом, невращающийся диск, установленный на шейке эксцентрика быстроходного вала, относительно оси которого ось шейки эксцентрика параллельно смещена, две группы роликов, зацепленных между собой, одна из которых размещена в отверстиях диска, связанного с тихоходным валом, равномерно расположенных по окружности с центром на оси последнего, а вторая группа роликов установлена в соответствующих отверстиях невращающегося диска, при этом на диске тихоходного вала закреплен венец, в котором выполнены отверстия для роликов третьей группы, отличающийся тем, что в невращающемся диске выполнены дополнительные отверстия, расположенные между роликами второй группы на одной с ними окружности, в которые вставлены ролики четвертой группы и зацеплены с роликами, установленными в отверстиях венца.
6. Редуктор по п.5, отличающийся тем, что ролики, установленные в невращающемся диске, выполнены двухступенчатыми и вставлены в его отверстия ступенями меньшего диаметра.
РИСУНКИ
|
|