|
|
(21), (22) Заявка: 2009103349/11, 02.02.2009
(24) Дата начала отсчета срока действия патента:
02.02.2009
(46) Опубликовано: 20.06.2010
(56) Список документов, цитированных в отчете о поиске:
RU 2303717 C1, 27.07.2007. GB 1296520 A, 15.11.1972. Иосилевич Г.Б., Шарловский Ю.В. Затяжка и стопорение резьбовых соединений. – М.: Машиностроение, 1971, с.90. RU 2354861 C1, 10.05.2009.
Адрес для переписки:
302020, г.Орел, Наугорское ш., 29, Орловский государственный технический университет (ОрелГТУ)
|
(72) Автор(ы):
Земляков Николай Васильевич (RU)
(73) Патентообладатель(и):
Государственное образовательное учреждение высшего профессионального образования “Орловский государственный технический университет” (ОрелГТУ) (RU)
|
(54) СПОСОБ ЗЕМЛЯКОВА Н.В. СТОПОРЕНИЯ ГАЙКИ ОТНОСИТЕЛЬНО РЕЗЬБОВОГО СТЕРЖНЯ
(57) Реферат:
Изобретение относится к области машиностроения и может быть использовано для стопорения резьбовых соединений, работающих в условиях сильной и долговременной вибрации. Способ стопорения гайки относительно резьбового стержня включает размещение на резьбовом стержне поверх детали обычной шайбы и затем пружинной шайбы с последующим навинчиванием крепежной гайки до полного сжатия разрезных концов пружинной шайбы. После этого поверх граней гайки, пружинной шайбы и выступающего конца резьбового стержня размещают колпачок или трубку из термоусадочного материала, прогревают термоусадочный материал до полного охвата всех граней гайки, боковой поверхности пружинной шайбы и выступающего резьбового конца стержня с обеспечением приплавки термоусадочного материала к последнему резьбовому витку стержня. В результате повышается надежность стопорения крепежной гайки и коррозионная стойкость полученного резьбового соединения. 3 ил.
Изобретение относится к технике машиностроения и может быть использовано для стопорения резьбовых соединений, работающих в условиях сильной и долговременной вибрации, в приборостроительной, автомобильной, тракторной, локомотивной, авиационной, судостроительной, в системе газовой промышленности и других отраслях промышленности.
Известен способ стопорения гайки относительно резьбового стержня путем выполнения в резьбовом стержне поперечного отверстия и вставления в него шплинта (Г.Б.Иосилевич, Ю.В.Шарловский. Затяжка и стопорение резьбовых соединений. М.: Машиностроение, 1971, глава 2, с.45, где на рис.42 изображено стопорение гайки).
Известный способ обеспечивает стопорение гайки лишь для неответственных резьбовых соединений.
Известен способ стопорения гайки относительно резьбового стержня, включающий установку на стержень обычной шайбы, завинчивание крепежной гайки и выполнение бокового кернения в нитки резьбы стержня, непосредственно над гайкой (Г.Б.Иосилевич, Ю.В.Шарловский. Затяжка и стопорение резьбовых соединений. М.: Машиностроение, 1971, глава 2, стр.76, где на рис.46б) показан способ бокового кернения.
И этот известный способ не без недостатка, так как такое стопорение гайки на резьбовом стержне создает неразборное соединение.
Известен также способ стопорения гайки на резьбовом стержне, принятый в качестве прототипа, включающий установку на стержень поверх детали обычной шайбы, а поверх нее установку пружинной шайбы или шайбы с внутренними зубьями (Г.Б.Иосилевич, Ю.В.Шарловский. Затяжка и стопорение резьбовых соединений. М.: Машиностроение, 1971, глава 3, стр.90).
Недостатком этого способа-прототипа является то, что при больших циклических нагрузках пружинные свойства шайбы ослабевают, а в случае попадания смазки между поверхностями трения гайки и пружинной шайбы и пружинной шайбы и обычной шайбы появляется возможность полного ослабления резьбового соединения вплоть до самосвинчивания гайки с резьбового стержня.
Задача, на решение которой направлено изобретение, состоит в повышении надежности стопорения крепежной гайки с пружинной шайбой и защиты контактных поверхностей между крепежной гайкой и пружинной шайбой, а также крепежной гайкой и витками резьбы стержня.
Это достигается тем, что способ стопорения гайки относительно резьбового стержня, включающий размещение на резьбовом стержне поверх детали обычной шайбы и затем пружинной шайбы с последующим навинчиванием крепежной гайки до полного сжатия разрезных концов пружинной шайбы и последующим размещением поверх граней гайки пружинной шайбы и выступающего конца резьбового стержня колпачка или трубки из термоусадочного материала, прогрев термоусадочного материала до полного охвата всех граней гайки, боковой поверхности пружинной шайбы и выступающего резьбового конца стержня с обеспечением приплавки термоусадочного материала к последнему резьбовому витку стержня.
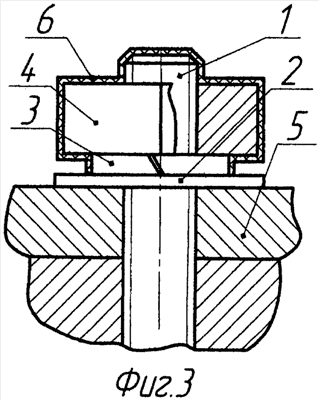
Сущность способа поясняется чертежами, где на фиг.1 изображена исходная позиция способа, включающего резьбовой стержень, на котором установлены последовательно обычная шайба, пружинная шайба, которые поджаты гайкой. На фиг.2 изображена вторая операция способа, включающая установку термоусадочной трубки. На фиг.3 изображена третья операция после термоусадки термоусадочной трубки.
Способ реализуется следующим образом.
На резьбовой стержень 1 последовательно устанавливают обычную шайбу 2 и пружинную шайбу 3, поверх которых навинчивают гайку 4 и поджимают деталь 5 до полного сжатия разрезных концов пружинной шайбы. Затем поверх граней гайки 4 надевают трубку 6 или специальный колпачок из термоусадочного материала. После этого подвергают нагреву трубку 6 или специальный колпачок из термоусадочного материала с помощью, например, технического фена, обеспечивая плотную усадку термоусадочного материала 6 на все доступные поверхности деталей гайки 4, пружинной шайбы 3 и выступающего резьбового конца стержня 1, например болта.
Полезность способа заключается в том, что обеспечивается повышение надежности стопорения крепежной гайки с пружинной шайбой и защита контактных поверхностей между крепежной гайкой и пружинной шайбой, а также крепежной гайкой и витками резьбы стержня. При этом повышается защита узла от коррозионного воздействия. Не требуется покраска. Повышается эстетический вид и потребительская привлекательность резьбового гаечного соединения.
Формула изобретения
Способ стопорения гайки относительно резьбового стержня, включающий размещение на резьбовом стержне поверх детали обычной шайбы и затем пружинной шайбы с последующим навинчиванием крепежной гайки до полного сжатия разрезных концов пружинной шайбы и последующим размещением поверх граней гайки пружинной шайбы и выступающего конца резьбового стержня колпачка или трубки из термоусадочного материала, прогрев термоусадочного материала до полного охвата всех граней гайки, боковой поверхности пружинной шайбы и выступающего резьбового конца стержня с обеспечением приплавки термоусадочного материала к последнему резьбовому витку стержня.
РИСУНКИ
|
|