|
|
(21), (22) Заявка: 2009119417/06, 25.05.2009
(24) Дата начала отсчета срока действия патента:
25.05.2009
(46) Опубликовано: 20.06.2010
(56) Список документов, цитированных в отчете о поиске:
RU 2334131 С, 20.09.2008. RU 2176336 C1, 27.11.2001. RU 2282760 C1, 27.08.2006. US 5372190 A, 13.12.1994. US 2004188143 A, 30.09.2004.
Адрес для переписки:
77400, Ивано-Франковская обл., г. Тисменица, ул. Вильшанецкая, 33, З.Д. Хоминец
|
(72) Автор(ы):
Хоминец Зиновий Дмитриевич (UA), Хамитов Рустем Ленарович (RU), Дудниченко Борис Анатольевич (UA)
(73) Патентообладатель(и):
Хоминец Зиновий Дмитриевич (UA), Хамитов Рустем Ленарович (RU), Дудниченко Борис Анатольевич (UA)
|
(54) СПОСОБ РАБОТЫ СКВАЖИННОЙ СТРУЙНОЙ УСТАНОВКИ ПРИ ИНТЕНСИФИКАЦИИ ПРИТОКА И ОСВОЕНИИ СКВАЖИН
(57) Реферат:
Изобретение относится к области струйной техники. Способ работы установки заключается в том, что в скважину в колонну насосно-компрессорных труб (НКТ) на гибкой насосно-компрессорной трубе (ГНКТ) спускают компоновку оборудования. Эжекторный насос установлен в осевом канале опоры, имеющей перепускной канал с обратным клапаном. В корпусе насоса выполнен канал с двумя посадочными местами: меньшего и большего размера, расположенные ниже и выше канала подвода в насос откачиваемой среды. Ниже НКТ в зоне продуктивного пласта устанавливают кавитатор. Закачивают кислотный раствор в пласт. Подают рабочий агент на кавитатор и проводят воздействие на пласт с декольматацией. Проводят распакеровку пакера. Сбрасывают в ГНКТ два шарика меньшего и большего диаметра для установки на посадочные места и выполнения функции обратного клапана и перевода насоса в рабочее состояние. Подают на сопло насоса рабочий агент и проводят дренирование. После откачки среды резко прекращают подачу рабочего агента. Оба клапана закрываются. Проводят регистрацию кривых восстановления пластового давления. Прокачкой между НКТ и ГНКТ газового агента через сопло и ГНКТ заменяют жидкость на газ, проводят депакеровку пакера в НКТ и поднимают компоновку ГНКТ. Запускают скважину в работу фонтанным способом. В результате достигается повышение производительности установки при проведении обработки продуктивного пласта. 2 ил.
Изобретение относится к области насосной техники, преимущественно к скважинным струйным насосным установкам для испытания и освоения скважин.
Известен способ работы скважинной струйной установки, включающий установку в скважине на колонне насосно-компрессорных труб струйного насоса и закачку в пласт по колонне насосно-компрессорных труб химических реагентов с последующей откачкой из пласта продуктов реакции, при этом вначале в проходном канале корпуса струйного насоса устанавливают блокирующую вставку с проходным каналом, а затем блокирующую вставку заменяют на депрессионную вставку и после этого проводят подачу по колонне насосно-компрессорных труб в сопло струйного насоса рабочей среды и создают за счет этого в подпакерной зоне регулируемое давление с возможностью проведения дренирования пласта и других регламентных работ (см. патент RU 2176336 С1, кл. F04F 5/02, 27.11.2001).
Данный способ работы скважинной струйной установки позволяет проводить в скважине ниже уровня установки струйного насоса обработку пласта, в том числе с созданием перепада давлений над и под герметизирующим узлом. Однако возможности скважинной струйной установки используются не в полной мере, что связано с большими затратами времени на замену вставок, которое часто больше расчетного времени реакции кислотного раствора с минералами продуктивного пласта.
Наиболее близким к изобретению по технической сущности и достигаемому результату является способ работы скважинной струйной установки, заключающийся в том, что спускают в скважину установленный на колонне труб пакер, устанавливают последний над кровлей продуктивного пласта и производят распакеровку пакера, подают под напором по колонне труб в продуктивный пласт рабочий агент, например жидкость гидроразрыва пласта или кислотный раствор, после чего устанавливают эжекторный насос на посадочное место и подают рабочий агент в сопло эжекторного насоса, который увлекает в камеру смешения окружающую ее среду из продуктивного пласта, а затем проводят откачку из продуктивного пласта пластовой среды, которая по колонне труб поступает из скважины на поверхность, во время откачки проводят контроль параметров откачиваемой пластовой среды, а также воздействие на продуктивный пласт физическими полями, например ультразвуковыми полями, для интенсификации притока из продуктивного пласта, одновременно путем изменения давления рабочего агента для интенсификации притока из продуктивного пласта создают ряд депрессий на продуктивный пласт и регистрируют параметры притока откачиваемой среды из продуктивного пласта, после прекращения исследования скважины и обработки продуктивного пласта извлекают эжекторный насос из скважины и проводят работы по переводу скважины в эксплуатационный режим (см. патент RU 2334131, кл. F04F 5/02, 20.09.2008).
Данный способ работы скважинной струйной установки не позволяет оказывать гидродинамическое воздействие на продуктивный пласт, снижает производительность установки и сужает возможности данного способа работы.
Задачей, на решение которой направлено настоящее изобретение, является повышение качества работ по увеличению дебитов скважин за счет усовершенствования технологии обработки продуктивного пласта.
Техническим результатом, достигаемым при реализации изобретения, является повышение производительности скважинной струйной установки при проведении обработки продуктивного пласта.
Указанная задача решается, а технический результат достигается за счет того, что способ работы скважинной струйной установки заключается в том, что в скважину в предварительно установленную колонну насосно-компрессорных труб (НКТ) на гибкой насосно-компрессорной трубе (ГНКТ) спускают установленную на ней компоновку оборудования, включающую соединенные между собой и последовательно расположенные снизу вверх: кавитатор, участок ГНКТ, пакер с осевым проходным каналом, опору, в которой выполнены перепускной канал с установленным в нем обратным клапаном и осевой канал с посадочным местом, на котором установлен эжекторный насос, в корпусе которого выполнен продольный проходной канал с двумя посадочными местами, одно из которых меньшего размера расположено ниже канала подвода в эжекторный насос откачиваемой из скважины среды, а другое большего размера – выше канала подвода в эжекторный насос откачиваемой из скважины среды, причем в нижней части эжекторного насоса установлен автономный манометр, устанавливают кавитатор ниже НКТ в зоне продуктивного пласта, через ГНКТ, проходной канал эжекторного насоса и кавитатор закачивают кислотный раствор в продуктивный пласт, далее под давлением подают через ГНКТ и проходной канал эжекторного насоса рабочий агент на кавитатор и с помощью последнего проводят гидродинамическое кавитационное воздействие на продуктивный пласт с декольматацией последнего, после чего проводят распакеровку пакера в НКТ, последовательно сбрасывают в ГНКТ два шарика, сначала меньшего диаметра, а следом – большего диаметра, при этом шарик меньшего диаметра устанавливают в проходном канале корпуса эжекторного насоса на посадочном месте меньшего размера для выполнения функции обратного клапана, а шарик большего диаметра устанавливают в проходном канале эжекторного насоса на посадочное место большего размера для перевода эжекторного насоса в рабочее состояние, по кольцевому пространству между ГНКТ и НКТ под давлением подают на сопло эжекторного насоса рабочий агент и проводят дренирование продуктивного пласта от продуктов реакции, механических примесей и пластового флюида, после откачки из продуктивного пласта запланированного объема жидкости резко прекращают подачу рабочего агента на сопло эжекторного насоса, при этом оба обратных клапана закрываются, и проводят регистрацию кривых восстановления пластового давления в подпакерном пространстве (КВД) с помощью автономного манометра, после регистрации КВД путем прокачки по кольцевому пространству между НКТ и ГНКТ газового агента через сопло и ГНКТ заменяют жидкость на газ (природный или азот), проводят депакеровку пакера в НКТ и поднимают компоновку ГНКТ вместе с кавитатором, пакером и эжекторным насосом с автономным манометром на поверхность, после чего проводят мероприятия по запуску скважины в работу фонтанным способом.
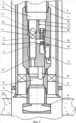
На фиг.1 схематически представлен продольный разрез скважинной струйной установки при закачке в продуктивный пласт кислотного раствора и проведении гидродинамического воздействия на продуктивный пласт рабочим агентом с помощью кавитатора. На фиг.2 схематически представлен продольный разрез скважинной струйной установки при работающем эжекторном насосе.
Скважинная струйная установка содержит установленную в колонне насосно-компрессорных труб (НКТ) 1 на гибкой насосно-компрессорной трубе (ГНКТ) 2 компоновку оборудования, включающую соединенные между собой и последовательно расположенные снизу вверх: кавитатор 3, участок ГНКТ 4, пакер 5 с осевым проходным каналом 6, опору 7, в которой выполнены перепускной канал 8 с установленным в нем обратным клапаном 9 и осевой канал 10 с посадочным местом 11, на котором установлен эжекторный насос 12, в корпусе 13 которого выполнен продольный проходной канал 14 с двумя посадочными местами 15 и 16, одно из которых (15) меньшего размера расположено ниже канала 17 подвода в эжекторный насос 12 откачиваемой из скважины среды, а другое (16) большего размера – выше канала 17 подвода в эжекторный насос 12 откачиваемой из скважины среды. Кроме того, в корпусе 13 эжекторного насоса 12 установлены сопло 18 и камера смешения 19 с диффузором 20, а в нижней части эжекторного насоса 12 установлен автономный манометр 21. Струйная установка выполнена с возможностью сбрасывания через ГНКТ 2 в проходной канал 14 корпуса 13 эжекторного насоса 12 двух шариков 22 и 23, причем сначала (22) меньшего диаметра, а следом (23) – большего диаметра, при этом шарик 22 меньшего диаметра устанавливают в проходном канале 14 корпуса 13 эжекторного насоса 12 на посадочном месте 15 меньшего размера для выполнения функции обратного клапана, а шарик 23 большего диаметра устанавливают в проходном канале 14 эжекторного насоса 12 на посадочное место 16 большего размера для перекрытия проходного канала 14 и, как следствие, перевода эжекторного насоса 12 в рабочее состояние.
Способ работы скважинной струйной установки заключается в следующем. В скважину в предварительно установленную колонну насосно-компрессорных труб (НКТ) 1 на гибкой насосно-компрессорной трубе (ГНКТ) 2 спускают установленную на ней компоновку оборудования. Устанавливают кавитатор 3 ниже НКТ 1 в зоне продуктивного пласта 24. Через ГНКТ 2, проходной канал 14 эжекторного насоса 12 и кавитатор 3 закачивают кислотный раствор в продуктивный пласт 24. Далее под давлением подают через ГНКТ 2 и проходной канал 14 эжекторного насоса 12 рабочий агент на кавитатор 3 и с помощью последнего проводят гидродинамическое кавитационное воздействие на продуктивный пласт 24 с декольматацией последнего. Затем проводят распакеровку (перевод пакера 5 в рабочее состояние с перекрытием кольцевого пространства между НКТ 1 и ГНКТ 2) пакера 5 в НКТ 1, последовательно сбрасывают в ГНКТ 2 два шарика 22 и 23, сначала меньшего диаметра (22), а следом – большего диаметра (23), при этом шарик 22 меньшего диаметра устанавливают в проходном канале 14 корпуса 13 эжекторного насоса 12 на посадочном месте 15 меньшего размера для выполнения функции обратного клапана, а шарик 23 большего диаметра устанавливают в проходном канале 14 эжекторного насоса 12 на посадочное место 16 большего размера для перевода эжекторного насоса 12 в рабочее состояние. По кольцевому пространству между ГНКТ 2 и НКТ 1 под давлением подают на сопло 18 эжекторного насоса 12 рабочий агент и проводят дренирование продуктивного пласта 24 от продуктов реакции, механических примесей и пластового флюида. После откачки из продуктивного пласта 24 запланированного объема жидкости резко прекращают подачу рабочего агента на сопло 18 эжекторного насоса 12, при этом оба обратных клапана (один в эжекторном насосе 12 с шариком 22 и другой – 9 в перепускном канале 8) закрываются, и проводят регистрацию кривых восстановления пластового давления (КВД) в подпакерном пространстве с помощью автономного манометра 21. После регистрации КВД путем прокачки по кольцевому пространству между НКТ 1 и ГНКТ 2 газового агента через сопло 18 и ГНКТ 2 заменяют жидкость на газ (природный или азот), проводят депакеровку пакера 5 в НКТ 1 и поднимают компоновку ГНКТ 2 вместе с кавитатором 3, пакером 5 и эжекторным насосом 12 с автономным манометром 21 на поверхность, после чего проводят мероприятия по запуску скважины в работу фонтанным способом.
Изобретение может найти применение при испытании, освоении и эксплуатации нефтяных и газоконденсатных скважин, а также при их капитальном ремонте.
Формула изобретения
Способ работы скважинной струйной установки при интенсификации притока и освоении скважин, заключающийся в том, что в скважину в предварительно установленную колонну насосно-компрессорных труб (НКТ) на гибкой насосно-компрессорной трубе (ГНКТ) спускают установленную на ней компоновку оборудования, включающую соединенные между собой и последовательно расположенные снизу вверх: кавитатор, участок ГНКТ, пакер с осевым проходным каналом, опору, в которой выполнены перепускной канал с установленным в нем обратным клапаном и осевой канал с посадочным местом, на котором установлен эжекторный насос, в корпусе которого выполнен продольный проходной канал с двумя посадочными местами, одно из которых меньшего размера расположено ниже канала подвода в эжекторный насос откачиваемой из скважины среды, а другое большего размера – выше канала подвода в эжекторный насос откачиваемой из скважины среды, причем в нижней части эжекторного насоса установлен автономный манометр, устанавливают кавитатор ниже НКТ в зоне продуктивного пласта, через ГНКТ, проходной канал эжекторного насоса и кавитатор закачивают кислотный раствор в продуктивный пласт, далее под давлением подают через ГНКТ и проходной канал эжекторного насоса рабочий агент на кавитатор и с помощью последнего проводят гидродинамическое кавитационное воздействие на продуктивный пласт с декольматацией последнего, после чего проводят распакеровку пакера в НКТ, последовательно сбрасывают в ГНКТ два шарика, сначала меньшего диаметра, а следом – большего диаметра, при этом шарик меньшего диаметра устанавливают в проходном канале корпуса эжекторного насоса на посадочном месте меньшего размера для выполнения функции обратного клапана, а шарик большего диаметра устанавливают в проходном канале эжекторного насоса на посадочное место большего размера для перевода эжекторного насоса в рабочее состояние, по кольцевому пространству между ГНКТ и НКТ под давлением подают на сопло эжекторного насоса рабочий агент и проводят дренирование продуктивного пласта от продуктов реакции, механических примесей и пластового флюида, после откачки из продуктивного пласта запланированного объема жидкости резко прекращают подачу рабочего агента на сопло эжекторного насоса, при этом оба обратных клапана закрываются, и проводят регистрацию кривых восстановления пластового давления в подпакерном пространстве (КВД) с помощью автономного манометра, после регистрации КВД путем прокачки по кольцевому пространству между НКТ и ГНКТ газового агента через сопло и ГНКТ заменяют жидкость на газ (природный или азот), проводят депакеровку пакера в НКТ и поднимают компоновку ГНКТ вместе с кавитатором, пакером и эжекторным насосом с автономным манометром на поверхность, после чего проводят мероприятия по запуску скважины в работу фонтанным способом.
РИСУНКИ
|
|