|
|
(21), (22) Заявка: 2009110830/06, 24.03.2009
(24) Дата начала отсчета срока действия патента:
24.03.2009
(46) Опубликовано: 20.06.2010
(56) Список документов, цитированных в отчете о поиске:
RU 2192561 C1, 10.11.2002. SU 595534 A, 28.02.1978. SU 992834 A, 30.01.1983. DE 85418 A, 22.07.1894. US 5800120 A, 01.09.1998.
Адрес для переписки:
625048, г.Тюмень, а/я 1930, В.С. Журавлеву
|
(72) Автор(ы):
Комгорт Владимир Валерьевич (RU)
(73) Патентообладатель(и):
Комгорт Владимир Валерьевич (RU)
|
(54) СТУПЕНЬ ЦЕНТРОБЕЖНОГО НАСОСА
(57) Реферат:
Изобретение относится к насосостроению, а именно к многоступенчатым центробежным насосам для добычи нефти. Ступень центробежного насоса содержит закрепляемый в корпусе 2 направляющий аппарат 1 и устанавливаемое на ведущем валу 3 насоса рабочее колесо. Колесо состоит из ведущего и ведомого дисков 4, 5 с рабочими лопастями 5а между ними. Ведущий и ведомый диски 4, 5 рабочего колеса на входе и выходе из него выполнены с боковыми кольцевыми выступами 6 и 7, 8 и 9, направленными попарно друг к другу с образованием на входе и выходе рабочих колес кольцевых щелей «а» и «б». Изобретение направлено на повышение напора и КПД и увеличение срока службы насоса в диапазоне малодебитной добычи нефти. 2 ил.
Изобретение относится к насосостроению, а именно к многоступенчатым скважинным насосам для добычи нефти.
Известен погружной центробежный многоступенчатый насос для откачки жидкости из нефтяных скважин. Каждая ступень такого насоса содержит рабочее колесо и направляющий аппарат (Богданов Н.А. Погружные центробежные насосы для добычи нефти. М.: Недра, 1968, с.38-50).
Недостатком насоса является низкое давление, создаваемое ступенью при малых расходах жидкости.
Техническим решением, наиболее близким к изобретению, является ступень погружного центробежного насоса, содержащая рабочее колесо с ведущим и ведомым дисками и лопастями и направляющий аппарат с лопатками (RU 2192561 С1, 10.11. 2002).
При изготовлении насосов для малодебитных скважин уменьшают ширину канала между ведущим и ведомым дисками. В результате чего происходит снижение напора и КПД вследствие увеличения гидравлического сопротивления из-за уменьшения проходного сечения рабочего колеса. Кроме того, проходное сечение дополнительно уменьшается со временем в результате солеотложения, что, в свою очередь, ведет к уменьшению срока службы насоса.
Задачей, стоящей перед изобретением, является повышение напора и КПД и увеличение срока службы насоса в диапазоне малодебитной добычи нефти, что позволит отказаться от использования штанговых насосов.
Для решения поставленной задачи в ступени центробежного насоса, содержащей закрепляемый в корпусе насоса направляющий аппарат и устанавливаемое на ведущем валу насоса рабочее колесо, состоящее из ведущего и ведомого дисков с рабочими лопастями между ними, согласно изобретению ведущие и ведомые диски рабочего колеса на входе и выходе из него выполнены с боковыми кольцевыми выступами, направленными попарно друг к другу с образованием на входе и выходе рабочих колес кольцевых щелей.
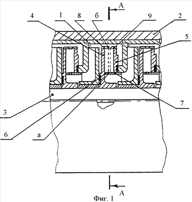
На фиг.1 показано несколько ступеней центробежного насоса в продольном сечении, а на фиг.2 – сечение А-А на фиг.1.
Ступень центробежного насоса содержит направляющий аппарат 1, закрепляемый в цилиндрическом корпусе 2 центробежного насоса, и рабочее колесо, устанавливаемое на ведущем валу 3 насоса. Рабочее колесо состоит из ведущего и ведомого дисков 4 и 5 с рабочими лопастями 5а между ними.
Ведущие и ведомые диски 4, 5 рабочего колеса на входе и выходе из него выполнены с боковыми кольцевыми выступами 6 и 7, 8 и 9, направленными попарно друг к другу с образованием на входе и выходе рабочих колес кольцевых щелей «а» и «б».
Малодебитный насос может быть легко изготовлен на базе серийно выпускаемых высокодебитных насосов. В высокодебитном насосе на входе в рабочее колесо и на выходе из него закрепляют по два кольца с таким расчетом, чтобы образовать кольцевые щели, ширина которых определяет подачу рабочего колеса и всего насоса.
При работе насоса жидкость через щель «а» между внутренними кольцевыми выступами (кольцами) 6 и 7 поступает в рабочее колесо (канал между дисками 4 и 5), где происходит приращение давления и часть жидкости выходит через щель «б» между наружными выступами 8 и 9 с давлением большим, чем на входе.
Жидкость, поступившая в рабочее колесо и имеющая большую радиальную скорость, проходит через центральную часть внутреннего объема рабочего колеса, не соприкасаясь с его стенками. Жидкость, занимающая основной внутренний объем рабочего колеса, движется медленно в радиальном направлении и, будучи изначально раскрученной, не потребляет мощности.
Меняя ширину щели между внутренними и наружными кольцами 6, 7, мы имеем возможность получить сколь угодно малые подачи насоса без потери напора и КПД.
Уменьшение отложений солей происходит из-за большого расстояния между дисками в рабочем колесе и уменьшения объема жидкости, контактирующей с ними.
Формула изобретения
Ступень центробежного насоса, содержащая закрепляемый в корпусе насоса направляющий аппарат и устанавливаемое на ведущем валу насоса рабочее колесо, состоящее из ведущего и ведомого дисков с рабочими лопастями между ними, отличающаяся тем, что ведущий и ведомый диски рабочего колеса на входе и выходе из него выполнены с боковыми кольцевыми выступами, направленными попарно друг к другу с образованием на входе и выходе рабочих колес кольцевых щелей.
РИСУНКИ
|
|