|
|
(21), (22) Заявка: 2007147333/06, 31.05.2006
(24) Дата начала отсчета срока действия патента:
31.05.2006
(30) Конвенционный приоритет:
02.06.2005 DE 102005025816.6
(43) Дата публикации заявки: 27.06.2009
(46) Опубликовано: 20.06.2010
(56) Список документов, цитированных в отчете о поиске:
ЕР 0405160 А1, 02.01.1991. RU 2164312 C1, 20.03.2001. RU 2101571 C1, 10.01.1998. DE 715860 A, 08.01.1942. US 3016842 A, 16.01.1962. DE 19748385 А1, 06.05.1999. US 2381695 А, 07.08.1945.
(85) Дата перевода заявки PCT на национальную фазу:
18.12.2007
(86) Заявка PCT:
DE 2006/000940 20060531
(87) Публикация PCT:
WO 2006/128441 20061207
Адрес для переписки:
129090, Москва, ул.Б.Спасская, 25, стр.3, ООО “Юридическая фирма Городисский и Партнеры”, пат.пов. А.В.Мицу, рег. 364
|
(72) Автор(ы):
РОЛЬФИНГ Герхард (DE), ЯШКЕ Аксель (DE), БРАНДТ Йенс-Уве (DE)
(73) Патентообладатель(и):
ЙОХ. ХАЙНР. БОРНЕМАНН ГМБХ (DE)
|
(54) ВИНТОВОЙ НАСОС
(57) Реферат:
Изобретение относится к винтовому насосу. Винтовой насос в однопоточном, двухвальном исполнении содержит два винта (1, 2) и корпус (3), охватывающий винты (1, 2) с образованием нагнетательных камер (4), ограничиваемых его внутренней боковой поверхностью, а также камеру всасывания (5) для всасываемой среды и камеру (6) сжатия для приема среды, перекачиваемой винтами (1, 2). Корпус (3) насоса установлен в камере (6) сжатия и закреплен в ней, так что камера (6) сжатия по меньшей мере частично окружает корпус (3) насоса. Оба винта (1, 2) установлены с внешней подшипниковой опорой. В камере (6) сжатия предусмотрены сепарационные устройства для разделения перекачиваемой многофазной смеси на газовую и жидкую фазы. Между камерой (6) сжатия и камерой (5) всасывания предусмотрен короткозамкнутый трубопровод (13) для подачи сепарированной жидкости обратно в камеру (5) всасывания. Изобретение направлено на создание насоса, изготовление и обслуживание которого обходились бы недорого и который был бы пригоден для перекачки многофазных смесей в рамках эксплуатации отдельных источников. 13 з.п. ф-лы, 1 ил.
Изобретение относится к винтовому насосу однопоточного, двухвального типа с внешней подшипниковой опорой обоих винтов и с корпусом насоса, включающим два винта с образованием нагнетательных камер, ограничиваемых снаружи его внутренней боковой поверхностью, а также с камерой всасывания для всасываемой среды и герметичным корпусом, принимающим среду, нагнетаемую винтами.
Известно множество концепций винтовых насосов, например двухвальный, двухпоточный вариант согласно европейскому патенту ЕР 0699276 В1, используемый для перекачки неочищенных смесей нефти, воды и газа, вытекающих из одного очень крупного источника или из многих, в некоторых случаях из более чем 500 малых источников. Двухпоточные винтовые насосы имеют корпус, разделенный на камеру всасывания и герметичный корпус. При этом нагнетательные винты работают или непосредственно в корпусе насоса или в сменной корпусной вставке, устанавливаемой между камерами всасывания и нагнетания. При этом задачей корпуса насоса, с одной стороны, является достаточная прочность на сжатие под действием рабочего давления, а с другой, – его форма и жесткость для соблюдения необходимых в процессе повышения давления допусков для уплотнительных канавок между самими нагнетательными винтами, а также между нагнетательными винтами и корпусом или корпусной вставкой соответственно, причем нагнетательные винты, работающие бесконтактно, в целях повышения производительности предъявляют особенно высокие требования к уплотнительным канавкам в отношении их максимально возможного уменьшения.
Винтовые насосы в двухвальном, двухпоточном исполнении являются очень затратными в отношении техники, изготовления и обслуживания и поэтому используются предпочтительно при необходимости большой производительности, которая при эксплуатации отдельных источников (Single-well-boosting) обычно оказывается избыточной.
Из DE 715860 B1 известен винтовой насос для перекачиваемых жидкостей, имеющий с одной стороны внешнюю подшипниковую опору для нагнетательных винтов. Нагнетательные винты заключены в корпус, выполненный как одно целое и прифланцованный к корпусной части, в которой расположены нагнетательные винты. Эту корпусную часть при техническом обслуживании можно снимать. При необходимости провести техническое обслуживание следует отсоединить приемный и спускной патрубки и установить совершенно новый насос.
В порядке альтернативы полной замене винтовой насос можно разобрать и отремонтировать на месте, что отнимает много времени. К тому же сборка насоса из отдельных деталей на месте у заказчика имеет недостаток, заключающийся в том, что испытание насоса с точным определением его технических данных невозможно, так что для получения необходимой технической характеристики, как правило, требуется полная замена насоса.
Именно при эксплуатации отдельного источника имеют место слишком сильные перепады в составе перекачиваемой среды. В большой степени непредсказуемо происходят переходы от состояний стопроцентной перекачки жидкости к фазам стопроцентной перекачки газа, причем фазы стопроцентной перекачки газа являются для винтовых насосов особенно критическими, поскольку в случае обычных винтовых насосов вслед за перекачкой газа начинает транспортироваться густая, охлаждающая и смазывающая жидкость. Это обстоятельство приводит к нагреванию нагнетательных винтов и тем самым к контактированию нагнетательных винтов между собой и с корпусом насоса, что является причиной повышенного износа, а при известных условиях и остановки насоса. Проблемы, возникающие в этой связи при обслуживании на месте, описаны выше.
В европейском патенте ЕР 0405160 А1 описывается винтовой насос с приводным винтом, установленным внутри корпуса насоса, и по меньшей мере с одним уплотнительным винтом, ось которого параллельна оси приводного винта, а также с притоком и сливом текучей среды, подаваемой винтами.
Винты располагаются внутри трубчатой корпусной вставки, которая вместе с охватывающим ее корпусом насоса ограничивает по меньшей мере одно кольцевое пространство, соединенное по крайней мере одним отверстием с внутренним пространством, занимаемым винтами.
Для эксплуатации отдельных источников наряду с винтовыми насосами применяются также эксцентриковые шнековые насосы, применение которых для перекачки многофазных смесей является ограниченно возможным, поскольку стопроцентная мощность подачи газа из-за возникновения теплоты трения весьма ограничена во времени.
Вследствие избыточных размеров многофазных насосов в двухвальном, двухпоточном исполнении и из-за отсутствия соответствующих многофазных насосов меньшей мощности не эксплуатируются или перестали эксплуатироваться тысячи источников нефти, в результате чего ценное сырье не используется.
Поэтому задача изобретения состоит в создании насоса, изготовление и обслуживание которого обходились бы недорого и который в принципе был бы пригоден для перекачки многофазных смесей в рамках эксплуатации отдельных источников.
Эта задача согласно изобретению решается с помощью винтового насоса рассмотренного вначале рода с признаками пункта 1 формулы изобретения. Предпочтительные и усовершенствованные варианты осуществления изобретения описаны в зависимых пунктах формулы изобретения.
Винтовой насос согласно изобретению в однопоточном, двухвальном исполнении с внешней подшипниковой опорой обоих винтов и с корпусом насоса, охватывающим винты с образованием нагнетательных камер, ограничиваемых снаружи его внутренней боковой поверхностью, а также с камерой всасывания для всасываемой среды и с герметичным корпусом, принимающим среду, перекачиваемую винтами, предусматривает, чтобы корпус насоса устанавливался в герметичном кожухе и закреплялся в нем так, чтобы герметичный кожух окружал корпус насоса по меньшей мере частично. Благодаря введению корпуса насоса в герметичный кожух и его закреплению в нем становится возможной замена только корпуса насоса вместе с расположенными в нем винтами и с внешней подшипниковой опорой, так что винтовой насос конструируется по модульному принципу и может быть быстро отремонтирован, если быстроизнашивающиеся детали удалять из герметичного кожуха целиком. В результате простой замены корпуса насоса с установленными в нем винтами одновременно осуществляется механическая развязка между герметичным кожухом и корпусом насоса, так что деформации сжатия внутри герметичного кожуха не передаются корпусу насоса или передаются в такой малой степени, что остаются незаметными. Благодаря этому обеспечивается точность взаимного расположения винтов, поскольку деформации герметичного кожуха не влияют на допуски нагнетательных элементов, уплотнений и подшипников. Это уменьшает износ и делает возможной установку незначительного размера уплотнительные канавки, что повышает производительность насоса.
Усовершенствованный вариант изобретения предусматривает, чтобы корпус насоса проходил в герметичный кожух настолько, чтобы корпус насоса имел в герметичном кожухе две точки для прилегания или опоры. При этом предусмотрено, чтобы корпус насоса крепился в герметичном кожухе, в частности привинчивался, только с одной стороны, в то время как конец корпуса насоса, не закрепленный в герметичном кожухе, располагался бы в его направляющей. Таким образом, получается, что корпус насоса в герметичном кожухе, с одной стороны, прочно закреплен, а с другой стороны, может слегка перемещаться, причем небольшой люфт между герметичным кожухом и корпусом насоса загерметизирован с помощью по меньшей мере одного уплотнения, так что перекачиваемая среда не может вытекать из герметичного кожуха через щели в направляющей. Небольшой люфт в направляющей в герметичном кожухе способствует тому, чтобы давление, действующее в герметичном корпусе, не вызывало деформаций внутри корпуса насоса, которые могли бы повлиять на величину люфта между самими винтами, а также между винтами и корпусом насоса, но чтобы сам корпус насоса внутри герметичного кожуха имел некоторую возможность перемещения.
Другим преимуществом варианта осуществления согласно изобретению является упрощение изготовления герметичного кожуха благодаря снижению требований к точности взаимного расположения элементов конструкции, так что герметичный кожух может быть изготовлен с меньшими затратами. Кроме того, благодаря возможности демонтажа корпуса насоса целиком вместе с его винтами и подшипниковым узлом существенно упрощается его обслуживание.
Чтобы, несмотря на простоту устройства, добиться максимальной жесткости конструкции, закрепление корпуса насоса в герметичном кожухе предусматривается с помощью несущей пластины. Таким образом, на несущей пластине крепятся как герметичный кожух, так и корпус насоса, а при необходимости и подшипниковый узел, в котором винты располагаются отдельно от перекачиваемого потока. Винты расположены в подшипниковом узле, который, в свою очередь, соединен с корпусом насоса, так что подшипниковый узел может удаляться из герметичного кожуха вместе с корпусом насоса и с винтами. Таким образом, винты, корпус насоса и подшипниковый узел винтов образуют единый нагнетательный модуль, который может быть легко заменен, а после изготовления подвергнут испытанию на полную мощность, так что при замене нагнетательного модуля на новый или отремонтированный нагнетательный модуль техническую характеристику насоса можно предсказать заранее.
Для сжатия при использовании отдельного источника (Single-well-boosting) предусмотрено, чтобы в герметичном кожухе располагались сепарационные устройства для разделения перекачиваемой многофазной смеси на газовую и жидкую фазы, так чтобы разделенные фазы отводились отдельно или чтобы часть сепарированной жидкой фазы по короткозамкнутому трубопроводу подавалась из герметичного кожуха обратно в камеру всасывания с тем, чтобы внутри корпуса насоса оказался минимум жидкости для того, чтобы винты смогли охладиться, а щели между самими винтами, а также между винтами и корпусом насоса смогли загерметизироваться. Поскольку корпус насоса находится внутри герметичного кожуха, короткозамкнутый трубопровод можно выполнить внутри корпуса насоса, т.е. насосную камеру и камеру всасывания можно соединить напрямую.
По короткозамкнутому трубопроводу дозированно сепарированная жидкая фаза подается обратно в камеру всасывания, что, хотя и ведет к потере в производительности насоса, при использовании винтового насоса для перекачки многофазных смесей все же дает возможность существенно продлить срок его службы.
Корпус насоса может устанавливаться в герметичном кожухе эксцентрично с тем, чтобы, с одной стороны, облегчить сепарацию и возврат сепарированной жидкой фазы по короткозамкнутому трубопроводу обратно на сторону всасывания, а с другой, – чтобы не допустить деформаций герметичного корпуса, зависящих от давления, или заставить их действовать на подшипниковый узел или на винты таким образом, чтобы они противодействовали изменению угла подшипникового узла, обусловленному прогибом винтов, зависящим от давления.
Дополнительно к этому в герметичном кожухе может быть установлен стяжной болт для предварительного натяга герметичного кожуха относительно подшипниковой опоры винтов, так чтобы изменение угла подшипникового узла в зависимости от давления могло регулироваться в порядке альтернативы или дополнения к соответствующему позиционированию корпуса насоса в герметичном кожухе, а также при выборе толщины стенки и/или используемых материалов.
Для дальнейшей интеграции функций в нагнетательном модуле предусмотрено, чтобы в корпусе насоса камера всасывания выполнялась таким образом, чтобы она по своим размерам и аэрогидродинамическим характеристикам могла оптимально соответствовать нагнетательным винтам.
Для упрощения конструкции герметичного кожуха предусмотрено, чтобы корпус насоса образовывал часть стенки герметичного корпуса, т.е. чтобы используемый корпус образовывал часть ее внутренней стенки. Для этого необходимо, чтобы корпус насоса крепился в герметичном кожухе с уплотнением, причем для перекачиваемой среды предусмотрены проводящие трубопроводы или проточные каналы, через которые перекачиваемая среда подается в герметичный корпус.
Аналогично выполнены устройства, присоединяемые к подающим или отводящим трубопроводам герметичного кожуха, так что при обслуживании насоса нет необходимости отделять его от трубопроводной сети, благодаря чему удается избежать значительных расходов на монтаж, а также проблем с герметизацией в связи с монтажом и демонтажом укомплектованных насосов, входящих в трубопроводную сеть.
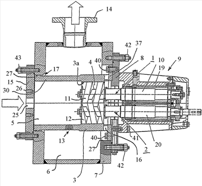
Ниже пример выполнения изобретения поясняется на основе единственного чертежа, на котором изображен вид винтового насоса сбоку в поперечном разрезе.
На чертеже изображен однопоточный винтовой насос с двумя винтами 1, 2, состоящими из двух соединенных между собой с помощью шестерен валов 10, 20, а также роторов 11, 12, закрепленных на них с помощью винтов. Валы 10, 20 расположены в корпусе 19 подшипника и образуют подшипниковый узел 9, загерметизированный от перекачиваемой среды. Роторы 11, 12 расположены в корпусе 3 насоса, причем внутренняя боковая поверхность 3а корпуса 3 насоса охватывает роторы 11, 12 таким образом, что роторы 11, 12, находящиеся в зацеплении друг с другом, в сочетании с боковой поверхностью 3а образуют нагнетательные камеры 4, в которых перекачиваемая среда по соединительным каналам 16 подается из камеры 5 всасывания в камеру 6 сжатия. Как между самими роторами 11, 12, так и между роторами 11, 12 и боковой поверхностью 3а имеется минимальный люфт для того, чтобы объем утечки насоса был как можно меньше.
Камера 6 сжатия, в данном случае выполненная в виде кольцевого пространства, образуется герметичным кожухом 7, замыкающим камеру 6 сжатия с торцевых сторон по внешнему периметру. Внутренняя герметизация камеры 6 сжатия обеспечивается за счет наружной стенки корпуса 3 насоса, поскольку корпус 3 насоса проходит через герметичный кожух 7 и, тем самым, через камеру 6 сжатия. Корпус 3 насоса с помощью болтов 40 закреплен на несущей пластине 8, на которой также с помощью болтов 41 закреплен подшипниковый узел 9. Несущая пластина 8, в свою очередь, с помощью стяжных болтов 42 соединена с герметичным кожухом 7, так что корпус 3 насоса с помощью болтов 40, несущей пластины 8 и стяжных болтов 42 закреплен с одной стороны герметичного кожуха 7. Корпус 3 насоса в области болтов 40 имеет кольцевой фланец 37, входящий в соответствующую выемку 27 герметичного кожуха 7. Конец 30 корпуса 3 насоса, обращенный от несущей пластины 8, установлен в выемке 17 герметичного кожуха 7, однако не завинчен в нее, а лишь загерметизирован с помощью уплотнения 27. С торцевой стороны дополнительное уплотнение достигается за счет передней панели 15, имеющей сквозное отверстие 25 для подачи перекачиваемой среды в камеру 5 всасывания. Предусмотрены также резьбы 26 для закрепления в передней панели 15 соединительных деталей или подводящих трубопроводов.
Установка корпуса 3 насоса в опоре с одной стороны герметичного кожуха 7 имеет то преимущество, что комбинация корпуса 3 насоса, подшипникового узла 9 и установленных в них винтов 1, 2, созданная по модульному принципу, не зависит от деформаций сжатия со стороны герметичного кожуха 7. Герметичный кожух 7 может быть рассчитан на соответствующее расчетное давление в системе и в принципе может быть выполнен любого размера, причем только выемки 17, 27 и соединительные устройства должны быть выполнены таким образом, чтобы можно было монтировать соответствующие нагнетательные блоки или модули корпуса 3 насоса и подшипникового узла 9. Изготовление насоса завершается установкой нагнетательного блока в герметичный кожух 7, причем корпус 3 насоса, интегрированный в нагнетательный блок, одновременно образует камеру 5 всасывания и обеспечивает отделение камеры 5 всасывания от камеры 6 сжатия.
Кроме того, у герметичного кожуха 7 предусмотрены фланцы 14 для отводящих трубопроводов, которые могут быть установлены жестко.
В камере 6 сжатия могут быть предусмотрены сепарационные устройства для разделения газовой и жидкой фаз при перекачке многофазных смесей. Это могут быть отклоняющие щитки или зоны успокоения, снижающие скорость потока почти до нуля, причем в таких местах, предпочтительно, предусмотрен короткозамкнутый трубопровод 13, соединяющий камеру 5 всасывания с камерой 6 сжатия. В изображенном примере выполнения изобретения короткозамкнутая труба 13 выполнена в корпусе 3 насоса и расположена с нижней стороны, так что жидкость, находящаяся в нижней части кольцевой камеры 6 сжатия, доходя до корпуса 3 насоса, всасывается в камеру 5 всасывания, а оттуда по роторам 11, 12 может двигаться дальше. Тем самым достигаются перенос тепла, герметизация и смазка роторов. Представленный вариант осуществления изобретения, в частности, пригоден для обеспечения надежного функционирования насоса даже при весьма различных давлениях в устье буровой скважины, которые могут превышать квазиатмосферные давления более чем на 100 бар.
Во впускном отверстии 25 или перед ним для задержания посторонних частиц и для предотвращения повреждений роторов 11, 12 могут быть вставлены или установлены защитные фильтры для насоса.
Формула изобретения
1. Винтовой насос в однопоточном, двухвальном исполнении с двумя винтами (1, 2) и с корпусом (3) насоса, охватывающим винты (1, 2) с образованием нагнетательных камер (4), ограничиваемых его внутренней боковой поверхностью, а также с камерой всасывания (5) для всасываемой среды и с камерой (6) сжатия для приема среды, перекачиваемой винтами (1, 2), причем корпус (3) насоса установлен в камере (6) сжатия и закреплен в ней так, что камера (6) сжатия по меньшей мере частично окружает корпус (3) насоса, отличающийся тем, что оба винта (1, 2) установлены с внешней подшипниковой опорой и в камере (6) сжатия предусмотрены сепарационные устройства для разделения перекачиваемой многофазной смеси на газовую и жидкую фазы, а между камерой (6) сжатия и камерой (5) всасывания предусмотрен короткозамкнутый трубопровод (13) для подачи сепарированной жидкости обратно в камеру (5) всасывания.
2. Винтовой насос по п.1, отличающийся тем, что корпус (3) насоса проходит через герметичный кожух (7).
3. Винтовой насос по п.1 или 2, отличающийся тем, что корпус (3) насоса закреплен на одной стороне герметичного кожуха (7), в частности привинчен к нему.
4. Винтовой насос по п.3, отличающийся тем, что корпус (3) насоса закреплен на герметичном кожухе (7) с помощью несущей пластины (8).
5. Винтовой насос по п.3, отличающийся тем, что конец (30) корпуса (3) насоса, не закрепленный в герметичном кожухе (7), располагается в его направляющей (17) с люфтом, а корпус (3) насоса загерметизирован относительно герметичного кожуха (7) с помощью уплотнения (27).
6. Винтовой насос по п.1, отличающийся тем, что винты (1, 2) расположены в подшипниковом узле (9), соединенном с корпусом (3) насоса.
7. Винтовой насос по п.6, отличающийся тем, что подшипниковый узел (9) закреплен на несущей пластине (8), в частности привинчен к ней.
8. Винтовой насос по п.п.6 или 7, отличающийся тем, что винты (1, 2), корпус (3) насоса и подшипниковый узел (9) винтов (1, 2) собраны в единый нагнетательный модуль.
9. Винтовой насос по п.1, отличающийся тем, что короткозамкнутый трубопровод (13) выполнен в корпусе (3) насоса.
10. Винтовой насос по п.1, отличающийся тем, что корпус (3) насоса установлен в герметичном кожухе (7) эксцентрично.
11. Винтовой насос по п.6, отличающийся тем, что в герметичном кожухе (7) установлены стяжные болты (42) для его предварительного натяга относительно подшипникового узла (9) винтов (1,2).
12. Винтовой насос по п.1, отличающийся тем, что в корпусе (3) насоса выполнена камера (5) всасывания.
13. Винтовой насос по п.1, отличающийся тем, что корпус (3) насоса образует часть стенки камеры (6) сжатия.
14. Винтовой насос по п.1, отличающийся тем, что на герметичном кожухе (7) выполнены соединительные устройства (14) для подводящих и отводящих трубопроводов.
РИСУНКИ
|
|