|
|
(21), (22) Заявка: 2007121770/06, 29.11.2005
(24) Дата начала отсчета срока действия патента:
29.11.2005
(30) Конвенционный приоритет:
23.12.2004 DE 102004062300.7
(43) Дата публикации заявки: 27.01.2009
(46) Опубликовано: 20.06.2010
(56) Список документов, цитированных в отчете о поиске:
WO 03/081041 A1, 02.10.2003. ЕР 1126171 А2, 22.08.2001. GB 392811 A, 25.05.1933. FR 743398 A, 30.03.1933. US 6641377 B2, 16.05.2002.
(85) Дата перевода заявки PCT на национальную фазу:
23.07.2007
(86) Заявка PCT:
EP 2005/056297 20051129
(87) Публикация PCT:
WO 2006/069873 20060706
Адрес для переписки:
191186, Санкт-Петербург, а/я 230, “АРС-ПАТЕНТ”, пат.пов. В.М.Рыбакову, рег. 90
|
(72) Автор(ы):
БРАНД Ян (DE), ШУБЕРТ Ян-Григор (DE)
(73) Патентообладатель(и):
БСХ БОШ УНД СИМЕНС ХАУСГЕРЕТЕ ГМБХ (DE)
|
(54) ЛИНЕЙНЫЙ КОМПРЕССОР
(57) Реферат:
Устройство предназначено для сжатия хладагента в холодильном устройстве. Линейный компрессор включает в себя нагнетательную камеру (14), в которой с возможностью возвратно-поступательного движения установлен поршень (15), жестко связанную с нагнетательной камерой (14) рамку (1, 2), в которой посредством по меньшей мере одной мембраны (4, 5) поддерживается с возможностью возвратно-поступательного движения колеблющееся тело (8), а также смонтированный в рамке (1, 2) по меньшей мере один электромагнит для приведения в возвратно-поступательное движение колеблющегося тела (8). Передаточная штанга (9) посредством первого шарнира (12) связана с поршнем (15), а посредством второго шарнира (11) связана с колеблющимся телом (8). Первый и/или второй шарнир (11, 12) образован упруго изгибаемым стержнем. Минимизирована передача поперечных сил от колеблющегося тела на поршень. 5 з.п. ф-лы, 4 ил.
Область техники
Данное изобретение относится к линейному компрессору, применяемому, в частности, для сжатия хладагента в холодильном устройстве.
Уровень техники
Из патентного документа US 6642377 B2 известен линейный компрессор с нагнетательной камерой, в которой с возможностью возвратно-поступательного движения смонтирован поршень, со связанной с нагнетательной камерой рамкой, в которой посредством по меньшей мере одной мембраны поддерживается с возможностью возвратно-поступательного движения колеблющееся тело, с установленным в рамке электромагнитом для привода возвратно-поступательного движения колеблющегося тела и с поршневым штоком, связывающим колеблющееся тело с поршнем.
Мембрана представляет собой пружинную мембрану, кромка которой укреплена на рамке, кольцеобразно окружающей нагнетательную камеру, и в центр которой посредством резьбы присоединены чашеобразное колеблющееся тело и конец поршневого штока. Другой конец поршневого штока имеет шарообразную форму и воздействует на шарнирный стакан, выполненный в поршне, так что поршневой шток и поршень имеют возможность поворота относительно друг друга. Соединение с возможностью поворота предотвращает передачу крутящих моментов от колеблющегося тела через поршневой шток на поршень, которые могли бы приводить к перекашиванию поршня в нагнетательной камере и препятствовать его подвижности. Чтобы обеспечивалась достаточная защита от перекоса, поршень должен иметь значительную длину. В соответствии с этим для поршня требуется больше места в нагнетательной камере, так что соотношение объема нагнетательной камеры и производительности становится скорее невыгодным.
Тем не менее поршневой шток может передавать на поршень также силы, ориентированные поперек направления его движения в нагнетательной камере, которые прижимают поршень к боковой стенке нагнетательной камеры. Контакт поршня с боковой стенкой привел бы к значительному износу в результате трения, поэтому в вышеназванном документе предлагается образовать между боковой стенкой и поршнем воздушный подшипник, который должен предотвращать такой контакт, отводя сжатый газ со стороны высокого давления линейного компрессора и подводя его в нагнетательную камеру через отверстия в боковой стенке. При этом образованная вдоль боковой стенки газовая пленка предотвращает непосредственный контакт между стенкой нагнетательной камеры и поршнем, пока расход газа достаточно высок.
Чем больше поперечно направленные силы, которые передаются поршневым штоком на поршень, тем больше газа должно подводиться обратно в камеру, чтобы предотвращать контакт поршня со стенкой. Вследствие этого понижается КПД компрессора.
Раскрытие изобретения
Задачей изобретения является создание линейного компрессора, в котором минимизирована передача поперечных сил от колеблющегося тела на поршень.
Задача решена благодаря тому, что образовано соединение передаточной штанги, шарнирно связанной с поршнем, с колеблющимся телом при помощи второго шарнира. Так передаточная штанга может передавать на поршень по существу только силы тяги и толкающие усилия, но не может передавать никаких существенных усилий, направленных в стороны.
Два шарнира реализуются особенно просто и недорого, если они образованы упруго изгибаемыми стержнями.
Такие стержни предпочтительно выполнены как единое целое с передаточной штангой и сделаны тоньше, чем она, чтобы достигать необходимую степень гибкости.
Первый шарнир предпочтительно связывает передаточную штангу с поршневым штоком, жестко прикрепленным к поршню и проведенным в нагнетательную камеру.
Краткий комментарий к чертежам
Дальнейшие признаки и преимущества изобретения видны из приведенного ниже описания варианта осуществления, ссылающегося на прилагаемые чертежи. На них показано следующее.
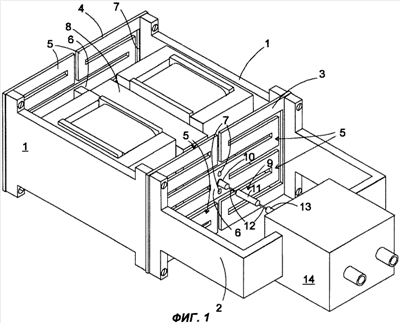
Фиг.1: аксонометрическое изображение линейного компрессора согласно изобретению.
Фиг.2: детальное изображение передаточной штанги, нагнетательной камеры и части колеблющегося тела при идеальном выравнивании.
Фиг.3 и 4: два релевантных для практики случая неидеального выравнивания поршня и колеблющегося тела, по аналогии с фиг.2.
Осуществление изобретения
Линейный компрессор, показанный в аксонометрическом изображении на фиг.1, имеет жесткую раму, в плане приблизительно U-образной формы, которая составлена из трех частей, а именно из двух плоских стенок 1 и скобы 2. Между обращенными друг к другу торцевыми сторонами скобы 2 и двух стенок 1 зажата первая пружинная мембрана 3; вторая пружинная мембрана 4 такой же формы, как и первая пружинная мембрана 3, укреплена на торцевых сторонах стенок 1, обращенных в противоположном скобе направлении.
Пружинные мембраны 3, 4, изготовленные путем штамповки из пластины пружинной стали, имеют по одной продольные кромке, которая перекрывает торцы стенок 1, и по четыре пружинных ветви 5, проходящих зигзагами от концов кромок к среднему участку 6, на котором они сходятся. В среднем участке 6 имеются три отверстия – два внешних, на которых с помощью болтов или заклепок 7 закреплено колеблющееся тело 8 на основе постоянного магнита, и среднее отверстие, через которое в пружинной мембране 3 проходит прикрепленная к колеблющемуся телу 8, например, на резьбе, тяга 10. Тяга 10 связана с передаточной штангой 9, в данном случае изготовленной из пружинной стали, через упруго изгибаемый суженный участок 11. Второй суженный участок 12 связывает передаточную штангу 9 в единое целое с поршневым штоком 13, который входит в укрепленную на скобе 2 нагнетательную камеру 14, проходя через отверстие в передней стенке нагнетательной камеры, и внутри нагнетательной камеры 14 связан с двигающимся в ней поршнем 15 (см. фиг.2).
Два электромагнита с Е-образными сердечниками и с секциями обмотки, намотанными вокруг средней перекладины буквы «Е», расположены соответственно между колеблющимся телом 8 и стенками 1, обращены полюсными наконечниками к колеблющемуся телу 8 и служат для приведения колеблющегося тела 8 в колебательное движение.
Так как поршневой шток 15, жестко связанный с поршнем 15, проведен через отверстие в торце нагнетательной камеры 14, поршень 15 защищен от перекашивания, даже если его протяженность в направлении возвратно-поступательного движения незначительна. Поэтому поршень 15 занимает мало места в нагнетательной камере 14, так что при небольших габаритных размерах достигается большой эффективный объем.
Нагнетательная камера 14 окружена кольцеобразной полостью 16, которая сообщается с нагнетательной камерой 14 через множество отверстий 17 в ее боковой стенке и которая наполняется сжатым газом, отводимым через проход 18 от напорного патрубка 19 нагнетательной камеры. Сжатый газ, проникающий через отверстия 17 в нагнетательную камеру 14, образует у боковой стенки подушку, по которой поршень 15 скользит по существу без трения.
В идеальном случае передаточная штанга 9, как показано на фиг.2, проходит по прямой линии между колеблющимся телом 8 и поршнем 15, и направления движения колеблющегося тела 8 и поршня 15 строго параллельны. На практике по причине производственных допусков всегда появляются отклонения от такой идеальной конфигурации, будь то неточное совпадение оси нагнетательной камеры 14 с осью колеблющегося тела 8 или несовпадение направлений движения колеблющегося тела 8 и поршня 15, возникшее вследствие отклонений при креплении пружинных мембран 3, 4 к рамке и к колеблющемуся телу 8.
На фиг.3 показан в изображении, аналогичном фиг.2, случай бокового смещения осей колеблющегося тела 8 и поршня 15. Продольные оси тяги 10 и поршневого штока 13 параллельны, но не совпадают друг с другом. Отклонение компенсируется легкой упругой деформацией сужающихся участков 11, 12 и незначительным перекосом передаточной штанги 9. Поршень 15 совершает возвратно-поступательное движение в нагнетательной камере 14, не испытывая воздействия существенных перекашивающих крутящих моментов или боковых сил, прижимающих поршень 15 к стенке нагнетательной камеры 14. Поэтому имеется возможность поддерживать зазор между поршнем 15 и стенкой нагнетательной камеры небольшим, так что для опирания поршня 15 требуется только незначительный расход газа, и соответственно достигается более высокий КПД компрессора.
На фиг.4 показан случай не строго параллельного выравнивания направлений движения колеблющегося тела 8 и поршня 15. Оно компенсируется с помощью гибких сужающихся участков 11, 12, причем передаточная штанга 9, как показано штриховыми линиями, между крайними точками своего движения совершает не только сдвиг, но и незначительный поворот.
В принципе, сужающиеся участки 11, 12 могли бы быть заменены также шаровыми или карданными шарнирами; однако конструкция с сужающимися участками особенно способствует миниатюризации и недорога в изготовлении.
Формула изобретения
1. Линейный компрессор, включающий в себя нагнетательную камеру (14), в которой с возможностью возвратно-поступательного движения установлен поршень (15), жестко связанную с нагнетательной камерой (14) рамку (1, 2), в которой посредством по меньшей мере одной мембраны (4, 5) поддерживается с возможностью возвратно-поступательного движения колеблющееся тело (8), смонтированный в рамке (1, 2) по меньшей мере один электромагнит для приведения в возвратно-поступательное движение колеблющегося тела (8) и передаточную штангу (9), связанную с колеблющимся телом (8) и посредством первого шарнира (12) связанную с поршнем (15), причем соединение передаточной штанги (9) с колеблющимся телом (8) образовано вторым шарниром (11), отличающийся тем, что первый и/или второй шарнир (11, 12) образован упруго изгибаемым стержнем.
2. Линейный компрессор по п.1, отличающийся тем, что каждый из шарниров (11, 12) имеет две степени свободы поворота.
3. Линейный компрессор по п.2, отличающийся тем, что стержень (11, 12) составляет единое целое с передаточной штангой (9) и выполнен более тонким, чем передаточная штанга.
4. Линейный компрессор по п.3, отличающийся тем, что передаточная штанга (9) выполнена из пружинного материала.
5. Линейный компрессор по пп.1-4, отличающийся тем, что поршень (15) в нагнетательной камере (14) имеет опору, образованную сжатым газом.
6. Линейный компрессор по одному из пп.1-4, отличающийся тем, что передаточная штанга (9) посредством первого шарнира (12) соединена с поршневым штоком (13), жестко связанным с поршнем (15) и проведенным в нагнетательную камеру (14).
РИСУНКИ
|
|