|
|
(21), (22) Заявка: 2008151795/06, 25.12.2008
(24) Дата начала отсчета срока действия патента:
25.12.2008
(46) Опубликовано: 20.06.2010
(56) Список документов, цитированных в отчете о поиске:
US 6151897 А, 28.11.2000. JP 2005226573 A, 25.08.2005. JP 64080775 A, 27.03.1989. RU 2008522 C1, 28.02.1994. RU 2041389 C1, 08.09.1995.
Адрес для переписки:
350072, г.Краснодар, ул. Московская, 2, ГОУВПО “КубГТУ”, ОИиПСиЭП, проректору по НиИД, проф. В.С. Симанкову
|
(72) Автор(ы):
Бледнова Жесфина Михайловна (RU), Галкин Валерий Владимирович (RU), Чаевский Михаил Иосифович (RU), Мышевский Игорь Сергеевич (RU), Проценко Николай Александрович (RU)
(73) Патентообладатель(и):
Государственное образовательное учреждение высшего профессионального образования “Кубанский государственный технологический университет” (ГОУВПО “КубГТУ”) (RU)
|
(54) ТЕРМОМЕХАНИЧЕСКИЙ СИЛОПРИВОД
(57) Реферат:
Привод предназначен для системы терморегулирования и малогабаритных приводов. Привод состоит из корпуса, в котором размещен шток с поршнем, делящим полость корпуса на две камеры с термоизоляцией, в каждой из которых установлен комплект цилиндрических пружин, состоящий из двух пружин большего и меньшего диаметра, причем пружины меньшего диаметра вставлены в пружины большего диаметра. Все пружины выполнены из термочувствительного сплава с эффектом памяти формы и в начальном положении в одной камере установлены в сжатом состоянии, в другой в растянутом, а каждая камера снабжена электромагнитными клапанами для впуска и выпуска горячей или холодной воды или другой жидкости, в зависимости от температуры мартенситных превращений термочувствительного сплава пружин. Технический результат – снижение массово-габаритных характеристик. 2 з.п. ф-лы, 2 ил.
Изобретение относится к термочувствительным устройствам и может быть использовано в первую очередь для предохранения никель-водородных и литий-ионных аккумуляторов от перегрузки и, кроме того, в качестве термодатчика, термореле, термопереключателя, преобразователя тепловой энергии в механическую, а также для создания малогабаритных приводов и устройств, способных развивать сравнительно большие усилия и т.д.
Известна конструкция термомеханического силопривода (ТС) в виде набора тарельчатых пружин (С.В.Шишкин, Н.А.Махутов. Расчет и проектирование силовых конструкций на сплавах с эффектом памяти формы. Москва-Ижевск, 2007. – С.127). Эта конструкция обеспечивает только малые перемещения штока силопривода, порядка 10-12 мм.
Известны конструкции термомеханических силоприводов, в которых перемещения осуществляются за счет пружин из сплавов с эффектом памяти формы ЭПФ (И.Э.Вяххи. Сплавы с эффектом памяти формы (ЭПФ) для создания линейного перемещения исполнительных устройств. «Актуальные проблемы прочности», Витебск, 2004. – С.40-46). Силовой элемент в форме пружины, изготовленный из сплавов с ЭПФ, обладает важным преимуществом, способностью к большим перемещениям, однако развиваемое усилие не велико (малогабаритные устройство размером порядка 30 мм способно создавать перемещение 8-12 мм, но развиваемое усилие не превышает 2-6 Н).
Задачей предлагаемого технического решения является снижение массово-габаритных характеристик, т.е. создание более компактной и меньшего веса конструкции термомеханического силопривода, имеющего лучшие механические параметры при максимально возможном силовом воздействии.
Задача решается с помощью предлагаемого термомеханического силопривода, состоящего из корпуса, в котором размещен шток с поршнем, делящим полость корпуса на две камеры с термоизоляцией, в каждой из которых установлен комплект цилиндрических пружин, состоящий из двух пружин большего и меньшего диаметра, причем пружины меньшего диаметра вставлены в пружины большего диаметра, все пружины выполнены из термочувствительного сплава с эффектом памяти формы и в начальном положении в одной камере установлены в сжатом состоянии, в другой в растянутом, а каждая камера снабжена электромагнитными клапанами для впуска и выпуска горячей или холодной жидкости, например солевых растворов или воды, в зависимости от температуры мартенситных превращений термочувствительного материала пружин. Пружины могут быть выполнены из нитинола, а корпус с термоизоляцией. Применение предложенной конструкции за счет использования двойных пружин из материала с памятью формы и расположения их в двух камерах, разделенных поршнем, позволяет создать минипривод с габаритными размерами менее 30 мм, увеличить развиваемое усилие при снижении массово-габаритных характеристик, т.е снижение материалоемкости конструкции. В результате сила, развиваемая штоком, увеличивается в два раза (по сравнению с существующими конструкциями из двух пружин).
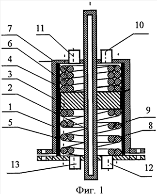
На фиг.1 и 2 показан термомеханический силопривод в верхнем (фиг.1) и в нижнем положениях (фиг.2). Термомеханический силопривод состоит из корпуса 1, в котором расположен шток 2 с поршнем 3, делящим корпус 1 на две камеры. В камере 4 установлена пружин 6 большего и пружина 7 меньшего диаметра, расположенная в пружине 6, обе пружины при комнатной температуре находятся в сжатом состоянии. В камере 5, аналогично, расположены пружина 8 большего диаметра и пружина 9 меньшего диаметра, при комнатной температуре находящиеся в растянутом состоянии. В камере 4 расположены электромагнитные клапаны 10 и 11 для пуска и выпуска горячей и холодной жидкости, например воды, в камере 5 установлены электромагнитные клапаны 12 и 13 для впуска и выпуска горячей или холодной жидкости, например воды. Пружины выполнены из нитинола. Если для мартенситных превращений в применяемой проволоке из нитинола титана достаточно температуры до 100°С, то в качестве жидкости можно применять воду. При более высоких температурах необходимо применять солевые растворы.
Последовательность работы ТС следующая. Через клапан 10 подается горячая жидкость, которая выливается через клапан 11 (фиг.1). Под действием мартенситных превращений пружины 6 и 7 разжимаются и давят на поршень 3, сжимают пружины 8 и 9 и совершают работу на перемещении штока 2 (фиг.2). Затем горячая жидкость через клапан 12 подается в зону сжатых пружин и через клапан 13 выливается (фиг.2). Одновременно через клапан 10 к верхним пружинам подается холодная жидкость, а через клапан 11 она сливается. Благодаря мартенситным превращениям пружины 8 и 9 разжимаются, давят на поршень 3, сжимают пружины 6 и 7 и совершают работу на перемещении штока 2 в обратном направлении (фиг.1).
Работа ТС может быть одноразовой, а может быть многократной. В последнем случае ТС превращается в машину, в которой тепловая энергия превращается в механическую.
Формула изобретения
1. Термомеханический силопривод, состоящий из корпуса, в котором размещен шток с поршнем, делящим полость корпуса на две камеры, в каждой из которых установлен комплект цилиндрических пружин, состоящий из двух пружин большего и меньшего диаметра, причем пружины меньшего диаметра вставлены в пружины большего диаметра, все пружины выполнены из термочувствительного сплава с эффектом памяти формы и в начальном положении в одной камере установлены в сжатом состоянии, в другой – в растянутом, а каждая камера снабжена электромагнитными клапанами для впуска и выпуска горячей или холодной воды или другой жидкости, в зависимости от температуры мартенситных превращений термочувствительного сплава пружин.
2. Термомеханический силопривод, отличающийся тем, что пружины выполнены из нитинола.
3. Термомеханический силопривод, отличающийся тем, что корпус выполнен с термоизоляцией.
РИСУНКИ
|
|