|
|
(21), (22) Заявка: 2009108498/06, 11.03.2009
(24) Дата начала отсчета срока действия патента:
11.03.2009
(46) Опубликовано: 20.06.2010
(56) Список документов, цитированных в отчете о поиске:
RU 2273765 C1, 10.04.2006. RU 2280782 C2, 27.07.2006. SU 1307082 A1, 30.04.1987. SU 1000584 A1, 05.03.1983. SU 1174 A1, 30.04.1926. EP 0008590 A1, 19.03.1980.
Адрес для переписки:
109457, Москва, ул. Зеленодольская, 36, корп.2, кв.43, А.З. Кантемирову
|
(72) Автор(ы):
Кантемиров Айвар Заурбекович (RU)
(73) Патентообладатель(и):
Кантемиров Айвар Заурбекович (RU)
|
(54) ВЕТРОСИЛОВАЯ УСТАНОВКА (ВСУ) КАРУСЕЛЬНОГО ТИПА С ЦИКЛИЧНО ПЛАВНО КРУТЯЩИМИСЯ, В ПРОТИВОФАЗЕ РОТОРУ, СИММЕТРИЧНЫМИ ЛОПАСТЯМИ
(57) Реферат:
Изобретение относится к области ветроэнергетики и может быть использовано для привода различных устройств, а также для производства электроэнергии. ВЭУ содержит лопасти, установленные на осях, расположенных параллельно оси вращения ротора, и снабженные приводами вращения лопасти вокруг своей оси, обеспечивающими их плавный разворот на полоборота в противоположном направлении относительно направления вращения ротора при его полном обороте вокруг своей оси, приводы могут быть либо механическими, работающими через механическую связь с ориентированной по направлению ветра шестерней или с также ориентированными по направлению ветра и сблокированными по количеству цепей звездочками на центральной оси ротора, либо электроприводами вращения лопастей вокруг своих осей, при этом электронные команды с датчиков ветра флюгера и анемометра, расположенных на ветросиловой установке, подаются либо на исполнительный электропривод подстройки под направление ветра центральной шестерни, находящейся на оси ротора, или сблокированных звездочек механического привода, находящихся на оси ротора, либо на электроприводы вращения лопастей вокруг своих осей. ВЭУ может быть снабжена второй такой же установкой с направлением вращения ротора в противоположную ротору первой установки сторону. Изобретение обеспечивает повышение коэффициента использования энергии ветра путем устранения пульсаций крутящего момента при его использовании для привода вентилятора, насоса, гребного винта корабля, электрогенератора в качестве нагрузочного устройства. 9 з.п. ф-лы, 10 ил.
Изобретение относится к области силовых механизмов, а именно к ветряным двигателям, и может быть использовано для привода вентилятора при вентилировании помещений, насоса при перекачивании жидкостей, гребного винта корабля, но основную ценность данное изобретение имеет в области электроэнергетики при работе с электрогенератором в качестве нагрузочного устройства, связанного с валом ротора ветросиловой установки.
Технический результат, заключающийся в достижении больших крутящих моментов в работе ВСУ карусельного типа данного изобретения, даже при малой скорости ветра, и как следствие увеличение коэффициента использования энергии ветра, обеспечивается за счет того, что в работу вовлечены одновременно почти все лопасти с одновременным, практически полным избавлением от главного недостатка вертикально-осевых турбин – пульсации крутящего момента, приводящей к нежелательным пульсациям выходных параметров генератора, а все потому, что в симметричных лопастях ротора с наивысшим возможным коэффициентом полезного действия использован принцип работы самой совершенной лопастной машины – паруса, который непосредственно использует энергию ветра для движения. Только в ВСУ данного изобретения лопасть в любой точке траектории своего движения, по окружности вокруг оси ротора, находится практически под оптимальным углом к вектору силы ветра, работая на части траектории движения как парус, максимально поглощая энергию ветра, а на остальной части траектории как крыло, используя эффект подъемной силы от ветровых потоков, подходящих к лопасти под острым углом, плавно переходя из одного состояния (парус) в другое (крыло). Это достигается за счет плавного вращения лопасти на пол-оборота в противоположную вращению ротора сторону, на 180°, вокруг своей оси, параллельной оси вращения ротора установки, за время полного оборота ротора установки. И математически в любой точке этой траектории, кроме одной лишь точки прохождения, с максимальной скоростью навстречу ветру, когда парусность лопасти по отношению к ветру практически равна нулю, все лопасти действуют с однознаковыми моментами силы на ротор. А в точке максимального раскрытия парусности лопасти под вектор силы ветра, находясь в попутном движении ветру, и создаваемый момент силы является в этой точке к тому же максимальным, потому что в этой точке у движущей силы лопасти и самое длинное плечо.
Автору не известны источники научно-технической и патентной информации, содержащие сведения об аналогичных технических решениях, имеющих признаки, сходные с признаками, отличающими заявляемое решение от прототипа, а также свойства, совпадающие со свойствами заявляемого решения, поэтому можно считать, что оно обладает существенными отличиями, позволяющими при практическом осуществлении создавать новые мощные и удобные в эксплуатации ВСУ. Хотя можно с натяжкой провести сравнение со способом и устройством для генерирования электрической энергии путем преобразования энергии уплотненного воздушного потока (см. патент Российской Федерации RU 2268396, 2002.04.10). Недостатком схемы по данному патенту является громоздкое по сравнению с размерами ветрогенератора используемое ветроколлекторное устройство для сбора ветровой энергии с обеспечением достаточно сильного воздушного потока на полезную часть рабочего органа ветрогенератора. Ветроколлекторное устройство используется также для уменьшения аэродинамического сопротивления при инверсном движении лопаток ветровой турбины, то есть в направлении, противоположном тому, которое соответствует фактическому направлению ветра, экранируя естественный воздушный поток. К тому же все это ветроколлекторное устройство целиком приходится ориентировать по изменяющемуся направлению ветра.
Задачей, на решение которой направлено предложенное решение данного изобретения, является избавление ВСУ карусельного типа от главного недостатка ветродвигателей данного типа – неоптимальных углов атаки в разных положениях лопасти на окружности вращения, основной причины потерь снимаемой энергии ветрового потока.
Поставленная задача решается в ветросиловой установке (ВСУ) карусельного типа с циклично плавно крутящимися, в противофазе ротору, симметричными лопастями, содержащей лопасти, установленные на осях, расположенных параллельно оси вращения ротора, и снабженные приводами вращения лопасти вокруг своей оси, обеспечивающими их плавный разворот на полоборота в противоположном направлении относительно направления вращения ротора при его полном обороте вокруг своей оси, приводы могут быть либо механическими, работающими через механическую связь с ориентированной по направлению ветра шестерней или с также ориентированными по направлению ветра и сблокированными по количеству цепей звездочками на центральной оси ротора, либо электроприводами вращения лопастей вокруг своих осей, при этом электронные команды с датчиков ветра флюгера и анемометра, расположенных на ветросиловой установке, подаются либо на исполнительный электропривод подстройки под направление ветра центральной шестерни, находящейся на оси ротора, или сблокированных звездочек механического привода, находящихся на оси ротора, либо на электроприводы вращения лопастей вокруг своих осей.
Вал ВСУ может быть связан с нагрузочным устройством, например вентилятором, гребным винтом корабля, насосом и/или электрогенератором.
Оси лопастей снабжены механизмами с автодоводчиками, позволяющими фиксировать лопасти в рабочем и нейтральном, поперечном к радиусу ротора, положении на время ремонта и/или штилевого простоя установки.
В плоскостях лопастей установки имеются перекрываемые заслонками отверстия, открытие которых уменьшает парусность лопастей и, как следствие, снижает этим крутящий момент от воздействия ветра.
Один привод вращения лопасти вокруг своей оси приводит во вращение вокруг своих осей два и/или большее количество лопастей.
На установку устанавливается кожух-обтекатель, прикрывающий от ветра часть ротора, где идет инверсное, навстречу ветру, движение лопастей, выполненный с возможностью отбрасывать потоки воздуха на выходящие из-под кожуха-обтекателя лопасти и ориентированный по направлению ветра посредством центральной шестерни или сблокированных звездочек на оси ротора.
ВСУ может быть снабжена второй такой же установкой с направлением вращения ротора в противоположную ротору первой установки сторону так, что они обе являются аэровзаимоуравновешенными, при этом обе установки могут быть размещены как рядом, на параллельных осях с инверсионным движением лопастей, по отношению к ветру, в середине спарки, так и последовательно, на одной оси, причем ветросиловые установки подвешены к парящему на уровне высотных постоянных ветров дирижаблю, заякоренному к земле канатом с энергоспускающим кабелем.
ВСУ может быть снабжена второй такой же установкой с направлением вращения ротора в противоположную ротору первой установки сторону так, что они обе являются аэровзаимоуравновешенными, при этом обе установки размещены рядом на параллельных осях с инверсионным движением лопастей по отношению к ветру в середине спарки, ветросиловые установки подвешены к парящему на уровне высотных постоянных ветров дирижаблю, заякоренному к земле канатом с энергоспускающим кабелем, и имеют кожух-обтекатель, выполненный с возможностью рассекать воздушный поток, набегающий на часть инверсионно движущихся лопастей установок, и отбрасывать эти уплотненные воздушные потоки на выходящие из аэротени кожуха-обтекателя лопасти.
ВСУ может быть соединена со второй такой же установкой с направлением вращения ротора в противоположную ротору первой установки сторону, обе установки передают крутящий момент на один электрогенератор, при этом одна из установок вращает якорь электрогенератора, а другая – его статор.
Лопасти по высоте могут быть разделены на две или больше частей диском или дисками жесткости, усиливающими связи оси ротора с осями лопастей в местах разделения их по высоте, при этом все разделенные части одной лопасти работают как одна целая лопасть.
Ветровой поток, проходя под оптимальными углами лопасти, проходящими по траектории с обдуваемой стороны окружности ротора ВСУ данного изобретения, немного изменяет направление вектора силы ветра и подходит снова под оптимальными углами к тем лопастям, которые находятся на траектории движения с аэрозатененной части окружности ротора ВСУ, и происходит повторное энергетическое воздействие воздушного потока на ВСУ.
Изобретение поясняется чертежами, где:
на Фиг.1 изображена принципиальная конструктивная схема ВСУ карусельного типа с циклично плавно крутящимися в противофазе ротору симметричными лопастями с условно показанным кожухом-обтекателем;
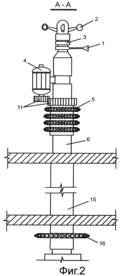
на Фиг.2 – то же, разрез А-А, с обзором сбоку, по вертикали оси ВСУ, сблокированных звездочек, с флюгером, датчиком ветра, механизмом коррекции лопастей под направление ветра;
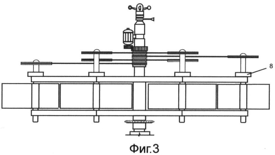
на Фиг.3 – ВСУ данного изобретения, вид сбоку;
на Фиг.4 – симметричная лопасть с понижающими ее парусность заслонками;
на Фиг.5 – ВСУ данного изобретения с одним дополнительным диском жесткости, разделившим лопасти по высоте на две части;
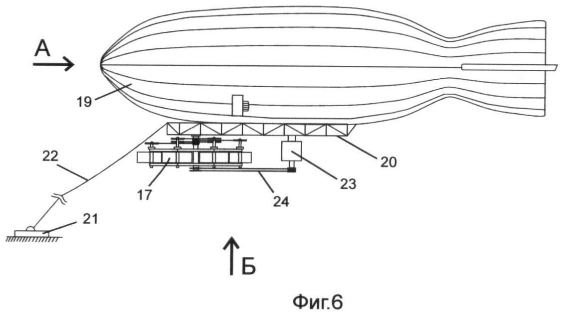
на Фиг.6 – вид сбоку заякоренного к земле дирижабля с подвешенными к нему спаренными ВСУ данного изобретения;
на Фиг.7 – то же, вид спереди;
на Фиг.8 – то же, вид снизу;
на Фиг.9 – аксонометрическая схема ВСУ данного изобретения;
на Фиг.10 – то же с одним дополнительным диском жесткости, разделившим лопасти по высоте на две части.
Предлагаемое изобретение может быть реализовано в виде нескольких разных наборов из вышеописанных компонентов, которые, будучи достаточно простыми конструкторскими решениями, помогают выполнять сложную экономическую задачу – существенно повысить кпд ВСУ карусельного типа.
ВСУ данного изобретения работает следующим образом. Флюгер 1 и анемометр 2, ориентируясь по возникающему ветровому потоку, способствуют выдаче с ветровых датчиков 3 командных электроимпульсов на исполнительный электропривод 4 коррекции ориентации сблокированных звездочек 5 на оси 6 ротора 7 ВСУ и на механизмы автодоводчиков 8 лопастей 9, которые могут быть с закрываемыми заслонками 10 отверстиями, служащими для временного уменьшения парусности лопастей. Корректирующий электропривод через пару звездочек или шестерен 11 подворачивает сблокированные звездочки под направление ветра, сблокированные звездочки через цепи 12, количество которых совпадает с количеством звездочек в сблокировавшем их узле, выставляют в рабочее положение звездочки 13 привода лопастей во вращение вокруг их осей 14. Механизмы автодоводчиков разворачивают лопасти из пассивного положения, когда лопасти расположены перпендикулярно радиусу ротора, в рабочее положение, когда лопасти на окружности ротора находятся под оптимальными углами атаки воздушным потоком, и фиксируют в рабочем зацеплении оси лопастей с их звездочками. Под воздействием воздушного потока ротор начинает вращаться, цепи наматываются в процессе этого вращения на неподвижные сблокированные звездочки оси ротора и приводят в плавное вращение лопасти вокруг их осей через их звездочки. Соотношением один к двум количества зубьев на звездочке 5 сблокированного узла к количеству зубьев звездочки 13 на оси лопасти добиваемся цикличности поворота лопасти на полоборота вокруг своей оси при одном полном обороте ротора. И поэтому использованы симметричные лопасти, потому что на обдуваемую сторону ВСУ лопасть за два оборота ротора выходит сперва одной своей плоскостью, а затем другой своей стороной. Точно такого же эффекта, полоборота лопасти вокруг своей оси за полный оборот ротора, можно достичь применив электроприводы вращения лопастей вокруг своих осей, а командные импульсы на электроприводы посылая с датчиков ветра и ориентации ротора через компьютер. Необходимо приложение минимума усилий приводов для поддержания плавного вращательного движения лопастей вокруг их осей, так как они крутятся инерционно равномерно, без колебательных движений. Открытием заслонок лопастей можно снижать воспринимаемое ими давление ураганного ветрового потока, не позволяя ветру разрушить ВСУ. При изменении направления ветрового потока исполнительный электропривод сблокированных звездочек под действием командных электроимпульсов с датчиков ветра на флюгере плавно подворачивает сблокированные звездочки под изменившееся направление ветра, соответственно, вынуждая и лопасти подстроиться под новый ветровой поток. ВСУ данного изобретения обладает острой реакцией на изменение направления ветрового потока, потому что весовая масса деталей данного ВСУ, корректирующих свою пространственную ориентацию под изменяющееся направление ветра, существенно меньше, чем весовая масса ВСУ прототипов, которые приходится целиком разворачивать к направлению ветра, а это бывает порой больше сотни тонн веса. Полезная нагрузка с ВСУ данного изобретения снимается с помощью сидящей на втулке 15 ротора ВСУ шестерни или звездочки 16, находящейся в зацеплении с валом нагрузочного устройства (условно не показано). Инверсивно движущиеся лопасти могут быть частично прикрыты кожухом-обтекателем (условно не показан), направляющим ветровой уплотненный поток на выходящие из-под кожуха-обтекателя лопасти, что повышает кпд ВСУ. Еще один технический результат, заключающийся в исключении нестабильности выработки электроэнергии электрогенератором ВСУ из-за изменчивости силы ветрового потока, вплоть до штилевой погоды, достигается применением спаренных ВСУ 17 данного изобретения, с вращением роторов 18 в противоположных направлениях, для достижения их аэровзаиморавновесия, подвешенных к прикрепленной под дирижаблем 19 пространственной несущей ферме 20. Заякоренный грузом 21 к земле канатом 22 с энергоспускающим кабелем дирижабль поднимает подвешенный к нему спаренный блок ВСУ данного изобретения до уровня высотных постоянных ветровых потоков, где и висят они, вырабатывая электроэнергию, спускаемую по кабелю на землю, а всю конструкцию опускают вниз только для технического обслуживания ее.
Мы уходим от проблемы выработки электроэнергии тихоходными ВСУ карусельного типа с необходимостью применения понижающего кпд ВСУ мультипликатора, в варианте с подвеской под дирижаблем спаренного блока ВСУ данного изобретения используя способ увеличения взаимной скорости вращения якоря электрогенератора 23 относительно его статора за счет того, что одна из этих ВСУ с помощью привода 24 вращает якорь, а другая ВСУ вращает в противоположном направлении статор, чем снижается вес конструкции из-за отказа от мультипликатора и, соответственно, повышается кпд сдвоенного блока ВСУ, что является еще одним техническим результатом метода использования ВСУ данного изобретения.
Еще один технический результат, заключающийся в увеличении мощности без увеличения диаметра ротора ВСУ данного изобретения, достигается увеличением сметаемой лопастями площади воздушного потока через увеличение высоты ротора, а чтобы устойчивость лопастей к нагрузкам не снижалась, они разделены по высоте на две или больше частей дополнительным диском 25 или дополнительными дисками жесткости, дополнительно усиливающим или усиливающими связи оси ротора с осями лопастей в местах разделения их по высоте, при этом все разделенные части одной лопасти работают как одна целая лопасть. А так как из двух ВСУ одинаковой крутящей мощности та, которая с ротором меньшим диаметром, является более быстроходной, то и параметры вырабатываемой электроэнергии многоярусного ВСУ данного изобретения меньше нуждаются в коррекции преобразователем.
Формула изобретения
1. Ветросиловая установка карусельного типа с циклично плавно крутящимися, в противофазе ротору, симметричными лопастями, содержащая лопасти, установленные на осях, расположенных параллельно оси вращения ротора, и снабженные приводами вращения лопасти вокруг своей оси, обеспечивающими их плавный разворот на полоборота в противоположном направлении относительно направления вращения ротора при его полном обороте вокруг своей оси, приводы могут быть либо механическими, работающими через механическую связь с ориентированной по направлению ветра шестерней, или с так же ориентированными по направлению ветра и сблокированными по количеству цепей звездочками на центральной оси ротора, либо электроприводами вращения лопастей вокруг своих осей, при этом электронные команды с датчиков ветра флюгера и анемометра, расположенных на ветросиловой установке, подаются либо на исполнительный электропривод подстройки под направление ветра центральной шестерни, находящейся на оси ротора, или сблокированных звездочек механического привода, находящихся на оси ротора, либо на электроприводы вращения лопастей вокруг своих осей.
2. Ветросиловая установка по п.1, отличающаяся тем, что вал установки связан с нагрузочным устройством, например, вентилятором, гребным винтом корабля, насосом и/или электрогенератором.
3. Ветросиловая установка по п.1, отличающаяся тем, что оси лопастей снабжены механизмами с автодоводчиками, позволяющими фиксировать лопасти в рабочем и нейтральном, поперечном к радиусу ротора, положении на время ремонта и/или штилевого простоя установки.
4. Ветросиловая установка по п.1, отличающаяся тем, что в плоскостях лопастей установки имеются перекрываемые заслонками отверстия, открытие которых уменьшает парусность лопастей и, как следствие, снижает этим крутящий момент от воздействия ветра.
5. Ветросиловая установка по п.1, отличающаяся тем, что один привод вращения лопасти вокруг своей оси приводит во вращение вокруг своих осей два и/или большее количество лопастей.
6. Ветросиловая установка по п.1, отличающаяся тем, что на установку устанавливается кожух-обтекатель, прикрывающий от ветра часть ротора, где идет инверсное, навстречу ветру, движение лопастей, выполненный с возможностью отбрасывать потоки воздуха на выходящие из-под кожуха-обтекателя лопасти и ориентированный по направлению ветра посредством центральной шестерни или сблокированных звездочек на оси ротора.
7. Ветросиловая установка по любому из пп.1-6, отличающаяся тем, что она снабжена второй такой же установкой с направлением вращения ротора в противоположную ротору первой установки сторону так, что они обе являются аэровзаимоуравновешенными, при этом обе установки могут быть размещены как рядом, на параллельных осях с инверсионным движением лопастей, по отношению к ветру, в середине спарки, так и последовательно, на одной оси, причем ветросиловые установки подвешены к парящему на уровне высотных постоянных ветров дирижаблю, заякоренному к земле канатом с энергоспускающим кабелем.
8. Ветросиловая установка по любому из пп.1-6, отличающаяся тем, что она снабжена второй такой же установкой с направлением вращения ротора в противоположную ротору первой установки сторону так, что они обе являются аэровзаимоуравновешенными, при этом обе установки размещены рядом на параллельных осях с инверсионным движением лопастей, по отношению к ветру, в середине спарки, ветросиловые установки подвешены к парящему на уровне высотных постоянных ветров дирижаблю, заякоренному к земле канатом с энергоспускающим кабелем, и имеют кожух-обтекатель, выполненный с возможностью рассекать воздушный поток, набегающий на часть инверсионно движущиеся лопасти установок и отбрасывать эти уплотненные воздушные потоки на выходящие из аэротени кожуха-обтекателя лопасти.
9. Ветросиловая установка по любому из пп.1-6, отличающаяся тем, что она соединена со второй такой же установкой с направлением вращения ротора в противоположную ротору первой установки сторону, обе установки передают крутящий момент на один электрогенератор, при этом одна из установок вращает якорь электрогенератора, а вторая – его статор.
10. Ветросиловая установка по п.1, отличающаяся тем, что лопасти по высоте разделены на две или больше частей диском или дисками жесткости, усиливающими связи оси ротора с осями лопастей в местах разделения их по высоте, при этом все разделенные части одной лопасти работают как одна целая лопасть.
РИСУНКИ
|
|