|
|
(21), (22) Заявка: 2008151281/06, 23.12.2008
(24) Дата начала отсчета срока действия патента:
23.12.2008
(46) Опубликовано: 20.06.2010
(56) Список документов, цитированных в отчете о поиске:
GB 2340892 А, 01.03.2000. SU 1583649 A1, 07.08.1990. RU 23317 U1, 10.06.2002. US 4188788 A, 19.02.1980. GB 862498 A, 08.03.1961.
Адрес для переписки:
672039, г.Чита, ул. Александро-Заводская, 30, ЧитГУ, патентно-лицензионный отдел, Л.Ю. Литвиновой
|
(72) Автор(ы):
Курбатов Николай Евгеньевич (RU), Курбатов Евгений Николаевич (RU)
(73) Патентообладатель(и):
Государственное образовательное учреждение высшего профессионального образования Читинский государственный университет (ЧитГУ) (RU)
|
(54) УСТРОЙСТВО ДЛЯ ИСПОЛЬЗОВАНИЯ ЭНЕРГИИ ТЕКУЧЕЙ СРЕДЫ
(57) Реферат:
Изобретение относится к области гидроэнергетики и может быть использовано для снабжения производственных предприятий технологической водой. Устройство для использования энергии текучей среды содержит корпус 1, гидротурбину и объемный насос 5. Устройство снабжено ускорителями потока 7 и 8, расположенными в вертикальной плоскости параллельно оси устройства симметрично с наружной части корпуса 1 и выполненными в виде трубок с увеличивающимся к торцам поперечным сечением, крыльями 19, расположенными с наружной части корпуса 1 и установленными на валу, расположенному в горизонтальной плоскости перпендикулярно оси устройства, а также дифференциальным манометром, установленным в корпусе 1, разноименные полости манометра посредством пьезометрических трубок связаны с внутренними полостями ускорителей потока 7 и 8. Мембрана манометра посредством тяги, имеющей возможность возвратно-поступательного перемещения, связана с диском, жестко установленным на валу. Изобретение направлено на увеличение кпд устройства и обеспечение его работы в условиях зимнего времени. 1 з.п. ф-лы, 4 ил.
Изобретение относится к области гидроэнергетики и может быть использовано для снабжения производственных предприятий технологической водой.
Известен силовой агрегат, приводимый в действие потоком жидкости, содержащий раму, установленную на поплавках, соосно установленные на раме генераторы, валы которых расположены поперек потока, рабочие колеса с лопастями цилиндрической формы, при этом рабочие колеса размещены по обе стороны от каждого из генераторов с образованием рядов вдоль и поперек потока, валы колес расположены параллельно валам генераторов и в поперечных рядах жестко соединены между собой, а в продольных – с валом генератора своего ряда посредством ременной передачи со шкивами, в поперечных рядах шкивы колес, расположенных относительно генератора далее по потоку, выполнены меньшего диаметра, чем шкивы колес, расположенных ближе по потоку (см. А.С. 1661469, МПК F03B 13/12, опубл. 07.07.91).
В данном устройстве кпд не может быть высоким ввиду большого количества рабочих колес, каждое из которых вращается на отдельных опорах, а их валы соединены с валом генераторов посредством ременных передач, теряющих свою эффективность при повышенном скольжении, которое в данном случае является следствием влажности воздуха и прямого попадания жидкости на элементы передачи.
Известно также устройство для использования энергии текучей среды, содержащее турбину, электрогенератор и ряды радиально расположенных на различных уровнях емкостей, установленных с возможностью вращения на горизонтальном валу и последовательно сообщенных между собой при помощи диаметрально расположенных каналов, емкости с одной стороны имеют всасывающий, а с другой – напорный патрубки, объем емкостей выполнен переменным, уменьшающимся от всасывающего к напорному патрубку, турбина установлена с возможностью вращения в сторону, противоположную вращению емкостей, соединена с ротором электрогенератора, а статор последнего соединен с горизонтальным валом. Устройство снабжено полым корпусом, охватывающим вал, установленным с возможностью вращения на нем и разделенным при помощи вертикальных перегородок на герметичные секции, вал снабжен лопаточными венцами, расположенными в каждой секции, каналы выполнены в виде труб, каждая из которых состоит из двух частей, соединенных между собой (см. А.С. 1581851, МПК F03B 13/12, опубл. 30.07.90).
Данное устройство, в силу своих конструктивных особенностей и принципа работы, не способно создать высокий кпд, т.к. поднятие текучей среды на определенную высоту уже приводит к потерям кинетической энергии, которую она имела до входа во всасывающие патрубки. С помощью данного устройства производится лишь трансформация одной формы энергии в другую, что значительно снижает его кпд.
Прототипом изобретения является волновая энергетическая установка, содержащая поплавок и связанный с ним вертикально расположенный трубчатый корпус, погруженный под уровень воды и имеющий внутри сужающийся участок, в котором размещены капсула и гидротурбина, кинематически соединенная с электрогенератором, размещенным внутри капсулы и имеющим ротор и статор с обмотками. Рабочее колесо гидротурбины с каждого торца снабжено направляющим аппаратом, ротор электрогенератора закреплен на внутренней части рабочего колеса и снабжен постоянными магнитами, а статор выполнен из двух частей, размещенных с зазором сверху и снизу от ротора (см. а.с. 1583649, МПК F03B 13/12, опубл. 07.08.90).
Данная конструкция, в соответствии с кинематикой привода, не способна обеспечить достаточно высокую скорость вращения ротора, что необходимо для появления в обмотках применяемой для практических целей электродвижущей силы, а это неизбежно приводит к использованию многополюсного тихоходного генератора, который будет иметь высокую стоимость, а также габариты в плоскости, перпендикулярной оси генератора. Последнее обстоятельство приводит к увеличению лобового сопротивления, снижая коэффициент полезного действия устройства.
Приведенные аналоги имеют также общий недостаток – невозможность производить работу в зимнее время года, когда водоем покрыт ледовой оболочкой, а это значительно снижает эффективность их использования в северных широтах.
Техническим результатом изобретения является увеличение кпд и обеспечение работы устройства в условиях зимнего времени.
Результат достигается тем, что устройство для использования энергии текучей среды, содержащее корпус, гидротурбину и объемный насос, отличается тем, что оно снабжено ускорителями потока, расположенными в вертикальной плоскости, параллельно оси устройства симметрично с наружной части корпуса и выполненными в виде трубок с увеличивающимся к торцам поперечным сечением, крыльями, расположенными с наружной части корпуса и установленными на валу, расположенному в горизонтальной плоскости перпендикулярно оси устройства, а также дифференциальным манометром, установленным в корпусе, разноименные полости манометра посредством пьезометрических трубок связаны с внутренними полостями ускорителей потока, а мембрана манометра посредством тяги, имеющей возможность возвратно-поступательного перемещения, связана с диском, жестко установленным на валу.
Устройство отличается также тем, что усредненный удельный вес устройства равен удельному весу текучей среды.
За счет того что усредненная плотность всей конструкции равна плотности текучей среды, устройство находится в состоянии безразличного равновесия и сохраняет тот уровень, на котором его первоначально установили. Это создает возможность переориентации устройства под действием незначительных усилий, если в этом есть необходимость.
Наличие механизма вертикальной ориентации, состоящего из двух ускорителей потока, с расположенными в них пьезометрическими трубками, которые связаны с разноименными полостями дифференциального манометра и воздействующими на мембрану, соединенную посредством тяги с диском и крыльями, закрепленными на горизонтальной оси, ориентированной перпендикулярно направлению потока, позволяет устройству занять такую позицию, где скорость потока максимальна, и этим повысить его кпд.
Наличие штанги, связанной с устройством посредством роликового механизма и закрепленной неподвижно на основании русла, позволяет осуществить перемещение устройства в вертикальном направлении и тем самым определить позицию, соответствующую максимальной скорости потока.
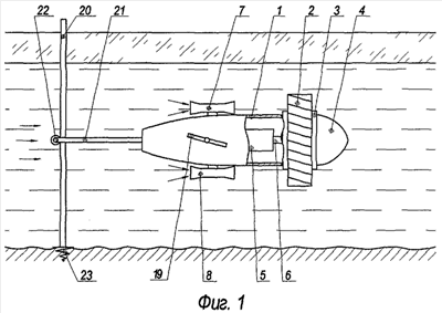
На фиг.1 показан общий вид устройства в рабочем положении; на фиг.2 – график распределения скоростей потока при наличии ледового покрытия; на фиг.3 – продольный разрез устройства, на фиг.4 – разрез А-А на фиг.3.
Устройство для использования энергии текучей среды состоит из цилиндрического полого корпуса 1, носовая часть которого выполнена обтекаемой формы. В хвостовой части корпуса с возможностью вращения вокруг оси, совпадающей с продольной осью корпуса, закреплено рабочее колесо 2. К ступице 3 рабочего колеса соосно ему и корпусу жестко прикреплен хвостовик 4 обтекаемой формы. В полости корпуса установлен объемный насос 5, ротор 6 которого имеет жесткую связь со ступицей рабочего колеса. К корпусу устройства в верхней и нижней частях прикреплены два ускорителя потока 7 и 8, каждый из которых представляет собой цилиндрическую трубку, переходящую по торцам в конические патрубки с увеличением сечения от середины трубки. В средней цилиндрической части каждого из ускорителей потока размещены пьезометрические трубки 9 и 10. Другие концы пьезометрических трубок соединены с полостями А и В дифференциального манометра 11, которые разделены гибкой мембраной 12. Мембрана жестко связана с одним из концов тяги 13, имеющей возможность поступательного перемещения в направляющих 14. При этом другой конец тяги посредством пальца 15 и радиального паза 16 диска 17 образует кинематическую пару с валом 18, на котором диск жестко закреплен. Вал 18 имеет горизонтальное расположение, перпендикулярно оси корпуса 1 и имеет возможность вращательного движения. На валу с наружной части корпуса симметрично размещены два крыла 19, имеющие плоскую форму.
Устройство имеет подвижную связь с вертикальной штангой 20, посредством кронштейна 21, который с одной стороны неподвижно прикреплен к корпусу, а с другой – образует вращательную пару с роликом 22, имеющим возможность поступательного перемещения по штанге. При этом пятно контакта находится на стороне штанги, обращенной вверх по потоку. Штанга 20 посредством винта 23 ввернута в дно канала и установлена неподвижно.
Устройство работает следующим образом. В зимнее время года скорость течения в реках снижается за счет появления дополнительного сопротивления от внутренней поверхности льда, имеющей определенную шероховатость. При использовании устройства в данном случае необходимо произвести его ориентацию по вертикали таким образом, чтобы поток, проходящий через поперечное сечение рабочего колеса, имел максимальную мощность, которая определяется из зависимости

где V – скорость потока;
m0 – единичная масса потока, проходящего через сечение рабочего колеса.
На распределение скоростей в вертикальном продольном сечении влияют шероховатости дна русла и внутренней поверхности ледового покрытия. Координату х расположения вектора максимальной скорости можно определить из уравнения

где h – глубина водоема в жидкой фазе;
m – коэффициент, зависящий от шероховатости дна русла;
m1 – коэффициент, зависящий от шероховатости внутренней поверхности ледового покрытия.
В течение зимнего периода глубина h постоянно уменьшается за счет увеличения толщины льда, что приводит к перераспределению скоростей потока. Для того чтобы повысить эффективность устройства в данной ситуации, необходимо произвести его переориентацию в вертикальном направлении.
Из курса гидравлики известно, что при увеличении скорости потока увеличивается динамическая составляющая общего давления, которая определяется по формуле
,
где – плотность текучей среды.
Отсюда видно, что динамическая составляющая общего давления среды пропорциональна квадрату скорости потока, значит, слежение за скоростью можно осуществить с помощью манометра. Предлагаемое устройство снабжено двумя ускорителями потока 7 и 8, в которых установлены пьезометрические трубки 9 и 10, воспринимающие гидромеханическую составляющую давления среды. Ускорители потока необходимы для того, чтобы увеличить динамическую и, соответственно, понизить гидромеханическую составляющую давления, увеличив тем самым чувствительность механизма вертикальной ориентации.
В ситуации, когда вектор максимума скорости потока проходит вдоль продольной оси устройства и тем самым поток обладает максимальной мощностью, ускорители потока, на равных расстояниях от оси устройства, пропускают через себя струи, имеющие равные скорости, а значит, и имеющие одинаковые гидромеханические составляющие давления. Поскольку трубки связаны с полостями А и В дифференциального манометра 11, разделенными мембраной 12, давление в данном случае в них будет одинаковым, а мембрана находится в нейтральном положении. Тяга 13, связывающая мембрану с крыльями 19 посредством диска 17 и оси 18, ориентирует крылья таким образом, чтобы они были параллельны потоку. В этом случае устройство ориентировано вдоль потока на определенной глубине, соответствующей максимуму скорости.
Если при нарастании льда или по причине изменения шероховатости с течением времени вектор максимальной скорости начнет смещаться вниз, то скорость струи в ускорителе потока 8 будет увеличиваться, а в ускорителе 7 уменьшаться. При этом будут изменяться и гидромеханические составляющие давления двух струй. Давление в полости А дифференциального манометра будет увеличиваться, а в полости В уменьшаться. Мембрана переместится влево, толкая тягу 13 и поворачивая посредством нее диск 17 против часовой стрелки вместе с крыльями. Между плоскостью крыльев и направлением потока появится острый угол, что вызовет появление поперечной силы и, соответственно, перемещение устройства вниз. При вхождении устройства в оптимальную зону, где мощность потока максимальна, давление в ускорителях выравнивается, мембрана дифференциального манометра принимает первоначальное положение, а плоскости крыльев занимают положение параллельно оси устройства. Поперечная сила давления потока на крылья исчезает, и устройство принимает новое положение по вертикальной координате.
Формула изобретения
1. Устройство для использования энергии текучей среды, содержащее корпус, гидротурбину и объемный насос, отличающееся тем, что устройство снабжено ускорителями потока, расположенными в вертикальной плоскости параллельно оси устройства симметрично с наружной части корпуса и выполненными в виде трубок с увеличивающимся к торцам поперечным сечением, крыльями, расположенными с наружной части корпуса и установленными на валу, расположенному в горизонтальной плоскости перпендикулярно оси устройства, а также дифференциальным манометром, установленным в корпусе, разноименные полости манометра посредством пьезометрических трубок связаны с внутренними полостями ускорителей потока, а мембрана манометра посредством тяги, имеющей возможность возвратно-поступательного перемещения, связана с диском, жестко установленным на валу.
2. Устройство по п.1, отличающееся тем, что усредненный удельный вес устройства равен удельному весу текучей среды.
РИСУНКИ
|
|