Патент на изобретение №2392478

Published by on




РОССИЙСКАЯ ФЕДЕРАЦИЯ



ФЕДЕРАЛЬНАЯ СЛУЖБА
ПО ИНТЕЛЛЕКТУАЛЬНОЙ СОБСТВЕННОСТИ,
ПАТЕНТАМ И ТОВАРНЫМ ЗНАКАМ
(19) RU (11) 2392478 (13) C1
(51) МПК

F02K9/64 (2006.01)

(12) ОПИСАНИЕ ИЗОБРЕТЕНИЯ К ПАТЕНТУ

Статус: по данным на 18.08.2010 – действует

(21), (22) Заявка: 2008149564/06, 17.12.2008

(24) Дата начала отсчета срока действия патента:

17.12.2008

(46) Опубликовано: 20.06.2010

(56) Список документов, цитированных в отчете о
поиске:
ДОБРОВОЛЬСКИЙ М.В. и др. Жидкостные ракетные двигатели. Основы проектирования. – М.: Высшая школа, 1968, рис.4.26 г, с.166-167. RU 2061890 C1, 10.06.1996. RU 2254490 C2, 20.06.2006. US 4781019 A, 01.11.1988. DE 4301041 C1, 28.04.1994. FR 2553148 A1, 12.04.1985.

Адрес для переписки:

394026, г.Воронеж, Московский пр-кт, 14, ГОУВПО “ВГТУ”, патентный отдел

(72) Автор(ы):

Горохов Виктор Дмитриевич (RU),
Черниченко Владимир Викторович (RU),
Стогней Владимир Григорьевич (RU)

(73) Патентообладатель(и):

Государственное образовательное учреждение высшего профессионального образования “Воронежский государственный технический университет” (RU)

(54) ТРАКТ ОХЛАЖДЕНИЯ КАМЕРЫ ЖИДКОСТНОГО РАКЕТНОГО ДВИГАТЕЛЯ

(57) Реферат:

Изобретение относится к области ракетного двигателестроения и может быть использовано при создании камер жидкостных ракетных двигателей (ЖРД), в частности, для безгенераторных ЖРД, работающих на криогенных компонентах, например кислороде и водороде. Тракт охлаждения камеры жидкостного ракетного двигателя содержит внутреннюю профилированную оболочку с выполненными в ней ребрами постоянной толщины, образующими каналы тракта охлаждения. Каналы тракта охлаждения имеют трапецеидальный профиль переменной ширины со скругленными по радиусу углами, примыкающими к внутренней поверхности оболочки. На внутренней профилированной оболочке установлена профилированная наружная оболочка и скреплена с ней. На внутренней поверхности внутренней оболочки, со стороны камеры сгорания, в месте расположения ребер, выполнены продольные профилированные пазы, профиль которых эквидистантен профилю радиусов переходов между ребрами и внутренней цилиндрической поверхностью канала тракта охлаждения, а между продольными профилированными пазами выполнены продольные ребра. Изобретение обеспечивает улучшение условий теплообмена между продуктами сгорания и охладителем. 1 з.п-ф-лы, 3 ил.

Изобретение относится к области ракетного двигателестроения и может быть использовано при создании камер жидкостных ракетных двигателей (ЖРД), в частности для безгенераторных ЖРД, работающих на криогенных компонентах, например кислороде и водороде.

Известен тракт охлаждения камеры жидкостного ракетного двигателя, содержащий внутреннюю профилированную оболочку с выполненными в ней ребрами постоянной толщины, образующими каналы тракта охлаждения, имеющими трапецеидальный профиль переменной ширины со скругленными по радиусу углами, примыкающими к внутренней поверхности оболочки, профилированную наружную оболочку, установленную на внутренней и скрепленную с ней (М.В.Добровольский и др. Жидкостные ракетные двигатели. Основы проектирования. М.: Высшая школа, 1968, рис.4.26г, стр.166-167 – прототип).

В указанном тракте охлаждения охладитель подается между ребрами, выполненными на тыльной стороне оболочки. Рабочая поверхность, обращенная к источнику тепла, в данном случае, взаимодействующая с продуктами сгорания, выполнена гладкой, цилиндрической. Продукты сгорания, контактируя с рабочей поверхностью, отдают ей тепло. За счет теплопроводности металла тепло от оболочки передается на ребра тракта охлаждения, которые омываются охладителем. Охладитель, проходя через каналы охлаждения, контактирует с поверхностями ребер и тыльной стороной оболочки и при этом, нагреваясь сам, охлаждает ребра и внутреннюю рабочую поверхность внутренней оболочки.

При такой конструкции тракта охлаждения необходимо подобрать оптимальную толщину рабочей огневой стенки, ребер и площадь поверхности теплообмена. С одной стороны, с утонением огневой рабочей стенки улучшаются условия теплообмена, с другой – толщина стенки ограничена условиями прочности и изготовления. Увеличение количества ребер ведет к улучшению условий теплопередачи, но, в то же, приводит к загромождению тракта, что увеличивает гидравлическое сопротивление тракта охлаждения и ведет к увеличению мощности насоса для подачи охладителя в тракт охлаждения.

Недостатками данного тракта охлаждения являются неоптимальные условия теплопередачи от продуктов сгорания к ребрам тракта охлаждения, связанные с увеличенной толщиной рабочей стенки в районе ребер.

Задачей изобретения является устранение указанных недостатков и создание тракта охлаждения, конструкция которого позволит улучшить условия теплообмена между продуктами сгорания и охладителем.

Решение указанной задачи достигается тем, что в предложенном тракте охлаждения камеры жидкостного ракетного двигателя, содержащем внутреннюю профилированную оболочку с выполненными в ней ребрами постоянной толщины, образующими каналы тракта охлаждения, имеющими трапецеидальный профиль переменной ширины со скругленными по радиусу углами, примыкающими к внутренней поверхности оболочки, профилированную наружную оболочку, установленную на внутренней и скрепленную с ней, согласно изобретению на внутренней поверхности внутренней оболочки, со стороны камеры сгорания, в месте расположения ребер, выполнены продольные профилированные пазы, профиль которых эквидистантен профилю радиусов переходов между ребрами и внутренней цилиндрической поверхностью канала тракта охлаждения.

При выполнении продольных профилированных пазов, профиль которых эквидистантен профилю радиусов переходов между ребрами и внутренней цилиндрической поверхностью канала тракта охлаждения на рабочей огневой поверхности внутренней оболочки, происходит утонение стенки в районе ребер. Необходимо отметить, что данное утонение не влияет на прочность оболочки, т.к прочность в данном случае определяется толщиной дна канала, которая в 1,2-1,5 раза меньше толщины стенки внутренней оболочки в месте прилегания к ребрам тракта охлаждения. В то же время, выполнение указанных пазов позволяет выполнить переход от стенки оболочки к ребру с толщиной, равной толщине дна паза, что позволит существенно улучшить условия теплопередачи за счет уменьшения толщины стенки в месте установки ребра.

Для улучшения условий теплопередачи от продуктов сгорания к поверхности внутренней оболочки и ребрам тракта охлаждения, на внутренней огневой поверхности внутренней оболочки, между продольными профилированными пазами, выполнены продольные ребра. В этом случае, часть тепла дополнительно будет отбираться у продуктов сгорания при помощи указанных продольных ребер, установленных в потоке.

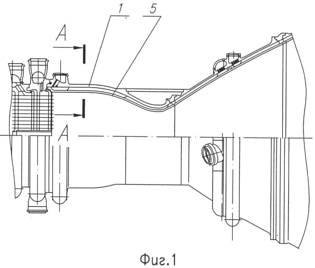
Сущность изобретения иллюстрируется чертежами, где на фиг.1 показан продольный осевой разрез камеры сгорания, на фиг.2 – поперечное сечение тракта охлаждения в варианте с продольными пазами, на фиг.3 – поперечное сечение тракта охлаждения в варианте с продольными пазами и продольными ребрами.

Во внутренней профилированной оболочке 1 выполнены ребра 2 постоянной толщины, образующие каналы 3 тракта охлаждения. Каналы 3 имеют трапецеидальный профиль переменной ширины со скругленными по радиусу углами 4, примыкающими к внутренней поверхности оболочки. На внутреннюю профилированную оболочку 1 установлена и скреплена с ней наружная профилированная оболочка 5. На внутренней поверхности внутренней оболочки 1, со стороны камеры сгорания, в месте расположения ребер 2, выполнены продольные профилированные пазы 6, профиль которых эквидистантен профилю радиусов переходов между ребрами 4 и внутренней цилиндрической поверхностью канала тракта охлаждения.

На внутренней поверхности внутренней оболочки 1, между продольными профилированными пазами 6, выполнены продольные ребра 7.

Предложенное устройство работает следующим образом.

При работе камеры ЖРД продукты сгорания компонентов топлива движутся вдоль стенки внутренней оболочки 1 и передают ей тепло. За счет теплопроводности прогревается вся стенка, включая ребра 2. По каналам 5 тракта охлаждения поступает охладитель, который омывает ребра 2 и дно канала 3. Охладитель, имея температуру ниже температуры ребер и дна канала, отбирает у них тепло и нагревается сам. За счет выполнения продольных профилированных пазов 6 и уменьшения толщины стенки в месте выполнения ребер 2 происходит улучшение условий теплообмена из-за уменьшения толщины дна паза.

Для улучшения условий теплопередачи от продуктов сгорания к поверхности внутренней оболочки 1 и ребрам тракта охлаждения 2, на внутренней поверхности внутренней оболочки, между продольными профилированными пазами 6, выполнены продольные ребра 7. В этом случае, часть тепла будет отбираться у продуктов сгорания при помощи указанных продольных ребер, установленных в потоке.

Проведенные авторами теоретические и экспериментальные работы показали, что выполнение тракта охлаждения камеры ЖРД указанным образом позволит увеличить теплосъем с поверхности ориентировочно на 5-15%, в зависимости от конструкции камеры и условий ее работы.

Формула изобретения

1. Тракт охлаждения камеры жидкостного ракетного двигателя, содержащий внутреннюю профилированную оболочку с выполненными в ней ребрами постоянной толщины, образующими каналы тракта охлаждения, имеющими трапецеидальный профиль переменной ширины со скругленными по радиусу углами, примыкающими к внутренней поверхности оболочки, профилированную наружную оболочку, установленную на внутренней и скрепленную с ней, отличающийся тем, что на внутренней поверхности внутренней оболочки, со стороны камеры сгорания, в месте расположения ребер, выполнены продольные профилированные пазы, профиль которых эквидистантен профилю радиусов переходов между ребрами и внутренней цилиндрической поверхностью канала тракта охлаждения.

2. Тракт охлаждения камеры жидкостного ракетного двигателя по п.1, отличающийся тем, что на внутренней поверхности внутренней оболочки, между продольными профилированными пазами, выполнены продольные ребра.

РИСУНКИ

Categories: BD_2392000-2392999