|
|
(21), (22) Заявка: 2008150429/06, 19.12.2008
(24) Дата начала отсчета срока действия патента:
19.12.2008
(46) Опубликовано: 20.06.2010
(56) Список документов, цитированных в отчете о поиске:
RU 2160435 С2, 10.12.2000. RU 1434283 A1, 30.10.1988. SU 679828 А, 15.08.1979. SU 297883 A, 01.01.1971. JP 2007086060 A, 05.04.2007. FR 2666894 A1, 20.03.1992.
Адрес для переписки:
129301, Москва, ул. Касаткина, 13, НТЦ им. А. Люльки ОАО “НПО “Сатурн”, СПиИС
|
(72) Автор(ы):
Канахин Юрий Александрович (RU), Кирюхин Владимир Валентинович (RU), Марчуков Евгений Ювенальевич (RU)
(73) Патентообладатель(и):
Открытое акционерное общество “Научно-производственное объединение “Сатурн” (ОАО “НПО “Сатурн”) (RU)
|
(54) СПОСОБ ОПРЕДЕЛЕНИЯ ОСЕВОЙ НАГРУЗКИ, ДЕЙСТВУЮЩЕЙ НА УПОРНЫЙ ПОДШИПНИК ОПОРЫ РОТОРА, ПРЕИМУЩЕСТВЕННО ГАЗОТУРБИННОГО ДВИГАТЕЛЯ
(57) Реферат:
Способ определения осевой нагрузки, действующей на упорный подшипник опоры ротора, преимущественно, газотурбинного двигателя. Технический результат изобретения – обеспечение возможности определять эту нагрузку на опорах работающих серийных газотурбинных двигателей во время их эксплуатации на объекте в реальном времени. Способ определения осевой нагрузки, действующей на упорный подшипник опоры ротора, преимущественно, газотурбинного двигателя, включает прямое измерение осевой нагрузки на одном из серии двигателей, при этом одновременно с замером осевой нагрузки измеряют значения давлений в определяющих осевую нагрузку внутренних полостях двигателя, для каждой из этих полостей определяют величину ее эффективной гидравлической площади, принимают величины этих эффективных гидравлических площадей одинаковыми для всей серии двигателей, а при эксплуатации остальных двигателей серии на каждом из них замеряют значения давлений в определяющих осевую силу полостях двигателя, при этом об осевой нагрузке на подшипник каждого конкретного двигателя судят по алгебраической сумме произведений замеренных давлений на значения эффективных гидравлических площадей в одноименных полостях. 4 ил.
Изобретение относится к способам определения осевой нагрузки, действующей на упорный подшипник, в частности к способам, позволяющим определять эту нагрузку на опорах работающих газотурбинных двигателей.
Известен способ определения осевой нагрузки, действующей на упорный подшипник опоры ротора, преимущественно, газотурбинного двигателя, включающий прямое измерение осевой нагрузки, например, тензометрированием (патент РФ 2160435, МПК G01L 5/12, опубл. 10.12.2000 г.).
Однако этот способ требует определенной доработки самой опоры ротора и неприемлем для определения осевой нагрузки, действующей на упорный подшипник серийного двигателя, не говоря уже об определении осевой нагрузки при эксплуатации этих двигателей на объекте. С другой стороны, существует настоятельная необходимость в знании осевой нагрузки, действующей на упорный подшипник опоры ротора каждого находящегося в эксплуатации двигателя, так как эта величина определяет долговечность подшипника, а следовательно, надежность и ресурс всего двигателя.
Задачей изобретения является обеспечение возможности определения осевой нагрузки, действующей на упорный подшипник, на работающем серийном газотурбинном двигателе.
Указанная задача достигается тем, что в способе определения осевой нагрузки, действующей на упорный подшипник опоры ротора, преимущественно, газотурбинного двигателя, включающем прямое измерение осевой нагрузки, в нем прямое измерение осевой нагрузки выполняют на одном из серии двигателей, при этом одновременно с замером осевой нагрузки измеряют значения давлений в определяющих осевую нагрузку внутренних полостях двигателя, для каждой из этих полостей определяют величину ее эффективной гидравлической площади, принимают величины этих эффективных гидравлических площадей одинаковыми для всей серии двигателей, а при эксплуатации остальных двигателей серии на каждом из них замеряют значения давлений в определяющих осевую силу полостях двигателя, при этом об осевой нагрузке на подшипник каждого конкретного двигателя судят по алгебраической сумме произведений замеренных давлений на значения эффективных гидравлических площадей в одноименных полостях.
Новым в изобретении является то, что в предложенном способе прямое измерение осевой нагрузки выполняют на одном из серии двигателей, при этом одновременно с замером осевой нагрузки измеряют значения давлений в определяющих осевую нагрузку внутренних полостях двигателя, для каждой из этих полостей определяют величину ее эффективной гидравлической площади, принимают величины этих эффективных гидравлических площадей одинаковыми для всей серии двигателей, а при эксплуатации остальных двигателей серии на каждом из них замеряют значения давлений в определяющих осевую силу полостях двигателя, при этом об осевой нагрузке на подшипник каждого конкретного двигателя судят по алгебраической сумме произведений замеренных давлений на значения эффективных гидравлических площадей в одноименных полостях.
Прямое измерение осевой нагрузки на одном из серии двигателей позволяет обойтись только одним штатным двигателем, переделав его в экспериментальный и распространив результаты испытаний на все двигатели этой серии.
Одновременно с замером осевой нагрузки, измеряя значения давлений в определяющих осевую нагрузку внутренних полостях экспериментального двигателя, для каждой из этих полостей можно определить величину ее эффективной гидравлической площади и принять величины этих эффективных гидравлических площадей одинаковыми для всей серии двигателей.
При эксплуатации остальных штатных двигателей серии на каждом из них, замеряя значения давлений в определяющих осевую нагрузку полостях двигателя, по алгебраической сумме произведений замеренных давлений на значения эффективных гидравлических площадей в одноименных полостях можно судить об осевой нагрузке на подшипник каждого конкретного двигателя.
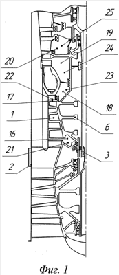
На фиг.1 показан продольный разрез штатного газотурбинного двигателя,
На фиг.2 показан элемент препарированной опоры ротора высокого давления экспериментального газотурбинного двигателя под прямой замер осевой нагрузки,
На фиг.3 показаны зависимости давлений в определяющих осевую нагрузку полостях по частоте вращения ротора высокого давления на двигателе,
На фиг.4 показана зависимость осевой нагрузки ротора высокого давления на подшипник по частоте вращения ротора экспериментального двигателя.
Газотурбинный двигатель, реализующий предлагаемый способ определения осевой нагрузки, действующей на упорный подшипник опоры ротора высокого давления двухроторного газотурбинного двигателя, содержит компрессор высокого давления 1, на корпусе 2 которого закреплена опора 3 с радиально-упорным подшипником 4, внутренняя обойма 5 которого закреплена на роторе высокого давления 6 двигателя, а наружная 7 в опоре 3. Опора 3 экспериментального газотурбинного двигателя содержит две втулки 8 и 9 с наружными фланцами 10 и 11 для закрепления их на корпусе 2 и с внутренними фланцами 12 и 13 для закрепления наружной обоймы 7 подшипника 4. Между фланцами 12 и 13 и торцами наружной обоймой 7 подшипника 4 установлены упругие кольца с тензодатчиками 14 и 15. В определяющих осевую нагрузку, действующую на упорный подшипник опоры ротора высокого давления 6, внутренних полостях двигателя 16, 17, 18, 19 и 20 установлены датчики давления 21, 22, 23, 24 и 25 соответственно.
Способ реализуют следующим образом. На одном из серии газотурбинных двигателей (экспериментальном) с помощью упругих колец с тензодатчиками 14 и 15 производят прямое измерение осевой нагрузки R, действующей на радиально-упорный подшипник 4 в зависимости от частоты вращения n ротора высокого давления 6. При этом одновременно с замером осевой нагрузки R измеряют значения давлений Ра, Рб, Ре, Рв и Рг в определяющих осевую нагрузку внутренних полостях 16, 17, 18, 19 и 20 двигателя с помощью датчиков давления 21, 22, 23, 24 и 25 соответственно. Строят зависимости P=f(n) и R= (n), вид которых приведен на фиг.3 и фиг.4 соответственно. Далее экспериментальная характеристика R= (n) апроксимируется уравнением следующего вида:

где
Ра, Рб, Ре, Рв и Рг – замеренные параметры;
Fa, Fб, Fc, Fв и Fг – искомые параметры – эффективные гидравлические площади соответствующих определяющих полостей 16, 17, 18, 19 и 20.
Для определения неизвестных гидравлических площадей составляют систему уравнений в форме аналогичной уравнению (1):
– Ра1×Fа+Рб1×Fб+Ре1×Fе-Рв1×Fв+Рг1×Fг=R1
– Ра2×Fа+Рб2×Fб+Ре2×Fе-Рв2×Fв+Рг2×Fг=R2
– Ра3×Fа+Рб3×Fб+Ре3×Fе-Рв3×Fв+Рг3×Fг=R3
– Ра4×Fa+Рб4×Fб+Ре4×Fe-Рв4×Fв+Рг4×Fг=R4
– Pa5×Fa+Pб5×Fб+Pe5×Fe-Pв5×Fв+Pг5×Fг=R5,
где
Pa1, Рб1, Pe1, Pв1, Pг1, R1 – экспериментальные величины, взятые с зависимостей P=f(n) (фиг.3) и R= (n) (фиг.4) при частоте вращения ротора n1,
Ра2, Рб2, Ре2, Рв2, Рг2, R2 – экспериментальные величины, взятые с зависимостей P=f(n) (фиг.3) и R=f(n) (фиг.4) при частоте вращения ротора n2,
Ра3, Рб3, Ре3, Pв3, Рг3, R3 – экспериментальные величины, взятые с зависимостей P=f(n) (фиг.3) и R=f(n) (фиг.4) при частоте вращения ротора n3,
Ра4, Рб4, Pe4, Рв4, Рг4, R4 – экспериментальные величины, взятые с зависимостей P=f(n) (фиг.3) и R=f(n) (фиг.4) при частоте вращения ротора n4,
Ра5, Рб5, Ре5, Рв5, Рг5, R5 – экспериментальные величины, взятые с зависимостей P=f(n) (фиг.3) и R= (n) (фиг.4) при частоте вращения ротора n5.
Решая систему из пяти вышеуказанных уравнений, определяют пять эффективных гидравлических площадей Fa, Fб, Fе, Fв и Fг и принимают величины этих эффективных гидравлических площадей одинаковыми для всей серии двигателей.
При эксплуатации серийных двигателей на каждом из них при фиксированных значениях частоты вращения ротора n замеряют значения давлений Ра, Рб, Ре, Рв, Рг в определяющих осевую силу полостях двигателя 16, 17, 18, 19 и 20, при этом осевую нагрузку на подшипник определяют как алгебраическую сумму произведений замеренных давлений на значения эффективных гидравлических площадей в одноименных полостях. Замеряя значения давлений Ра, Рб, Ре, Рв, Рг при различных фиксированных значениях частоты вращения ротора двигателя, строят зависимость R= (n) для конкретного серийного двигателя.
В описании был приведен способ определения осевой нагрузки, действующей на упорный подшипник опоры ротора высокого давления газотурбинного двигателя. Точно также определяют и осевую нагрузку, действующую на упорный подшипник опоры ротора низкого давления, но при этом следует все операции повторить уже для этой опоры. Количество определяющих осевую нагрузку полостей выбирают в зависимости от конкретной конструкции газотурбинного двигателя и потребной точности определения этой нагрузки.
Реализация изобретения обеспечивает возможность определения осевой нагрузки, действующей на упорный подшипник, на работающем серийном газотурбинном двигателе, причем такой контроль можно вести постоянно, вследствие чего можно определять конкретную оставшуюся долговечность подшипника и при эксплуатации его по техническому состоянию.
Формула изобретения
Способ определения осевой нагрузки, действующей на упорный подшипник опоры ротора, преимущественно газотурбинного двигателя, включающий прямое измерение осевой нагрузки, отличающийся тем, что прямое измерение осевой нагрузки выполняют на одном из серии двигателей, при этом одновременно с замером осевой нагрузки измеряют значения давлений в определяющих осевую нагрузку внутренних полостях двигателя, для каждой из этих полостей определяют величину ее эффективной гидравлической площади, принимают величины этих эффективных гидравлических площадей одинаковыми для всей серии двигателей, а при эксплуатации остальных двигателей серии на каждом из них замеряют значения давлений в определяющих осевую силу полостях двигателя при этом об осевой нагрузке на подшипник каждого конкретного двигателя судят по алгебраической сумме произведений замеренных давлений на значения эффективных гидравлических площадей в одноименных полостях.
РИСУНКИ
|
|