|
|
(21), (22) Заявка: 2007135021/06, 24.02.2006
(24) Дата начала отсчета срока действия патента:
24.02.2006
(30) Конвенционный приоритет:
24.02.2005 DE 102005008405.2 28.10.2005 DE 102005051687.4
(43) Дата публикации заявки: 27.03.2009
(46) Опубликовано: 20.06.2010
(56) Список документов, цитированных в отчете о поиске:
JP 7091267 А, 04.04.1995. DE 3906312 C1, 21.21.1989. SU 372365 A1, 01.01.1973. SU 1409766 A1, 15.07.1988.
(85) Дата перевода заявки PCT на национальную фазу:
24.09.2007
(86) Заявка PCT:
EP 2006/001737 20060224
(87) Публикация PCT:
WO 2006/089779 20060831
Адрес для переписки:
103735, Москва, ул. Ильинка, 5/2, ООО “Союзпатент”, пат.пов. И.М.Захаровой
|
(72) Автор(ы):
НЕМЕТ Хуба (HU), ГЕРУМ Эдуард (DE)
(73) Патентообладатель(и):
КНОРР-БРЕМЗЕ ЗЮСТЕМЕ ФЮР НУТЦФАРЦОЙГЕ ГМБХ (DE)
|
(54) УСТРОЙСТВО ДЛЯ ОБЕСПЕЧЕНИЯ ПРИТОЧНЫМ ВОЗДУХОМ ПОРШНЕВОГО ДВИГАТЕЛЯ ВНУТРЕННЕГО СГОРАНИЯ С ТУРБОНАДДУВОМ И СПОСОБ ЕГО ЭКСПЛУАТАЦИИ
(57) Реферат:
Изобретение относится к устройству для обеспечения приточным воздухом поршневого двигателя внутреннего сгорания (ДВС), оснащенного турбонаддувом, снабженного пневмоаккумулятором, и способу эксплуатации такого устройства. Устройство для обеспечения приточным газом поршневого ДВС (2), оснащенного турбонаддувом, содержит участок (8) трубопровода для приточного газа. Участок (8) трубопровода для приточного газа содержит регулируемую заслонку (60), первое (10) и второе (9) концевые присоединения (9). Заслонка (60) соединена с регулировочным устройством (66). Между заслонкой (60) и вторым концевым присоединением (9) во внутреннюю выпускную полость (62) выходит присоединение (42) для сжатого воздуха. Присоединение (42) снабжено устройством (68) для регулирования количества воздуха. Устройство (68) имеет клапан (70), управляемый через электрический вход (69). Электрический вход (69) присоединен к электронному блоку (38) управления. Регулировочное устройство (66) приводится в действие устройством (68) для регулирования количества воздуха и/или электрическим блоком (38) управления. Полностью открытому положению заслонки (60) соответствует полностью закрытое положение устройства (68). К электронному блоку (38) управления подсоединены выходы (71) первого и второго датчиков (72) давления. Манометр (73) первого датчика давления (71) расположен во внутренней впускной полости (61). Манометр (73) второго датчика (72) давления расположен во внутренней выпускной полости (62). Способ улучшения динамической характеристики и характеристики выхлопа поршневого ДВС транспортного средства заключается в обнаружении сигнала, требующего повышения крутящего момента, определении характеристик двигателя, давления воздуха во внутренних впускной (61) и выпускной (62) полостях, обработке полученных данных и измеренных величин в электронном блоке (38) управления. Электронный блок управления (38) создает сигналы управления клапаном (70) наддува и заслонкой (60). Возможно регулирование наддува воздуха и управление заслонкой адаптивно к частоте осуществления водителем ускорения. Технический результат заключается в создании устройства и способа для подачи воздуха в цилиндры ДВС, приспособленных к способу вождения и полезной нагрузке транспортного средства. 2 н. и 3 з.п. ф-лы, 5 ил.
Изобретение относится к устройству для обеспечения приточным воздухом поршневого двигателя внутреннего сгорания, оснащенного турбонаддувом, с участком трубопровода для приточного газа в виде впускного газопровода, который имеет регулируемую заслонку и первое концевое присоединение для впуска, а также второе концевое присоединение для выпуска, между которыми в имеющей форму трубы стенке предусмотрен вал, установленный с возможностью поворота, для регулируемой заслонки, которая для регулирования присоединена к регулировочному устройству, причем между заслонкой и вторым концевым присоединением в имеющую форму трубы внутреннюю полость выходит с отверстием присоединение для сжатого воздуха.
Далее изобретение касается способа эксплуатации такого устройства.
Известно свойство двигателей внутреннего сгорания с турбонаддувом, что в транспортных средствах они с известным запаздыванием реагируют на прибавление газа, так как турбокомпрессор, работающий на отработавших газах, может только медленно повышать количество доставляемого воздуха, что в ходе повышения крутящего момента называется турбоямой.
Из DE-PS-39 06 312 известны метод и конструкция для уменьшения или сокращения турбоямы, при котором во время ускорения дизельного двигателя из пневмоаккумулятора во впускной трубопровод подается определенное количество воздуха и к этому соответственно подгоняется количество впрыскиваемого топлива. Дизельный двигатель, оснащенный турбонаддувом, наиболее пригоден для городских автобусов с автоматической коробкой передач и пневматической тормозной системой. Городские автобусы совершают определенный цикл движения, при этом нагрузка и процесс набора числа оборотов дизельного двигателя могут точно прогнозироваться, и время подачи и количество воздуха может определяться заранее. Совсем другие условия у грузовых автомобилей, которые совершают рейсы на длинные расстояния. При их движении не совершаются регулярные циклы движения, полезная нагрузка варьируется в широких пределах и способ вождения водителей может иметь значительное различие. С помощью приведенных выше конструкции и способа проблемы не решаются.
Из обзора патентов Японии, т.1995, 07, 31. Август 1995 & JP 07091267 A известно устройство обеспечения приточным воздухом двигателя внутреннего сгорания с турбонаддувом с участком трубопровода для приточного газа в виде впускного газопровода. И при этом заслонка соединена с регулировочным устройством. Однако в этом известном устройстве не гарантируется, что в каждый момент времени в пневмоаккумуляторе остается достаточно сжатого воздуха и для других агрегатов, например тормозной системы и т.д.
Задачей настоящего изобретения является создание устройства, а также способа, с помощью которого подача воздуха может быть приспособлена к способу вождения и полезной нагрузке транспортного средства, причем устройство может быть встроено в виде монтажного блока в различные системы трубопроводов приточного газа дизельных двигателей.
Задача решается с помощью устройства согласно ограничительной части пункта 1 формулы изобретения в сочетании с его отличительными признаками. В части осуществления способа задача решается с помощью пункта 5 формулы изобретения. Соответственно зависимые пункты формулы изобретения воспроизводят предпочтительные усовершенствованные варианты изобретения.
Преимущество изобретения заключается в том, что заслонка в трубопроводе приточного газа управляется электронным способом, т.е. не только автоматически с помощью давления приточного газа, как в соответствии с однажды упомянутым уровнем техники, и что приведение в действие блока управления определяется и обрабатывается электронным способом, а именно в зависимости от давления приточного газа и преимущественным образом от параметров двигателя.
Согласно изобретению предлагается устройство для обеспечения приточным газом поршневого двигателя внутреннего сгорания, оснащенного турбонаддувом, с участком трубопровода для приточного газа в виде впускного газопровода, который имеет регулируемую заслонку и первое концевое присоединение для впуска, а также второе концевое присоединение для выпуска, причем заслонка для регулировки соединена с регулировочным устройством, а между заслонкой и вторым концевым присоединением в имеющую форму трубы внутреннюю полость выходит с отверстием присоединение для сжатого воздуха, причем присоединение для сжатого воздуха снабжено устройством для регулирования количества воздуха, имеющим клапан, занимающий закрытое положение или любое открытое положение, которое может управляться через электрический вход, присоединенный к присоединению электронного блока управления, причем регулировочное устройство заслонки принудительным образом приводится в действие устройством для регулирования количества воздуха и/или электрическим блоком управления таким образом, что полностью открытому положению заслонки соответствует полностью закрытое положение устройства для регулирования количества воздуха и что к присоединению электронного блока управления, во-первых, подсоединен выход первого датчика давления, манометр которого расположен в имеющей форму трубы внутренней впускной полости между заслонкой и первым концевым присоединением, и, во-вторых, выход второго датчика давления, манометр которого расположен в имеющей форму трубы внутренней выпускной полости между заслонкой и вторым концевым присоединением.
Согласно предпочтительному осуществлению изобретения в электронный блок управления поступает сигнал с требованием повышения крутящего момента из следующих источников: педали газа, системы регулирования привода ведущих колес, измерителя скорости, электрической программы стабилизации, средств, которые отправляют моторной системе внешнее требование повышения крутящего момента.
Согласно другому предпочтительному осуществлению изобретения для прямого управления с помощью электрического блока управления регулировочное устройство выполнено с сенсором определения положения.
Далее изобретение относится к способу улучшения динамической характеристики и характеристики выхлопа поршневого двигателя внутреннего сгорания транспортного средства, в частности дизельного двигателя с турбонаддувом, причем его устройство для обеспечения приточным газом снабжается пневмоаккумулятором, в котором сжатый воздух накапливается для регулируемого во времени наддува в участок трубопровода для приточного газа цилиндра двигателя, который характеризуется наличием следующих этапов способа:
– обнаружение сигнала, требующего повышения крутящего момента, и отправка данных электронному блоку управления;
– определение характеристик двигателя и отправка характеристик электронному блоку управления;
– определение давления воздуха во внутренней полости приточного газопровода между впускным клапаном цилиндра и заслонкой и отправка значения давления электронному блоку управления, а также определение давления воздуха во внутренней полости приточного газопровода между заслонкой и турбокомпрессором и отправка значения давления электронному блоку управления;
– обработка названных выше данных и измеренных величин в электронном блоке управления для создания исходных сигналов управления для открытия/закрытия клапана наддува во времени в участок трубопровода для приточного газа и одновременного управления заслонкой при начале наддува в направлении закрытия и при окончании наддува в направлении открытия.
Согласно предпочтительному осуществлению способа проводятся дополнительно следующие этапы способа:
– определение средней частоты осуществления водителем ускорения с помощью программного обеспечения в электронном блоке управления;
– регулирование наддува воздуха и управление заслонкой адаптивно к определенной средней частоте осуществления водителем ускорения для достижения того, чтобы расход воздуха удерживался в определенных пределах, однако без резкого изменения в продолжительности наддува.
Ниже изобретение представляется с помощью примера осуществления дизельного двигателя, оснащенного турбонаддувом, с помощью приведенных чертежей, где показывают:
фиг.1 – схематическое изображение устройства для обеспечения приточным воздухом двигателя внутреннего сгорания, оснащенного турбонаддувом;
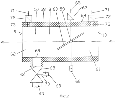
фиг.2 – участок трубопровода для приточного газа устройства на фиг.1;
фиг.3 – аксонометрическое изображение участка трубопровода для приточного газа со стороны впускного конца;
фиг.4 – аксонометрическое изображение участка трубопровода для приточного газа со стороны выпускного конца;
фиг.5 – аксонометрическое изображение участка трубопровода для приточного газа на виде сверху.
В соответствии с фиг.1 дизельный двигатель 2 с турбонаддувом имеет шесть цилиндров 3 в ряду, впускные трубопроводы 4 которых присоединены к коллектору 5, который имеет соединительный фланец 7, к которому присоединен участок 8 трубопровода приточного газа со своим вторым концевым присоединением 9 для выпуска. Первое концевое присоединение 10 для впуска с помощью трубопровода 11 соединено с выпускным отверстием 12 охладителя наддувочного воздуха 13, входное отверстие 14 которого через трубопровод 15 соединено с выходным отверстием 16 турбокомпрессора 17. К входному отверстию 18 турбокомпрессора 17 присоединен воздушный фильтр 19 с трубопроводом 20. Турбокомпрессор 17 образует часть турбокомпрессора 22, работающего на отработавших газах, турбина 23 которого, работающая на отработавших газах, своим входным отверстием 24 присоединена к выходному отверстию 25 к сборной выхлопной трубе 26. Турбокомпрессор 17 и турбина 23, работающая на отработавших газах, закреплены на валу 21. Цилиндры 3 через трубопроводы 27 для выхлопных газов присоединены к сборной выхлопной трубе 26. Выпускное отверстие 28 турбины 23, работающей на отработавших газах, соединено с выпускным газопроводом 29.
Подача топлива к цилиндрам 3 осуществляется с помощью форсунок 30, регулирование которых производится через провод 31 от первого выхода 32 электронного блока управления 38. К входу 37 электронного блока управления 38 через провод 36 присоединен выход 34 электронного блока управления 33. Электронный блок 33 снабжен исполнительным органом, который в этом примере осуществления выполнен в виде педали 35 газа. Электрическое присоединение 39 электронного блока 38 управления соединено через сборную магистраль 40 с электрическим присоединением 41 участка 8 трубопровода для приточного газа.
Участок 8 трубопровода для приточного газа имеет ввод 42 для сжатого воздуха, который через трубопровод 43 присоединен к выпуску 44 резервуара 45 сжатого воздуха. Питающее присоединение 46 резервуара 45 сжатого воздуха через трубопровод 47 присоединено к присоединению 48 для сжатого воздуха компрессора 49, производящего сжатый воздух. В трубопровод 47 встроены регулятор 50 давления и осушитель 51 воздуха. Компрессор 49 для производства сжатого воздуха имеет всасывающий патрубок 52, который снабжен воздушным фильтром 53. Вал 54 компрессора 49, производящего сжатый воздух, через ременный привод 55 соединен с главным валом 56 дизельного двигателя с турбонаддувом.
На фиг.2 участок 8 трубопровода приточного газа, выполненный в виде трубы, представлен подробно; он имеет первое концевое присоединение 10 и второе концевое присоединение 9, между которыми образована внутренняя полость 57, имеющая круговое поперечное сечение. Внутренняя полость 57 спереди окружена стенкой 58, где установлен вал 59 заслонки 60. Заслонка 60 разделяет внутреннюю полость 57 на две части, а именно внутреннюю впускную полость 61, образованную между первым концевым присоединением 10 и заслонкой 60, и внутреннюю выпускную полость 62, образованную между вторым концевым присоединением 9 и заслонкой 60. Заслонка 60 может занимать любое промежуточное положение между положением, в котором она закрыта, и положением, в котором она полностью открыта, которые устанавливаются поворотом вала 59. Регулировочное устройство 66 в этом примере осуществления выполнено в виде электрического двигателя и оснащено электрическими входом 74 регулировочного устройства и выходом 65, которые соответственно присоединены к присоединениям сборной магистрали электронного блока управления. Питание током регулировочного устройства 66 осуществляется через ввод 74 регулировочного устройства. Через выход 65 снимается сигнал о положении заслонки 60. В стенке 58 между вторым концевым присоединением 9 и заслонкой 60 выполнено впускное отверстие 67 для сжатого воздуха, к которому присоединено подсоединение 42 для сжатого воздуха, которое оснащено устройством 68 для регулирования количества воздуха. Устройство 68 для регулирования количества воздуха также может занимать полностью закрытое положение. Электрический вход 69 управления устройства 68 для регулирования количества воздуха, которое имеет клапан 70, присоединен к сборной магистрали 40 электронного блока 38 управления.
Подобным образом к сборной магистрали 40 электронного блока 38 управления присоединен выход 71 датчика 72 давления, который закреплен на стенке 58, манометр 73 датчика 72 давления, который выходит в внутреннюю выпускную полость 62 участка 8 трубопровода приточного газа, и подобный выход 71 датчика 72 давления, закрепленного на стенке 58, а также манометр 73 датчика 72 давления, который выходит в внутреннюю впускную полость 61.
Устройство 1 работает следующим образом: при постоянной частоте вращения цилиндры дизельного двигателя с турбонаддувом обеспечиваются приточным газом через приточные трубопроводы 4, коллектор 5, участок 8 трубопровода приточного газа, трубопровод 11, охладитель 13 наддувочного воздуха, трубопровод 15, турбокомпрессор 17 и воздушный фильтр 19. Выхлопные газы уходят из цилиндров 3 через трубопроводы 27 для отработавших газов, сборный трубопровод 26 для отработавших газов, турбину 23, работающую на отработавших газах, и выхлопную трубу 29.
Если водитель быстро нажмет на педаль 35 газа, должно произойти резкое повышение крутящего момента и соответственно частоты вращения двигателя, а это в свою очередь вызовет большую потребность дизельного двигателя 2, оснащенного турбонаддувом, в большем количестве топлива и приточного газа. Дополнительное топливо подается в цилиндры 3, но повышение количества приточного газа, которое доставляется турбокомпрессором 22, работающим на отработавших газах, остается недостаточным. Также будет низким давление приточного газа, которое постоянно измеряется манометром 73 во внутренней полости 57, и его значение датчиком 72 давления фиксируется электронным блоком 38. При этом режиме работы заслонка 60 полностью открыта. Электронным блоком 38 определяется, что давление во внутренней полости 57 недостаточно быстро повышается, и согласно программе управления устанавливается, что должен быть произведен дополнительный наддув воздуха.
Программа управления имеет заданные данные об условиях, когда нужно начинать наддув. Вначале заслонка 60 поворачивается в направлении закрытия и наддувочный сжатый воздух из резервуара 45 для сжатого воздуха свободно направляется в внутреннюю выпускную полость 62. Продолжительность наддува воздуха равным образом задается программой управления, которая учитывает разность давлений и абсолютное давление, которые измеряются манометрами 73.
Каждый профессиональный водитель или водитель автобуса имеет свой стиль вождения, который требует средних значений ускорения, он использует определенные точки переключения передачи, чьи показатели хранятся в памяти. Это осуществляется в компьютере электронного блока 38 управления и с помощью программного обеспечения применяется в электронном блоке 38 управления для определения продолжительности наддува и управлением заслонкой. Программное обеспечение должно препятствовать слишком большому расходу воздуха из резервуара, чтобы это отрицательно не сказалось на надежности тормозов, так как резервуар 45 является частью общей пневматической системы, в которой важнейшей частью, в части безопасности, является тормозная система. Несмотря на это внезапное изменение при улучшении динамической характеристики не допустимо.
Эта задача в принципе решается за счет того, что продолжительность наддува и положение заслонки регулируются в зависимости от частоты желания водителя адаптивно от программного обеспечения. Благодаря этому расход воздуха удерживается в известных пределах, но без резкого изменения продолжительности наддува воздуха. Таким образом, предотвращается возможность того, что водитель при реализации динамической характеристики вызовет неожиданное изменение, т.е. сокращение количества сжатого воздуха.
Формула изобретения
1. Устройство для обеспечения приточным газом поршневого двигателя (2) внутреннего сгорания, оснащенного турбонаддувом, с участком (8) трубопровода для приточного газа в виде впускного газопровода, который имеет регулируемую заслонку (60) и первое концевое присоединение (10) для впуска, а также второе концевое присоединение (9) для выпуска, причем заслонка (60) для регулировки соединена с регулировочным устройством (66), и между заслонкой (60) и вторым концевым присоединением (9) в имеющую форму трубы внутреннюю полость выходит с отверстием (67) присоединение (42) для сжатого воздуха, причем присоединение (42) для сжатого воздуха снабжено устройством (68) для регулирования количества, имеющим клапан (70), занимающий закрытое положение или любое открытое положение, которое может управляться через электрический вход (69), присоединенный к присоединению (39) электронного блока (38) управления, причем регулировочное устройство (66) заслонки (60) принудительным образом приводится в действие устройством (68) для регулирования количества и/или электрическим блоком (38) управления таким образом, что полностью открытому положению заслонки (60) соответствует полностью закрытое положение устройства (68) для регулирования количества, и что к присоединению (39) электронного блока (38) управления, во-первых, подсоединен выход (71) первого датчика (72) давления, манометр (73) которого расположен в имеющей форму трубы внутренней, впускной полости (61) между заслонкой (60) и первым концевым присоединением (10), и, во-вторых, выход (71) второго датчика (72) давления, манометр (73) которого расположен в имеющей форму трубы внутренней, выпускной полости (62) между заслонкой (60) и вторым концевым присоединением (9).
2. Устройство по п.1, отличающееся тем, что в электронный блок (38) управления поступает сигнал с требованием повышения крутящего момента из следующих источников: педаль газа, системы регулирования привода ведущих колес, измерителя скорости, электрической программы стабилизации, средств, которые отправляют моторной системе внешнее требование повышение крутящего момента.
3. Устройство по п.1, отличающееся тем, что для прямого управления с помощью электрического блока (38) управления регулировочное устройство (66) выполнено с сенсором (63) определения положения.
4. Способ улучшения динамической характеристики и характеристики выхлопа поршневого двигателя внутреннего сгорания транспортного средства, в частности, дизельного двигателя с турбонаддувом, причем устройство для обеспечения приточным газом по одному из предыдущих пп. снабжается пневмоаккумулятором, в котором сжатый воздух накапливается для регулируемого во времени наддува в участок (8) трубопровода для приточного газа цилиндра двигателя, отличается наличием следующих этапов способа: обнаружение сигнала, требующего повышения крутящего момента и отправка данных электронному блоку (38) управления; определение характеристик двигателя и отправка характеристик электронному блоку (38) управления; определение давления воздуха во внутренней полости приточного газопровода между впускным клапаном цилиндра и заслонкой (60) и отправка значения давления электронному блоку (38) управления, а также определение давления воздуха во внутренней полости приточного газопровода между заслонкой (60) и турбокомпрессором и отправка значения давления электронному блоку (38) управления; обработка названных выше данных и измеренных величин в электронном блоке (38) управления для создания исходных сигналов управления для открытия/закрытия клапана (70) наддува во времени в участок (8) трубопровода для приточного газа и одновременного управления заслонкой (60) при начале наддува в направлении закрытия и при окончании наддува в направлении открытия.
5. Способ по п.4, отличающийся наличием следующих этапов способа: определение средней частоты осуществления водителем ускорения с помощью программного обеспечения в электронном блоке (38) управления; регулирование наддува воздуха и управление заслонкой адаптивно к определенной средней частоте осуществления водителем ускорения для достижения того, чтобы расход воздуха удерживался в определенных пределах, однако без резкого изменения в продолжительности наддува.
РИСУНКИ
|
|