|
|
(21), (22) Заявка: 2009101802/03, 21.01.2009
(24) Дата начала отсчета срока действия патента:
21.01.2009
(46) Опубликовано: 20.06.2010
(56) Список документов, цитированных в отчете о поиске:
RU 2208090 C1, 10.07.2003. SU 1002457 A, 07.03.1983. SU 1078018 A, 07.03.1984. RU 2077636 C1, 20.04.1997. RU 2260655 C1, 20.09.2005. RU 2301301 C2, 20.06.2007. RU 54967 U1, 27.07.2006. US 6604583 B1, 12.08.2003.
Адрес для переписки:
140014, Московская обл., г. Люберцы, Октябрьский пр-кт, 339, кв.17, И.Н. Яковлеву
|
(72) Автор(ы):
Яковлев Иван Николаевич (RU)
(73) Патентообладатель(и):
Яковлев Иван Николаевич (RU)
|
(54) УСТРОЙСТВО ДЛЯ РАЗРАБОТКИ И ВЫЕМКИ ГРУНТА В ПОЛОСТИ ТРУБЫ ПРИ ЕЕ ПОГРУЖЕНИИ В ГРУНТ
(57) Реферат:
Изобретение относится к строительству и может быть использовано при изготовлении железобетонных монолитных фундаментов зданий, высотных домов, опор мостов и других сооружений с применением обсадных труб, погружаемых в грунт. Устройство для разработки и выемки грунта в полости трубы при ее погружении в грунт включает привод, редуктор с выходным валом в центре, соединенным со шнеком с забурником, и подвеску к базовой машине, снабжено виброблоком, эксцентриковые валы которого соединены коническими зубчатыми колесами с валом привода и входным валом редуктора. Обеспечивает упрощение применяемого оборудования и снижение его стоимости, повышение производительности труда. 2 з.п. ф-лы, 4 ил.
Изобретение относится к строительству и может быть использовано при изготовлении железобетонных фундаментов зданий, высотных домов, опор мостов и других сооружений с применением обсадных труб, погружаемых в грунт.
Известна установка для разработки и выемки грунта в полости трубы при ее погружении в грунт, включающая базовую машину, мачту, телескопическую штангу, головку роторную и буровой инструмент (рекламный лист фирмы Касагранте ФРГ).
Недостатком этой установки является потребность больших усилий и мощности на буровой инструмент при разработке грунта в полости трубы, большая масса и стоимость оборудования.
Известно устройство для бурения скважин, включающее базовую машину со стрелой, на которой подвешен привод и штанга с рабочим органом (а.с. СССР 989020, кл. Е21В 7/24 1983 г.). Недостатком этого устройства является недостаточные технические возможности конструкции выполнять разработку и выемку грунта из полости трубы при ее погружении в грунт при больших диаметрах труб.
Наиболее близким техническим решением является устройство для вибровращательного бурения, включающее направляющую мачту, на которой установлена рама с вибровращательной кареткой, кинематически связанной посредством цепной передачи с двигателями вращателя и вибратора, смонтированными на консолях рамы, и механизм регулировки подачи штанги с буровым инструментом на забой (а.с. СССР 1078018, кл. Е21В 7/24, 1984 г.).
Недостатком этого технического решения является малая эффективность передачи вибрации на буровой инструмент, ограничены технические возможности разработки и выемки грунта в полости погружаемых труб большого диаметра, усложнена и малонадежна система технического решения передачи вибрации на буровой инструмент, большая масса оборудования.
Изобретение направлено на повышение эффективности при разработке и выемке грунта в полости погружаемой трубы, на упрощение применяемого оборудования для решения поставленной технической задачи, на снижение стоимости применяемого оборудования.
Сущность заявленного изобретения заключается в том, что устройство для разработки и выемки грунта в полости трубы при ее погружении в грунт, включающее привод, редуктор с выходным валом в центре, соединенным со шнеком с забурником, и подвеску к базовой машине, снабжено виброблоком, эксцентриковые валы которого соединены коническими зубчатыми колесами с валом привода и входным валом редуктора, а редуктор снабжен дополнительными выходными валами, соединенными со шнеками с забурниками, причем шнеки помещены в подпружиненную к корпусу редуктора цилиндрическую ограждающую рубашку, выполненную в нижней части обращенными внутрь наклонными козырьками клиновидной формы, а подвеска устройства снабжена амортизатором.
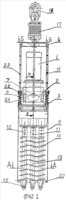
Устройство для разработки и выемки грунта в полости трубы при ее погружении в грунт поясняется чертежами, где на фиг.1 изображен общий вид устройства; на фиг.2 разрез по А-А фиг.1; на фиг.3 – разрез по Б-Б фиг.1 и на фиг.4 – разрез по В-В фиг.1.
Устройство, изображенное на фиг.1 состоит из привода 1, виброблока 2, редуктора 3, подвески 4, цилиндрической ограждающей рубашки 5.
Виброблок 2 устройства имеет эксцентрики 6, закрепленные на эксцентриковых валах 7. Эксцентриковые валы 7 соединены зубчатыми коническими колесами 8 с валом 9 привода 1 и входным валом 10 редуктора 3 (см. фиг.4). Виброблок 2 при бурении создает направленную вертикальную и крутильную в горизонтальной плоскости вибрацию. Редуктор 3 имеет выходные валы: центральный 11 и дополнительные 12, которые соединены соответственно с центральным шнеком 13 и дополнительными шнеками 14 и с забурниками 15.
Подвеска 4 устройства состоит из траверсы 16, амортизатора 17 с серьгой 18 и штанг 19, соединяющих корпус редуктора 3 с траверсой 16. Цилиндрическая ограждающая рубашка 5, в полости которой помещены шнеки 13 и 14, в нижней части имеет наклонные козырьки 20 клиновидной формы, она находится в скользящем зацеплении со штангами 19 и подпружинена пружинами 21, надетыми на штанги 19, с возможностью перемещения по ним. Перемещение рубашки 5 по штангам 19 ограничено упорами 22, закрепляемыми на штангах 19, в местах, обозначенных отверстиями 23.
Устройство для разработки и выемки грунта в полости трубы при ее погружении в грунт работает следующим образом.
При помощи серьги 19 устройство навешивают на крюк грузоподъемного крана (не показано). В таком виде устройство опускают в полость трубы на забой (не показано) и включают привод 1 устройства.
Под действием вибрации, создаваемой виброблоком 2 на цилиндрическую ограждающую рубашку 5 и вращающиеся шнеки 13 и 14 с забурниками 15, происходит разрушение грунта по всей площади сечения шнеков и цилиндрической ограждающей рубашки 5. Разрушенный грунт рабочими органами забурников 15 и цилиндрической ограждаемой рубашкой 5, шнеками 13 и 15 подается в полость цилиндрической ограждающей рубашки 5. Вибрация, создаваемая виброблоком 2 при бурении, повышает интенсивность бурения и заполнения свободного пространства в полости цилиндрической ограждающей рубашки 5.
После заполнения внутрирубашечного пространства грунтом устройство вынимают из полости погружаемой трубы грузоподъемным краном. При выемке устройства из полости погружаемой трубы цилиндрическая ограждающая рубашка с наклонными козырьками 20 и витки шнеков препятствуют произвольному выпадению грунта.
Разгрузку грунта осуществляют при подвешенном на крюке грузоподъемного крана устройстве путем включения привода 1 устройства в направлении, обратном бурению. При этом грунт под действием вибрации и вращения шнеков в направлении, обратном бурению, разгружают в предназначенном для этого месте.
Подвеска 4, снабженная амортизатором 17, предохраняет стрелу грузоподъемного крана от воздействия вибрации. На этом цикл работы по разработке и выемке грунта в полости погружаемой трубы закончен. Величину силы вибрации можно регулировать сменой эксцентриков 6 виброблока 2.
Выполнение устройства для разработки и выемки грунта в полости погружаемой трубы при погружении ее в грунт с виброблоком, дополнительными выходными валами со шнеками и забурниками с подпружиненной цилиндрической ограждающей рубашкой и подвеской с амортизатором дает возможность наиболее интенсивно разрабатывать и вынимать грунт из полости погружаемых в грунт труб меньшей мощностью привода и со значительно меньшими стоимостью оборудования и затратами на производство работ.
Формула изобретения
1. Устройство для разработки и выемки грунта в полости трубы при ее погружении в грунт, включающее привод, редуктор с выходным валом в центре, соединенным со шнеком с забурником, и подвеску устройства к базовой машине, отличающееся тем, что оно снабжено виброблоком, эксцентриковые валы которого соединены коническими зубчатыми колесами с валом привода и входным валом редуктора.
2. Устройство по п.1, отличающееся тем, что редуктор снабжен дополнительными выходными валами, соединенными со шнеками с забурниками, причем шнеки помещены в подпружиненную к корпусу редуктора цилиндрическую ограждающую рубашку, выполненную в нижней части обращенными внутрь наклонными козырьками клиновидной формы.
3. Устройство по п.1, отличающееся тем, что подвеска устройства снабжена амортизатором.
РИСУНКИ
|
|