|
|
(21), (22) Заявка: 2008140354/03, 10.10.2008
(24) Дата начала отсчета срока действия патента:
10.10.2008
(30) Конвенционный приоритет:
19.10.2007 DE 202007014677.9
(46) Опубликовано: 20.06.2010
(56) Список документов, цитированных в отчете о поиске:
ЕР 1070800 А1, 24.01.2001. ЕР 0781891 А1, 02.07.1997. RU 2087641 C1, 20.08.1997. RU 2052039 C1, 10.01.1996. RU 2121046 C1, 28.06.1993.
Адрес для переписки:
190000, Санкт-Петербург, ул. Малая Морская, 15, офис 5, ООО “ПАТЕНТИКА” ВОХ 1125, М.А.Можайскому
|
(72) Автор(ы):
БАУЭРМАЙСТЕР Ульрих (DE), ФУРХЕ Йоханнес (DE)
(73) Патентообладатель(и):
Филигран Трэгерсистем ГмбХ энд Ко., КГ (DE)
|
(54) РЕШЕТЧАТАЯ БАЛКА
(57) Реферат:
В решетчатой балке (1) для армирования перекрытия против действия поперечных сил и/или против продавливания, в частности, в месте расположения точечной опоры или плоского перекрытия, имеющей по меньшей мере один непрерывный в продольном направлении пояс (4) и по меньшей мере один приваренный к нему змеевидно изогнутый элемент (5), образующий раскосы с изгибами (6) между ними, по меньшем мере на одном изгибе (6) размещен по меньшей мере один закрепляющий элемент (7), выполненный в виде фасонной детали, размеры которой ограничены в продольном направлении решетчатой балки таким образом, что между закрепляющими элементами, следующими друг за другом в продольном направлении решетчатой балки (1), имеется не содержащий пояса промежуток, а закрепляющий элемент выполнен с возможностью заделки в бетон перекрытия для передачи в перекрытие усилий от раскосов. 11 з.п. ф-лы, 27 ил.
Изобретение относится к решетчатой балке, выполненной согласно ограничительной части п.1 формулы изобретения.
Чтобы увеличить сопротивление перекрытия в форме плиты поперечным силам или сопротивление продавливанию при точечной нагрузке, в бетонные строительные элементы заделывают арматуру. Одна известная система армирования против продавливания включает отдельные армирующие элементы, например штыри с двойной головкой. Такая арматура служит также для повышения несущей способности плоских перекрытий по отношению к поперечным силам, легко устанавливается и существенно повышает сопротивление бетонной плиты продавливанию. Другие известные виды арматуры, противодействующие продавливанию, содержат несколько решетчатых балок. Точки закрепления несущих раскосов и/или вертикальных стоек змеевидно изогнутого элемента, образующего раскосы, соответствующей решетчатой балки расположены на внутренней стороне арматуры для противодействия растяжению при изгибе, что, однако, существенно уменьшает сопротивление продавливанию по сравнению с использованием арматуры, противодействующей продавливанию, содержащей штыри с двойной головкой (Журнал Beton- und Stahl-Betonbau, Heft 6, 2003, “Neue Durchstanzbewehrung für Elementdecken”, Eligehausen и др.). Для обеспечения сопротивления большим продавливающим нагрузкам закрепление несущих раскосов должно быть расположено как можно дальше снаружи, т.е. как можно выше в области верхней арматуры, противодействующей растяжению при изгибе.
В известной из ЕР 1070800А арматуре, противодействующей продавливанию, закрепление несущих вертикальных стоек и раскосов змеевидно изогнутого элемента, образующего раскосы, осуществляется посредством выполнения изгибов в виде петель, выступающих вверх над верхним поясом или верхними поясами. Благодаря этому сопротивление продавливанию повышается, но из-за низко расположенных точек закрепления не достигаются те значения сопротивления продавливанию, которые возможны для плит, содержащих штыри с двойной головкой. В этой известной арматуре, противодействующей продавливанию, получаемое сопротивление продавливанию достигается также благодаря непрерывному поясу, который используется в качестве закрепляющего элемента в дополнение к выступающему изгибу. Чтобы при установке избежать трудоемкой операции заведения верхней арматуры плиты, противодействующей растяжению при изгибе, сверху под непрерывные пояса, этот пояс может быть расположен на внутренней, с точки зрения размещения арматуры перекрытия, противодействующей растяжению при изгибе стороне плиты перекрытия. Таким образом, непрерывный пояс в качестве закрепляющего элемента для раскосов не может быть расположен оптимально далеко снаружи или выше. Кроме того, расстояние между непрерывным поясом и верхней стороной выступающего над поясом изгиба должно быть согласовано с толщиной слоя установленной арматуры, противодействующей растяжению при изгибе, для обеспечения возможности оптимального расположения по высоте. Такое согласование приводит к затратам и повышению трудоемкости. Наконец, это приводит к нерациональному увеличению высоты штабеля решетчатых балок соответственно на величину выступа изгиба над верхним поясом.
Из ЕР-А-0781891 известна арматура для плоских перекрытий, в которой предусмотрены верхние и/или нижние арматурные сетки, противодействующие изгибу, а между ними присоединены армирующие элементы, противодействующие сдвигу, в форме винтовой линии. Каждый армирующий элемент, противодействующий сдвигу, приварен к изгибам на монтажном стержне, который при помощи закрепляющих элементов, выполненных в виде проволочных петель, зафиксирован на стержнях арматуры, противодействующей изгибу.
Из DE-U-7112799 известна решетчатая балка без нижних поясов, в которой змеевидно изогнутые элементы, образующие раскосы, уложены верхними изгибами над верхним поясом и приварены к нему. Нижние изгибы змеевидно изогнутых элементов сформированы с образованием зажимных петель для обеспечения возможности подвешивания в этом месте стержней арматурных сеток.
Из DE-U-1983738 известна легкая решетчатая балка с профилированным листовым верхним поясом, нижними поясами из круглого железа и диагоналями из полосового железа. Нижние изгибы диагоналей имеют горизонтальные элементы, на каждом из которых соответственно жестко закреплен один держатель арматуры. Нижний пояс может быть окружен бетонным основанием.
Из WO-A-05/014950 известна решетчатая балка с верхним поясом, нижними поясами и змеевидно изогнутыми проволочными элементами, образующими раскосы. Решетчатая балка имеет на концах нижние закрепляющие зубцы для крепления на вертикальной панели, зацепленные за нижние пояса.
Из US-A-3400508 известна решетчатая балка только с одним верхним поясом, в которой диагонали змеевидно изогнутого элемента, образующего раскосы, внизу загнуты внутрь в горизонтальном направлении наподобие клещей для удержания элементов арматуры. Ввиду отсутствия нижних поясов в средней плоскости решетчатой балки между диагоналями приварены проходящие в поперечном направлении соединительные стержни.
Из ЕР-А-1433908 известна решетчатая балка с двумя змеевидно изогнутыми элементами, образующими раскосы, без верхнего пояса, но с двумя нижними поясами. Изгибы змеевидно изогнутых элементов вверху сварены друг с другом непосредственно или через зажатую по меньшей мере между криволинейными частями изгиба проволочную скобу, концы которой загнуты вниз.
Из DE-U-9015953 известна решетчатая балка с одним верхним поясом, двумя нижними поясами и двумя змеевидно изогнутыми элементами, образующими раскосы. На верхних изгибах змеевидно изогнутых элементов к верхнему поясу жестко приварены поперечные стержни.
В основе изобретения лежит задача создать решетчатую балку описанного выше типа, которая при сохранении преимущества простой установки в перекрытие позволяет достигнуть высокого сопротивления поперечным силам и продавливанию, не требует согласования с расположением пояса по высоте и удобно штабелируется.
Решение поставленной задача изложено в п.1 формулы изобретения.
Закрепляющие элементы, размещенные на всех или только на выбранных изгибах, служат там своеобразной заменой непрерывного пояса, проходящего в продольном направлении решетчатой балки. Таким образом создаются большие поверхности для передачи усилий от раскосов в бетон и соответственно образуется точка закрепления, максимально отдаленная в наружном направлении. Поскольку между закрепляющими элементами вдоль решетчатой балки образованы промежутки, которые могут служить для удобной установки соответствующей арматуры, противодействующей растяжению при изгибе без заведения под пояса, согласование с расположением непрерывного пояса по высоте более не требуется. Поскольку изгибы решетчатых балок не являются выступающими, решетчатые балки удобнее штабелировать. Наиболее эффективным является замена непрерывного пояса закрепляющими элементами на месте верхнего пояса, т.к. эта область в общем случае расположена в зоне растяжения бетонной плиты. При этом на всех или на выбранных нижних изгибах альтернативно или дополнительно также могут быть размещены закрепляющие элементы с целью получения таких же преимуществ на нижней стороне строительного элемента. Благодаря промежуткам между закрепляющими элементами обеспечена возможность установки верхней арматуры, противодействующей растяжению при изгибе сверху в бетонный строительный элемент рядом с закрепляющими элементами и между ними без заведения под непрерывные верхние пояса. В этом случае решетчатая балка может быть уложена на специальные дистанционные прокладки или на другие решетчатые балки. Благодаря промежуткам закрепляющие элементы, независимо от толщины соответствующего слоя арматуры, противодействующей растяжению при изгибе, могут быть непрерывно размещены на изгибах на такой высоте, которая является оптимальной для обеспечения сопротивления продавливанию.
Целесообразно выполнить закрепляющий элемент так, чтобы его верхняя сторона оканчивалась в месте верхней стороны изгиба или нижняя сторона закрепляющего элемента, расположенного в решетчатой балке внизу, оканчивалась там же, где и нижняя сторона изогнутого раскоса, образующего изгиб. Однако из соображений технологии и для оптимального расположения мест сварки верхняя или нижняя сторона закрепляющего элемента может быть расположена и в пределах зоны, которая ограничена верхней стороной и нижней стороной изгиба. Чтобы, например, создать лучшие условия для сварки, верхняя или нижняя сторона закрепляющего элемента (в зависимости от того, размещены ли закрепляющие элементы в решетчатой балке в качестве замены непрерывного пояса вверху или внизу) может выступать за верхнюю или нижнюю сторону изогнутого раскоса, образующего изгиб, максимально на толщину змеевидно изогнутого элемента, образующего изгиб.
Соответствующий закрепляющий элемент установлен в области изгиба с выполнением прочного соединения, соединения с взаимным зацеплением, или прочного соединения с взаимным зацеплением, например приварен и/или установлен на защелке.
Закрепляющий элемент в форме отрезка круглой или прямоугольной стали приварен к изгибу, рядом с ним или между двумя соседними изгибами, проходящими в поперечном направлении решетчатой балки, так что закрепляющий элемент оказывается в точке закрепления максимально высоко и выступает за изгиб, при необходимости существенно, своими концами примерно в продольном направлении решетчатой балки. Также целесообразно предусмотреть на один изгиб по меньшей мере два места сварки между закрепляющим элементом и изгибом. Соответствующий закрепляющий элемент повышает прочность закрепления в этой точке.
Длина закрепляющего элемента может соответствовать трех-восьмикратной его толщине, что способствует образованию в перекрытии точки закрепления, способной выдерживать максимальную нагрузку.
В другом варианте реализации изобретения закрепляющий элемент может быть стальной или чугунной фасонной деталью, которая для повышения надежности закрепления охватывает с нескольких сторон один изгиб или два изгиба, соседних в поперечном направлении решетчатой балки, предпочтительно с трех-четырех сторон.
Еще в одном варианте реализации изобретения фасонная деталь в качестве закрепляющего элемента может быть установлена на защелке между двумя изгибами, соседними в поперечном направлении решетчатой балки, и/или приварена.
Для увеличения поверхностей передачи усилий фасонная деталь может иметь расширения в одном месте или нескольких местах.
Фасонная деталь в качестве закрепляющего элемента также может быть соединена с взаимным зацеплением с одним или несколькими изгибами.
Так, например, фасонная деталь может быть введена сбоку в изгиб или в изгибы таким образом, что центральный стержень фасонной детали взаимодействует с криволинейным участком изгиба, а две боковых части фасонной детали расположены снаружи изгиба, так что их верхние стороны проходят примерно до верхней стороны изгиба.
Еще в одном варианте фасонная деталь может быть введена в изгибы снизу, при этом ее центральная часть согласована с криволинейным участком изгиба, а боковые части фасонной детали проходят рядом с изгибами вверх, так что их верхние стороны по высоте приблизительно достигают по меньшей мере верхней стороны изгиба.
Отказ от непрерывного пояса в области изгибов, на которых размещены закрепляющие элементы, может привести к тому, что при транспортировке более длинных решетчатых балок потребуются особые условия. Поэтому целесообразно, по меньшей мере для транспортировки и монтажа, разместить на решетчатой балке между верхними и нижними изгибами змеевидно изогнутого элемента, образующего раскосы, по меньшей мере один дополнительный средний пояс. Такие средние пояса не мешают установке арматуры, противодействующей растяжению при изгибе. Избежать установки дополнительных средних поясов можно путем использования коротких решетчатых балок, которые имеют от двух до пяти или более изгибов змеевидно изогнутого элемента, образующего раскосы.
В одном рациональном варианте выполнения решетчатой балки в каждом змеевидно изогнутом элементе, образующем раскосы, предусмотрены вертикальные и наклонные раскосы, следующие друг за другом в продольном направлении, или исключительно раскосы, наклоненные попеременно в противоположных направлениях, или исключительно вертикальные раскосы, или исключительно раскосы, наклоненные в одном направлении.
Еще в одном дающем преимущество варианте выполнения решетчатая балка имеет два отстоящих друг от друга непрерывных нижних пояса и два приваренных к ним змеевидно изогнутых элемента, образующих раскосы, благодаря которым балка имеет по существу симметричное, А-образное или несимметричное вследствие различной длины или различного наклона раскосов поперечное сечение. Поскольку в этой балке имеются два отстоящих друг от друга непрерывных нижних пояса и только один змеевидно изогнутый элемент, образующий раскосы, нижние изгибы змеевидно изогнутого элемента соединены с нижними поясами с попеременным смещением относительно друг друга или в поперечном сечении загнуты от середины только к одной стороне, и в области этих отгибов соединены с нижними поясами. Могут быть также предусмотрены два незначительно отстоящих друг от друга непрерывных нижних пояса и две параллельные последовательности раскосов, которые приварены к ним. Таким образом, непрерывный верхний пояс отсутствует, и на всех или только на выбранных изгибах размещены закрепляющие элементы, между которыми в продольном направлении решетчатой балки образованы промежутки для установки стержней арматуры, противодействующей растяжению при изгибе.
В других вариантах вместо непрерывного в продольном направлении нижнего пояса внизу могут быть расположены закрепляющие элементы, между которыми в продольном направлении могут быть свободные промежутки для обеспечения возможности удобной установки в перекрытии нижних слоев арматуры или их поперечных стержней.
Варианты выполнения изобретения поясняются при помощи чертежей, на которых:
фиг.1а-1с изображен фрагмент первого варианта выполнения решетчатой балки: на виде сбоку вместе с установленной верхней арматурой, противодействующей растяжению при изгибе, в поперечном сечении и на виде сверху без арматуры, противодействующей растяжению при изгибе;
фиг.2а-2с – три различных варианта выполнения решетчатой балки на виде сбоку, т.е. поперечно продольному направлению;
фиг.3а-3d – варианты поперечных сечений решетчатых балок;
фиг.4а-4с – еще один вариант выполнения решетчатой балки: на виде сбоку, в поперечном сечении и на виде сверху;
фиг.5а-5с – еще один вариант выполнения решетчатой балки: на виде сбоку, в сечении и на виде сверху;
фиг.5d-5e – два варианта детали на виде решетчатой балки сверху;
фиг.6а-6с – еще один вариант выполнения решетчатой балки: на виде сбоку, в поперечном сечении и на виде сверху;
фиг.7а-7с – еще один вариант выполнения решетчатой балки: на виде сбоку, в поперечном сечении и на виде сверху.
Ниже при помощи фиг.1-7 поясняются различные варианты выполнения решетчатых балок 1, которые заделывают в бетон перекрытия для формирования арматуры, противодействующей продавливанию и/или действию поперечных сил, в частности перекрытия в месте расположения точечной опоры, плоского перекрытия или перекрытия, опирающегося на вершину стены или несущего стену, в местах вероятного возникновения высоких точечных или распределенных по линии нагрузок. В таких местах в качестве арматуры, противодействующей продавливанию или действию поперечных сил, всегда устанавливают несколько решетчатых балок, которые комбинируют с обычной арматурой перекрытия, например с верхней и/или нижней арматурой, противодействующей растяжению при изгибе, состоящей из продольных и/или поперечных стержней.
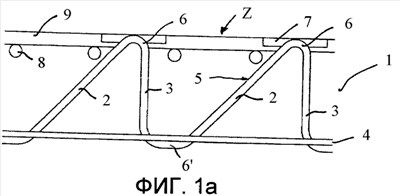
Вариант выполнения решетчатой балки 1, представленный на фиг.1а-1с, имеет А-образное симметричное поперечное сечение и два соответственно проходящих в одной плоскости змеевидно изогнутых элемента 5, образующих наклонные и вертикальные раскосы 2, 3, которые расположены друг за другом и соединены друг с другом посредством верхних изгибов 6 и нижних изгибов 6′. Нижние изгибы 6′, например, приварены с внутренней стороны к наружным непрерывным в продольном направлении нижним поясам 4. Соответственно два верхних изгиба 6 расположены рядом друг с другом с промежутком в поперечном направлении решетчатой балки 1. В этой области непрерывный верхний пояс непредусмотрен. Между верхними изгибами 6 приварен закрепляющий элемент 7, например отрезок круглой или полосовой стали. Отрезок круглой стали может быть толще, чем раскосы 2, 3, и иметь длину, которая соответствует, например, трех-восьмикратной его толщине, так что закрепляющий элемент 7 выступает за изгибы 6 в продольном направлении с обеих сторон и скрепляет их друг с другом.
В зависимости от вида ожидаемой нагрузки закрепляющие элементы 7 могут быть размещены на всех верхних изгибах 6 или только на выбранных верхних изгибах 6. В продольном направлении решетчатой балки 1 между закрепляющими элементами 7 образованы свободные промежутки Z, которые согласно фиг.1а обеспечивают удобную укладку поперечных стержней 8 верхней арматуры, противодействующей растяжению при изгибе, на которые уложены продольные стержни 9 арматуры, противодействующей растяжению при изгибе. Продольные стержни 9 расположены между закрепляющими элементами 7 соседних балок 1. Расположение этой арматуры также может быть обратным, т.е. продольные стержни 9 могут быть расположены внизу, а на них могут быть расположены поперечные стержни 8. Равным образом может быть установлена многослойная арматура, противодействующая растяжению при изгибе. Независимо от толщины соответствующего слоя арматуры закрепляющие элементы 7 в этом варианте выполнения решетки расположены так, что их верхняя сторона оканчивается примерно там же, где и верхняя сторона изгиба 6. Однако верхняя сторона закрепляющего элемента 7 может в общем случае быть размещена в зоне между верхней и нижней сторонами изогнутого раскоса, образующего изгиб 6. Возможно и такое расположение, при котором верхняя сторона закрепляющего элемента 7 расположена в пределах зоны, проходящей выше верхней стороны и ниже нижней стороны изогнутого раскоса, образующего изгиб 6, соответственно на толщину изгиба 6.
На фиг.1с представлен вид сверху, иллюстрирующий, как закрепляющий элемент 7 вставлен между двумя соседними в поперечном направлении (при необходимости сваренными) изгибами 6 и приварен к ним, Следует отметить, что на фиг.1 или 2 на один изгиб или пару изгибов может быть установлено несколько закрепляющих элементов.
Хотя на фиг.1 показаны закрепляющие элементы 7, установленные, например, на верхних изгибах 6 змеевидно изогнутых элементов 5, точки закрепления могут быть выполнены на одной или на обеих нижних сторонах решетчатой балки, аналогичным способом, посредством закрепляющих элементов 7 на нижних изгибах 6′, при исключении непрерывного нижнего пояса.
В варианте выполнения согласно фиг.2а каждый змеевидно изогнутый элемент 5 имеет раскосы 10, 11, проходящие с наклонами в противоположных направлениях или поднимающиеся и опускающиеся, и закрепляющие элементы 7, расположенные на верхних изгибах 6 или между ними с образованными между ними в продольном направлении промежутками Z. Верхняя сторона закрепляющего элемента 7, ориентированного по меньшей мере приблизительно в продольном направлении, оканчивается примерно там же, где и верхняя сторона изгиба 6.
В варианте выполнения согласно фиг.2b каждый змеевидно изогнутый элемент 5 содержит только параллельные друг другу и проходящие перпендикулярно нижним поясам 4 раскосы 12, на изгибах 6 которых, выполненных в виде круглой плоской дуги, размещены закрепляющие элементы 7.
В варианте выполнения согласно фиг.2с, как и на фиг.2b, в каждом змеевидно изогнутом элементе 5 параллельные друг другу раскосы 13 проходят с наклоном в одном направлении по отношению к нижним поясам 4. На фиг.2b и 2с раскосы 12, на изгибе 6 которых размещен закрепляющий элемент 7, расположены в продольном направлении решетчатой балки ближе друг к другу, чем раскосы 12, которые соединены друг с другом посредством нижних изгибов 6′.
Выбор варианта выполнения решетчатой балки для соответствующих условий применения зависит от желаемой оптимизации при применении. Для обеспечения увеличенного сопротивления продавливанию желательны раскосы, поднимающиеся к точке приложения нагрузки плоского перекрытия. Если точное расположение точки приложения нагрузки неизвестно или может варьироваться, особенно подходят варианты выполнения согласно фиг.2а и 2b. Очень высокое сопротивление продавливанию достигается в вариантах выполнения согласно фиг.2с или фиг.1а-1с.
На фиг.3а-3с приведены различные рациональные формы поперечного сечения решетчатых балок 1, на всех или на выбранных верхних изгибах 6 которых установлены закрепляющие элементы 7, схожие с закрепляющими элементами на фиг.1.
На фиг.3а и 3b к двум нижним поясам 4, находящимся на расстоянии в поперечном направлении и непрерывным в продольном направлении, соответственно присоединен только один змеевидно изогнутый элемент 5. На фиг.3а змеевидно изогнутый элемент проходит вначале в поперечном сечении примерно в средней плоскости решетчатой балки вниз, а затем загнут наружу попеременно влево и вправо и закреплен нижними изгибами 6′ на нижних поясах 4. На фиг.3b змеевидно изогнутый элемент 5 проходит вначале примерно вертикально по отношению к основанию решетчатой балки вниз, где закреплен на центральном непрерывном в продольном направлении нижнем поясе 4, откуда изгибы 6′ проходят только в одну сторону к другому нижнему поясу 4. На фиг.3а и 3b на верхних изгибах 6 с наружной стороны приварено соответственно по два закрепляющих элемента 7, ориентированных примерно в продольном направлении. Благодаря этому, несмотря на наличие только одного змеевидно изогнутого элемента 5, прочность закрепления повышена. Если закрепляющий элемент 7 выполнен достаточно большим, достаточно использовать один такой элемент.
В варианте выполнения согласно фиг.3с примерно параллельно друг другу проходят два змеевидно изогнутых элемента 5, которые соединены с нижними поясами 4, проходящими здесь относительно близко друг к другу, а между верхними изгибами 6 размещен закрепляющий элемент 7. Этот вариант выполнения может быть предпочтительным, если точка приложения нагрузки может располагаться слева или справа от решетчатой балки, и в этом случае эффективными должны быть оба змеевидно изогнутых элемента 5.
В варианте выполнения согласно фиг.3d два змеевидно изогнутых элемента 5 образуют несимметричное поперечное сечение, при этом между верхними изгибами 6 установлен закрепляющий элемент 7. Несимметричная форма поперечного сечения получается вследствие того, что раскосы обоих змеевидно изогнутых элементов 5 имеют различную длину или наклонены под различными углами. Этот вариант выполнения может быть предпочтительным, если задано положение точки приложения нагрузки на одной стороне решетчатой балки. В этом случае используется приблизительно вертикальный змеевидно изогнутый элемент и наклоненный к точке приложения нагрузки в перекрытии змеевидно изогнутый элемент, которые вверху скреплены друг с другом посредством закрепляющего элемента 7.
В варианте выполнения согласно фиг.4а-4с расположенные рядом друг с другом, при необходимости сваренные друг с другом верхние изгибы 6 обоих змеевидно изогнутых элементов 5 скреплены посредством закрепляющего элемента 15, который охватывает изгибы 6 с трех сторон и, например, согнут из круглой стали в форме буквы U. Закрепляющий элемент 15 может быть приварен к изгибам 6 в нескольких местах. Закрепляющий элемент 15 может быть также замкнутым овалом, который в этом случае охватывает оба изгиба 6 в общей сложности с четырех сторон, например замкнутым овалом из круглой стали, аналогичным звену цепи, или обжатым с обеих сторон отрезком стальной трубы.
В варианте выполнения решетчатой балки согласно фиг.5а-5с между соседними верхними изгибами 6 змеевидно изогнутого элемента 5, расположенными на некотором расстоянии друг от друга в направлении, поперечном продольному направлению решетчатой балки, соответственно приварен более широкий закрепляющий элемент 16, который выступает с обеих сторон за изгиб 6 наружу в продольном направлении решетчатой балки, и на фиг.5а-5с имеет форму пластины или прямоугольного параллелепипеда 17. Благодаря этому образуется очень большая поверхность передачи нагрузки, которая может составлять пяти-десятикратную площадь поперечного сечения закрепляемого стержня.
В вариантах выполнения согласно фиг.5d и 5е соответствующий закрепляющий элемент 18 или 19 выполнен на виде сбоку аналогично закрепляющему элементу 16 согласно фиг.5а или 5b, однако с боковыми расширениями 18а и уступами 18b, так что там могут быть прижаты верхние изгибы 6. Верхняя сторона закрепляющего элемента 18 или 19 расположена на высоте изгибов 6, при этом также обеспечена возможность использования большей поверхности передачи нагрузки. Однако для закрепляющего элемента 19 расширение 19а на каждой стороне сформировано только на одном конце, а далее на каждой стороне сформирован уступ 19b для прижатия между верхними изгибами 6. Для получения преимущества расширения 19а расположены на той стороне, на которой раскосы 2 проходят вверх наклонно, в то время как раскосы 3 проходят вниз относительно круто.
В вариантах выполнения на фиг.4а-4с и фиг.5е соответствующий закрепляющий элемент 15 или 19 выступает в продольном направлении решетчатой балки за верхний изгиб 6 по существу только на одной стороне, вследствие чего еще более облегчается установка верхней арматуры, противодействующей растяжению при изгибе.
В вариантах выполнения согласно фиг.6а-6с и фиг.7а-7с соответствующий закрепляющий элемент 20 или 23 выполнен в виде фасонной детали из стали или чугуна. На фиг.6а-6с показана фасонная деталь, которая сверху похожа на С-образную скобу с двумя боковыми частями 22 и нижним центральным стержнем 21. Фасонная деталь выполнена с возможностью быть вдвинутой в изгибы 6 поперек продольного направления решетчатой балки, т.е. сбоку, таким образом, что центральный стержень 21 сопряжен с криволинейными участками изгибов 6, а боковые части 22 лежат сверху, примыкая к вершине изгиба 6. Верхняя сторона фасонной детали 20 оканчивается примерно там же, где и верхняя сторона изгиба 6. Фасонная деталь может быть закреплена только с взаимным зацеплением, например запрессовкой, и/или зафиксирована посредством сварки. Фасонная деталь 20 может быть размещена на месте уже при изготовлении решетчатой балки в заводских условиях или позднее на складе хранения, заводе готовых конструкций или уже на строительной площадке.
Например, из стандартной решетчатой балки может быть удален ее верхний пояс, вместо которого на изгибах 6 могут быть размещены фасонные детали 20, чтобы сделать решетчатую балку пригодной для установки арматуры, противодействующей продавливанию и/или действию поперечных сил, или могут быть удалены только участки верхнего пояса или верхних поясов, чтобы образовать промежутки Z и закрепляющие элементы 7.
В варианте выполнения согласно фиг.7а-7с закрепляющим элементом 23, например согласно фиг.1, является фасонная деталь, которая может передавать усилия на змеевидно изогнутые элементы 5, например, только посредством взаимного зацепления, однако для надежности она может быть также жестко приварена. Фасонная деталь имеет две находящихся на расстоянии друг от друга боковых части 25, между которыми под углублением 24а проходит тонкая центральная часть 24. Оба змеевидно изогнутых элемента 5 наклонены вверху друг к другу, так что изгибы 6 прилегают друг к другу или могут быть приварены друг к другу. Закрепляющий элемент 23 заведен в изгибы 6 снизу, так что углубление 24а расположено в их криволинейных участках. Боковые части 25 размещены рядом с изгибами 6 и проходят так, что их верхние стороны по высоте достигают верхней стороны этих изгибов. Концы 25′ боковых частей 25 могут, например, быть защелкнуты на раскосах 3.
Фасонные детали 23 и 20 пригодны также для применения только на выбранных изгибах 6, например в непосредственной близости от поверхности приложения нагрузки бетонной плиты.
Формула изобретения
1. Решетчатая балка (1) для армирования перекрытия против действия поперечных сил и/или против продавливания, в частности перекрытия в месте расположения точечной опоры или плоского перекрытия, имеющая по меньшей мере один непрерывный в продольном направлении пояс (4, 4а) и по меньшей мере один приваренный к указанному по меньшей мере одному непрерывному в продольном направлении поясу (4, 4а) змеевидно изогнутый элемент (5), образующий раскосы (2, 3, 10, 11, 12, 13) с изгибами (6) между ними, отличающаяся тем, что в указанной решетчатой балке (1) по меньшей мере на одном изгибе (6) соответствующего змеевидно изогнутого элемента (5) размещен по меньшей мере один закрепляющий элемент (7, 14, 15, 16, 17, 18, 19, 20, 23), выполненный в виде фасонной детали, размеры которой ограничены в продольном направлении решетчатой балки таким образом, что между закрепляющими элементами, следующими друг за другом в продольном направлении решетчатой балки (1), имеется не содержащий пояса промежуток (Z), а закрепляющий элемент выполнен с возможностью заделки в бетон перекрытия для передачи в перекрытие усилий от раскосов.
2. Решетчатая балка по п.1, отличающаяся тем, что при размещении закрепляющего элемента в верхней части решетчатой балки (1) его верхняя сторона расположена по высоте в пределах зоны, которая проходит между нижней стороной и верхней стороной изогнутого раскоса, образующего соответствующий изгиб (6), или выступает вверх за верхнюю сторону изгиба и вниз за нижнюю сторону изогнутого раскоса, образующего изгиб, не более чем на толщину изогнутого раскоса, образующего изгиб (6), а при размещении закрепляющего элемента в нижней части решетчатой балки (1) так расположена его нижняя сторона.
3. Решетчатая балка по п.1, отличающаяся тем, что закрепляющий элемент установлен на изгибе с выполнением прочного соединения, предпочтительно путем сварки и/или на защелке.
4. Решетчатая балка по п.1, отличающаяся тем, что закрепляющим элементом (7, 14, 16) является вытянутый в продольном направлении отрезок круглой или полосовой стали, который приварен по меньшей мере, по существу, в продольном направлении решетчатой балки (1), предпочтительно приблизительно параллельно ее основанию, по меньшей мере к одному изгибу или между двумя изгибами.
5. Решетчатая балка по п.4, отличающаяся тем, что длина указанного отрезка круглой или полосовой стали примерно соответствует трехвосьмикратной его толщине, определяемой по высоте решетчатой балки.
6. Решетчатая балка по п.1, отличающаяся тем, что закрепляющим элементом (15, 16, 18, 19, 20, 23) является стальная или чугунная фасонная деталь, которая присоединена к одному изгибу (6) или к двум соседним в поперечном направлении решетчатой балки (1) изгибам (6) и предпочтительно охватывает этот изгиб или эти изгибы (6) с трех-четырех сторон.
7. Решетчатая балка по п.6, отличающаяся тем, что для увеличения поверхности передачи нагрузки фасонная деталь имеет в одном месте или в нескольких местах расширения (18а, 19а).
8. Решетчатая балка по п.3, отличающаяся тем, что закрепляющий элемент (20), выполненный в виде фасонной детали, введен в поперечном направлении решетчатой балки в один или два соседних изгиба (6) таким образом, что центральный стержень (21) фасонной детали расположен в криволинейном участке изгиба, а две боковых части (22) фасонной детали расположены на наружных сторонах изгибов (6) так, что их верхние стороны оканчиваются приблизительно по меньшей мере там же, где и верхние стороны изгибов.
9. Решетчатая балка по п.3, отличающаяся тем, что закрепляющий элемент (23), выполненный в виде фасонной детали, введен снизу в криволинейные участки двух соседних изгибов (6), и его центральный элемент (24, 24а) согласован с кривизной криволинейных участков, а боковые части (25) фасонной детали установлены рядом с изгибами (6) и проходят так, что их верхние стороны по высоте приблизительно достигают по меньшей мере верхней стороны изгибов (6).
10. Решетчатая балка по п.1, отличающаяся тем, что между верхним и нижним изгибами (6, 6′) змеевидно изогнутого элемента (5) расположен по меньшей мере один непрерывный в продольном направлении решетчатой балки (1) средний пояс (4а).
11. Решетчатая балка по п.1, отличающаяся тем, что в ее продольном направлении следуют друг за другом вертикальные и наклонные раскосы (2, 3), только вертикальные раскосы (12), только наклоненные в одном направлении и, по существу, параллельные друг другу раскосы (13) или попеременно наклоненные в противоположных направлениях раскосы (10, 11).
12. Решетчатая балка по п.1, отличающаяся тем, что она имеет два отстоящих друг от друга непрерывных нижних пояса (4) и один змеевидно изогнутый элемент (5), верхние изгибы (6) которого расположены друг за другом в продольном направлении решетчатой балки, а нижние изгибы (6′) попеременно соединены с нижними поясами (4), загнуты в поперечном сечении решетчатой балки (1) только в одну сторону и соединены с нижними поясами (4), или имеет два отстоящих друг от друга непрерывных нижних пояса (4) и два змеевидно изогнутых элемента (5), расположенных в поперечном сечении решетчатой балки (1) приблизительно параллельно.
РИСУНКИ
|
|