|
|
(21), (22) Заявка: 2009109936/03, 19.03.2009
(24) Дата начала отсчета срока действия патента:
19.03.2009
(46) Опубликовано: 20.06.2010
(56) Список документов, цитированных в отчете о поиске:
RU 2208090 C1, 10.07.2003. SU 1002457 A, 07.03.1983. SU 1078018 A, 07.03.1984. RU 2077636 C1, 20.04.1997. RU 2260655 C1, 20.09.2005. RU 2301301 C2, 20.06.2007. RU 54967 U1, 27.07.2006. US 6604583 B1, 12.08.2003.
Адрес для переписки:
140014, Московская обл., г. Люберцы, Октябрьский пр-кт, 339, кв.17, И.Н. Яковлеву
|
(72) Автор(ы):
Яковлев Иван Николаевич (RU)
(73) Патентообладатель(и):
Яковлев Иван Николаевич (RU)
|
(54) ВИБРОБУР ДЛЯ ИЗГОТОВЛЕНИЯ БУРОБЕТОННЫХ СВАЙ В ГРУНТЕ
(57) Реферат:
Изобретение относится к строительству и может быть применено при изготовлении железобетонных фундаментов зданий, домов и других инженерных сооружений с использованием его для изготовления буробетонных свай в грунте; для вибробурения скважин в грунте; для погружения и извлечения металлических труб, ограждающих котлованы строящихся домов, или для погружения свай-оболочек в грунт; для погружения призматических железобетонных свай в грунт и других свайных элементов. Вибробур включает вибровращательный механизм с кареткой, шнек с забурником и подвеску к базовой машине, выполнен в виде вибропогружателя направленного действия с распределительным валом, снабженного редуктором, прикрепленным к нему. Входной вал редуктора соединен с распределительным валом вибропогружателя направленного действия зубчатой конической передачей, а выходной вал редуктора соединен со шнеком с забурником. Обеспечивает повышение производительности оборудования для изготовления буробетонных свай в грунте, повышение качества буробетонных свай, изготовленных в грунте, и расширение технических возможностей. 2 з.п. ф-лы, 2 ил.
Изобретение относится к строительству и может быть применено при изготовлении железобетонных фундаментов зданий, домов и других инженерных сооружений с использованием буробетонных свай в грунте; для вибробурения скважин в грунте; для погружения и извлечения металлических труб, ограждающих котлованы строящихся домов, или для погружения свай-оболочек в грунт; для погружения призматических железобетонных свай в грунт и других свайных элементов.
Известна установка для бетонирования набивных свай, содержащая транспортное средство с грузовым механизмом и буровым рабочим органом, составные по длине обсадную и бетонолитную трубы, гидравлический вибратор, наголовник, укрепленный на нижнем конце бетонолитной трубы, полый перистый виброуплотнитель – виброштамп с плоскими стальными штампованными перьями, и привод (патент РФ 2139978, кл. E02D 15/04, 1999 г.).
Недостатком этой установки является то, что операции по бурению скважины, погружению и извлечению обсадной трубы, подача бетона и уплотнение его осуществляются самостоятельными отдельными механизмами и приводами, что увеличивает состав оборудования и приводит к потере производительности при изготовлении свай в грунте.
Известна машина для реализации винтовых свай, содержащая шнековый бур, содержащий полый сердечник и, по меньшей мере, одну винтовую полость, причем полый сердечник имеет открытый верхний конец и открытый нижний конец, трубу плунжера, установленную с возможностью скольжения внутри полого сердечника шнекового бура, причем верхний конец трубы плунжера присоединен к трубопроводу подачи бетона, а ее нижний конец снабжен отверстиями (патент РФ 2261305, кл. E02D 7/22, 2001 г.).
Недостатком этой машины является то, что при заливке образующейся скважины бетоном не обеспечивается уплотнение бетона, что снижает качество сваи, изготовленной в грунте.
Наиболее близким техническим решением является устройство для вибровращательного бурения, включающее направляющую мачту, на которой установлена рама с вибровращательной кареткой, кинематически связанной посредством цепной передачи с двигателем вращателя и вибратора, смонтированными на консолях рамы, и механизм регулировки подачи штанги с буровым инструментом на забой (а.с. СССР 1078018, кл. Е21В 7/24, 1984 г.).
Недостатками этого устройства являются малая эффективность передачи вибрации на буровой инструмент, ограничены технические возможности изготовления буробетонных свай в грунте, например в слабых грунтах.
Изобретение направлено на повышение производительности оборудования для изготовления буробетонных свай в грунте, на улучшение качества буробетонных свай в грунте и расширение технических возможностей.
Сущность заявленного изобретения заключается в том, что вибробур для изготовления буробетонных свай в грунте, включающий вибровращательный механизм с кареткой, шнек с забурником и подвеску к базовой машине, выполнен в виде вибропогружателя направленного действия с распределительным валом, снабженного дополнительным редуктором, прикрепленным к нему, при этом входной вал редуктора соединен с распределительным валом вибропогружателя направленного действия зубчатой конической передачей, а выходной вал редуктора соединен со шнеком с забурником, при этом редуктор снабжен гидравлическим захватом и инвентарной трубой, закрепленной гидравлическим захватом к редуктору, а гидравлический захват выполнен с неподвижным упорным и клиновидным подвижным башмаками, причем клиновидный подвижный башмак соединен гидроцилиндром с корпусом гидравлического захвата, а подвеска вибробура к базовой машине выполнена в виде подпружиненной траверсы, соединенной канатами с корпусом гидравлического захвата.
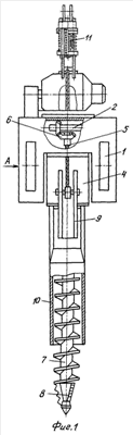
Изобретение поясняется чертежами, где на фиг.1 изображен общий вид вибробура; на фиг.2 – вид по стрелке А фиг.1.
Вибробур для изготовления буробетонных свай в грунте включает вибропогружатель 1 направленного действия с распределительным валом 2, каретку 3, редуктор 4 с входным валом 5, соединенным с распределительным валом 2 зубчатой конической передачей 6, шнек 7 с забурником 8, гидравлический захват 9, инвентарную трубу 10, подпружиненную траверсу 11, соединенную канатами 12 с корпусом 13 гидравлического захвата 9. Гидравлический захват 9 состоит из корпуса 13, выполненного в виде силовой скобы, в полости которой смонтированы неподвижный упорный башмак 14, подвижный клиновидный башмак 15, который соединен гидроцилиндром 16 с корпусом 13 гидравлического захвата 9. Инвентарная труба 10 может быть оснащена патрубком 17 с фланцем или бункером для подачи бетона в инвентарную трубу.
Корпус вибропогружателя 1 выполнен П-образной формы. Гидравлический захват 9 снабжен сменными башмаками для закрепления труб разных диаметров или других свайных элементов. Шнек 7 с забурником 8 выполнен длиннее инвентарной трубы 10 для облегчения погружения инвентарной трубы 10.
Вибробур может быть использован для выполнения следующих видов работ:
– для изготовления буробетонных свай в грунте;
– для вибробурения скважин в грунте;
– для погружения и извлечения металлических обсадных труб или железобетонных свай-оболочек в грунт;
– для погружения призматических железобетонных свай в грунт.
Вибробур для изготовления буробетонных свай в грунте работает следующим образом. Вибробур в собранном виде при помощи проушины 18, подпружиненной траверсы 11 и каретки 3 подвешивают к мачте базовой машины (не показано). Затем базовой машиной наводят вибробур на место изготовления буробетонной сваи, приспускают канаты подвески вибробура до упора забурника 8 и шнека 7 в грунт. Включают привод вибробура, при этом шнек 7 с забурником 8 приводятся во вращение и одновременно с инвентарной трубой 10 под действием вибропогружателя 1 погружаются в грунт. Так как шнек 7 с забурником 8 выступают из полости инвентарной трубы 10, то основное сопротивление грунта преодолевает и разрабатывает выступающая часть шнека 7 с забурником 8, с большей частью отбора мощности привода вибробура.
Разработанный грунт подается шнеком 7 в полость инвентарной трубы 10. Мощные толчки вибропогружателя 1 на забой забурником 8 значительно повышают интенсивность бурения и помогают успешно преодолевать твердые породы грунта при бурении и погружении инвентарной трубы 10 в целом. Подачу вибробура на забой при бурении регулируют путем натяжения канатов подвески подпружиненной траверсы 11. После погружения инвентарной трубы до проектной отметки включают гидрозахват 9 на открепление инвентарной трубы 10 и вынимают шнек 7 вместе с грунтом из полости инвентарной трубы 10.
После освобождения полости инвентарной трубы 10 и шнека 7 от грунта шнек 7 опускают в полость инвентарной трубы 10, закрепляют инвентарную трубу 10 гидравлическим захватом 9, включают привод вибропогружателя на вращение шнека в обратный ход бурению и подают бетон через патрубок 17 в полость инвентарной трубы 10. Поданный бетон в полость инвентарной трубы 10 шнеком 7 плавно перемешивается, заполняя полость инвентарной трубы 10. После заполнения пространства в полости инвентарной трубы 10 бетоном инвентарную трубу 10 извлекают из скважины, которая в процессе извлечения инвентарной трубы заполняется бетоном, который уплотняется под действием вибрации и вращающимся шнеком 7.
Недостающий объем бетона для заполнения скважины, компенсирующий объем металла извлеченной инвентарной трубы 10 и шнека 7 подают в процессе извлечения инвентарной трубы 10 и шнека 7 через патрубок 17 и присоединенный к нему рукав из дополнительной емкости.
В заполненную бетоном скважину помещают металлический каркас путем задавливания его с применением вибрации дополнительным устройством, предусмотренным в комплекте базовой машины (не показано).
Металлический каркас по другому варианту может быть установлен при изготовлении буробетонной сваи в грунте следующим образом. После выемки грунта из полости погруженной инвентарной трубы 10 в грунт металлический каркас вставляют в инвентарную трубу 10, затем от шнека 7 отсоединяют забурник 8, после чего шнек опускают в полость инвентарной трубы 10 так, что каркас входит во внутреннюю полость шнека. Таким образом, при заполнении инвентарной трубы 10 бетоном и извлечении ее из скважины металлический каркас остается в бетоне, образуя конструкцию буробетонной сваи, изготовленной в грунте. При этом металлический каркас должен быть снабжен центрирующим кольцом в нижней части для инвентарной трубы и в верхней части для шнека. На этом цикл изготовления вибробуром буробетонной сваи в грунте закончен.
При использовании вибробура для вибробурения скважин в грунте от вибробура отсоединяют инвентарную трубу и в таком виде вибробур присоединяют к мачте базовой машины путем подвески его к подъемнику за проушину 18 подпружиненной траветсы 11 и присоединения к направляющим мачты при помощи каретки 3.
Бурение скважины в грунте выполняют путем включения привода вибропогружателя 1. Подачу при бурении осуществляют подъемником базовой машины, регулируя скорость подъема-спуска.
При использовании вибробура для погружения или для извлечения металлических труб, ограждающих котлованы при строительстве домов, вибробур должен быть подвешен к мачте.
Погружение металлических труб осуществляют следующим образом. В погружаемую трубу заводят шнек 7 с забурником 8, а погружаемую трубу заводят в гидравлический захват 9 и закрепляют ее в нем. Затем подъемником базовой машины вибробур с присоединенной погружаемой трубой поднимают в вертикальное положение, наводят на точку погружения и выполняют погружение трубы, регулируя подачу при погружении подъемником базовой машины, изменяя скорость подъема-спуска подпружиненной траверсы 11 подвески вибробура.
После погружения трубы открепляют ее от вибробура гидравлическим захватом 9, включают вибропогружатель 1 в обратный ход бурению. При этом подъемником базовой машины поднимают вибробур в верхнее положение. В процессе подъема вибробура в верхнее положение шнек 7, вращаясь в обратном направлении, не выполняет выемку грунта из полости погруженной трубы. Если есть необходимость выемки грунта из полости погруженной трубы, то подъем вибробура выполняют без включения вибропогружателя 1 в работу.
Погружение призматических железобетонных свай в грунт выполняют следующим образом. Сначала выполняют бурение лидирующих скважин в грунте без участия инвентарной трубы 10. Затем отсоединяют шнек 7 от выходного вала редуктора 4 и конец выходного вала редуктора 4 ограждают прикреплением к редуктору 4 приставки, а к гидравлическому захвату 9 присоединяют сменные башмаки для призматической сваи (не показано). При указанном оснащении вибробур может быть использован для погружения железобетонных призматических свай в пробуренные заранее лидирующие скважины в грунте. Изготовление буробетонных свай в грунте с использованием предлагаемого вибробура позволяет значительно повысить производительность труда и улучшить качество буробетонных свай, а также расширить возможность его применения.
Формула изобретения
1. Вибробур для изготовления буробетонных свай в грунте, включающий вибровращательный механизм с кареткой, шнек с забурником и подвеску к базовой машине, отличающийся тем, что вибровращательный механизм выполнен в виде вибропогружателя направленного действия с распределительным валом, снабженный редуктором, прикрепленным к нему, при этом входной вал редуктора соединен с распределительным валом вибропогружателя направленного действия зубчатой конической передачей, а выходной вал редуктора соединен со шнеком с забурником.
2. Вибробур по п.1, отличающийся тем, что редуктор снабжен гидравлическим захватом, выполненным с неподвижным упорным и клиновидным подвижным башмаками, и инвентарной трубой, прикрепленной гидравлическим захватом к редуктору, при этом клиновидный подвижный башмак соединен гидроцилиндром с корпусом гидравлического захвата.
3. Вибробур по п.1, отличающийся тем, что подвеска его к базовой машине выполнена в виде подпружиненной траверсы, соединенной канатами с гидравлическим захватом.
РИСУНКИ
|
|