|
|
(21), (22) Заявка: 2009105029/11, 12.02.2009
(24) Дата начала отсчета срока действия патента:
12.02.2009
(46) Опубликовано: 20.06.2010
(56) Список документов, цитированных в отчете о поиске:
RU 33127 U1, 10.10.2003. RU 2289647 C1, 20.12.2006. GB 1270306 A, 12.04.1972. US 3797397 A, 19.03.1974.
Адрес для переписки:
454006, г. Челябинск, а/я 673, А.Н. Шилкину
|
(72) Автор(ы):
Шилкин Анатолий Николаевич (RU)
(73) Патентообладатель(и):
Шилкин Анатолий Николаевич (RU)
|
(54) УПЛОТНИТЕЛЬНО-ПОДБИВОЧНЫЙ ИНСТРУМЕНТ ДЛЯ БАЛЛАСТА РЕЛЬСОВОГО ПУТИ
(57) Реферат:
Изобретение относится к устройствам для строительства, содержания и ремонта рельсовых путей, в частности к конструкциям инструментов для уплотнения балласта рельсовых путей. Уплотнительно-подбивочный инструмент для балласта рельсового пути содержит взаимодействующие с вибромеханизмом стержень (1), нижний конец которого выполнен в виде уплотнительной лопатки (2), и трамбующую плиту (3), установленную с возможностью перемещения над уплотнительной лопаткой (2). Диапазон перемещения трамбующей плиты (3) дополнительно увеличен так, что трамбующая плита имеет возможность перемещения ниже уровня наиболее выступающих вверх элементов лопатки (2). Трамбующая плита (3) может быть выполнена в виде выпуклого вверх полого элемента, вершина которого образует центральную часть трамбующей плиты (3), а периферийные участки – боковые части трамбующей плиты (3). Нижняя рабочая поверхность трамбующей плиты (3) и/или ее боковые грани могут быть снабжены выступами. Поверхность лопатки (2) также может быть снабжена выступами (5). Выступы (5) могут быть выполнены в виде штырей или зубьев. Трамбующая плита (3) может быть закреплена на стержне (1) посредством упругого элемента (4), установленного с возможностью качания в плоскости, поперечной по отношению к плоскости уплотнительной лопатки (2), для смещения трамбующей плиты (3) в сторону при контакте со шпалой. 6 з.п. ф-лы, 4 ил.
Изобретение относится к устройствам для строительства, содержания и ремонта рельсовых путей, в частности к конструкциям инструментов для уплотнения балласта рельсовых путей.
Известен уплотнительно-подбивочный инструмент в виде закрепленного в вибрационном приспособлении стержня, нижний конец которого представляет собой уплотняющую вертикальную лопатку, над которой расположена горизонтальная трамбующая плита, жестко закрепленная на стержне (см. п. Швейцарии 501107, кл. Е01В 27/16, заявл. 9.01.69, опубл. 15.02.71. «Устройство для подбивки железнодорожного пути»).
Данный инструмент, наряду с горизонтальным обжатием балласта, которое осуществляет вибрирующая уплотняющая лопатка, обеспечивает вертикальное обжатие, которое создает трамбующая плита, действующая как вибрирующий штамп. Однако жесткое закрепление трамбующей плиты на стержне препятствует заглублению инструмента в балласт, что приводит к уплотнению балласта в малых объемах (не превышающих размеры лопатки с трамбующей плитой), и не позволяет обеспечить достаточную степень и равномерность уплотнения балласта.
Наиболее близким по технической сущности, достигаемому эффекту и выбранным в качестве прототипа является уплотнительно-подбивочный инструмент для балласта рельсового пути, содержащий закрепленные в вибрационном приспособлении стержень, нижний конец которого выполнен в виде уплотнительной лопатки, и трамбующую плиту, закрепленную на стержне или на вибромеханизме посредством упругого элемента и установленную с возможностью перемещения над уплотнительной лопаткой (см. п. РФ на полезную модель 33127, кл. Е01В 27/16 заявл. 17.06.03, опубл. 10.10.03. «Уплотнительно-подбивочный инструмент для балласта рельсового пути»).
Подвижное закрепление трамбующей плиты над уплотнительной лопаткой в данном инструменте не препятствует заглублению лопатки, что позволяет активно воздействовать на обрабатываемый балласт на требуемой глубине. Однако в некоторых случаях перед внедрением лопатки в балласт и/или после извлечения лопатки из балласта целесообразно провести воздействие на него посредством трамбующей плиты. Закрепление трамбующей плиты так, что диапазон ее перемещения ограничен пространством над лопаткой, не позволяет это осуществить.
Это ограничивает функциональные возможности инструмента и отрицательно влияет на качество уплотнения балласта.
Задачей настоящего изобретения является улучшение качества уплотнения балласта.
Техническим результатом, получаемым при реализации изобретения, является расширение функциональных возможностей инструмента.
Указанная задача решается за счет того, что в известном уплотнительно-подбивочном инструменте для балласта рельсового пути, содержащем взаимодействующие с вибромеханизмом стержень, нижний конец которого выполнен в виде уплотнительной лопатки, и трамбующую плиту, установленную с возможностью перемещения над уплотнительной лопаткой, согласно изобретению диапазон перемещения трамбующей плиты дополнительно увеличен так, что трамбующая плита имеет возможность перемещения ниже уровня наиболее выступающих вверх элементов лопатки.
Трамбующая плита может быть выполнена в виде выпуклого вверх полого элемента, вершина которого образует центральную часть трамбующей плиты, а периферийные участки – боковые части трамбующей плиты.
Нижняя рабочая поверхность трамбующей плиты и/или ее боковые грани могут быть снабжены выступами, которые могут быть выполнены в виде штырей или зубьев.
Поверхность лопатки может быть снабжена выступами.
Трамбующая плита может быть закреплена на стержне и/или на вибромеханизме посредством упругого элемента, установленного с возможностью качания относительно точки закрепления.
Исследования, проведенные по источникам патентной и научно-технической информации, показали, что заявляемый инструмент неизвестен и не следует явным образом из изученного уровня техники, т.е. соответствует критериям новизна и изобретательский уровень.
Инструмент может быть изготовлен на любом предприятии, специализирующемся в данной отрасли, т.к. для этого требуются известные материалы и стандартное оборудование, и широко использован при производстве путевых работ или при уплотнении любых сыпучих сред, т.е. является промышленно применимым.
Выполнение уплотнительно-подбивочного инструмента с увеличенным диапазоном перемещения трамбующей плиты позволяет начать обработку балласта посредством трамбующей плиты до начала соприкосновения с балластом уплотнительной лопатки и продолжить эту обработку после того как лопатка уже полностью извлечена из балласта. Это расширяет функциональные возможности инструмента.
Выполнение трамбующей плиты в виде выпуклого вверх полого элемента, вершина которого образует центральную часть трамбующей плиты, позволяет увеличить поверхностную проработку уплотняемого балласта за счет внедрения в него боковых периферийных частей плиты раньше, чем поверхности балласта коснется центральная часть плиты. Увеличению поверхностной проработки балласта способствует и снабжение нижней рабочей, т.е. соприкасающейся с балластом, поверхности трамбующей плиты выступами. Эти выступы и/или периферийные части выпуклой трамбующей плиты соприкасаются с балластом прежде, чем его коснется собственно поверхность трамбующей плиты. За счет этого балласт с поверхности под действием вибрирующих выступов приобретает псевдоожиженное состояние и легче подвергается уплотнению, что снижает затраты на уплотнение и повышает качество уплотнения. Улучшенной проработке балласта способствуют и выступы на поверхности лопатки.
При внедрении уплотнительно-подбивочного инструмента в балласт существует опасность удара о шпалу его наиболее выступающих в сторону от оси инструмента частей. Наибольшей опасности подвергается трамбующая плита из-за своих размеров, а также из-за того, что этот удар воспринимается таким сечением трамбующей плиты, которое обладает минимальной жесткостью. Для защиты трамбующей плиты от разрушения при соприкосновении со шпалой предусмотрена возможность ее смещения в сторону. Для этого упругий элемент, на котором закреплена трамбующая плита, имеет возможность качания относительно места своего закрепления на стержне и/или виброинструменте. Упругий элемент за счет своей возможности совершить качательное движение позволяет трамбующей плите при соприкосновении со шпалой отодвинуться в сторону и избежать за счет этого разрушения.
Заявляемое техническое решение поясняется чертежами, на которых изображены:
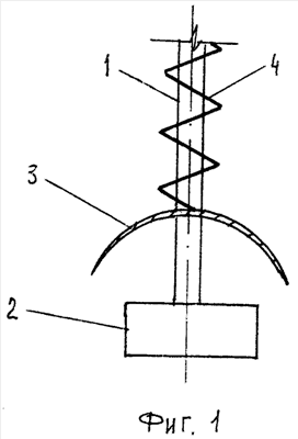
фиг.1 – уплотнительно-подбивочный инструмент, вариант выполнения с трамбующей плитой в виде выпуклого вверх полого элемента, выполненного без выступов на нижней рабочей поверхности;
фиг.2 – уплотнительно-подбивочный инструмент, вариант выполнения с трамбующей плитой в виде выпуклого вверх полого элемента с выступами в виде штырей на нижней рабочей поверхности;
фиг.3 – уплотнительно-подбивочный инструмент, вариант выполнения с трамбующей плитой в виде плоского элемента, трамбующая плита без выступов на нижней рабочей поверхности;
фиг.4 – уплотнительно-подбивочный инструмент, вариант выполнения с трамбующей плитой в виде плоского элемента, трамбующая плита с выступами в виде зубьев на нижней рабочей поверхности.
Уплотнительно-подбивочный инструмент для балласта рельсового пути содержит взаимодействующие с вибромеханизмом (не показан) стержень 1, нижний конец которого выполнен в виде уплотнительной лопатки 2, и трамбующую плиту 3, закрепленную на стержне 1 посредством упругого элемента 4. Трамбующая плита 3 за счет упругих свойств элемента 4 имеет возможность перемещения относительно уплотнительной лопатки 2 как над лопаткой 2, так и настолько ниже уровня наиболее выступающих вверх элементов лопатки 2, что ниже этих выступающих вверх элементов лопатки оказывается верхняя поверхность трамбующей плиты 3. В качестве вибромеханизма для уплотнительно-подбивочного инструмента может быть использован, например, дебалансный вибратор, закрепленный на стержне 1.
Трамбующая плита 3 может быть выполнена как в виде плоского элемента, так и в виде выпуклого вверх полого элемента, вершина которого образует центральную часть трамбующей плиты 3, а периферийные участки – боковые части трамбующей плиты 3. Нижняя рабочая поверхность трамбующей плиты 3 и/или ее боковые грани могут быть снабжены выступами 5, выполненными в виде штырей, зубьев и пр. Поверхность лопатки также может быть снабжена выступами 5 в виде штырей, зубьев и пр. Поперечное сечение штырей, зубьев и прочих выступающих над поверхностью трамбующей плиты 3 и уплотнительной лопатки 2 частей может быть круглым, овальным, в виде прямоугольника, многоугольника, в виде звезды и пр. Форма штырей и зубьев также может быть различной. Штыри и зубья могут быть выполнены прямыми без утолщений и/или заострений, а могут иметь заостренный наконечник, наконечник грибовидной формы и прочие виды более сложной формы, подбираемые в соответствии с назначением инструмента.
Трамбующая плита 3 может быть закреплена на стержне 1, закрепленном в виброприспособлении, и/или непосредственно на виброприспособлении, посредством упругого элемента 4 с возможностью качания. Качание может совершаться как в плоскости, поперечной по отношению к плоскости уплотнительной лопатки 2, для смещения трамбующей плиты 3 в сторону при контакте со шпалой для ухода за габариты лопатки (лопатку обычно выполняют с поперечными ребрами 6 и она имеет в этом направлении достаточный для защиты трамбующей плиты габарит), так и в других направлениях для ухода от случайных твердых включений, которые могут быть в толще балласта.
Уплотнительно-подбивочный элемент работает следующим образом.
Заявляемый инструмент, установленный в машине для уплотнения балласта, располагают в межшпальном пространстве рельсового пути и производят принудительное опускание стержня 1, взаимодействующего с вибромеханизмом. При этом на балласт передаются колебания в горизонтальной и вертикальной плоскостях и вертикальное силовое воздействие. Причем в зависимости от того, как трамбующая плита 3 закреплена относительно уплотнительной лопатки 2, на балласт может начать воздействие, либо лопатка 2 (колебания имеют в основном горизонтальную направленность), либо трамбующая плита 3 своей нижней поверхностью или сначала своими выступами 5 (колебания и силовое воздействие имеют в основном вертикальную направленность), либо одновременно лопатка 2 и трамбующая плита 3. При этом лопатка 2 внедряется в слой балласта, а трамбующая плита 3 остается на поверхности балласта. После достижения требуемой степени уплотнения балласта стержень 1 инструмента извлекают из балласта, сохраняя, в зависимости от необходимости, более длительное воздействие на балласт либо лопатки 2, либо трамбующей плиты 3.
Из сказанного очевидно, что увеличенный диапазон перемещения трамбующей плиты 3 относительно лопатки 2 значительно расширяет функциональные возможности инструмента и обеспечивает за счет этого улучшенное качество уплотнения балласта.
Формула изобретения
1. Уплотнительно-подбивочный инструмент для балласта рельсового пути, содержащий взаимодействующие с вибромеханизмом стержень, нижний конец которого выполнен в виде уплотнительной лопатки, и трамбующую плиту, установленную с возможностью перемещения над уплотнительной лопаткой, отличающийся тем, что диапазон перемещения трамбующей плиты дополнительно увеличен так, что трамбующая плита имеет возможность перемещения ниже уровня наиболее выступающих вверх элементов лопатки.
2. Уплотнительно-подбивочный инструмент по п.1, отличающийся тем, что трамбующая плита выполнена в виде выпуклого вверх полого элемента, вершина которого образует центральную часть трамбующей плиты, а периферийные участки – боковые части трамбующей плиты.
3. Уплотнительно-подбивочный инструмент по п.1 или 2, отличающийся тем, что нижняя рабочая поверхность трамбующей плиты и/или ее боковые грани снабжены выступами.
4. Уплотнительно-подбивочный инструмент по п.3, отличающийся тем, что выступы выполнены в виде штырей или зубьев.
5. Уплотнительно-подбивочный инструмент по п.1, отличающийся тем, что поверхность лопатки снабжена выступами.
6. Уплотнительно-подбивочный инструмент по любому из пп.1, 2, 4 и 5, отличающийся тем, что трамбующая плита закреплена на стержне посредством упругого элемента, установленного с возможностью качания в плоскости, поперечной по отношению к плоскости уплотнительной лопатки, для смещения трамбующей плиты в сторону при контакте со шпалой.
7. Уплотнительно-подбивочный инструмент по п.3, отличающийся тем, что трамбующая плита закреплена на стержне посредством упругого элемента, установленного с возможностью качания в плоскости, поперечной по отношению к плоскости уплотнительной лопатки, для смещения трамбующей плиты в сторону при контакте со шпалой.
РИСУНКИ
|
|