|
|
(21), (22) Заявка: 2008113712/11, 10.04.2008
(24) Дата начала отсчета срока действия патента:
10.04.2008
(30) Конвенционный приоритет:
10.04.2007 US 11/784,754
(43) Дата публикации заявки: 20.10.2009
(46) Опубликовано: 20.06.2010
(56) Список документов, цитированных в отчете о поиске:
US 2006196963 A1, 07.09.2006. RU 2156332 C2, 20.09.2000. RU 2190720 C2, 10.10.2002. US 4588126 A, 13.05.1986.
Адрес для переписки:
119034, Москва, Пречистенский пер., 14, стр. 1, 4-й этаж, “Гоулингз Интернэшнл Инк.”, пат.пов. Ю.В.Дементьевой, рег. 560
|
(72) Автор(ы):
РИД Мартин И. (US), ХЕНДЕРСОН Джеймс Р. (US), БОССХАММЕР III Эдвин Дж. (US)
(73) Патентообладатель(и):
БРЕНКО, ИНКОРПОРЭЙТЕД (US)
|
(54) ИЗОЛЯТОР ДЛЯ РЕЛЬСОВОГО АНКЕРА (ВАРИАНТЫ)
(57) Реферат:
Изобретение относится к созданию изолятора, предназначенного для использования вместе с рельсовым анкером, а более конкретно, к созданию изолятора для использования с рельсовым анкером, закрепленным на рельсе для железнодорожных путей, установленном на бетонных шпалах. В соответствии с первым конструктивным вариантом, изолятор изготовлен из конструкционной пластмассы и содержит переднюю секцию и заднюю секцию. Как передняя секция, так и задняя секция представляют собой в целом прямоугольную конструкцию, имеющую верхнюю кромку, нижнюю кромку и боковые кромки. Центральная секция соединяет переднюю секцию и заднюю секцию и образует часть верхней поверхности изолятора. Ребра, идущие от передней поверхности и задней поверхности, помогают при установке изолятора в заданное положение. В соответствии с другим конструктивным вариантом, как передняя секция, так и задняя секция содержат установочные лапки, выступающие из них и помогающие при установке изолятора в заданное положение. Технический результат от использования данного изобретения заключается в уменьшении трения стального рельсового анкера о бетонную шпалу и в упрощении установки. 4 н. и 12 з.п. ф-лы, 11 ил.
Предпосылки к созданию изобретения
Настоящее изобретение в общем имеет отношение к созданию изолятора, предназначенного для использования вместе с рельсовым анкером, а более конкретно к созданию изолятора для использования с рельсовым анкером, закрепленным на рельсе для железнодорожных путей, установленном на бетонных шпалах.
При укладке рельса для железнодорожных путей используют стандартное средство крепления рельса в виде костылей, забиваемых в деревянную шпалу с двух сторон рельса. Такая схема установки позволяет сохранять расстояние между рельсами, равное ширине рельсовой колеи. Используют также рельсовые подкладки в качестве опорных подушек против действия боковых и вертикальных сил.
Специфические проблемы возникают за счет использования бетонных шпал в некоторых установках рельса для железнодорожных путей. Один из подходов к ограничению перемещения рельса при использовании бетонных шпал описан в патенте США 5,016,816.
Особой проблемой в случае рельса для железнодорожных путей, установленного на бетонных шпалах, является продольное перемещение рельса, когда удержание осуществляется при помощи упругих крепежных средств. Рельсовые анкеры могут быть использованы для ограничения такого продольного движения рельса, которое типично происходит при разгоне и торможении составов или в результате расширения и сжатия рельса за счет изменений температуры. Однако трение стального рельсового анкера о бетонную шпалу может приводить к эрозии и в конечном счете к повреждению бетонной шпалы.
В связи с изложенным, первой задачей настоящего изобретения является создание усовершенствованного изолятора, предназначенного для использования с рельсовым анкером, а в частности приспособленного для использования с бетонными шпалами.
Другой задачей настоящего изобретения является создание изолятора рельсового анкера с улучшенными возможностями установки.
Сущность изобретения
В соответствии с настоящим изобретением предлагается изолятор, который особенно хорошо подходит для использования с рельсовым анкером, используемым в таком применении, в котором рельс для железнодорожных путей установлен на бетонных шпалах. Изолятор защищает бетонную шпалу от продольного перемещения рельса в результате расширения и сокращения рельса, вызванного изменениями температуры, и в результате разгона и торможения поездов.
В соответствии с одним из конструктивных вариантов, изолятор изготовлен из конструкционной пластмассы и содержит переднюю секцию и заднюю секцию. Как передняя секция, так и задняя секция имеют в целом прямоугольную конструкцию, имеющую верхнюю кромку, нижнюю кромку и боковые кромки. Центральная секция соединяет переднюю секцию и заднюю секцию и образует часть верхней поверхности изолятора. В соответствии с другим конструктивным вариантом, передняя секция содержит верхнюю секцию и нижнюю секцию, причем верхняя секция имеет нижнюю кромку, выступающую в боковом направлении под острым углом относительно нижней секции. Аналогично, задняя секция содержит верхнюю секцию и нижнюю секцию, причем верхняя секция имеет нижнюю кромку, выступающую в боковом направлении под острым углом относительно нижней секции. Как передняя секция, так и задняя секция содержат установочное ребро или установочные лапки на своей внутренней поверхности.
Изолятор приспособлен для приема рельсового анкера, так что передняя секция или задняя секция изолятора входит в контакт с бетонной шпалой и за счет этого изолирует стальной рельсовый анкер от бетонной шпалы.
Краткое описание чертежей
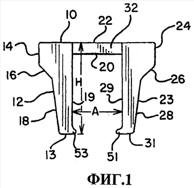
На фиг.1 показан вид с торца изолятора рельсового анкера в соответствии с первым вариантом осуществления настоящего изобретения.
На фиг.2 показан вид сверху изолятора рельсового анкера в соответствии с первым вариантом осуществления настоящего изобретения.
На фиг.3 показан вид сбоку, с частичным разрезом, изолятора рельсового анкера в соответствии с первым вариантом осуществления настоящего изобретения.
На фиг.4 показан вид с торца, с частичным разрезом, изолятора рельсового анкера, установленного на рельсе для железнодорожных путей и шпале, в соответствии с первым вариантом осуществления настоящего изобретения.
На фиг.5 показан вид с торца, с частичным разрезом, рельса для железнодорожных путей с рельсовым анкером и изолятором рельсового анкера, установленными на шпале в соответствии с первым вариантом осуществления настоящего изобретения.
На фиг.6 показан вид с торца изолятора рельсового анкера в соответствии со вторым вариантом осуществления настоящего изобретения.
На фиг.7 показан вид сверху изолятора рельсового анкера в соответствии со вторым вариантом осуществления настоящего изобретения.
На фиг.8 показан вид сбоку, с частичным разрезом, изолятора рельсового анкера в соответствии со вторым вариантом осуществления настоящего изобретения.
На фиг.9 показан вид с торца, с частичным разрезом, изолятора рельсового анкера, установленного на рельсе для железнодорожных путей и шпале в соответствии со вторым вариантом осуществления настоящего изобретения.
На фиг.10 показан вид с торца, с частичным разрезом, рельса для железнодорожных путей с рельсовым анкером и изолятором рельсового анкера, установленными на шпале в соответствии со вторым вариантом осуществления настоящего изобретения.
На фиг.11 показан вид в перспективе изолятора рельсового анкера в соответствии со вторым вариантом осуществления настоящего изобретения.
Подробное описание изобретения
Обратимся теперь к рассмотрению фиг.1-3, на которых изолятор рельсового анкера показан в общем виде позицией 10. Изолятор 10 рельсового анкера имеет канал в поперечном сечении и содержит переднюю секцию 12 и заднюю секцию 23. Центральная секция 20 идет между передней секцией 12 и задней секцией 23 и соединяет их. Верхняя поверхность 22 центральной секции 20 является плоской и вместе с верхними поверхностями передней секции 12 и задней секции 23 образует в целом плоскую верхнюю поверхность изолятора 10 рельсового анкера.
Передняя секция 12 представляет собой в целом удлиненную прямоугольную конструкцию, имеющую верхнюю кромку, нижнюю кромку 13 и две боковые кромки 33 и 35. Передняя секция 12 также содержит секцию 14 фланца, которая выступает в боковом направлении, и угловую секцию 16, которая идет под острым углом от внешней поверхности передней секции. Нижняя секция 18 передней секции имеет уменьшение толщины в направлении нижней кромки 13.
Аналогично, задняя секция 23 представляет собой в целом удлиненную прямоугольную конструкцию, имеющую верхнюю кромку, нижнюю кромку 31 и две боковые кромки 37 и 39. Задняя секция 23 также содержит секцию 24 фланца, которая выступает в боковом направлении, и угловую секцию 26, которая идет под острым углом от внешней поверхности задней секции. Нижняя секция 28 задней секции имеет уменьшение толщины в направлении нижней кромки 31.
Внутренняя поверхность 19 передней секции 12 имеет ребро 53, идущее вдоль ее длинной стороны вблизи от нижней кромки 13. Внутренняя поверхность 29 задней секции 23 имеет ребро 51, идущее вдоль ее длинной стороны вблизи от нижней кромки 31.
Передняя секция 12 имеет внутреннюю поверхность 19, а задняя секция 23 имеет внутреннюю поверхность 29. Эти поверхности смещены друг относительно друга в боковом направлении на расстояние А, меньшее высоты передней секции 12, показанной позицией Н на фиг.1.
Центральная секция 20 имеет продольные кромки 32 и 34. Эти кромки смещены внутрь на расстояние В от продольной кромки 33 передней секции 12 и продольной кромки 37 задней секции 23. Центральная секция имеет длину меньше длины передней и задней секции. Центральная секция, передняя секция и задняя секция образуют отверстие на каждом конце изолятора.
Обратимся теперь к рассмотрению фиг.4 и 5, на которых рельсовый изолятор 10 в соответствии с вариантом осуществления настоящего изобретения показан в системе. Такая система содержит бетонную шпалу 40, которая в целом представляет собой удлиненную прямоугольную конструкцию, имеющую кромки 44 и 45 и верхнюю поверхность 46. Рельс 42 для железнодорожных путей имеет нижнюю кромку или поверхность 43. Прокладка 47 установлена на верхней поверхности 46 бетонной шпалы 40 и служит для установки с промежутком от нее и поддержки рельса 42.
Рельсовый анкер 50 представляет собой изогнутую стальную конструкцию, имеющую верхний конец 52 и нижний конец 54. Рельс 42 введен в рельсовый анкер 50 обычным образом. Кроме того, рельсовый анкер 50 имеет нижнюю кромку 56 с верхней поверхностью 57, которая расположена ниже и вокруг изолятора 10 рельсового анкера. Верхняя поверхность 57 контактирует с центральной секцией 20 изолятора или упирается в нее. Задняя секция 23 создает изоляцию и промежуток между боковой поверхностью 44 бетонной шпалы и рельсовым анкером 50. Более того, секция 24 ребра задней секции содержит угловую секцию 26, которая расположена рядом с аналогичной угловой секцией 49 бетонной шпалы 40. Рельсовый анкер 50 имеет промежуточные секции 62 и 64, которые проходят через промежуток А между внутренней поверхностью 19 передней секции 12 и внутренней поверхностью 29 задней секции 23. Такая установка позволяет удерживать рельсовый изолятор 10 на месте между рельсовым анкером 50 и бетонной шпалой 40. Ребро 53 передней секции 12 и ребро 51 задней секции 23 плотно прилегают к нижней кромке 56 рельсового анкера 50 и удерживают ее.
Следует иметь в виду, что изолятор 10 рельсового анкера представляет собой единую конструкцию, которую обычно изготавливают при помощи литьевого формования. Предпочтительным материалом для изолятора 10 рельсового анкера является конструкционная пластмасса, обычно содержащая около половины полиэтилена высокой плотности и около половины полиэтилена низкой плотности, и является электроизолятором.
Обратимся теперь к рассмотрению фиг.6-8 и 11, на которых второй конструктивный вариант изолятора рельсового анкера показан в общем виде позицией 110. Изолятор 110 рельсового анкера имеет канал в поперечном сечении и содержит переднюю секцию 112 и заднюю секцию 123. Центральная секция 120 идет между передней секцией 112 и задней секцией 123 и соединяет их. Верхняя поверхность 122 центральной секции 120 является плоской и вместе с верхними поверхностями передней секции 112 и задней секции 123 образует в целом плоскую верхнюю поверхность изолятора 110 рельсового анкера.
Передняя секция 112 представляет собой в целом удлиненную прямоугольную конструкцию, имеющую верхнюю кромку, нижнюю кромку 113 и две боковые кромки 133 и 135. Передняя секция 112 также содержит секцию 114 фланца, которая выступает в боковом направлении, и угловую секцию 116, которая идет вверх от нижней секции 118 передней секции. Толщина нижней секции 118 передней секции уменьшается в направлении нижней кромки 113.
Аналогично, задняя секция 123 представляет собой в целом удлиненную прямоугольную конструкцию, имеющую верхнюю кромку, нижнюю кромку 131 и две боковые кромки 137 и 139. Задняя секция 123 также содержит секцию 124 фланца, которая выступает в боковом направлении, и угловую секцию 126, которая идет вверх от нижней секции 128 задней секции. Толщина нижней секции 128 задней секции уменьшается в направлении нижней кромки 131.
Передняя секция 112 имеет внутреннюю поверхность 119, а задняя секция 123 имеет внутреннюю поверхность 129. Эти поверхности смещены друг относительно друга в боковом направлении на расстояние А’, меньшее высоты передней секции 112, показанной позицией Н’ на фиг.6.
Опорная стойка 170 идет перпендикулярно между внутренней поверхностью 119 и внутренней поверхностью 129.
Внутренняя поверхность 119 передней секции 112 имеет две удлиненные установочные лапки 163, которые в боковом направлении соединены друг с другом и идут от нижней поверхности 121 центральной секции 120 почти на половину высоты Н’ передней секции.
Внутренняя поверхность 119 также содержит две угловые установочные лапки 165, расположенные рядом с кромками 137 и 139. Установочные лапки 165 представляют собой удлиненные выступы на внутренней поверхности 119, которые идут под острым углом к верхней поверхности 122.
Внутренняя поверхность 129 (задней секции 123) также содержит две угловые установочные лапки 166, расположенные рядом с кромками 133 и 135. Установочные лапки 166 представляют собой удлиненные выступы на внутренней поверхности 129, которые идут под острым углом к верхней поверхности 122.
Внутренняя поверхность 129 задней секции 123 также содержит две удлиненные установочные лапки 161, которые в боковом направлении соединены друг с другом и идут от нижней поверхности 121 центральной секции 120 почти на половину высоты Н’ задней секции.
Центральная секция 120 имеет продольные кромки 132 и 134. Эти кромки смещены внутрь на расстояние В’ от продольной кромки 133 передней секции 112 и от продольной кромки 137 задней секции 123.
Обратимся теперь к рассмотрению фиг.9 и 10, на которых рельсовый изолятор 110 в соответствии со вторым вариантом осуществления настоящего изобретения показан в системе. Такая система содержит бетонную шпалу 140, которая представляет собой в целом удлиненную прямоугольную конструкцию, имеющую кромки 144 и 145 и верхнюю поверхность 146. Рельс 142 для железнодорожных путей содержит нижнюю кромку или поверхность 143. Прокладка 147 установлена на верхней поверхности 146 бетонной шпалы 140 и служит для установки с промежутком от нее и поддержки рельса 142.
Рельсовый анкер 150 представляет собой изогнутую стальную конструкцию, имеющую верхний конец 152 и нижний конец 154. Рельс 142 введен в рельсовый анкер 150 обычным образом. Кроме того, рельсовый анкер 150 имеет нижнюю кромку 156 с верхней поверхностью 157, которая смещена ниже и вокруг изолятора 110 рельсового анкера. Верхняя поверхность 157 контактирует с центральной секцией 120 изолятора или упирается в нее. Задняя секция 123 создает изоляцию и промежуток между боковой поверхностью 144 бетонной шпалы и рельсовым анкером 150. Более того, секция 124 ребра задней секции содержит угловую секцию 126, которая расположена рядом с аналогичной угловой секцией 149 бетонной шпалы 140.
Рельсовый анкер 150 имеет промежуточные секции 162 и 164, которые проходят через промежуток А’ между внутренней поверхностью 119 передней секции 112 и внутренней поверхностью 129 задней секции 123. Такая установка позволяет удерживать рельсовый изолятор 110 на месте между рельсовым анкером 150 и бетонной шпалой 140. Лапки 163 передней секции 112 и лапки (не показаны) задней секции 123 плотно охватывают конец рельсового анкера 150 и удерживают его нижнюю кромку 156 и верхнюю поверхность 157.
Угловые установочные лапки 165 плотно прилегают к внешней кромке рельсового анкера 150. Аналогично, хотя это и не видно на чертежах, угловые установочные лапки 166 плотно прилегают к противоположной внешней кромке рельсового анкера 150.
Формула изобретения
1. Изолятор для рельсового анкера, содержащий: конструкцию, имеющую переднюю секцию и заднюю секцию, при этом передняя секция представляет собой в целом прямоугольную конструкцию, имеющую верхнюю кромку, нижнюю кромку и две боковые кромки, и задняя секция представляет собой в целом прямоугольную конструкцию, имеющую верхнюю кромку, нижнюю кромку и две боковые кромки, а также центральную секцию, которая соединяет переднюю секцию и заднюю секцию, имеющую верхнюю поверхность и нижнюю поверхность, причем передняя секция также имеет угловую секцию, которая идет под острым углом от внешней поверхности передней секции, внутреннюю поверхность с первой удлиненной установочной лапкой, идущей вниз от нижней поверхности центральной секции, и задняя секция также имеет угловую секцию, которая идет под острым углом от внешней поверхности задней секции, и внутреннюю поверхность со второй удлиненной установочной лапкой, идущей вниз от нижней поверхности центральной секции, и угловую установочную лапку, которая идет от внутренней поверхности передней секции и расположена рядом с боковой кромкой передней секции.
2. Изолятор по п.1, в котором первая удлиненная установочная лапка идет от нижней поверхности центральной секции почти на половину высоты передней секции, и вторая удлиненная установочная лапка идет от нижней поверхности центральной секции почти на половину высоты задней секции.
3. Изолятор по п.1, представляющий собой единую конструкцию, изготовленную из конструкционной пластмассы.
4. Изолятор по п.3, изготовленный из конструкционной пластмассы, которая является электрическим изолятором.
5. Изолятор по п.1, в котором передняя секция содержит нижнюю секцию, идущую вниз от угловой секции, толщина которой уменьшается от угловой секции в направлении нижней кромки.
6. Изолятор по п.1, в котором задняя секция содержит нижнюю секцию, идущую вниз от угловой секции, толщина которой уменьшается от угловой секции в направлении нижней кромки.
7. Изолятор для рельсового анкера, содержащий: переднюю секцию и заднюю секцию, при этом передняя секция представляет собой в целом прямоугольную конструкцию, имеющую верхнюю кромку, нижнюю кромку и две боковые кромки, и задняя секция представляет собой в целом прямоугольную конструкцию, имеющую верхнюю кромку, нижнюю кромку и две боковые кромки, а также центральную секцию, которая соединяет переднюю секцию и заднюю секцию, причем центральная секция имеет нижнюю поверхность, при этом передняя секция имеет внутреннюю поверхность с первой удлиненной установочной лапкой, идущей вниз от нижней поверхности центральной секции, и задняя секция имеет внутреннюю поверхность со второй удлиненной установочной лапкой, идущей вниз от нижней поверхности центральной секции, угловую установочную лапку, которая идет от внутренней поверхности передней секции и которая расположена рядом с боковой кромкой передней секции.
8. Изолятор по п.7, в котором предусмотрены две удлиненные установочные лапки, идущие от внутренней поверхности передней секции, которые в боковом направлении смещены друг относительно друга, а также две удлиненные установочные лапки, идущие от внутренней поверхности задней секции, которые в боковом направлении смещены друг относительно друга.
9. Изолятор по п.7, представляющий собой единую конструкцию, изготовленную из конструкционной пластмассы.
10. Изолятор по п.9, изготовленный из конструкционной пластмассы, которая представляет собой электрический изолятор.
11. Изолятор по п.7, в котором передняя секция содержит верхнюю секцию и нижнюю секцию, идущую вниз от верхней секции, и имеющую толщину, которая уменьшается от нижней кромки верхней секции в направлении нижней кромки нижней секции.
12. Изолятор по п.7, в котором задняя секция содержит верхнюю секцию и нижнюю секцию, идущую вниз от верхней секции и имеющую толщину, которая уменьшается от нижней кромки верхней секции в направлении нижней кромки нижней секции.
13. Изолятор по п.7, в котором центральная секция имеет длину меньше полной длины передней секции и задней секции.
14. Изолятор по п.7, в котором центральная секция, передняя секция и задняя секция образуют отверстие на каждом конце изолятора.
15. Изолятор для рельсового анкера, содержащий: конструкцию, имеющую переднюю и заднюю секцию, при этом передняя секция представляет собой в целом прямоугольную конструкцию, имеющую верхнюю кромку, нижнюю кромку и две боковые кромки, и задняя секция представляет собой в целом прямоугольную конструкцию, имеющую верхнюю кромку, нижнюю кромку и две боковые кромки, а также центральную секцию, которая соединяет переднюю секцию и заднюю секцию, имеющую верхнюю поверхность и нижнюю поверхность, причем передняя секция также имеет угловую секцию, которая идет под острым углом от внешней поверхности передней секции, внутреннюю поверхность с первой удлиненной установочной лапкой, идущей вниз от нижней поверхности центральной секции, и задняя секция также имеет угловую секцию, которая идет под острым углом от внешней поверхности задней секции, и внутреннюю поверхность со второй удлиненной установочной лапкой, идущей вниз от нижней поверхности центральной секции, угловую установочную лапку, которая идет от внутренней поверхности задней секции и расположена рядом с боковой кромкой задней секции.
16. Изолятор для рельсового анкера, содержащий: переднюю секцию и заднюю секцию, при этом передняя секция представляет собой в целом прямоугольную конструкцию, имеющую верхнюю кромку, нижнюю кромку и две боковые кромки, и задняя секция представляет собой в целом прямоугольную конструкцию, имеющую верхнюю кромку, нижнюю кромку и две боковые кромки, а также центральную секцию, которая соединяет переднюю секцию и заднюю секцию, причем центральная секция имеет нижнюю поверхность, при этом передняя секция имеет внутреннюю поверхность с первой удлиненной установочной лапкой, идущей вниз от нижней поверхности центральной секции, и задняя секция имеет внутреннюю поверхность со второй удлиненной установочной лапкой, идущей вниз от нижней поверхности центральной секции, угловую установочную лапку, которая идет от внутренней поверхности задней секции и расположена рядом с боковой кромкой задней секции.
РИСУНКИ
|
|